自习室预约管理系统小程序
摘 要
在当今快节奏的社会中,人们对于学习和自我提升的需求日益增长。自习室作为一个提供安静、舒适学习环境的场所,受到了越来越多学生、上班族等各类人群的欢迎。然而,传统的自习室管理方式可能存在效率低下、信息不及时等问题。为了更好地满足人们对自习室的需求,提高自习室的管理效率,开发了一款自习室预约管理系统小程序,并讨论了如何同时支持网页版和微信小程序的开发。
本系统旨在通过信息化手段,实现自习室的便捷预约和高效管理。它将为用户提供一个方便、快捷的平台,让他们可以随时随地查看自习室的可用情况,并进行预约。同时,系统也将为管理员提供更高效的管理工具,方便他们进行资源分配、预约管理等工作。
通过使用 SpringBoot 框架,可以充分利用其快速开发、易于部署和维护的优势,构建一个稳定可靠的系统。同时,结合现代化的设计理念和用户体验,将为用户打造一个简洁、易用的界面,让他们能够轻松上手并享受高效的自习室预约服务。
关键词:自习室预约管理系统小程序;springboot技术;微信小程序
Self study Room Appointment Management System Mini Program
Summary
In today's fast-paced society, people's demand for learning and self-improvement is increasing day by day. As a place that provides a quiet and comfortable learning environment, self-study rooms are increasingly popular among students, office workers, and other groups of people. However, traditional self-study room management methods may have problems such as low efficiency and untimely information. In order to better meet people's needs for self-study rooms and improve their management efficiency, a self-study room appointment management system mini program has been developed, and how to support the development of both web and WeChat mini programs simultaneously has been discussed.
This system aims to achieve convenient appointment and efficient management of self-study rooms through information technology. It will provide users with a convenient and fast platform, allowing them to check the availability of the study room anytime, anywhere and make appointments. At the same time, the system will also provide administrators with more efficient management tools to facilitate resource allocation, appointment management, and other tasks.
By using the SpringBoot framework, one can fully leverage its advantages of rapid development, easy deployment, and maintenance to build a stable and reliable system. At the same time, combining modern design concepts and user experience, we will create a simple and user-friendly interface for users, allowing them to easily get started and enjoy efficient study room reservation services.
Keywords: Self study room appointment management system mini program; Springboot technology; WeChat Mini Program
目 录
表activity_classification (活动分类)
自习室作为学生学习和自我提升的重要场所,其管理与预约对于提高资源利用效率和学生学习体验具有重要意义。基于SpringBoot的自习室预约管理系统小程序的选题目的在于设计和实现一个便捷、高效且智能化的自习室预约系统,以满足学生对自习室的需求,并优化自习室的使用和管理。
该系统旨在解决传统自习室预约方式中存在的问题,如繁琐的手工登记、资源浪费、预约不准确等。通过引入SpringBoo技术,系统将实现学生在线预约自习室的功能,并提供可视化的自习室信息展示和预约状态查看,使学生能够方便地选择合适的自习室并进行预约。此外,还将开发微信小程序版本,方便学生随时随地进行预约操作。
除了提供便捷的预约方式,系统还将考虑用户体验和管理便利性,提供学生信息的管理和自习室使用记录的统计分析等功能。通过数据分析,可以了解学生的自习室使用习惯和倾向,为学校提供更好的资源配置建议,提高自习室的利用率和服务质量。
选题的意义在于推动自习室预约管理方式的改进和优化,提升学生的学习体验和资源利用效率。通过引入SpringBoo技术,系统将实现自习室预约的自动化和智能化,提供便捷的预约方式和全面的管理功能。此外,该系统还有助于学校对自习室资源的合理规划和管理,提高自习室的利用效益,并为学生提供更好的学习环境和服务。
目前,基于SpringBoot的自习室预约管理系统小程序的设计与实现在国内外都受到了一定的关注和研究。以下是国内外研究现状的描述:
国内研究现状:
在国内,自习室预约管理系统的研究已经得到了广泛地关注。许多高校和研究机构开始关注自习室资源的合理利用和预约管理问题,并提出了一些解决方案。这些系统通常采用基于SpringBoot框架的技术,通过网络平台或移动应用程序提供自习室的预约、管理和使用情况查询等功能。以优化自习室资源的分配和管理。近年来,微信小程序也成为了一种流行的自习室预约方式,它可以方便快捷地进行预约操作,并且具有良好的用户体验。
国外研究现状:
在国外,自习室预约管理系统也引起了一定程度的研究兴趣。一些国际知名的学校和研究机构致力于开发基于SpringBoot的自习室预约系统,以满足学生对自习空间的需求。这些系统通常提供在线预约、座位选择、使用时长控制等功能,旨在提高自习室的利用率和管理效率。同样,微信小程序也被广泛应用于国外的自习室预约中,因其便捷的操作和快速的响应速度而受到用户的喜爱。
发展趋势:
未来,自习室预约管理系统的发展将呈现以下趋势。首先,系统将更加注重用户体验和个性化服务。系统可以根据用户的喜好和学习需求推荐合适的自习室资源。其次,移动应用将成为主流平台,学生可以通过手机微信小程序进行自习室预约和使用情况查询。此外,随着物联网技术的发展,自习室预约系统还可以与座位监测设备结合,实现实时座位信息的更新和使用情况的监控。
总之,基于SpringBoot的自习室预约管理系统的设计与实现已经受到国内外的关注和研究。未来的发展趋势是注重用户体验和个性化服务,结合人工智能和移动技术等新兴技术,提供更便捷、高效的自习室预约和管理解决方案。微信小程序作为一种流行的预约方式,将会在未来的自习室预约管理系统中发挥越来越重要的作用。
Spring框架是Java平台上的一种开源应用框架,提供具有控制反转特性的容器。尽管Spring框架自身对编程模型没有限制,但其在Java应用中的频繁使用让它备受青睐,以至于后来让它作为EJB(EnterpriseJavaBeans)模型的补充,甚至是替补。Spring框架为开发提供了一系列的解决方案,比如利用控制反转的核心特性,并通过依赖注入实现控制反转来实现管理对象生命周期容器化,利用面向切面编程进行声明式的事务管理,整合多种持久化技术管理数据访问,提供大量优秀的Web框架方便开发等等。Spring框架具有控制反转(IOC)特性,IOC旨在方便项目维护和测试,它提供了一种通过Java的反射机制对Java对象进行统一的配置和管理的方法。Spring框架利用容器管理对象的生命周期,容器可以通过扫描XML文件或类上特定Java注解来配置对象,开发者可以通过依赖查找或依赖注入来获得对象。Spring框架具有面向切面编程(AOP)框架,SpringAOP框架基于代理模式,同时运行时可配置;AOP框架主要针对模块之间的交叉关注点进行模块化。Spring框架的AOP框架仅提供基本的AOP特性,虽无法与AspectJ框架相比,但通过与AspectJ的集成,也可以满足基本需求。Spring框架下的事务管理、远程访问等功能均可以通过使用SpringAOP技术实现。Spring的事务管理框架为Java平台带来了一种抽象机制,使本地和全局事务以及嵌套事务能够与保存点一起工作,并且几乎可以在Java平台的任何环境中工作。Spring集成多种事务模板,系统可以通过事务模板、XML或Java注解进行事务配置,并且事务框架集成了消息传递和缓存等功能。Spring的数据访问框架解决了开发人员在应用程序中使用数据库时遇到的常见困难。它不仅对Java:JDBC、iBATS/MyBATIs、Hibernate、Java数据对象(JDO)、ApacheOJB和ApacheCayne等所有流行的数据访问框架中提供支持,同时还可以与Spring的事务管理一起使用,为数据访问提供了灵活的抽象。Spring框架最初是没有打算构建一个自己的WebMVC框架,其开发人员在开发过程中认为现有的StrutsWeb框架的呈现层和请求处理层之间以及请求处理层和模型之间的分离不够,于是创建了SpringMVC。
Mysql 经过多次的更新,功能层面已经非常的丰富和完善了,从Mysql4版本到5版本进行了比较大的更新,在商业的实际使用中取得了很好的实际应用效果。最新版本的Mysql支持对信息的压缩,同时还能进行加密能更好地满足对信息安全性的需求。同时经过系统的多次更新,数据库自身的镜像功能也得到了极大的增强,运行的流畅度和易用性方面有了不小的进步,驱动的使用和创建也更加的高效快捷。最大的变动还是进行了空间信息的显示优化,能更加方便地在应用地图上进行坐标的标注和运算。强大的备份功能也保证了用户使用的过程会更加安心,同时支持的Office特性还支持用户的自行安装和使用。在信息的显示形式上也进行了不小的更新,增加了两个非常实用的显示区,一个是信息区,对表格和文字进行了分类处理,界面的显示更加清爽和具体。第二是仪表的信息控件,能在仪表信息区进行信息的显示,同时还能进行多个信息的比对,为用户的实际使用带来了很大的便捷。
针对本文中设计的音乐分享社区系统在实际的实现过程中,最终选择Mysql数据库的主要原因在于在企业的应用系统应用及开发的过程中会存在大量的数据库比较频繁的操作,而且数据的安全性要求也是非常的高。综合这些因素,最终选择安全性系数比较高的Mysql来对音乐分享社区系统后台数据进行存储操作。
微信开发者工具现在已经被小程序开发团队开发运行,目前微信开发者工具仍然在不断地完善中,在开发小程序时经常要不断地更新。可以使用微信扫码登录开发者工具,开发者工具将使用这个微信账号的信息进行小程序的开发和调试。
机型选择:小程序以智能手机的屏幕尺寸为设计标准,进行切图。
预览界面:写好视图布局后点击编译,用来刷新视图界面。
控制台:方便调试打印输出信息。
上传代码:上传到腾讯服务器,提交审核必经步骤。上传代码时可以填写版本号和备注信息。
资源文件:一般可以在资源文件进行对应项目的文件目录的断点调试。
显示远程调试:手机端和PC端开发工具联调对用户而言是非常实用的。
本地数据存储:显示的是本地存储的数据。
视图调试:标准组件以子父层级结构呈现,方便调试。
微信限制在2M 以内的代码体积;开发中一般不校验合法域名信息;小程序后台要做配置服务器域名。
以上就是在开发过程中微信开发者工具常用到的功能,微信开发者工具也在不断地完善。
整个小程序框架系统分为两部分:逻辑层和视图层。小程序开发框架的目标是通过尽可能简单、高效的方式让开发者可以在微信中开发具有原生小程序体验的服务。小程序在视图层与逻辑层间提供了数据传输和事件系统,提供了自己的视图层以及逻辑层框架,让开发者能够专注于数据与逻辑。框架的核心是一个响应的数据绑定系统,可以让数据与视图非常简单地保持同步。在逻辑层做数据修改,在视图层就会做相应的更新。框架提供了一套基础的组件,这些组件自带微信风格的样式以及特殊的逻辑,开发者可以通过组合基础组件,创建出强大的微信小程序。
第一章是绪论,本文章的开头部分,对本题目的研究背景意义和研究现状等一些作文字性的描述。
第二章是系统分析部分,包括系统总体需求描述、功能性角度分析系统需求、非功能性等各个方面分析系统是否可以实现。
第三章是系统设计部分,本文章的重要部分,提供了系统架构的详细设计和一些主要功能模块的设计说明。
第四章是系统的具体实现,介绍系统的各个模块的具体实现。
第五章在前几章的基础上对系统进行测试和运行。
最后对系统进行了认真地总结,以此对未来有一个新的展望
本次设计基于B/S 模式下,运用Java技术采用的是MySQL数据库和Eclipse实现,总体的可行性共分为以下三个方面。
该系统主要使用SpringBoot框架和MySQL数据库进行开发,用户角色之间的相结合开发一套微信小程序的考研资料分享系统是值得尝试的。通过使用SpringBoot框架和MySQL数据库,可以构建一个稳定、高效的后端系统,处理用户上传的考研资料和管理用户信息。同时,结合网页版和微信小程序的前端界面,用户可以方便地浏览、搜索和下载考研资料。
在系统的设计与开发中,数据完整性和许多品质为数据的功能分配和管理提供了依据。通过合理的数据模型设计和数据库管理,可以确保考研资料的准确性和完整性,提供给用户可靠的学习资源。
Java作为开发语言,易于学习和使用灵活,能够满足系统开发的需求。在校期间接触过SpringBoot和MySQL数据库的课程,具备一定的开发经验,使得从技术上来说,开发难度不高,系统的实现是可行的。
在项目上使用的工具大部分都是当下流行开源免费的,所以在开发前期,开发时用于项目的经费将会大大降低,不会让开发该软件在项目启动期受到经费的影响,所以经济上还是可行的。尽量用最少的花费去满足用户的需求。省下经费用于人工费,以及设备费用。将在无纸化,高效率的道路上越走越远。
本系统实现功能的操作很简单,普通电脑的常见配置就可以运行本软件,并且只要粗通电脑使用的基本常识就可以流畅地使用本软件。电脑具备连接互联网的能力,并且可以正常访问系统,并不需要操作者有什么高超的能力,只需了解业务流程,并且按照专业知识进行正确操作即可,所以自习室预约管理系统具备操作可行性。
自习室预约管理系统分为两大部分:管理员模块、普通用户模块。
(一)管理员管理模块:
- 管理员登录:管理员进入系统登录界面,需要填写正确的登录名、密码、选择权限等信息输入准确无误后登录进入系统操作界面。管理员的账号是在数据表中直接设置生成的,不需要进行注册;修改密码:管理员可以随时修改自己进入系统的登录密码,以保证系统的安全性。
- 系统用户:管理员可以对系统中的用户进行管理,包括添加、修改、删除用户信息,以及设置用户权限等。
- 自习室管理:管理员可以管理自习教室的信息,包括添加、修改、删除自习教室,设置教室的可预约时间、容纳人数等。
- 预约信息管理:管理员可以查看、审核用户的预约信息,确保预约的合法性和有效性。
- 活动分类管理:管理员可以管理,活动分类,添加、查询或删除相关内容,以提供有价值的信息给用户。
- 活动日历管理:管理员可以管理,活动日历,添加、查询或删除相关内容,以提供有价值的信息给用户。
- 通知提醒管理:管理员可以发送通知和提醒给用户,例如预约成功通知等。
- 系统管理:管理员可以管理系统首页的轮播图,上传或更新相关图片,以展示重要信息或活动。
- 用户反馈:管理员可以查看用户反馈的留言,了解用户的需求和意见,改进自习室的服务。
- 网站公告管理:管理员可以发布、编辑、删除通知公告,确保用户及时了解自习室的相关信息。
- 资源管理:管理员可以管理自习室资讯和分类列表,添加、修改或删除相关内容,以提供有价值的信息给用户。
- 权限管理:管理员可以设置不同角色的权限,确保系统的安全性和数据的保密性。
(二)普通用户管理模块:
- 用户注册:用户输入对应的账号(必须填写)+密码(必须填写)+确认密码(必须填写,而且要与密码一致)+昵称+邮箱+身份+姓名+电话+性别,选择用户身份等等,然后点击“注册”,系统在用户这一数据库中会查询账号是不是存在,两次密码是不是一样,都填写正确就会注册成功,然后再进行登录,如果是之前已经注册过的用户很长时间没有使用,忘记密码,也可以点击“忘记密码”进行找回。
- 用户登录:系统中的前台上注册后的用户是可以通过自己的账户名和密码进行登录的,当用户输入完整的自己的账户名和密码信息并点击“登录”按钮后,将会首先验证输入的有没有空数据,再次验证输入的账户名+密码和数据库中当前保存的用户信息是否一致,只有在一致后将会登录成功并自动跳转到自习室预约管理系统的首页中;否则将会提示相应错误信息。
- 网站公告:用于发布与自习室相关的通知,方便用户及时了解自习室的动态。
- 自习室资讯:提供与自习室等相关资讯,帮助用户了解自习室的相关知识。
- 活动日历:用户可以在此查看活动信息,包括活动名称、活动地址、活动时间,可以点赞、收藏、评论。
- 自习室:显示可预约的自习室信息,包括教室编号、位置、容纳人数、设施等,用户可以根据自己的需求选择合适的自习室。
- 用户反馈:用户可以向管理员提交反馈信息,改进自习室的服务。
- 我的账户:用户可以查看和管理自己的账户信息,如个人资料、头像等,并进行密码修改等操作。
- 个人中心:
预约信息:用户可以查看自己的预约记录,包括预约时间、教室等详细信息。
用户反馈:用户可以查看自己的反馈详细信息。
通知提醒:系统会向用户发送相关通知,如预约成功、取消预约等,用户可以在这里查看。
收藏:用户可以将常用的自习室添加到收藏夹,方便快速预约。
自习室预约管理系统的安全性、可靠性、性能和可扩展性是其重要的考量因素,它们不仅满足了用户对于功能性的要求,还为用户提供了更多的便利。根据表格3-1,我们可以清楚地看到这一点:
表3-1 自习室预约管理系统非功能需求表
| 安全性 | 主要指自习室预约管理系统数据库的安装,数据库的使用和密码的设定必须合乎规范。 |
| 可靠性 | 可靠性是指自习室预约管理系统能够按照用户的指示进行操作,经过测试,可靠性90%以上。 |
| 性能 | 性能是影响自习室预约管理系统占据市场的必要条件,所以性能最好要佳才好。 |
| 可扩展性 | 比如数据库预留多个属性,比如接口的使用等确保了系统的非功能性需求。 |
| 易用性 | 用户只要跟着自习室预约管理系统的页面展示内容进行操作,就可以了。 |
| 可维护性 | 自习室预约管理系统开发的可维护性是非常重要的,经过测试,可维护性没有问题 |
系统业务流程图,如图所示:

图3-2登录流程图

图3-3添加信息流程图

图3-4注册信息流程图
普通用户用例图如下所示。

图3-5普通用户用例图
管理员用例图如下所示。

图3-6管理员用例图
目前B/S体系的系统主要的数据访问方式是:通过浏览器页面用户可以进入系统,系统可以自动对用户向服务器发送的请求进行处理,处理请求是在系统后台中进行的,用户在浏览器页面上进行相应操作,就能够看到服务端传递的处理结果。自习室预约管理系统主要分为视图-模型-控制三层架构设计。在视图层中,主要是操作在服务器端向客户端反馈并显示的数据,在模型层中,主要处理相关的业务逻辑、数据整合等,最后的控制层它介于视图和模型之间,主要是调整两层之间的关系,最终落实数据的传递。
系统架构图如下图所示。
图4-1系统架构图
系统设计的目的是分析系统包括的所有功能结构,为开发人员设计开发和实现系统做好准备工作。经过前期的需求调查、分析和整理之后,确定的总体需求主要包括多个模块,分别是:后台首页、系统用户、自习教室管理、预约信息管理、取消预约管理、通知提醒管理、系统管理(轮播图)、留言管理、通知公告管理、资源管理(新闻资讯、资讯分类)、权限管理。系统整体角色分为两个部分,一是普通用户、二是管理员,权限分布也是很明显,管理员可以实现对用户的增加以及删除,是最高权限拥有者。
系统功能结构图如下图所示。
图4-2系统功能结构图
根据前面的数据流程图,结合系统的功能模块设计,设计出符合系统的各信息实体。
系统总体ER图如下图所示。
图4-3系统总体ER图
数据库逻辑结构就是将E-R图在数据库中用具体的字段进行描述。用字段和数据类型描述来使对象特征实体化,最后形成具有一定逻辑关系的数据库表结构。自习室预约管理系统所需要的部分数据结构表如下表所示。
| 编号 | 名称 | 数据类型 | 长度 | 小数位 | 允许空值 | 主键 | 默认值 | 说明 |
| 1 | token_id | int | 10 | 0 | N | Y | 临时访问牌ID | |
| 2 | token | varchar | 64 | 0 | Y | N | 临时访问牌 | |
| 3 | info | text | 65535 | 0 | Y | N | ||
| 4 | maxage | int | 10 | 0 | N | N | 2 | 最大寿命:默认2小时 |
| 5 | create_time | timestamp | 19 | 0 | N | N | CURRENT_TIMESTAMP | 创建时间: |
| 6 | update_time | timestamp | 19 | 0 | N | N | CURRENT_TIMESTAMP | 更新时间: |
| 7 | user_id | int | 10 | 0 | N | N | 0 | 用户编号: |
表activity_classification (活动分类)
| 编号 | 名称 | 数据类型 | 长度 | 小数位 | 允许空值 | 主键 | 默认值 | 说明 |
| 1 | activity_classification_id | int | 10 | 0 | N | Y | 活动分类ID | |
| 2 | classification_name | varchar | 64 | 0 | Y | N | 分类名称 | |
| 3 | create_time | datetime | 19 | 0 | N | N | CURRENT_TIMESTAMP | 创建时间 |
| 4 | update_time | timestamp | 19 | 0 | N | N | CURRENT_TIMESTAMP | 更新时间 |
表appointment_information (预约信息)
| 编号 | 名称 | 数据类型 | 长度 | 小数位 | 允许空值 | 主键 | 默认值 | 说明 |
| 1 | appointment_information_id | int | 10 | 0 | N | Y | 预约信息ID | |
| 2 | regular_users | int | 10 | 0 | Y | N | 0 | 普通用户 |
| 3 | user_name | varchar | 64 | 0 | Y | N | 用户姓名 | |
| 4 | mobile_phone_number | varchar | 64 | 0 | Y | N | 手机号码 | |
| 5 | self_study_room_number | varchar | 64 | 0 | Y | N | 自习室编号 | |
| 6 | name_of_self_study_room | varchar | 64 | 0 | Y | N | 自习室名称 | |
| 7 | location_of_self_study_room | varchar | 64 | 0 | Y | N | 自习室位置 | |
| 8 | start_time | datetime | 19 | 0 | Y | N | 开始时间 | |
| 9 | end_time | datetime | 19 | 0 | Y | N | 结束时间 | |
| 10 | examine_state | varchar | 16 | 0 | N | N | 未审核 | 审核状态 |
| 11 | seat | varchar | 64 | 0 | N | N | 座位号 | |
| 12 | create_time | datetime | 19 | 0 | N | N | CURRENT_TIMESTAMP | 创建时间 |
| 13 | update_time | timestamp | 19 | 0 | N | N | CURRENT_TIMESTAMP | 更新时间 |
| 编号 | 名称 | 数据类型 | 长度 | 小数位 | 允许空值 | 主键 | 默认值 | 说明 |
| 1 | article_id | mediumint | 8 | 0 | N | Y | 文章id:[0,8388607] | |
| 2 | title | varchar | 125 | 0 | N | Y | 标题:[0,125]用于文章和html的title标签中 | |
| 3 | type | varchar | 64 | 0 | N | N | 0 | 文章分类:[0,1000]用来搜索指定类型的文章 |
| 4 | hits | int | 10 | 0 | N | N | 0 | 点击数:[0,1000000000]访问这篇文章的人次 |
| 5 | praise_len | int | 10 | 0 | N | N | 0 | 点赞数 |
| 6 | create_time | timestamp | 19 | 0 | N | N | CURRENT_TIMESTAMP | 创建时间: |
| 7 | update_time | timestamp | 19 | 0 | N | N | CURRENT_TIMESTAMP | 更新时间: |
| 8 | source | varchar | 255 | 0 | Y | N | 来源:[0,255]文章的出处 | |
| 9 | url | varchar | 255 | 0 | Y | N | 来源地址:[0,255]用于跳转到发布该文章的网站 | |
| 10 | tag | varchar | 255 | 0 | Y | N | 标签:[0,255]用于标注文章所属相关内容,多个标签用空格隔开 | |
| 11 | content | longtext | 2147483647 | 0 | Y | N | 正文:文章的主体内容 | |
| 12 | img | varchar | 255 | 0 | Y | N | 封面图 | |
| 13 | description | text | 65535 | 0 | Y | N | 文章描述 |
| 编号 | 名称 | 数据类型 | 长度 | 小数位 | 允许空值 | 主键 | 默认值 | 说明 |
| 1 | type_id | smallint | 5 | 0 | N | Y | 分类ID:[0,10000] | |
| 2 | display | smallint | 5 | 0 | N | N | 100 | 显示顺序:[0,1000]决定分类显示的先后顺序 |
| 3 | name | varchar | 16 | 0 | N | N | 分类名称:[2,16] | |
| 4 | father_id | smallint | 5 | 0 | N | N | 0 | 上级分类ID:[0,32767] |
| 5 | description | varchar | 255 | 0 | Y | N | 描述:[0,255]描述该分类的作用 | |
| 6 | icon | text | 65535 | 0 | Y | N | 分类图标: | |
| 7 | url | varchar | 255 | 0 | Y | N | 外链地址:[0,255]如果该分类是跳转到其他网站的情况下,就在该URL上设置 | |
| 8 | create_time | timestamp | 19 | 0 | N | N | CURRENT_TIMESTAMP | 创建时间: |
| 9 | update_time | timestamp | 19 | 0 | N | N | CURRENT_TIMESTAMP | 更新时间: |
| 编号 | 名称 | 数据类型 | 长度 | 小数位 | 允许空值 | 主键 | 默认值 | 说明 |
| 1 | auth_id | int | 10 | 0 | N | Y | 授权ID: | |
| 2 | user_group | varchar | 64 | 0 | Y | N | 用户组: | |
| 3 | mod_name | varchar | 64 | 0 | Y | N | 模块名: | |
| 4 | table_name | varchar | 64 | 0 | Y | N | 表名: | |
| 5 | page_title | varchar | 255 | 0 | Y | N | 页面标题: | |
| 6 | path | varchar | 255 | 0 | Y | N | 路由路径: | |
| 7 | position | varchar | 32 | 0 | Y | N | 位置: | |
| 8 | mode | varchar | 32 | 0 | N | N | _blank | 跳转方式: |
| 9 | add | tinyint | 3 | 0 | N | N | 1 | 是否可增加: |
| 10 | del | tinyint | 3 | 0 | N | N | 1 | 是否可删除: |
| 11 | set | tinyint | 3 | 0 | N | N | 1 | 是否可修改: |
| 12 | get | tinyint | 3 | 0 | N | N | 1 | 是否可查看: |
| 13 | field_add | text | 65535 | 0 | Y | N | 添加字段: | |
| 14 | field_set | text | 65535 | 0 | Y | N | 修改字段: | |
| 15 | field_get | text | 65535 | 0 | Y | N | 查询字段: | |
| 16 | table_nav_name | varchar | 500 | 0 | Y | N | 跨表导航名称: | |
| 17 | table_nav | varchar | 500 | 0 | Y | N | 跨表导航: | |
| 18 | option | text | 65535 | 0 | Y | N | 配置: | |
| 19 | create_time | timestamp | 19 | 0 | N | N | CURRENT_TIMESTAMP | 创建时间: |
| 20 | update_time | timestamp | 19 | 0 | N | N | CURRENT_TIMESTAMP | 更新时间: |
| 编号 | 名称 | 数据类型 | 长度 | 小数位 | 允许空值 | 主键 | 默认值 | 说明 |
| 1 | collect_id | int | 10 | 0 | N | Y | 收藏ID: | |
| 2 | user_id | int | 10 | 0 | N | N | 0 | 收藏人ID: |
| 3 | source_table | varchar | 255 | 0 | Y | N | 来源表: | |
| 4 | source_field | varchar | 255 | 0 | Y | N | 来源字段: | |
| 5 | source_id | int | 10 | 0 | N | N | 0 | 来源ID: |
| 6 | title | varchar | 255 | 0 | Y | N | 标题: | |
| 7 | img | varchar | 255 | 0 | Y | N | 封面: | |
| 8 | create_time | timestamp | 19 | 0 | N | N | CURRENT_TIMESTAMP | 创建时间: |
| 9 | update_time | timestamp | 19 | 0 | N | N | CURRENT_TIMESTAMP | 更新时间: |
| 编号 | 名称 | 数据类型 | 长度 | 小数位 | 允许空值 | 主键 | 默认值 | 说明 |
| 1 | comment_id | int | 10 | 0 | N | Y | 评论ID: | |
| 2 | user_id | int | 10 | 0 | N | N | 0 | 评论人ID: |
| 3 | reply_to_id | int | 10 | 0 | N | N | 0 | 回复评论ID:空为0 |
| 4 | content | longtext | 2147483647 | 0 | Y | N | 内容: | |
| 5 | nickname | varchar | 255 | 0 | Y | N | 昵称: | |
| 6 | avatar | varchar | 255 | 0 | Y | N | 头像地址:[0,255] | |
| 7 | create_time | timestamp | 19 | 0 | N | N | CURRENT_TIMESTAMP | 创建时间: |
| 8 | update_time | timestamp | 19 | 0 | N | N | CURRENT_TIMESTAMP | 更新时间: |
| 9 | source_table | varchar | 255 | 0 | Y | N | 来源表: | |
| 10 | source_field | varchar | 255 | 0 | Y | N | 来源字段: | |
| 11 | source_id | int | 10 | 0 | N | N | 0 | 来源ID: |
| 编号 | 名称 | 数据类型 | 长度 | 小数位 | 允许空值 | 主键 | 默认值 | 说明 |
| 1 | event_calendar_id | int | 10 | 0 | N | Y | 活动日历ID | |
| 2 | activity_name | varchar | 64 | 0 | Y | N | 活动名称 | |
| 3 | activity_poster | varchar | 255 | 0 | Y | N | 活动海报 | |
| 4 | activity_classification | varchar | 64 | 0 | Y | N | 活动分类 | |
| 5 | activity_time | datetime | 19 | 0 | Y | N | 活动时间 | |
| 6 | activity_duration | varchar | 64 | 0 | Y | N | 活动时长 | |
| 7 | event_location | varchar | 64 | 0 | Y | N | 活动地点 | |
| 8 | event_details | longtext | 2147483647 | 0 | Y | N | 活动详情 | |
| 9 | hits | int | 10 | 0 | N | N | 0 | 点击数 |
| 10 | praise_len | int | 10 | 0 | N | N | 0 | 点赞数 |
| 11 | create_time | datetime | 19 | 0 | N | N | CURRENT_TIMESTAMP | 创建时间 |
| 12 | update_time | timestamp | 19 | 0 | N | N | CURRENT_TIMESTAMP | 更新时间 |
| 编号 | 名称 | 数据类型 | 长度 | 小数位 | 允许空值 | 主键 | 默认值 | 说明 |
| 1 | hits_id | int | 10 | 0 | N | Y | 点赞ID: | |
| 2 | user_id | int | 10 | 0 | N | N | 0 | 点赞人: |
| 3 | create_time | timestamp | 19 | 0 | N | N | CURRENT_TIMESTAMP | 创建时间: |
| 4 | update_time | timestamp | 19 | 0 | N | N | CURRENT_TIMESTAMP | 更新时间: |
| 5 | source_table | varchar | 255 | 0 | Y | N | 来源表: | |
| 6 | source_field | varchar | 255 | 0 | Y | N | 来源字段: | |
| 7 | source_id | int | 10 | 0 | N | N | 0 | 来源ID: |
| 编号 | 名称 | 数据类型 | 长度 | 小数位 | 允许空值 | 主键 | 默认值 | 说明 |
| 1 | notice_id | mediumint | 8 | 0 | N | Y | 公告id: | |
| 2 | title | varchar | 125 | 0 | N | N | 标题: | |
| 3 | content | longtext | 2147483647 | 0 | Y | N | 正文: | |
| 4 | create_time | timestamp | 19 | 0 | N | N | CURRENT_TIMESTAMP | 创建时间: |
| 5 | update_time | timestamp | 19 | 0 | N | N | CURRENT_TIMESTAMP | 更新时间: |
| 编号 | 名称 | 数据类型 | 长度 | 小数位 | 允许空值 | 主键 | 默认值 | 说明 |
| 1 | notification_reminder_id | int | 10 | 0 | N | Y | 通知提醒ID | |
| 2 | regular_users | int | 10 | 0 | Y | N | 0 | 普通用户 |
| 3 | user_name | varchar | 64 | 0 | Y | N | 用户姓名 | |
| 4 | reminder_time | datetime | 19 | 0 | Y | N | 提醒时间 | |
| 5 | reminder_type | varchar | 64 | 0 | Y | N | 提醒类型 | |
| 6 | content_remarks | text | 65535 | 0 | Y | N | 内容备注 | |
| 7 | create_time | datetime | 19 | 0 | N | N | CURRENT_TIMESTAMP | 创建时间 |
| 8 | update_time | timestamp | 19 | 0 | N | N | CURRENT_TIMESTAMP | 更新时间 |
| 编号 | 名称 | 数据类型 | 长度 | 小数位 | 允许空值 | 主键 | 默认值 | 说明 |
| 1 | praise_id | int | 10 | 0 | N | Y | 点赞ID: | |
| 2 | user_id | int | 10 | 0 | N | N | 0 | 点赞人: |
| 3 | create_time | timestamp | 19 | 0 | N | N | CURRENT_TIMESTAMP | 创建时间: |
| 4 | update_time | timestamp | 19 | 0 | N | N | CURRENT_TIMESTAMP | 更新时间: |
| 5 | source_table | varchar | 255 | 0 | Y | N | 来源表: | |
| 6 | source_field | varchar | 255 | 0 | Y | N | 来源字段: | |
| 7 | source_id | int | 10 | 0 | N | N | 0 | 来源ID: |
| 8 | status | bit | 1 | 0 | N | N | 1 | 点赞状态:1为点赞,0已取消 |
| 编号 | 名称 | 数据类型 | 长度 | 小数位 | 允许空值 | 主键 | 默认值 | 说明 |
| 1 | regular_users_id | int | 10 | 0 | N | Y | 普通用户ID | |
| 2 | user_name | varchar | 64 | 0 | Y | N | 用户姓名 | |
| 3 | user_gender | varchar | 64 | 0 | Y | N | 用户性别 | |
| 4 | mobile_phone_number | varchar | 16 | 0 | Y | N | 手机号码 | |
| 5 | examine_state | varchar | 16 | 0 | N | N | 已通过 | 审核状态 |
| 6 | user_id | int | 10 | 0 | N | N | 0 | 用户ID |
| 7 | create_time | datetime | 19 | 0 | N | N | CURRENT_TIMESTAMP | 创建时间 |
| 8 | update_time | timestamp | 19 | 0 | N | N | CURRENT_TIMESTAMP | 更新时间 |
| 编号 | 名称 | 数据类型 | 长度 | 小数位 | 允许空值 | 主键 | 默认值 | 说明 |
| 1 | self_study_room_id | int | 10 | 0 | N | Y | 自习室ID | |
| 2 | self_study_room_number | varchar | 64 | 0 | N | N | 自习室编号 | |
| 3 | name_of_self_study_room | varchar | 64 | 0 | Y | N | 自习室名称 | |
| 4 | self_study_room_poster | varchar | 255 | 0 | Y | N | 自习室海报 | |
| 5 | location_of_self_study_room | varchar | 64 | 0 | Y | N | 自习室位置 | |
| 6 | introduction_to_self_study_room | longtext | 2147483647 | 0 | Y | N | 自习室介绍 | |
| 7 | hits | int | 10 | 0 | N | N | 0 | 点击数 |
| 8 | praise_len | int | 10 | 0 | N | N | 0 | 点赞数 |
| 9 | location_address | varchar | 64 | 0 | Y | N | 当前位置 | |
| 10 | location_lng | varchar | 64 | 0 | Y | N | 当前位置经度 | |
| 11 | location_lat | varchar | 64 | 0 | Y | N | 当前位置纬度 | |
| 12 | create_time | datetime | 19 | 0 | N | N | CURRENT_TIMESTAMP | 创建时间 |
| 13 | update_time | timestamp | 19 | 0 | N | N | CURRENT_TIMESTAMP | 更新时间 |
| 编号 | 名称 | 数据类型 | 长度 | 小数位 | 允许空值 | 主键 | 默认值 | 说明 |
| 1 | slides_id | int | 10 | 0 | N | Y | 轮播图ID: | |
| 2 | title | varchar | 64 | 0 | Y | N | 标题: | |
| 3 | content | varchar | 255 | 0 | Y | N | 内容: | |
| 4 | url | varchar | 255 | 0 | Y | N | 链接: | |
| 5 | img | varchar | 255 | 0 | Y | N | 轮播图: | |
| 6 | hits | int | 10 | 0 | N | N | 0 | 点击量: |
| 7 | create_time | timestamp | 19 | 0 | N | N | CURRENT_TIMESTAMP | 创建时间: |
| 8 | update_time | timestamp | 19 | 0 | N | N | CURRENT_TIMESTAMP | 更新时间: |
| 编号 | 名称 | 数据类型 | 长度 | 小数位 | 允许空值 | 主键 | 默认值 | 说明 |
| 1 | upload_id | int | 10 | 0 | N | Y | 上传ID | |
| 2 | name | varchar | 64 | 0 | Y | N | 文件名 | |
| 3 | path | varchar | 255 | 0 | Y | N | 访问路径 | |
| 4 | file | varchar | 255 | 0 | Y | N | 文件路径 | |
| 5 | display | varchar | 255 | 0 | Y | N | 显示顺序 | |
| 6 | father_id | int | 10 | 0 | Y | N | 0 | 父级ID |
| 7 | dir | varchar | 255 | 0 | Y | N | 文件夹 | |
| 8 | type | varchar | 32 | 0 | Y | N | 文件类型 |
| 编号 | 名称 | 数据类型 | 长度 | 小数位 | 允许空值 | 主键 | 默认值 | 说明 |
| 1 | user_id | mediumint | 8 | 0 | N | Y | 用户ID:[0,8388607]用户获取其他与用户相关的数据 | |
| 2 | state | smallint | 5 | 0 | N | N | 1 | 账户状态:[0,10](1可用|2异常|3已冻结|4已注销) |
| 3 | user_group | varchar | 32 | 0 | Y | N | 所在用户组:[0,32767]决定用户身份和权限 | |
| 4 | login_time | timestamp | 19 | 0 | N | N | CURRENT_TIMESTAMP | 上次登录时间: |
| 5 | phone | varchar | 11 | 0 | Y | N | 手机号码:[0,11]用户的手机号码,用于找回密码时或登录时 | |
| 6 | phone_state | smallint | 5 | 0 | N | N | 0 | 手机认证:[0,1](0未认证|1审核中|2已认证) |
| 7 | username | varchar | 16 | 0 | N | N | 用户名:[0,16]用户登录时所用的账户名称 | |
| 8 | nickname | varchar | 16 | 0 | Y | N | 昵称:[0,16] | |
| 9 | password | varchar | 64 | 0 | N | N | 密码:[0,32]用户登录所需的密码,由6-16位数字或英文组成 | |
| 10 | | varchar | 64 | 0 | Y | N | 邮箱:[0,64]用户的邮箱,用于找回密码时或登录时 | |
| 11 | email_state | smallint | 5 | 0 | N | N | 0 | 邮箱认证:[0,1](0未认证|1审核中|2已认证) |
| 12 | avatar | varchar | 255 | 0 | Y | N | 头像地址:[0,255] | |
| 13 | open_id | varchar | 255 | 0 | Y | N | 针对获取用户信息字段 | |
| 14 | create_time | timestamp | 19 | 0 | N | N | CURRENT_TIMESTAMP | 创建时间: |
| 15 | vip_level | varchar | 255 | 0 | Y | N | 会员等级 | |
| 16 | vip_discount | double | 11 | 2 | Y | N | 0.00 | 会员折扣 |
| 编号 | 名称 | 数据类型 | 长度 | 小数位 | 允许空值 | 主键 | 默认值 | 说明 |
| 1 | user_feedback_id | int | 10 | 0 | N | Y | 用户反馈ID | |
| 2 | regular_users | int | 10 | 0 | Y | N | 0 | 普通用户 |
| 3 | user_name | varchar | 64 | 0 | Y | N | 用户姓名 | |
| 4 | mobile_phone_number | varchar | 64 | 0 | Y | N | 手机号码 | |
| 5 | feedback_date | date | 10 | 0 | Y | N | 反馈日期 | |
| 6 | feedback_type | varchar | 64 | 0 | Y | N | 反馈类型 | |
| 7 | feedback_topic | varchar | 64 | 0 | Y | N | 反馈主题 | |
| 8 | feedback_content | text | 65535 | 0 | Y | N | 反馈内容 | |
| 9 | examine_state | varchar | 16 | 0 | N | N | 未审核 | 审核状态 |
| 10 | examine_reply | varchar | 16 | 0 | Y | N | 审核回复 | |
| 11 | create_time | datetime | 19 | 0 | N | N | CURRENT_TIMESTAMP | 创建时间 |
| 12 | update_time | timestamp | 19 | 0 | N | N | CURRENT_TIMESTAMP | 更新时间 |
| 编号 | 名称 | 数据类型 | 长度 | 小数位 | 允许空值 | 主键 | 默认值 | 说明 |
| 1 | group_id | mediumint | 8 | 0 | N | Y | 用户组ID:[0,8388607] | |
| 2 | display | smallint | 5 | 0 | N | N | 100 | 显示顺序:[0,1000] |
| 3 | name | varchar | 16 | 0 | N | N | 名称:[0,16] | |
| 4 | description | varchar | 255 | 0 | Y | N | 描述:[0,255]描述该用户组的特点或权限范围 | |
| 5 | source_table | varchar | 255 | 0 | Y | N | 来源表: | |
| 6 | source_field | varchar | 255 | 0 | Y | N | 来源字段: | |
| 7 | source_id | int | 10 | 0 | N | N | 0 | 来源ID: |
| 8 | register | smallint | 5 | 0 | Y | N | 0 | 注册位置: |
| 9 | create_time | timestamp | 19 | 0 | N | N | CURRENT_TIMESTAMP | 创建时间: |
| 10 | update_time | timestamp | 19 | 0 | N | N | CURRENT_TIMESTAMP | 更新时间: |
4.1.1 用户注册界面
用户注册:用户输入对应的账号(必须填写)+密码(必须填写)+确认密码(必须填写,而且要与密码一直)+昵称+邮箱+身份+姓名+电话+性别,选择用户身份等等,然后点击“注册”,系统在用户这一数据库中会查询账号是不是存在,两次密码是不是一样,都填写正确就会注册成功,然后再进行登录,如果是之前已经注册过的用户很长时间没有使用,忘记密码,也可以点击“忘记密码”进行找回。用户注册界面如下图所示。
图4-1用户注册界面图
注册代码如下:
public String encryption(String plainText) {
String re_md5 = new String();
try {
MessageDigest md = MessageDigest.getInstance("MD5");
md.update(plainText.getBytes());
byte b[] = md.digest();
int i;
StringBuffer buf = new StringBuffer("");
for (int offset = 0; offset < b.length; offset++) {
i = b[offset];
if (i < 0)
i += 256;
if (i < 16)
buf.append("0");
buf.append(Integer.toHexString(i));
}
re_md5 = buf.toString();
} catch (Exception e) {
e.printStackTrace();
}
return re_md5;
}
4.1.2用户登录界面
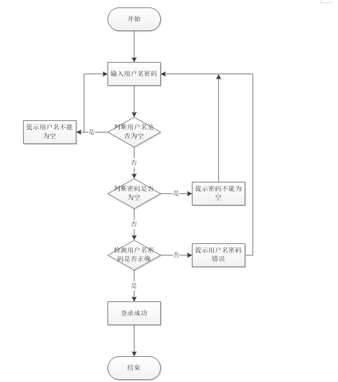
系统中的前台上注册后的用户是可以通过自己的账户名和密码进行登录的,当用户输入完整的自己的账户名和密码信息并点击“登录”按钮后,将会首先验证输入的有没有空数据,再次验证输入的账户名+密码和数据库中当前保存的用户信息是否一致,只有在一致后将会登录成功并自动跳转到自习室预约管理系统的首页中;否则将会提示相应错误信息。用户登录界面如下图所示。
图4-2普通用户登录界面图
登录代码如下:
/**
* 登录
* @param data
* @param httpServletRequest
* @return
*/
@PostMapping("login")
public Map<String, Object> login(@RequestBody Map<String, String> data, HttpServletRequest httpServletRequest) {
log.info("[执行登录接口]");
String username = data.get("username");
String email = data.get("email");
String phone = data.get("phone");
String password = data.get("password");
List resultList = null;
Map<String, String> map = new HashMap<>();
if(username != null && "".equals(username) == false){
map.put("username", username);
resultList = service.selectBaseList(service.select(map, new HashMap<>()));
}
else if(email != null && "".equals(email) == false){
map.put("email", email);
resultList = service.selectBaseList(service.select(map, new HashMap<>()));
}
else if(phone != null && "".equals(phone) == false){
map.put("phone", phone);
resultList = service.selectBaseList(service.select(map, new HashMap<>()));
}else{
return error(30000, "账号或密码不能为空");
}
if (resultList == null || password == null) {
return error(30000, "账号或密码不能为空");
}
//判断是否有这个用户
if (resultList.size()<=0){
return error(30000,"用户不存在");
}
User byUsername = (User) resultList.get(0);
Map<String, String> groupMap = new HashMap<>();
groupMap.put("name",byUsername.getUserGroup());
List groupList = userGroupService.selectBaseList(userGroupService.select(groupMap, new HashMap<>()));
if (groupList.size()<1){
return error(30000,"用户组不存在");
}
UserGroup userGroup = (UserGroup) groupList.get(0);
//查询用户审核状态
if (!StringUtils.isEmpty(userGroup.getSourceTable())){
String res = service.selectExamineState(userGroup.getSourceTable(),byUsername.getUserId());
if (res==null){
return error(30000,"用户不存在");
}
if (!res.equals("已通过")){
return error(30000,"该用户审核未通过");
}
}
//查询用户状态
if (byUsername.getState()!=1){
return error(30000,"用户非可用状态,不能登录");
}
String md5password = service.encryption(password);
if (byUsername.getPassword().equals(md5password)) {
// 存储Token到数据库
AccessToken accessToken = new AccessToken();
accessToken.setToken(UUID.randomUUID().toString().replaceAll("-", ""));
accessToken.setUser_id(byUsername.getUserId());
Duration duration = Duration.ofSeconds(7200L);
redisTemplate.opsForValue().set(accessToken.getToken(), accessToken,duration);
// 返回用户信息
JSONObject user = JSONObject.parseObject(JSONObject.toJSONString(byUsername));
user.put("token", accessToken.getToken());
JSONObject ret = new JSONObject();
ret.put("obj",user);
return success(ret);
} else {
return error(30000, "账号或密码不正确");
}
}
4.1.3密码修改界面
用户使用该系统注册完成后,用户对登录密码有修改需求时,系统也可以提供用户修改密码权限。系统中所有的操作者能够变更自己的密码信息,执行该功能首先必须要登入系统,然后选择密码变更选项以后在给定的文本框中填写初始密码和新密码来完成修改密码的操作。在填写的时候,假如两次密码填写存在差异,那么此次密码变更操作失败。密码修改界面如下图所示。
图4-3密码修改界面图
修改密码关键代码如下:
/**
* 修改密码
* @param data
* @param request
* @return
*/
@PostMapping("change_password")
public Map<String, Object> change_password(@RequestBody Map<String, String> data, HttpServletRequest request){
// 根据Token获取UserId
String token = request.getHeader("x-auth-token");
Integer userId = tokenGetUserId(token);
// 根据UserId和旧密码获取用户
Map<String, String> query = new HashMap<>();
String o_password = data.get("o_password");
query.put("user_id" ,String.valueOf(userId));
query.put("password" ,service.encryption(o_password));
int count = service.selectBaseCount(service.count(query, service.readConfig(request)));
if(count > 0){
// 修改密码
Map<String,Object> form = new HashMap<>();
form.put("password",service.encryption(data.get("password")));
service.update(query,service.readConfig(request),form);
return success(1);
}
return error(10000,"密码修改失败!");
}
个人资料:当用户点击首页右上角“我的账户”这个按钮,可以对个人的资料、进行修改,个人资料界面图如下图所示。
图4-4个人资料界面图
自习室:用户可以查看自习室列表详情,包括自习室编号、自习室名称等信息。自习室界面图如下图所示。
。
图4-5自习室界面图
预约信息:用户可以对自习室进行预约,预约信息界面图如下图所示。
图4-6预约信息界面图
微信小程序首页:自习室预约管理系统小程序 ,让用户更加方便使用,首页有活动日历、自习室、网站公告、我的账户、用户反馈等内容如下图所示。

图4-7微信小程序首页界面图
我的账户:在微信小程序版面的我的账户里可以查看到用户的个人中心:基本信息、收藏、预约信息、通知提醒、用户反馈等内容,如下图所示。

图4-8微信小程序我的账户界面图
4.2.1 管理员登录界面
管理员进入到系统登录界面,需要填写正确的登录名、密码、选择权限等信息输入准确无误后登录进入到系统操作界面。管理员的账号是在数据表中直接设置生成的,不需要进行注册;修改密码:管理员可以随时修改自己进入系统的登录密码,以保证系统的安全性。管理员登录界面如下图所示。
图4-9管理员登录界面图
管理员可以查看系统用户、活动分类管理、活动日历管理、自习室管理、预约信息管理、系统管理、通知提醒管理、用户反馈管理、网站公告管理、权限管理、资源管理等,并且可以根据需要进行相应的操作,管理员功能界面如下图所示。
图4-10管理员功能界面图
系统用户管理:管理员可以对系统中所有的用户角色进行管控,包含了管理员、普通用户这两种角色,如果需要添加新的用户,点击页面中的“添加”按钮根据提示输入上用户信息,点击“提交”以后在对应的用户界面就可以查看到了,可以点击用户后面的“删除”按钮直接删除某一用户。系统用户管理界面如下图所示。
图4-11系统用户管理界面图
4.2.4 自习室管理界面
管理员可以查看自习室编号、自习室名称、自习室位置等详情,还可以查看用户的评论。自习室管理界面如下图所示。
图4-112自习室管理界面图
4.2.5 通知提醒管理界面
当点击“通知提醒管理”这一菜单的时候,会出现通知提醒列表子菜单,可以对这个模块进行删查操作。通知提醒管理界面如下图所示。
@PostMapping("/add")
@Transactional
public Map<String, Object> add(HttpServletRequest request) throws IOException {
service.insert(service.readBody(request.getReader()));
return success(1);
}
public Map<String, Object> addMap(Map<String,Object> map){
service.insert(map);
return success(1);
}
测试存在于软件开发进程中的最后一个阶段,它可以保证一个软件的开发质量是否符合设计者的初衷,也为程序的正式上线做了最后一道质量检测的工序。软件测试主要是控制各种条件、包括软件输出方式,使用模式和运行环境等,来评估一个系统或应用是否符合设计标准。在软件测试过程中,我们一般刻意的去制造错误和极端条件,不能仅依照正常模式允许,而是多去尝试那些意外的情况。
系统测试包括:用户登录功能测试、自习教室查看功能测试、发布活动日历、通知提醒添加、密码修改功能测试,如表5-1、5-2、5-3、5-4、5-5所示:
表5-1 用户登录功能测试表
| 用例名称 | 用户登录系统 |
| 目的 | 测试用户通过正确的用户名和密码可否登录功能 |
| 前提 | 未登录的情况下 |
| 测试流程 | 1) 进入登录页面 2) 输入正确的用户名和密码 |
| 预期结果 | 用户名和密码正确的时候,跳转到登录成功界面,反之则显示错误信息,提示重新输入 |
| 实际结果 | 实际结果与预期结果一致 |
自习室查看功能测试:
表5-2 自习室查看功能测试表
| 用例名称 | 自习室查看 |
| 目的 | 测试自习室查看功能 |
| 前提 | 用户登录 |
| 测试流程 | 点击自习室列表 |
| 预期结果 | 可以查看到所有自习室分类 |
| 实际结果 | 实际结果与预期结果一致 |
管理员发布活动日历界面测试:
表5-3 管理员发布活动日历界面测试表
| 用例名称 | 活动日历发布测试用例 |
| 目的 | 测试活动日历发布功能 |
| 前提 | 用户正常登录情况下 |
| 测试流程 | 1)点击活动日历,然后点击发布添加后并填写信息。 2)点击进行提交。 |
| 预期结果 | 提交以后,页面首页会显示新的活动日历 |
| 实际结果 | 实际结果与预期结果一致 |
通知提醒添加功能测试:
表5-4通知提醒添加功能测试表
| 用例名称 | 通知提醒添加测试 |
| 目的 | 测试通知提醒添加功能 |
| 前提 | 无 |
| 测试流程 | 1)在搜索框填入添加关键字。 2)点击添加按钮。 |
| 预期结果 | 页面显示包含有添加关键字的通知提醒 |
| 实际结果 | 实际结果与预期结果一致 |
密码修改功能测试:
表5-5 密码修改功能测试表
| 用例名称 | 密码修改测试用例 |
| 目的 | 测试管理员密码修改功能 |
| 前提 | 管理员用户正常登录情况下 |
| 测试流程 | 1)管理员密码修改并完成填写。 2)点击进行提交。 |
| 预期结果 | 使用新的密码可以登录 |
| 实际结果 | 实际结果与预期结果一致 |
经过对自习室预约管理系统的测试,我们已经完成了5大模块的检测,包括用户登录功能测试、自习教室查看功能测试、发布活动日历、通知提醒添加、密码修改功能测试,这些功能为后续的推广运营提供了强有力的技术支持。
通过自习室预约管理系统小程序的开发,本人巩固了之前学过的知识,如今将平时所学到的知识融合在设计中,在设计过程中,做了很多的准备,首先,在数据库系统的设计过程中,尤其是在数据库的工作原理、工作特点,对其深刻的讨论,与此同时,对于小型站点来说,最好服务器的选择,其次,利用所学的知识点分析所做的系统,并在此基础上设计。
目前本系统已经上线,正在试运行阶段,用户反馈良好,基本完成用户所需,试运行过程中没有出现阻断性问题,有一些不足和小问题也及时予以修正,系统上线后,为了保证数据的安全性,对系统进行了备份操作,系统备份是每两个月备份一次,数据库备份为每周备份一次,系统部署在租赁的云平台服务器中。
本次系统上线成功后,得到了用户的高度认可,但是在功能上和性能上还需做进一步的研究处理,使其有更高的性能和更好的用户体验。
系统在以后的升级过程中,需要解决一系列用户所提出的问题,例如打印过程中如何避免浏览器的兼容性问题,大量用户访问时,如何保持较高的响应速度,在系统今后的升级过程中将着重解决这些安全性问题。
参考文献
[1]Prabawani B ,Hadi P S ,Fisher R M , et al. Socioeconomic perspective of agroforestry development in Central Java [J]. Environmental and Sustainability Indicators, 2024, 22 100354-.
[2]孙梦菲,周天源,王天澍. 基于微信小程序的校园社团管理系统设计与实现 [J]. 现代信息科技, 2024, 8 (03): 40-44.
[3]陈欣苹,赵子潇,程文莉. 基于大数据的题库微信小程序的设计与开发 [J]. 电脑知识与技术, 2024, 20 (03): 65-68.
[4]陈淼,羊开云. 基于微信小程序的校园报修管理系统设计 [J]. 网络安全技术与应用, 2024, (01): 57-60.
[5]张扬,钟方,余捷. 微信小程序在高校图书馆志愿者管理中的应用 [J]. 石家庄职业技术学院学报, 2023, 35 (06): 38-41.
[6]Wu J ,Chen N ,Xia H , et al. Design and application of a game‐based WeChat mini‐program for screening cognitive impairments in Chinese older adults [J]. Alzheimer's & Dementia, 2023, 19 (S11):
[7]高超越,李玮祎. 基于微信小程序的公众气象服务应用的设计与实现 [J]. 电脑知识与技术, 2023, 19 (36): 42-44.
[8]余慧林. 搭建线上自习室:青年群体的媒介化学习管理实践 [J]. 科技传播, 2023, 15 (23): 94-97.
[9]王伟江. 大学校园浴室预约管理系统的设计与开发 [J]. 科技资讯, 2023, 21 (23): 246-249.
[10]徐正超,王义斐,谭煜凯等. 基于HTML的实验预约管理系统设计与实现 [J]. 科技与创新, 2023, (22): 146-148.
[11]袁江琛. 健身预约管理系统的设计与实现 [J]. 福建电脑, 2023, 39 (11): 111-113.
[12]颜宇东 ,陈慧 ,胡中平. 共享自习室“如此嘈杂” [J]. 十几岁, 2023, (32): 53.
[13]张蕾,王一夫,王乙等. 教育元宇宙创新虚拟自习室设计与应用 [J]. 计算机教育, 2023, (11): 85-88+93
[14]周静涵,徐子州. 大数据背景下精准匹配模拟自习室营销策略分析 [J]. 产业与科技论坛, 2023, 22 (21): 210-213.
[15]谢卓琳,李莉,于淼等. 智慧感应程序之高校图书馆座位预约管理系统的设计与思考 [J]. 科技与创新, 2023, (19): 49-51.
[16]徐赛花,张希. 一种图书馆预约管理系统设计与实现 [J]. 电脑编程技巧与维护, 2023, (07): 107-110.
[17]尹军. 大数据背景下高校访客预约管理系统设计研发——以柳州铁道职业技术学院为例 [J]. 电脑知识与技术, 2023, 19 (16): 86-88.
[18]梁俊. 图书馆座位管理系统《座位管家》的创作研究[D]. 北京印刷学院, 2023.
[19]尚休新,李长瑞. 统一预约管理系统的设计 [J]. 自动化应用, 2023, 64 (08): 21-23.
[20]Yang Y . Design and Implementation of Student Information Management System Based on Springboot [J]. Advances in Computer, Signals and Systems, 2022, 6 (6):
致 谢
伴随着设计的完成,大学生涯也随之即将结束。大学期间是我最珍惜的时光,大学时光中学会了很多,也成长了很多,这段时光中每一段回忆都刻在脑海中。感谢一起学习,一起成长同学们,和成长过程悉心教导的老师们,非常感激有你们的陪伴。
首先感谢我的指导老师,设计的完成离不开老师的一系列指导。在毕业设计的完成过程中,老师给出了很多中肯的建议,正是由于老师一丝不苟的工作态度,我的设计才能顺利的完成。
最后,感谢在大学生涯中每一位教导我的老师,是你们教给了我丰富的知识,更教会了我遇到问题时,如何去应对并解决。谢谢你们的帮助与支持。
请关注点赞+私信博主,免费领取项目源码

被折叠的 条评论
为什么被折叠?



