随着信息技术的快速发展,计算机应用已经进入成千上万的家庭。随着超市商品数量的增加,超市管理系统也存在许多问题。商品数据的处理量正在迅速增加,原来的手工管理模式不适合这种形式。使用计算机可以完成数据收集、处理和分析,减少人力和物力的浪费。超市需要建立超市管理系统,为超市商品管理提供信息管理和动态管理,提高商品管理的质量和效率。
在超市管理系统的设计中,采用Python编程语言和Django技术,在MVVM的模式下,并使用MySQL作为系统的数据库。该系统设计了强大的功能模块,考虑了超市管理的各个方面。这些主要功能模块分别是首页、人员管理(管理员、收银员工、理货员工、供货商)模块管理(员工工资、商品管理、供货管理、商品入库、销售记录)个人管理等功能模块。最后,通过系统需求分析和系统设计方法验证,结果表明该设计具有实用价值,因此从软件设计的角度,对研究理论、基础、总体系统布局和具体系统设计进行了详细研究。
关键词:Python编程语言;Django技术;软件设计
Django supermarket management system
ABSTRACT
With the rapid development of information technology, computer applications have entered thousands of families. With the increase of the number of supermarket products, there are also many problems in the supermarket management system. The processing capacity of commodity data is increasing rapidly, and the original manual management mode is not suitable for this form. The use of computers can complete data collection, processing and analysis, reducing the waste of manpower and material resources. Supermarkets need to establish a supermarket management system to provide information management and dynamic management for supermarket commodity management, and improve the quality and efficiency of commodity management.
In the design of supermarket management system, Python programming language and Django technology are used, and MySQL is used as the system database in MVVM mode. The system has designed powerful functional modules, taking into account all aspects of supermarket management. These main function modules are home page, personnel management (administrator, cashier, tally clerk, supplier) module management (employee salary, commodity management, supply management, commodity warehousing, sales record), personal management and other function modules. Finally, through the system requirements analysis and system design method verification, the results show that the design has practical value. therefore, from the perspective of software design, the research theory, foundation, overall system layout and specific system design are studied in detail.
Keywords: Python programming language; Django technology; software design
目 录
第1章绪论
1.1开发背景与意义
随着计算机的普及,使用计算机管理材料是必然的趋势。以超市为例。当你进入超市时,你可以找到各种各样的商品。大多数顾客满载而归,购买合适的商品。尽管顾客获得了极大的便利,超市在管理这些商品上花费了大量的精力。
首先,有许多种类和大量的商品。经营者必须随时了解他们的商品库存和各种商品的供求情况。如果他们盲目购买顾客不需要的商品,或者不购买畅销商品,对经营者来说将是一个巨大的损失。第二,随着商品迅速变化,许多商品价格可能会有很大变化。经营者可能不得不不时改变商品价格。否则,如果价格太高,没人会注意,如果价格太低,就没有利润。第三,在社会环境中,竞争非常激烈,为了确保在竞争中处于有利地位,经营者必须始终了解超市的需求。
当然,作为一个实际的经营者,你需要知道的远不止这些,但无论如何,商品管理是所有工作的重点,如何管理商品是成败的关键。对于小超市经营者来说,这可能是一本帐簿,外加算盘或计算器。然而,对于大公司来说,单靠书本是不可能的,因为书本不仅劳动密集型,而且在错误发生时也很难检查和纠正。因此,有必要在计算机的帮助下将所有数据输入数据库,然后使用系统来管理这些数据,并通过统计和分析获得各种有用的信息。
1.2国内外研究现状
超市管理系统是超市一项复杂而必要的工作。经理们需要每天处理大量的文档和数据。为了及时结算每个业务账户,检查库存数量和货物进出和出库情况,确保超市的正常运营和财产安全,超市经理需要花费大量的人力、物力和时间来做数据记录和统计。
在发达国家,计算机化库存管理水平非常高,自动化管理模式已经实现。尽管国内超市在这方面有很强的意识和很大的进步,包括商品管理,但在管理方面仍然存在一些问题。在一些超市,库存管理仍然是手工和半手工的。从商品购买登记开始到商品出库结束,所有操作基本上都是书面记录。库存管理是由库存管理人员编写的,统计是用计算器完成的。这种方法不仅管理复杂、效率低下,而且缺乏一些基本的库存管理工具,如库存状态统计、查询经济订货量的计算等。这也在一定程度上导致了管理落后、竞争落后以及超市经济效益的损失[3][4]。
1.3论文组成结构
论文整体分为六个章节模块:引言部分介绍研究背景以及意义,第二章主要是介绍采用的相关技术还有使用的开发方法,第三章描述的是前期调查分析,第四章的系统的功能等设计,第五章主要是整个系统的实现过程及关键代码,最后一章是系统测试方法以及测试结果的记录与描述。
2.1开发技术说明
本系统前端部分基于MVVM模式进行开发,采用B/S模式,后端部分基于python的Django框架进行开发。
前端部分:前端框架采用了比较流行的渐进式JavaScript框架Vue.js。使用Vue-Router和Vuex实现动态路由和全局状态管理,Ajax实现前后端通信,Element UI组件库使页面快速成型,项目前端通过栅格布局实现响应式,可适应PC端、平板端、手机端等不同屏幕大小尺寸的完美布局展示。
后端部分:采用Django作为开发框架,同时集成Redis等相关技术。
2.2操作系统
Windows10和Windows以后的版本关于Windows10,微软宣布它将以比以前更快的节奏更新Windows,将不会有官方的“Windows11”;相反,WindowsUpdate(或另一个超市服务模型)会将现有的Windows10更新为新版本。在编写此书时,已经有两个这样的更新发生在2015年11月(也称为版本1511,指服务年和月份)和2016年7月(版本1607,也因为周年更新的营销名称所知)[5]。
Windows10和“一个内核”多年来,几种不同类型的Windows已经发展起来。除了在PC上运行的主流Windows之外,还有Xbox360游戏控制台,它运行一个分叉Windows2000。WindowsPhone7基于WindowsCE(微软的实时操作系统)运行的一个变体[6]。维护和扩展所有这些代码库显然是困难的。因此,微软决定将内核和基础平台支持的二进制文件聚合为一个。这开始于Windows8和Windows电话8,其中共享内核(Windows8.1和Windows电话8.1具有聚合的Windows运行时API)。使用Windows10,融合就完成了,这个共享平台被称为Onecore,它运行在PC、电话、XboxOne游戏控制台、全息屏和物联网(IoT)设备(如树莓Pi2)上[7]。
PyCharm是一种Python IDE,带有一整套可以帮助用户在使用Python语言开发时提高其效率的工具,比如调试、语法高亮、Project管理、代码跳转、智能提示、自动完成、单元测试、版本控制。此外,该IDE提供了一些高级功能,以用于支持Django框架下的专业Web开发。
MySQL是一个关系型数据库管理系统,它的范围包括了膝上型计算机、台式机、超市服务器。20世纪,最初的MySQL是由Sybase专门为UNIX系统开发的,后来微软将它移植到了WindowsNT系统上。从1994年开始,微软发布独立于Sybase开发的MySQL版本,而Sybase在20世纪90年代后期,就已经停止使用MySQL这个名称。
MySQL提供MySQL多个拷贝之间以及其他数据库系统的复制服务。其中的分析服务是属于系统的一个完整部分,包括了:联机分析处理(OLAP)和数据挖掘工具。MySQL提供了一个大的图形化工具集和向导,引导数据库管理员执行各种任务,例如建立定期备份、在服务器之间复制数据,以及调整数据库性能[10]。
2.4.1MVVM模式介绍
MVVM是Model-View-ViewModel的简写。它本质上就是MVC 的改进版。MVVM 就是将其中的View 的状态和行为抽象化,让我们将视图 UI 和业务逻辑分开。当然这些事 ViewModel 已经帮我们做了,它可以取出 Model 的数据同时帮忙处理 View 中由于需要展示内容而涉及的业务逻辑。微软的WPF带来了新的技术体验,如Silverlight、音频、视频、3D、动画……,这导致了软件UI层更加细节化、可定制化。同时,在技术层面,WPF也带来了 诸如Binding、Dependency Property、Routed Events、Command、DataTemplate、ControlTemplate等新特性。MVVM(Model-View-ViewModel)框架的由来便是MVP(Model-View-Presenter)模式与WPF结合的应用方式时发展演变过来的一种新型架构框架。它立足于原有MVP框架并且把WPF的新特性糅合进去,以应对客户日益复杂的需求变化。
Django是一个由Python编写的具有完整架站能力的开源Web框架。使用Django,只要很少的代码,Python的程序开发人员就可以轻松地完成一个正式网站所需要的大部分内容,并进一步开发出全功能的Web服务[10]。
Django本身基于MVC模型,即Model(模型)+View(视图)+ Controller(控制器)设计模式,因此天然具有MVC的出色基因:开发快捷、部署方便、可重用性高、维护成本低等。Python加Django是快速开发、设计、部署网站的最佳组合[11]。
Django具有以下特点:
能完善、要素齐全:该有的、可以没有的都有,常用的、不常用的工具都用。Django提供了大量的特性和工具,无须你自己定义、组合、增删及修改[12]。
完善的文档:经过十多年的发展和完善,Django有广泛的实践经验和完善的在线文档(可惜大多数为英文)。开发者遇到问题时可以搜索在线文档寻求解决方案[13]。
强大的数据库访问组件:Django的Model层自带数据库ORM组件,使得开发者无须学习其他数据库访问技术(SQL、pymysql、SQLALchemy等)。
灵活的URL映射:Django使用正则表达式管理URL映射,灵活性高。
丰富的Template模板语言:类似jinjia模板语言,不但原生功能丰富,还可以自定义模板标签[14]。
Vue.js是一套构建用户界面的渐进式框架。与其他重量级框架不同的是,Vue采用自底向上增量开发的设计。Vue 的核心库只关注视图层,并且非常容易学习,非常容易与其它库或已有项目整合。另一方面,Vue 完全有能力驱动采用单文件组件和Vue生态系统支持的库开发的复杂单页应用。
Vue.js 的目标是通过尽可能简单的 API 实现响应的数据绑定和组合的视图组件。
Vue.js 自身不是一个全能框架——它只聚焦于视图层。因此它非常容易学习,非常容易与其它库或已有项目整合。另一方面,在与相关工具和支持库一起使用时,Vue.js 也能驱动复杂的单页应用。
3.1需求分析
超市管理系统主要是为了提高工作人员的工作效率和更方便快捷的满足用户,更好存储所有数据信息及快速方便的检索功能,对系统的各个模块是通过许多今天的发达系统做出合理的分析来确定考虑用户的可操作性,遵循开发的系统优化的原则,经过全面的调查和研究。
系统所要实现的功能分析,对于现在网络方便的管理,系统要实现用户可以直接在平台上进行查看所有数据信息,根据需求可以进行在线添加,删除或修改超市管理系统信息,这样既能节省时间,不用再像传统的方式耽误时间,真的很难去满足用户的各种需求。所以超市管理系统的开发不仅仅是能满足用户的需求,还能提高管理员的工作效率,减少原有不必要的工作量。
3.2 系统可行性分析
3.2.1技术可行性:技术背景
本企业网站在Windows操作系统中进行开发,并且目前PC机的性能已经可以胜任普通网站的web服务器。系统开发所使用的技术也都是自身所具有的,也是当下广泛应用的技术之一。
系统的开发环境和配置都是可以自行安装的,系统使用JSP开发工具,使用比较成熟的Mysql数据库进行对系统前台及后台的数据交互,根据技术语言对数据库,结合需求进行修改维护,可以使得网站运行更具有稳定性和安全性,从而完成实现网站的开发。
(1)硬件可行性分析
超市管理系统及信息分析的设计对于所使用的计算机没有什么硬性的要求,计算机只要可以正常的使用进行代码的编写及页面设计就可行,主要是对于服务器有些要求,对于平台搭建完成要上传的服务器是有一定的要求的,服务器必须选择安全性比较高的,然后就是在打开网站必须顺畅,不能停顿太长时间;性价比高;安全性高。
(2)软件可行性分析
开发整个系统使用的是云计算,流量的可扩展性和基于流量的智能调整云计算的优点就是流量的可扩展性和基于流量的智能调整,保障系统的安全及数据信息的及时备份。
因此,我们从两个方面进行了可行性研究,可以看出系统的开发没有问题。
在超市管理系统开发之前所做的市场调研及其他的物流公司相关的管理系统,都是没有任何费用的,都是通过开发者自己的努力,所有的工作的都是自己亲力亲为,在碰到自己比较难以解决的问题,大多是通过同学和指导老师的帮助进行相关信息的解决,所以对于超市管理系统的开发在经济上是完全可行的,没有任何费用支出的。
使用比较成熟的技术,系统是基于django的开发,采用Mysql数据库。所以系统在开发人力、财力要求不高,具有经济可行性。
3.2.3操作可行性:
可操作性主要是对超市管理系统设计完成后,用户的使用体验度,以及管理员可以通过系统随时管理相关的数据信息,并且对于管理员、收银员工、理货员工和供货商五个用户角色,都可以简单明了的进入到自己的系统界面,通过界面导航菜单可以简单明了地操作功能模块,方便用户信息的操作需求和管理员管理数据信息,对于系统的操作,不需要专业人员都可以直接进行功能模块的操作管理,所以在系统的可操作性是完全可以的。本系统的操作使用的也是界面窗口进行登录,所以操作人员只要会简单的电脑操作就完全可以的。
3.3 项目设计目标与原则
1、关于超市管理系统的基本要求
(1)功能要求:可以管理首页、人员管理(管理员、收银员工、理货员工、供货商)模块管理(员工工资、商品管理、供货管理、商品入库、销售记录)个人管理等功能模块。
(2)性能:在不同操作系统上均能无差错实现在不同类型的用户登入相应界面后能不出差错、方便地进行预期操作。
(3)安全与保密要求:用户都必须通过身份验证才能进入系统,并且用户的权限也需要根据用户的类型进行限定。
(4)环境要求:支持多种平台,可在Windows系列、Vista系统等多种操作系统下使用。
2、开发目标
超市管理系统的主要开发目标如下:
(1)实现管理系统信息关系的系统化、规范化和自动化;
(2)减少维护人员的工作量以及实现用户对信息的控制和管理。
(3)方便查询信息及管理信息等;
(4)通过网络操作,改善处理问题的效率,提高操作人员利用率;
(5)考虑到用户多样性特点,要求界面简单,操作简便。
3、设计原则
本超市管理系统采用python技术,Mysql数据库开发,充分保证了系统稳定性、完整性。
超市管理系统的设计与实现的设计思想如下:
操作简单方便、系统界面安全良、简单明了的页面布局、方便查询超市管理系统相关信息。
2、即时可见:对超市管理系统信息的处理将立马在对应地点可以查询到,从而实现“即时发布、即时见效”的系统功能。
3、功能的完善性:可以管理首页、人员管理(管理员、收银员工、理货员工、供货商)模块管理(员工工资、商品管理、供货管理、商品入库、销售记录)个人管理模块的修改维护操作。
3.4系统流程分析
3.4.1操作流程

图3-1登录流程图
3.4.2添加信息流程
添加信息流程图,如图所示:

图3-2添加信息流程图
3.4.3删除信息流程
删除信息流程图,如图所示:

图3-3删除信息流程图
4.1系统设计的原理
系统设计原理包括:
- 模块化。模块化就是把整个程序划分为多个模块,每个模块有自己的名字并可以被独立访问。所有模块的功能集合起来就可以满足用户需求。
- 抽象。抽象是暂时忽略软件的细节,集中精力将软件的本质特征提取出来。
- 逐步求精。总体设计需要先解决主要问题,再将问题一步步细化。
- 局部化和信息隐藏。不同模块之间,信息相互不能访问,是不能访问的;并且应该在相近的物理地址上放置关系较密切的软件元素。
- 模块独立。模块之间应该遵循高内聚,低耦合的原则。
超市管理系统从实际应用角度来说可以分成用户管理模块、系统模块、主要功能模块三大模块。
1.系统用户管理模块系统用户管理模块可以分成用户管理、个人信息管理和权限管理模块。用户管理是对用户的相关信息进行查阅、修改,删除等操作。个人信息管理可以对个人信息的情况进行添加、修改信息删除、个人信息修改和个人信息查询。
2.主要功能管理模块包括用户管理、员工工资、商品管理、供货管理、商品入库、销售记录管理。
3.系统管理模块系统管理模块分为数据备份。
系统的功能模块图如下图所示。

图4-1系统功能结构图
4.3数据库设计
数据库设计(DatabaseDesign)是指对一个给定的环境,构造良好的数据库模式,建立数据库系统,使之能够最有效地存储数据,满足各类用户的需求即处理要求和信息要求。在数据库应用范围内,经常把使用数据库的系统称为数据库的应用系统。
4.3.1概念模型设计
E-R设计方法是一种通过E-R图来描述现实世界信息结构的DB设计方法。E-R图由实体、属性、联系三部分组成。它有两个优点,即接近于人的思维,容易理解;与计算机无关,用户容易接受。
系统的主要实体间关系E-R图如下图所示:

图4-2系统E-R图
实体间可建立某种联系,大致可分为三种:(1)实体间一对一联系,这种关系可以独立也可与其他合并;(2)实体间是一对多联系,实体与另一个n端实体发生联系;(3)实体间为多对多联系,两个实体间存在某种关系。每个实体上码所具有的属性就是关系属性,实体码的组合就是关系码。
基于以上原则,可将图转换为关系模型。
商品信息表:{商品名称、分类、图片数量、所在库房};入库信息表:{商品编号、名称、分类、入库日期、数量、备注、账号、姓名};出库信息表:{商品编号、名称、分类、出库日期、数量、备注、账号姓名}。
4.3.2逻辑结构设计
根据E-R模型,超市管理系统建立了以下逻辑数据结构,下面是各数据表的详细说明。
| cashier | |||||
| 字段名称 | 类型 | 长度 | 不是null | 主键 | 字段说明 |
| cashier_id | int | 11 | 是 | 主键 | 收银员工ID |
| employee_id | varchar | 64 | 否 | 员工工号 | |
| employee_name | varchar | 64 | 否 | 员工姓名 | |
| employee_gender | varchar | 64 | 否 | 员工性别 | |
| age_of_personnel | varchar | 64 | 否 | 员工年龄 | |
| examine_state | varchar | 16 | 是 | 审核状态 | |
| recommend | int | 11 | 是 | 智能推荐 | |
| user_id | int | 11 | 是 | 用户ID | |
| create_time | datetime | 0 | 是 | 创建时间 | |
| update_time | timestamp | 0 | 是 | 更新时间 | |
| commodity_management | |||||
| 字段名称 | 类型 | 长度 | 不是null | 主键 | 字段说明 |
| commodity_management_id | int | 11 | 是 | 主键 | 商品管理ID |
| article_no | varchar | 64 | 是 | 商品编号 | |
| trade_name | varchar | 64 | 否 | 商品名称 | |
| commodity_type | varchar | 64 | 否 | 商品类型 | |
| commodity_price | int | 11 | 否 | 商品价格 | |
| commodity_inventory | int | 11 | 否 | 商品库存 | |
| product_picture | varchar | 255 | 否 | 商品图片 | |
| product_introduction | longtext | 0 | 否 | 商品简介 | |
| recommend | int | 11 | 是 | 智能推荐 | |
| create_time | datetime | 0 | 是 | 创建时间 | |
| update_time | timestamp | 0 | 是 | 更新时间 | |
| employee_wages | |||||
| 字段名称 | 类型 | 长度 | 不是null | 主键 | 字段说明 |
| employee_wages_id | int | 11 | 是 | 主键 | 员工工资ID |
| cashier | int | 11 | 否 | 收银员工 | |
| tallyman | int | 11 | 否 | 理货员工 | |
| employee_name | varchar | 64 | 否 | 员工姓名 | |
| salary_month | int | 11 | 否 | 工资月份 | |
| employee_base_salary | int | 11 | 否 | 员工底薪 | |
| employee_performance | int | 11 | 否 | 员工绩效 | |
| employee_bonus | int | 11 | 否 | 员工奖金 | |
| amount_deducted | int | 11 | 否 | 扣除金额 | |
| total_wages | varchar | 64 | 否 | 工资总计 | |
| release_time | datetime | 0 | 否 | 发布时间 | |
| recommend | int | 11 | 是 | 智能推荐 | |
| create_time | datetime | 0 | 是 | 创建时间 | |
| update_time | timestamp | 0 | 是 | 更新时间 | |
| goods_warehousing | |||||
| 字段名称 | 类型 | 长度 | 不是null | 主键 | 字段说明 |
| goods_warehousing_id | int | 11 | 是 | 主键 | 商品入库ID |
| article_no | varchar | 64 | 否 | 商品编号 | |
| trade_name | varchar | 64 | 否 | 商品名称 | |
| commodity_type | varchar | 64 | 否 | 商品类型 | |
| product_picture | varchar | 255 | 否 | 商品图片 | |
| supplier | int | 11 | 否 | 供货商 | |
| supplier_name | varchar | 64 | 否 | 供货商名称 | |
| vendor_address | varchar | 64 | 否 | 供货商地址 | |
| person_in_charge | varchar | 64 | 否 | 负责人 | |
| contact_number | varchar | 64 | 否 | 联系电话 | |
| supply_quantity | int | 11 | 否 | 供货数量 | |
| supply_time | datetime | 0 | 否 | 供货时间 | |
| warehousing_staff | int | 11 | 否 | 入库员工 | |
| recommend | int | 11 | 是 | 智能推荐 | |
| create_time | datetime | 0 | 是 | 创建时间 | |
| update_time | timestamp | 0 | 是 | 更新时间 | |
| sales_records | |||||
| 字段名称 | 类型 | 长度 | 不是null | 主键 | 字段说明 |
| sales_records_id | int | 11 | 是 | 主键 | 销售记录ID |
| article_no | varchar | 64 | 否 | 商品编号 | |
| trade_name | varchar | 64 | 否 | 商品名称 | |
| commodity_type | varchar | 64 | 否 | 商品类型 | |
| commodity_price | int | 11 | 否 | 商品价格 | |
| product_picture | varchar | 255 | 否 | 商品图片 | |
| sales_staff | int | 11 | 否 | 销售员工 | |
| employee_id | varchar | 64 | 否 | 员工工号 | |
| employee_name | varchar | 64 | 否 | 员工姓名 | |
| sales_time | datetime | 0 | 否 | 销售时间 | |
| sales_volumes | int | 11 | 否 | 销售数量 | |
| recommend | int | 11 | 是 | 智能推荐 | |
| create_time | datetime | 0 | 是 | 创建时间 | |
| update_time | timestamp | 0 | 是 | 更新时间 | |
| supplier | |||||
| 字段名称 | 类型 | 长度 | 不是null | 主键 | 字段说明 |
| supplier_id | int | 11 | 是 | 主键 | 供货商ID |
| supplier_name | varchar | 64 | 否 | 供货商名称 | |
| vendor_address | varchar | 64 | 否 | 供货商地址 | |
| person_in_charge | varchar | 64 | 否 | 负责人 | |
| business_license | varchar | 255 | 否 | 营业执照 | |
| examine_state | varchar | 16 | 是 | 审核状态 | |
| recommend | int | 11 | 是 | 智能推荐 | |
| user_id | int | 11 | 是 | 用户ID | |
| create_time | datetime | 0 | 是 | 创建时间 | |
| update_time | timestamp | 0 | 是 | 更新时间 | |
| supply_list | |||||
| 字段名称 | 类型 | 长度 | 不是null | 主键 | 字段说明 |
| supply_list_id | int | 11 | 是 | 主键 | 供货清单ID |
| article_no | varchar | 64 | 否 | 商品编号 | |
| trade_name | varchar | 64 | 否 | 商品名称 | |
| commodity_type | varchar | 64 | 否 | 商品类型 | |
| product_picture | varchar | 255 | 否 | 商品图片 | |
| supplier | int | 11 | 否 | 供货商 | |
| supplier_name | varchar | 64 | 否 | 供货商名称 | |
| vendor_address | varchar | 64 | 否 | 供货商地址 | |
| person_in_charge | varchar | 64 | 否 | 负责人 | |
| contact_number | varchar | 64 | 否 | 联系电话 | |
| supply_quantity | int | 11 | 否 | 供货数量 | |
| supply_time | datetime | 0 | 否 | 供货时间 | |
| recommend | int | 11 | 是 | 智能推荐 | |
| create_time | datetime | 0 | 是 | 创建时间 | |
| update_time | timestamp | 0 | 是 | 更新时间 | |
| tallyman | |||||
| 字段名称 | 类型 | 长度 | 不是null | 主键 | 字段说明 |
| tallyman_id | int | 11 | 是 | 主键 | 理货员工ID |
| employee_id | varchar | 64 | 否 | 员工工号 | |
| employee_name | varchar | 64 | 否 | 员工姓名 | |
| gender | varchar | 64 | 否 | 员工性别 | |
| employee_age | varchar | 64 | 否 | 员工年龄 | |
| examine_state | varchar | 16 | 是 | 审核状态 | |
| recommend | int | 11 | 是 | 智能推荐 | |
| user_id | int | 11 | 是 | 用户ID | |
| create_time | datetime | 0 | 是 | 创建时间 | |
| update_time | timestamp | 0 | 是 | 更新时间 | |
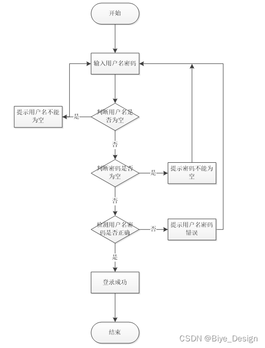
1.登录模块,用户、管理员可以通过登录进入该系统,如果输入正确,则可以进入该系统,显示的结果如下。
用户登录界面如下图所示。

图5-1登录模块界面
2.注册用户,如果某个人员进入该系统,则注册该用户的信息,如果注册成功,就可以进入该系统,显示的结果如下。
注册用户界面如下图所示。

图5-2创建用户界面
3.密码修改,系统所有用户都可以进行登录密码的修改,登录后,输入原始密码和2遍新密码,就可以完成修改,如果输入的2次新密码不一样,则会提示修改失败。
密码修改界面如下图所示。

图5-3密码修改界面
4.创建用户流程,首先获取用户的基本信息,然后将姓名转换为拼音做为用户名,默认密码是admin向数据库添加一条记录。
创建用户流程图如下图所示。

图5-4创建用户流程图
5.2用户添加功能模块实现
1.用户添加,添加用户信息,主要页面是yuangongxinxi_add.html文件,通过调用add()方法,将用户参数传入,实现用户信息的添加。
用户添加页面如下图所示。

图5-5用户添加页面
2.用户修改,管理员可以修改已存在的用户信息,除主键的ID不能修改外,其他属性基本都能修,主要页面是yuangongxinxi_update.html,通过调用update()方法,将用户参数传入,实现用户信息的修改。
3.用户查询,用户添加之后可以进行用户查询,输入用户编号可以查询出该用户的所有信息。包括用户编号、用户名称和电话。
用户查询界面如下图所示。

图5-6用户查询页面
4.用户删除,用对不需要的用户,或者输入错误的用户信息,管理员可以对其进删除,通过调用delete()方法,将用户参数传入,实现用户信息的删除。
5.用户添加流程,开始输入用户信息,在程序中验证输入的信息是否规范,如果规范就输入成功,如果不规范将重新进行输入。
用户添加流程图如下图所示。

图5-7用户添加流程图
5.3商品管理功能模块实现
1.商品添加,管理员添加商品信息,主要页面是wuzi_add.html文件,通过调用commDao类的add()方法,将商品参数传入,实现商品信息的添加。
商品添加页面如下图所示。

图5-8商品添加页面
2.商品修改,管理员可以修改已存在的商品信息,除主键的ID不能修改外,其他属性基本都能修改,主要页面是wuzi_update.html,通过调用commDao类的update()方法,将商品参数传入,实现商品信息的修改。
3.商品查询,商品添加之后可以进行商品查询,输入商品编号可以查询出该商品的所有信息。包括商品编号、商品名称、商品价格。
商品查询界面如下图所示。

图5-9商品查询页面
4.商品删除,对不需要的商品,或者输入错误的商品信息,管理员可以对其进删除,通过调用commDao类的delete()方法,将商品参数传入,实现商品信息的删除。
1.商品入库,如果管理员想进行商品入库,商品入库之前须要对商品进行登记,登记完之后进行商品入库,商品入库之后,生成入库记录,商品的当前库存量=入库前的数量加上入库数量,在库存在会显示入库的商品,,入库商品调配则将已入库的商品数量去除,则从库存数量减去商品调配数量得到库存总数量。
商品入库页面如下图所示。

图5-10商品入库页面
商品入库流程图如下图所示。

图5-11商品入库流程图
6.1测试目的
测试的目的不仅要如何去组织测试,通过分析错误的产生原因以及结果,以便改进。在系统测试中,第一个目的就是检验系统在完成过程中的逻辑问题和系统可能存在的问题。然后通过测试修正原本的错误,提高系统的质量。第二个目的就是检测系统的安全性、可靠性也就是说系统的内容是不是安全的,会不会出现遗失等情况,系统是否能很好的正常的运行。
从超市管理系统的实际情况来考虑,系统测试的根本就是:各项功能是否能够正常运行,不同的用户可以通过系统都做出哪些操作。能否对系统的数据进行调用,对表的增删改查操作,并且系统数据和数据库的数据是否一致。
6.2测试方法
一个业务模块应该由许多功能单元共同实现,黑盒测试针对业务功能是否能按计划完成,并且不考虑系统内部的结构和效率问题,白盒测试的要求就是要尽可能的测试到所有的组成结构,即要尽量包含所有的功能模块、覆盖全部路径。这种测试要求测试人员必须完全了解系统的业务逻辑及处理过程。但是完成上面的要求是一件很难的事,并且若程序中含有循环之后,路径的数量会越来越大,执行每一条路径都将会变得极不现实。
6.3测试过程
6.3.1系统测试计划
通过这个测试体现了此系统的功能比较完善,系统运行比较稳定,足以证明此系统具有安全性和完整性。测试计划进度表在测试之前用来计划测试目的于测试的范围,并且计划出测试的方法以及测试的时间。软件的质量是我们的追求,所以测试的过程是十分重要的,测试计划因此也成为了测试工作的基础。
系统测试计划如下表所示。
表6-1系统测试计划表
| 测试任务 | 工作描述 | 计划开始日期 | 计划结束日期 |
| 测试策划阶段 | 制定测试的计划、时间和预测效果 | ||
| 测试设计阶段 | 选定测试用例,回顾测试覆盖 | ||
| 测试实现阶段 | 开发测试用例/脚本 | ||
| 测试执行阶段 | 测试用例/脚本执行 | ||
| 测试总结阶段 | 生成测试和缺陷填写报告 |
6.3.2系统测试用例
1.用户登录模块测试用例,用户登录系统时须要输入用户名和密码,用户名和密码输入正确则登录成功,否则将会给会相应提示。对用户登录输入用户名和密码设计详细测试用例。
用户登录测试用例如下表所示。
表6-2用户登录测试用例表
| 设计人 | 测试人 | 功能编号 | 1 | |||||||||
| 功能组 | 登录界面 | 功能点 | 用户登录 | 测试日期 | ||||||||
| 测试环境及前提 | ||||||||||||
| 测试条件 | 已添加用户A用户:1,密码: B用户:2,密码: | |||||||||||
| 测试项目及内容 | ||||||||||||
| 测试步骤 | 输入项 | 预期输出项 | 实际输出 | |||||||||
| 1 | 空值/空值 | 提示“用户名或密码不能为空!” | 提示“用户名或密码不能为空!” | |||||||||
| 2 | 空值/123 | |||||||||||
| 3 | 123/空值 | |||||||||||
| 4 | 1/1 | 成功登录到主程序,“系统设置”菜单中拥有所有权限 | 成功登录到主程序,“系统设置”菜单中拥有所有权限 | |||||||||
| 111/1 | 提示“用户名或密码错误,请重新输入” | 提示“用户名或密码错误,请重新输入” | ||||||||||
| 5 | 2/2 | 成功登录到主程序,在“系统设置”菜单中只能修改自己的密码 | 成功登录到主程序,在“系统设置”菜单中只能修改自己的密码 | |||||||||
| 测试结论 | 用户登录功能可以正常使用 | 总体结论 | 基本通过 | |||||||||
| 测试结论 | 功能可正常使用 | 总体结论 | 基本通过 | |||||||||
2.用户管理测试用例,添加用户时须要输入用户的详细信息,当用户信息输入正确时则输入成功,当用户信息输入不正确时则给出相应提示。
添加用户测试用例表如下表所示。
表6-3用户管理测试用例表
| 设计人 | 测试人 | 功能编号 | 2 | ||||
| 功能组 | 系统设置 | 功能点 | 添加用户 | 测试日期 | |||
| 测试环境及前提 | |||||||
| 测试条件 | 系统中存在欲创建人的基本信息 | ||||||
| 测试项目及内容 | |||||||
| 测试步骤 | 输入项 | 预期输出项 | 实际输出 | ||||
| 1 | 选择一条记录点击创建用户按钮 | 提示“用户创建成功!” | 提示“用户创建成功!” | ||||
| 2 | 使用管理员权限登录为刚刚创建的用户授权 | 提示“授权成功!” | 提示“授权成功!” | ||||
| 3 | 实用刚刚创建的用户登录系统 | 提示“登录成功!” | 提示“登录成功!” | ||||
| 测试结论 | 添加用户功能可以正常使用 | 总体结论 | 基本通过 | ||||
3.商品管理测试用例,对商品管理功能模块进行增删改查的测试。
商品管理测试用例如下表所示。
表6-4添加商品测试用例
| 设计人 | 测试人 | 功能编号 | 3 | |||||
| 功能组 | 商品管理界面 | 功能点 | 添加商品 | 测试日期 | ||||
| 测试环境及前提 | ||||||||
| 测试条件 | 进入商品管理模块 | |||||||
| 测试项目及内容 | ||||||||
| 测试步骤 | 输入项 | 预期输出项 | 实际输出 | |||||
| 1 | 添加商品时,没有输入任何商品信息 | 提示“商品添加失败!” | 提示“商品添加失败!” | |||||
| 2 | 添加商品时,输入带*号的文本框,并且符合格式要求 | 提示“商品添加成功!” | 提示“商品添加成功!” | |||||
| 3 | 添加商品时,输入所有文本框,并且格式符合要求 | 提示“商品添加成功!” | 提示“商品添加成功!” | |||||
| 4 | 添加商品时,只输入没有带*号的文本框 | 提示“商品添加失败!” | 提示“商品添加失败!” | |||||
4.商品入库管理测试用例,商品入库测试商品入库情况,可以选择一个商品进行入库,可以选则多个商品进行入库。
商品入库用例表如下表所示。
表6-5商品入库管理测试用例表
| 设计人 | 测试人 | 功能编号 | 4 | |||||
| 功能组 | 入库 | 功能点 | 商品入库 | 测试日期 | ||||
| 测试环境及前提 | ||||||||
| 测试条件 | 已录入商品信息 | |||||||
| 测试项目及内容 | ||||||||
| 测试步骤 | 输入项 | 预期输出项 | 实际输出 | |||||
| 1 | 选择一个商品,点击入库按钮,输入该商品入库数量 | 入库成功 | 入库成功 | |||||
| 2 | 选择一个商品,点击入库按钮,没有输入该商品入库数量 | 请输入入库数量 | 请输入入库数量 | |||||
| 测试结论 | 商品入库功能可以正常使用 | 总体结论 | 基本通过 | |||||
测试结果包括界面及功能测试和代码测试两部分,本系统对每个功能点做了详细的测试,测试结果正常。
测试结果表如下表所示。
表6-6系统功能测试结果表
| 序号 | 测试模块 | 功能点 | 质量保证标准 | 问题属性 | 测试结果 |
| F1 | 系统用户管理模块 | 修改密码 | 正确性 | 故障 | 正常 |
| 权限设置 | 正确性 | 故障 | 正常 | ||
| 角色管理 | 正确性 | 缺陷 | 正常 | ||
| 用户信息添加 | 正确性 | 故障 | 正常 | ||
| 用户信息修改 | 正确性 | 故障 | 正常 | ||
| 用户信息查询 | 正确性 | 故障 | 正常 | ||
| 用户信息删除 | 正确性 | 故障 | 正常 | ||
| 退出系统 | 正确性 | 故障 | 正常 | ||
| F2 | 功能管理模块 | 商品信息添加 | 正确性 | 故障 | 正常 |
| 商品信息修改 | 正确性 | 故障 | 正常 | ||
| 商品信息删除 | 正确性 | 故障 | 正常 | ||
| 入库信息添加 | 正确性 | 故障 | 正常 | ||
| 入库信息修改 | 正确性 | 故障 | 正常 | ||
| 入库信息删除 | 正确性 | 故障 | 正常 | ||
| 出库信息添加 | 正确性 | 故障 | 正常 | ||
| 出库信息修改 | 正确性 | 故障 | 正常 | ||
| 出库信息删除 | 正确性 | 故障 | 正常 | ||
| 商品调配添加 | 正确性 | 故障 | 正常 | ||
| 商品调配修改 | 正确性 | 故障 | 正常 | ||
| 商品调配删除 | 正确性 | 故障 | 正常 |
本系统是通过计算机技术,结合超市管理的需求,研制出的一套用于各个超市的超市管理系统。该系统能够为超市的库存管理提供方便,能够帮助超市对其进行信息化管理,能够为超市对各方面的管理提高工作效率。本系统还能够将各个资料录入,让管理层在网上查询所需要的资料,这样一来,就能够省去了专门负责库存管理人的工作量,也为库存管理工作提供了便利。
在对本系统进行了详细的分析以及一系列的可行性研究之后,根据该系统的设计构想,对本软件进行了开发设计。在确定了本系统具有较高的可行性以后,通过对系统的数据库的分析和总体的功能模块的设计,本系统前台采用的是Python开发技术,以MySQL作为后台数据库连接开发。在对系统进行详细的需求分析后,针对不同的需求设立不同的板块,发挥各部分不同的作用。根据该系统的功能结构图展示出了系统内各功能模块之间的业务逻辑结构。并且通过所设计的E-R图,表示出系统各个部分的功能,涉及到系统中各部分的联系,可以让读者能够清晰的了解到本系统的运行流程,并能够进一步的了解到系统各功能模块的相关信息。
[1]李秀红,徐介新,吕兰兰,王勍.基于Django的高校实验室管理系统的设计与实现[J].软件工程,2017,20(06):24-26.
[2]袁斌.基于Django的图书商城系统设计t初探[J].经营管理者,2017,(18):268-269.
[3]陈倩.基于Django的OA办公平台[J].经贸实践,2017,(12):223.
[4]施万里.从ESP到Django:专门用途日语教师专业发展研究[J].旅游纵览(下半月),2017,(08):247+249.
[5]李俊.基于jsp的数据库开发技术研究[J].才智,2017,(20):265.
[6]周江,李月.一种基于Django技术的网页表格组件的设计与实现[J].现代计算机(专业版),2017,(21):48-51.
[7]韩银锋.Django实现网站访问次数计数累计[J].数字技术与应用,2017,(06):205+208.
[8]袁永彦.基于Django技术的体育用品管理系统设计与实现[J].电子设计工程,2017,25(14):172-174+178.
[9]周文华,胡玉欣,周嘉雯,张之江.Django+Servlet+PythonBean开发的登录系统[J].工业控制计算机,2017,30(08):132-133+147.
[10]张继东.MySQL数据库基于Django的访问技术[J].电子技术与软件工程,2017,(15):169.
[11]黄小根.基于Django+MVC模式的个人博客系统设计[J].电脑编程技巧与维护,2017,(16):24-25+32.
[12]陈娟.基于Django的校园二手物品交易系统的设计与实现[J].计算机产品与流通,2018(11):140-141.
[13]刘欣华.基于jsp技术的网络考试系统的研究与设计[J].现代职业教育,2017,(05):80.
[14]AbbasMrAnsar,EliyanaProfAnis,EkowatiDrDian,SaudMrMuhammad,RazaMrAli,WardaniMsRatna.Datasetoncopingstrategiesinthedigitalage:Theroleofpsychologicalwell-beingandsocialcapitalamonguniversitystudentsinPythonTimor,Surabaya,Indonesia.[J].Datainbrief,2020,30.
[15]PatríciaAmorim,PedroSousa,ErnestoJardim,ManuelaAzevedo,GuiM.Menezes.Length-frequencydataapproachestoevaluatesnapperandgrouperfisheriesinthePythonSea,Indonesia[J].FisheriesResearch,2020,229.
[16]Mr.AnsarAbbas,Prof.AnisEliyana,Dr.DianEkowati,Mr.MuhammadSaud,Mr.AliRaza,Ms.RatnaWardani.Datasetoncopingstrategiesinthedigitalage:Theroleofpsychologicalwell-beingandsocialcapitalamonguniversitystudentsinPythonTimor,Surabaya,Indonesia[J].DatainBrief,2020,30.
[17]PengxiangZhou,ShaohongXia.Effectsoftheheterogeneoussubductingplateonseismicity:Constraintsfromb-valuesintheAndaman–Sumatra–Pythonsubductionzone[J].PhysicsoftheEarthandPlanetaryInteriors,2020.
[18]FranciscoAleixo,SeánA.O’Callaghan,LuísDuclaSoares,PauloNunes,RuiPrieto.AragoJ:Afree,open‐sourcesoftwaretoaidsinglecameraphotogrammetrystudies[J].MethodsinEcologyandEvolution,2020,11(5).
[19]BelénRíos-Sánchez,DavidCosta-daSilva,NataliaMartín-Yuste,CarmenSánchez-?vila.Deeplearningforfacerecognitiononmobiledevices[J].IETBiometrics,2020,9(3).
[20]MoeljadiMoeljadi,TriningsihSriSupriyati,SherlindaOctaYuniarsa.PersonalMotivationalFactorstoAligningInnovationCulture:EvidenceonTrenggalek,EastPython,Indonesia[J].SHSWebofConferences,2020,76.
经历了近三个多月的动手实践及老师辛勤的指导和同学朋友热心的帮助下,本人的毕业设计超市管理系统的基本功能也基本完成。
此次设计中,通过不断的探讨与学习使我熟悉、使我初步了解了Django相关技术。我做的是一个B/S结构的超市管理系统,使我对做网站所需要,及运行的环境有了初步的了解,在此次设计中我翻阅了较多的书籍,在有限的时间了丰富了对超市管理系统技术的知识也积累了少许的经验。起初对Python的初步认识,通过这次设计更进一步的了解了其工作原理,懂得了配置服务器环境,连接数据库源,在设计过程中,也学会了用Pycharm设计一个简单的页面,增强了动手的能力,激发了在此方面的兴趣。
但是由于时间、基础及缺乏实践等多方面的问题,还有诸多需要解决的问题依然存在,设计中很多方面考虑不够周全或者考虑不到。
非常感谢我的老师,我的同学,我的朋友并希望在今后的学习生活中不断陪养多方面的兴趣,不断学习进步从而能够实现独立完成。设计中存在的诸多缺点诚肯老师的原谅。
免费领取项目源码,请关注❥点赞收藏并私信博主,谢谢~
随着信息技术发展,传统超市管理模式已不适用。本文介绍了基于Python和Django技术、以MySQL为数据库的超市管理系统。该系统采用MVVM模式,设计了首页、人员管理等功能模块。经需求分析、设计和测试,证明其具有实用价值,能提高超市管理效率。
1万+

被折叠的 条评论
为什么被折叠?



