3D·24|核增材中心奠基;3D打印维修驱逐舰;哈工大发明“双耗材独立挤出系统“;一企业新获千万融资;我国增材标准要达世界领先

3D打印行业 | 24h观察

GO

全球行业要闻一日谈!

01. 哈工大发明双耗材独立挤出系统

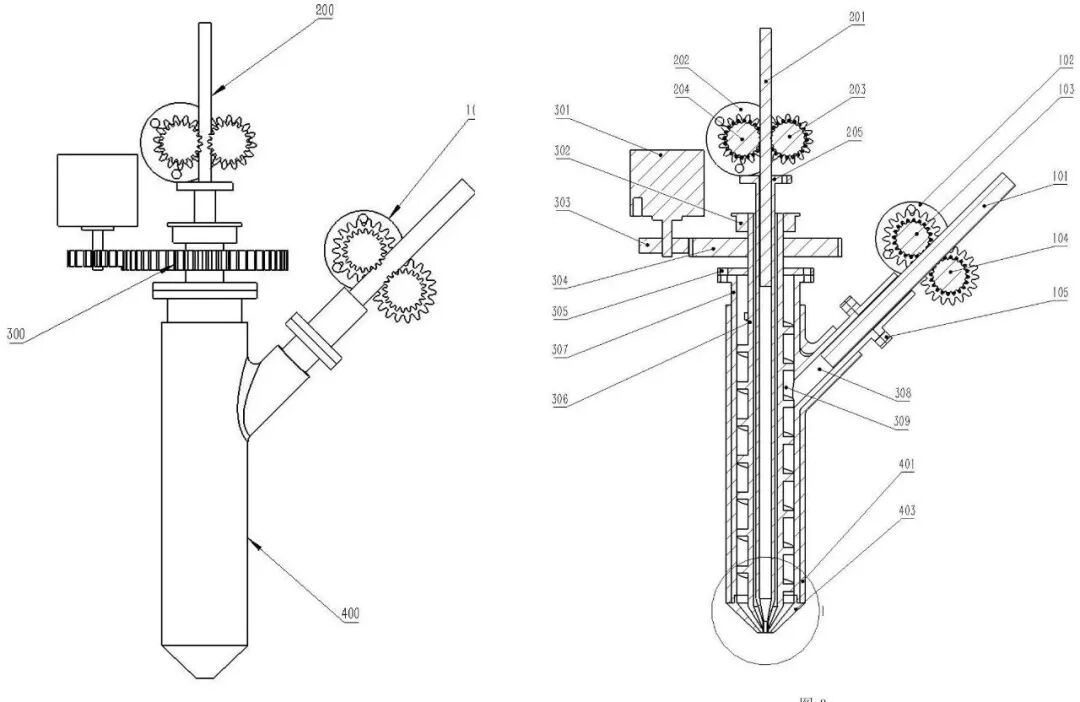
近日,哈工大申请的“一种3D打印机双耗材独立挤出系统”专利公开。该发明可以让打印机使用一个打印头同时打印两种材料,两种原料同时挤出,第一原料包裹第二原料,能使成型的3D打印件兼具两种材料的属性,在一定程度上弥补3D打印技术在韧性和耐疲劳性能方面的不足。

02. 创材深造完成千万元A轮融资

9月3日消息,创材深造近日完成数千万元A轮系列融资。该公司利用“AI+金属材料”研发模式,借助材料计算、材料信息学、机器学习、深度神经网络等技术手段,加速金属材料的研发。

03. 我国增材制造标准水平要达世界领先

9月1日,国家标准委、工业和信息化部印发《工业母机高质量标准体系建设方案》。方案提出,到2030年,减材、等材制造标准整体达到世界先进水平,部分增材制造标准水平达到世界领先。

04. 3D打印修复驱逐舰损坏零件

美国海军维护中心近日成功利用3D打印技术为阿利·伯克级导弹驱逐舰的冷冻水泵制造了替换冷却转子。该六叶片部件不通过海军供应系统单独出售,通常需要购买整套新的泵组。

该部门利用逆向工程,高强度、耐热性和阻燃性著称的航空级热塑性塑料制造。生产一个原型叶片的成本为17.63美元,而最终叶片的成本为131.21美元,更换整个电机则需要31万美元。

05. 法马通增材制造中心奠基

法马通在增材制造特定领域拥有超过15年的专业积累,已在反应堆中引入了多个3D打印组件,它还已签署第一批核领域增材制造备件供应合同。

该公司增材制造中心近期奠基。从2026年5月起,将使用金属3D打印来生产从几毫米到几米、重达20吨的部件。它将促进该公司核部件设计的创新,并使法国在该领域更具竞争力。

06.3D打印超导体磁场强度创纪录

美国康奈尔大学研究人员开发出出一种“一步式”3D打印方法,可制造出性能卓越的氮化铌超导体,创下该化合物超导体的最高纪录。该技术适用于MRI磁体和量子设备等领域,将推动超导材料在医疗成像和高科技领域的应用。相关成果近日发表于《自然·通讯》杂志。

今日互动

你认为在我国,AI最可能先在3D打印的哪个方面发力?评论区可留下你的意见。

昨日互动结果出炉,西安被超过50%的行业人员认为是中国的3D打印之都。

图片

#3D打印 #增材制造 #行业资讯

欢迎转发

千人行业专家交流Q群:248112776

延伸阅读:

1.阅兵后的感悟:3D打印能为武器装备领域带来哪些共性优势?

2.3D·24|陕西企业1亿布局3D打印等;1.35亿政府支持项目;PrusaSlicer最新版可优化表面质量;学生宿舍3D打印

3.AI浪潮下的3D打印革命:看国外巨头如何用“智能大脑”重塑增材制造

4.3D打印行业“神仙打架”名场面即将上演,TCT深圳展特色看点都在这里!

评论
添加红包

请填写红包祝福语或标题

红包个数最小为10个

红包金额最低5元

当前余额3.43前往充值 >
需支付:10.00
成就一亿技术人!
领取后你会自动成为博主和红包主的粉丝 规则
hope_wisdom
发出的红包
实付
使用余额支付
点击重新获取
扫码支付
钱包余额 0

抵扣说明:

1.余额是钱包充值的虚拟货币,按照1:1的比例进行支付金额的抵扣。
2.余额无法直接购买下载,可以购买VIP、付费专栏及课程。

余额充值