目录
前言
📅大四是整个大学期间最忙碌的时光,一边要忙着备考或实习为毕业后面临的就业升学做准备,一边要为毕业设计耗费大量精力。近几年各个学校要求的毕设项目越来越难,有不少课题是研究生级别难度的,对本科同学来说是充满挑战。为帮助大家顺利通过和节省时间与精力投入到更重要的就业和考试中去,学长分享优质的选题经验和毕设项目与技术思路。
🚀对毕设有任何疑问都可以问学长哦!
选题指导:
最新最全计算机专业毕设选题精选推荐汇总
大家好,这里是海浪学长毕设专题,本次分享的课题是
🎯基于深度学习的建筑工地安全帽佩戴识别系统研究
选题背景
在现代社会发展进程中,建筑业作为国民经济的重要支柱产业,为城市建设和经济增长做出了巨大贡献。然而,建筑业同时也是一个高风险行业,安全事故频发成为制约行业健康发展的重要因素。根据的相关统计数据显示,建筑施工过程中,安全事故的发生呈现出一定的规律性,其中因未佩戴安全帽导致的安全事故占总事故数量的%,这一比例令人触目惊心。未佩戴安全帽不仅严重威胁着施工人员的生命安全,也给企业带来了巨大的经济损失和社会负面影响。

随着人工智能技术的快速发展,深度学习在计算机视觉领域取得了突破性进展,为解决传统安全帽佩戴监管难题提供了新的技术路径。传统的安全帽佩戴检测方法主要分为三类:基于传感器的检测方法、基于传统图像处理的检测方法以及基于深度学习的检测方法。基于传感器的检测方法虽然能够直接检测安全帽的佩戴状态,但需要施工人员佩戴特殊的传感器设备,增加了使用成本和操作复杂性,难以在大规模施工现场推广应用。基于传统图像处理的检测方法受光照条件、背景复杂度等因素影响较大,检测准确率和鲁棒性有待提高。深度学习技术在目标检测领域展现出卓越的性能优势。以YOLO系列、Faster RCNN等为代表的深度学习目标检测算法在各类视觉任务中取得了令人瞩目的成果。这些算法通过构建深层神经网络模型,能够自动学习图像中的高级语义特征,显著提升了目标检测的准确率和实时性。将深度学习技术应用于安全帽佩戴识别,不仅能够实现对施工人员安全帽佩戴状态的自动检测,还能够有效降低人工监管成本,提高安全管理效率。
深入研究深度学习技术在安全帽佩戴识别中的应用,设计并实现一个高效、准确、鲁棒的安全帽佩戴识别系统,不仅具有重要的理论研究价值,也具有广阔的实际应用前景。该系统能够在建筑工地出入口等场景中,对进出人员进行实时的安全帽佩戴检测,并根据检测结果控制门禁系统,从源头上杜绝未佩戴安全帽人员进入施工现场,有效降低安全事故发生风险,保障施工人员生命安全,促进建筑业安全、健康、可持续发展。
数据集
在本项目中,为了训练和测试安全帽佩戴识别系统的性能,我们使用了两个主要数据集:SHWD数据集用于安全帽佩戴识别网络的训练和测试,CAS-PEALL数据集用于头部姿态估计网络的训练和测试。SHWD数据集是一个专门用于安全帽佩戴识别研究的公开数据集,共包含图像张。其中有佩戴安全帽的图片3241张,佩戴安全帽的目标有9044个;包含人脸图片有4340张,人脸目标111514个。为了确保数据集的质量和可用性,在使用该数据集之前,我们进行了一系列的数据预处理工作。首先,对数据集中的所有图片进行了错误校对,检查图片格式是否符合要求,删除了一些因格式错误的图片。其次,对图片的标注信息进行了验证,确保每个标注框都准确地包含了对应的目标对象。最后,对数据集进行了数据增强处理,包括随机翻转、缩放、旋转等操作,以增加数据集的多样性和泛化能力。
数据分割采用了常用的训练集-测试集划分方法。将SHWD数据集中的6056张图片用作训练集,1515张图片用作测试集。这种划分方式既能保证训练集有足够的数据量用于模型训练,又能通过测试集客观评估模型的性能。训练集用于训练和优化网络模型的参数,测试集用于评估模型在未见过数据上的泛化能力。
对于头部姿态估计模块,我们使用了CAS-PEALL数据集。该数据集是一个广泛应用于头部姿态估计研究的开源数据集,共包含21882张图片。数据集中包含了不同人的各种头部姿态,其中抬头动作图片3072张、低头动作图片3072张、左转头动作图片6252张、右转头动作图片6252张、正视动作图片3072张。为了适应本系统的需求,我们对数据集进行了筛选和预处理,只保留了与系统所需的五种头部动作相关的图片。在数据分割方面,同样采用了90%-10%的划分比例,随机选取数据集中不同动作的90%样本用作训练集、10%样本用作测试集。
在数据格式方面,SHWD数据集中的图片主要为JPEG或PNG格式,标注信息采用XML格式存储,包含了目标的类别和位置信息。CAS-PEALL数据集中的图片同样为常见的图像格式,每张图片都有对应的头部姿态标签。在系统实现过程中,我们编写了专门的数据加载和预处理模块,能够自动读取和解析这些数据格式,将原始数据转换为网络模型所需的输入格式。
除了使用公开数据集外,我们还考虑了在实际应用场景中可能遇到的数据挑战。例如,在建筑工地的复杂环境中,光线条件可能变化较大,背景可能较为复杂,人员的姿态和位置也可能多种多样。为了提高系统在这些复杂场景下的鲁棒性,我们在数据增强过程中模拟了不同的光照条件、背景干扰和姿态变化,使训练出的模型能够更好地适应实际应用环境。
功能模块介绍
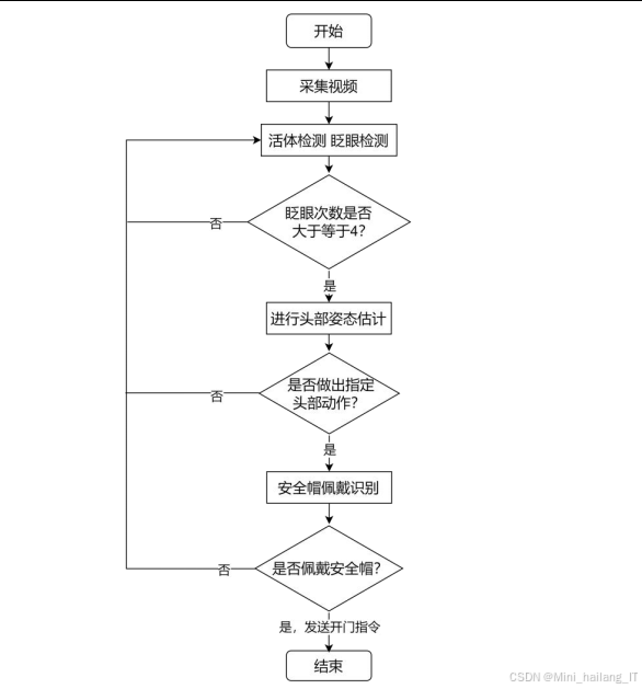
本系统采用C/S架构设计,主要由客户端和服务器端两部分组成。系统包含多个功能模块,每个模块负责特定的功能实现,共同协作完成安全帽佩戴识别和门禁控制的任务。
视频采集模块
视频采集模块主要负责从外部环境中获取实时视频流,并将其传输到服务器端进行处理。模块部署在客户端设备上,使用nanopi m作为主控模块,搭配USB摄像头进行视频采集。nanopi m是一款高性能的嵌入式开发板,具有较强的计算能力和丰富的接口资源,能够满足视频采集和传输的需求。USB摄像头负责捕获施工现场出入口的实时图像,将光学信号转换为数字信号。采集到的视频帧首先在客户端进行预处理,包括图像缩放、格式转换等操作,然后通过以太网以base64编码的形式传输到服务器端。base64编码能够将二进制数据转换为文本格式,便于在网络中传输,同时保证数据的完整性。视频采集模块的性能直接影响整个系统的实时性和准确性,因此在实现过程中,我们对采集参数进行了优化配置,在保证图像质量的同时,确保视频流的稳定传输。

活体检测-眨眼检测模块
活体检测模块是为了防止未佩戴安全帽的人员使用含有安全帽的图片或视频进行伪装欺骗而设计的。模块使用基于EAR SVM的眨眼检测方法来判断监控视频中的被检测者是否为活体。首先,通过开源程序库dlib中的人脸检测程序实现人脸定位,获取待检测者的个人脸特征点。这些特征点中,左眼和右眼各有个特征点,是实现眨眼检测的关键。然后,计算人眼纵横比,这是一种用于判断人眼睁开闭合状态的有效指标。EAR值的计算基于眼部特征点间的距离关系,在眼睛睁开状态下,EAR值通常在0.3和0.38之间;在眼睛闭合状态下,EAR值一般小于0.2。为了提高眨眼检测的准确性,每一帧的EAR三维特征向量,该向量包含当前帧、前一帧以及后一帧的EAR特征值,然后将这些特征向量输入到SVM分类器中进行分类。SVM分类器使用线性核函数,通过对睁眼和闭眼两种状态的特征向量进行训练,能够准确地判断视频流中个体的眨眼状态。当检测到的眨眼次数大于等于设定的阈值时,认为活体检测通过,系统将进入头部姿态估计阶段。
头部姿态估计模块
头部姿态估计模块的主要功能是让要通过安全帽识别门禁的人员做出随机指定的头部动作,并对这些动作进行检测和识别,以防止使用提前录制的视频进行欺骗。模块使用一个具有四层网络结构的卷积神经网络来实现头部姿态的估计和分类。该CNN包含个卷积层和一个全连接层,卷积核的大小依次为x5、2x2、2x2,每个卷积层都伴随2x2的降采样操作。这种结构设计既能够提取图像的深层特征,又能够保证计算效率。在激活函数的选择上,我们使用了Leaky ReLU函数,该函数在负值区间设定了一个小的斜率,能够有效避免传统ReLU函数可能出现的神经元死亡问题,提高网络的训练效果。输入的视频帧首先被归一化为96*96大小的单通道图像,然后通过卷积神经网络进行特征提取和分类,最终输出头部姿态的类别。当检测到的头部姿态与系统随机指定的动作相匹配时,系统将进入安全帽佩戴识别阶段。
安全帽佩戴识别模块
安全帽佩戴识别模块是整个系统的核心,负责检测头部动作帧序列中个体是否佩戴安全帽,并将判断结果反馈到客户端以控制门禁。模块使用改进的YOLOvs网络进行目标检测。YOLOvs-SE网络在原始YOLOv5s网络的基础上,引入了SE注意力机制和alpha-IoU损失函数,以提高检测性能。SE注意力机制通过学习不同通道间的关系,能够增强网络对重要特征的关注度,提高特征提取的效率和准确性。alpha-IoU损失函数则通过引入超参数alpha,能够更好地平衡边界框回归的速度和精度。网络的输入是头部姿态估计阶段捕获的视频帧,输出是个体是否佩戴安全帽的检测结果以及对应的边界框信息。当检测结果显示个体佩戴了安全帽时,服务器端发送开门指令到客户端,引起GPIO模块7号引脚呈现低电平,控制门禁系统打开;否则,门禁保持关闭状态。

GPIO模块
GPIO模块负责接收服务器端的控制指令,并根据指令控制门禁系统的开关状态。模块部署在客户端设备上,通过nanopi m的GPIO接口与门禁系统相连。GPIO是一种可编程的接口,可以通过软件控制其输出高低电平。在本系统中,当服务器端检测到个体佩戴了安全帽时,发送开门指令到客户端,GPIO模块接收到指令后,控制号引脚输出低电平,触发门禁系统打开;当未检测到安全帽佩戴或检测失败时,7号引脚保持高电平,门禁系统保持关闭状态。GPIO模块的实现简单可靠,能够满足门禁控制的实时性要求。
算法理论
EAR SVM眨眼检测算法
眨眼检测是活体检测的关键技术,其核心在于准确识别视频流中个体的眨眼动作。人眼纵横比是一种广泛应用于眨眼检测的特征指标,它通过计算眼部特征点之间的距离关系来表征人眼的睁开闭合状态。在Dlib库的支持下,我们能够快速定位人脸并获取个特征点,其中眼部区域的特征点是计算EAR值的基础。EAR值的计算基于眼部垂直方向和水平方向特征点之间的距离比。当眼睛睁开时,垂直方向的距离较大,水平方向的距离相对稳定,此时EAR值较大;当眼睛闭合时,垂直方向的距离减小,EAR值随之降低。通过大量实验观察发现,眼睛睁开状态下的EAR值通常在到0.38之而闭合状态下的EAR值一般小于0.2。然而,仅依靠单帧图像的EAR值进行眨眼检测容易受到面部表情变化等因素的干扰,导致误判。

为了提高眨眼检测的准确性和鲁棒性,我们引入了支持向量机分类器,并构建了基于多帧EAR值的三维特征向量。SVM是一种强大的二分类算法,能够通过寻找最优超平面来区分不同类别的样本。在本算法中,我们首先采集大量的睁眼和闭眼状态下的EAR特征数据,构建包含当前帧、前一帧和后一帧EAR值的三维特征向量。然后,将这些特征向量作为训练样本,训练SVM分类器。在分类器训练过程中,我们使用线性核函数,因为眨眼检测本质上是一个线性可分的二分类问题。训练完成的SVM分类器能够根据输入的三维EAR特征向量,准确判断当前帧是否处于眨眼状态。当连续检测到眨眼动作且次数达到设定阈值时,系统判定活体检测通过。
四层CNN头部姿态估计算法
头部姿态估计是防止使用视频伪装的重要手段,其目标是准确识别个体头部的动作状态。卷积神经网络在图像分类任务中表现出色,特别适合用于头部姿态的特征提取和分类。为了在保证检测精度的同时提高计算效率,我们设计了一个轻量级的四层CNN网络结构 ;该CNN网络包含三个卷积层和一个全连接层。第一个卷积层使用x的卷积核,能够提取图像的低级特征,如边缘、纹理等。第二和第三个卷积层使用2x2的卷积核,进一步提取更高级的语义特征。每个卷积层后都跟随一个2x2的最大池化层,用于降低特征图的维度,减少计算量,并增强特征的不变性。在激活函数的选择上,我们使用了Leaky ReLU函数,该函数通过在负值区间设置一个小的斜率,能够有效避免ReLU函数可能导致的神经元死亡问题,提高网络的训练效果。

全连接层的维度为128,用于将卷积层提取的特征映射到固定维度的特征向量,然后通过Softmax激活函数输出五个类别的概率分布,分别对应抬头、低头、左转头、右转头和正视五种头部动作。在网络训练过程中,我们使用交叉熵损失函数计算预测值与真实标签之间的误差,并通过Adam优化器进行参数更新。为了避免过拟合,我们在全连接层前添加了dropout层,dropout比例设为0.8。
YOLOvs-SE安全帽佩戴识别算法
YOLOvs是一种高效的单阶段目标检测算法,具有检测速度快、精度高的优点,非常适合用于实时的安全帽佩戴识别任务。为了进一步提高其在复杂场景下的检测性能,我们对YOLOv5s进行了两方面的改进:引入SE注意力机制和使用alpha-IoU损失函数。SE注意力机制是一种通道注意力机制,它通过学习不同通道之间的依赖关系,自适应地调整各通道的权重,增强网络对重要特征的关注度。SE模块主要包含两个部分:挤压和激励。挤压操作通过全局平均池化将特征图压缩为一个一维向量,捕获全局上下文信息;激励操作通过两个全连接层和Sigmoid激活函数,生成各通道的权重,然后将这些权重与原始特征图相乘,得到具有注意力机制的特征图。我们将SE模块添加到YOLOv5s的骨干网络中,增强了网络对安全帽特征的提取能力。

alpha-IoU损失函数是对传统IoU损失函数的改进,它通过引入超参数alpha,能够更好地平衡边界框回归的速度和精度。传统的IoU损失函数仅考虑预测框和真实框的重叠程度,而alpha-IoU损失函数通过对IoU进行幂运算,能够根据需要调整对边界框重叠程度的关注度。在实验中,我们发现当alpha值设为3时,边界框回归的性能最佳。改进后的YOLOv5s-SE网络在保持原有速度优势的同时,显著提高了检测精度。在特殊情况下,如个体手持安全帽而非佩戴时,YOLOv5s-SE也能够正确识别,展现出更强的鲁棒性。
核心代码介绍
EAR计算与SVM分类器训练
人眼纵横比的计算和基于SVM的眨眼检测模型训练眨眼检测模块的核心,它实现了从视频帧中提取眼部特征并进行分类的完整流程。首先,使用Dlib库中的人脸检测器和特征点检测器定位人脸和眼部特征点。然后,通过calculate_ear函数计算人眼纵横比,该函数基于眼部特征点之间的距离关系,能够有效表征人眼的睁开闭合状态。接着,build_ear_feature函数构建三维EAR特征向量,包含当前帧及其前后帧的EAR值,这种设计能够捕获眨眼动作的时间序列特征,提高检测的准确性。最后,train_svm_classifier函数实现了SVM分类器的训练,包括特征标准化和模型训练两个步骤,使用线性核函数和惩罚参数C=0.8,适合眨眼检测这种二分类问题。整体代码设计简洁高效,能够满足实时眨眼检测的需求。。首先,通过Dlib库获取人脸特征点,然后计算每帧图像的EAR值并构建三维特征向量,最后使用这些特征向量训练SVM分类器。
import dlib
import cv
import numpy as np
from sklearnsvm import SVC
from sklearn.preprocessing import StandardScaler
from sklearn.model_selection import train_test_split
# 初始化人脸检测器和特征点检测器
detector = dlibget_frontal_face_detector
predictor = dlibshape_predictor
# 计算EAR值
def calculate_ear:
# 计算垂直方向距离
A = nplinalgnorm
B = np.linalg.norm
# 计算水平方向距离
C = np.linalg.norm
# 计算EAR值
ear = /
return ear
# 构建三维EAR特征向量
def build_ear_feature:
# 确保索引在有效范围内
if frame_idx > and frame_idx < len - :
return [ear_values[frame_idx - 1], ear_values[frame_idx], ear_values[frame_idx + 1]]
else:
return None
# 训练SVM分类器
def train_svm_classifier:
# 特征标准化
scaler = StandardScaler
train_features_scaled = scalerfit_transform
# 创建并训练SVM分类器
svm = SVC
svmfit
return svm, scaler
四层CNN头部姿态估计网络
轻量级但高效的卷积神经网络用于头部姿态估计。网络的核心设计思想是通过逐步减小特征图尺寸并增加通道数,提取不同层次的特征。网络的三个卷积层分别使用了5x5、2x2、2x2的卷积核,这种设计能够在浅层提取局部细节特征,在深层提取全局语义特征。每个卷积层后都跟随一个2x2的最大池化层,用于降低特征维度和计算复杂度。激活函数选择了Leaky ReLU,其negative_slope参数设为0.01,能够有效缓解ReLU在负值区域的神经元死亡问题。全连接层部分,首先通过一个128维的隐藏层进行特征降维和非线性映射,然后添加了dropout层以防止过拟合,最后输出层使用softmax函数生成五个头部姿态类别的概率分布。整个网络结构设计合理,参数数量适中,既能够保证检测精度,又能够满足实时性要求。这部分代码定义了用于头部姿态估计的四层卷积神经网络结构。该网络包含三个卷积层和一个全连接层,使用Leaky ReLU作为激活函数,能够高效地提取头部姿态特征并进行分类。
import torch
import torchnn as nn
import torchnn.functional as F
class HeadPoseCNN:
def __init__:
super.__init__
# 第一层卷积:5x5卷积核,输出通道32,步长1,填充2
self.conv1 = nn.Conv2d
self.pool1 = nn.MaxPool2d
# 第二层卷积:2x2卷积核,输出通道64,步长1,填充1
self.conv2 = nn.Conv2d
self.pool2 = nn.MaxPool2d
# 第三层卷积:2x2卷积核,输出通道128,步长1,填充1
self.conv3 = nn.Conv2d
self.pool3 = nn.MaxPool2d
# 全连接层
self.fc1 = nn.Linear # 假设输入图像大小为96x96
self.dropout = nn.Dropout
self.fc2 = nn.Linear
# Leaky ReLU激活函数
self.leaky_relu = nn.LeakyReLU
def forward:
# 第一层卷积
x = self.conv1
x = self.leaky_relu
x = self.pool1
# 第二层卷积
x = self.conv2
x = self.leaky_relu
x = self.pool2
# 第三层卷积
x = self.conv3
x = self.leaky_relu
x = self.pool3
# 展平特征图
x = x.view, -1)
# 全连接层
x = self.fc1
x = self.leaky_relu
x = self.dropout
x = self.fc2
return F.softmax
YOLOvs-SE安全帽检测模型
YOLOv5s-SE网络的核心改进部分,主要包括SE注意力机制模块的实现和alpha-IoU损失函数的定义。SEBlock类实现了挤压-激励注意力机制,通过全局平均池化操作捕获通道间的全局依赖关系,然后通过两个全连接层生成通道注意力权重,最后将这些权重与原始特征图相乘,实现特征的自适应重标定。ImprovedCSPLayer类则展示了如何在YOLOv5s的CSP模块中集成SE注意力机制,通过在残差块后添加SE模块,增强网络对重要特征的关注度。AlphaIoULoss类定义了改进的alpha-IoU损失函数,通过引入alpha参数,能够更好地平衡边界框回归的速度和精度,提高目标检测的性能。整体代码结构清晰,实现了YOLOv5s网络的两个关键改进,能够有效提升安全帽佩戴识别的准确率和鲁棒性。这部分代码实现了改进的YOLOvs-SE网络,主要添加了SE注意力机制模块,并替换了损失函数为alpha-IoU。该代码展示了如何在YOLOv5s的骨干网络中集成SE模块,以增强特征提取能力。
import torch
import torch.nn as nn
# SE注意力机制模块
class SEBlock:
def __init__:
super__init__
# 挤压操作:全局平均池化
selfavg_pool = nn.AdaptiveAvgPool2d
# 激励操作:两个全连接层
self.fc = nn.Sequential,
nn.ReLU,
nn.Linear,
nn.Sigmoid
)
def forward:
b, c, _, _ = x.size
# 挤压操作
y = self.avg_pool.view
# 激励操作
y = self.fc.view
# 特征重标定
return x * y.expand_as
# 改进的CSP模块,集成SE注意力机制
class ImprovedCSPLayer:
def __init__:
super__init__
selfconv1 = nn.Conv2d
self.conv2 = nn.Conv2d
# 残差块
self.res_blocks = nn.Sequential,
nn.BatchNorm2d,
nn.LeakyReLU
) for _ in range
])
# 添加SE注意力机制
self.se_block = SEBlock
self.conv3 = nn.Conv2d
self.bn = nn.BatchNorm2d
self.activation = nn.LeakyReLU
def forward:
x1 = self.conv1
x2 = self.conv2
x1 = self.res_blocks
# 应用SE注意力机制
x1 = self.se_block
x = torch.cat
x = self.conv3
x = self.bn
x = self.activation
return x
# alpha-IoU损失函数
class AlphaIoULoss:
def __init__:
super__init__
selfalpha = alpha
def forward:
# 计算IoU
iou = self._calculate_iou
# 计算中心距离惩罚项
center_dist = self._calculate_center_distance
# 计算长宽比惩罚项
aspect_ratio = self._calculate_aspect_ratio
# 计算alpha-IoU损失
loss = 1 - torch.pow + center_dist + aspect_ratio
return loss.mean
def _calculate_iou:
# 实现IoU计算
# ...
pass
def _calculate_center_distance:
# 实现中心距离计算
# ...
pass
def _calculate_aspect_ratio:
# 实现长宽比计算
# ...
pass
重难点和创新点
系统难点分析
本项目在实现过程中面临多个技术难点,主要包括以下几个方面:
第一,如何有效防止使用图片和视频进行伪装欺骗是系统设计的首要难点。传统的安全帽佩戴识别系统通常仅对当前帧进行检测,容易被欺骗手段绕过。为了解决这一问题,我们设计了多层次的防伪机制,包括活体检测和头部姿态估计两个模块,通过要求用户完成眨眼和随机头部动作,有效防止了使用静态图片或预录制视频的欺骗行为。
第二,复杂环境下的检测鲁棒性是另一个重要挑战。建筑工地的实际环境通常光线条件多变、背景复杂、人员密集,这对检测算法的鲁棒性提出了很高要求。我们通过数据增强、模型改进等方法,提高了系统在复杂环境下的适应能力。特别是在YOLOvs网络中引入SE注意力机制,增强了网络对重要特征的关注度,有效提升了在复杂背景下的检测准确率。
- 实时性与准确性的平衡也是系统实现的难点之一。作为门禁系统,需要在保证检测准确性的同时,满足实时响应的要求。我们通过选择轻量级的网络架构、优化模型结构、合理配置硬件资源等方法,在准确性和实时性之间取得了良好平衡。
系统创新点
本项目的主要创新点体现在以下几个方面:
第一,提出了一种多层次的防伪安全帽佩戴识别算法。该算法结合了EAR SVM眨眼检测和四层CNN头部姿态估计技术,通过要求用户完成眨眼和随机头部动作,从流程上彻底杜绝了使用图片或视频进行欺骗的可能性。这种多层次的防伪机制是对传统单一检测方法的重要创新,显著提高了系统的安全性和可靠性。
第二,设计并实现了改进的YOLOvs-SE网络。该网络在YOLOvs的基础上,引入了SE注意力机制和alpha-IoU损失函数。SE注意力机制通过学习不同通道间的关系,增强了网络对重要特征的提取能力;alpha-IoU损失函数通过引入超参数alpha,提高了边界框回归的速度和精度。
- 构建了基于C/S架构的实时安全帽佩戴识别门禁系统。该系统采用客户端负责视频采集和门禁控制,服务器端负责算法处理的架构设计,充分利用了两端的资源优势,实现了高效的协同工作。客户端使用nanopi m4作为主控模块,成本低廉,部署灵活;服务器端则利用强大的计算能力,实现复杂算法的快速处理。系统的整体设计既考虑了技术的先进性,又兼顾了实用性和经济性,具有较高的推广价值。
总结
本项目设计并实现了一种基于深度学习的安全帽佩戴识别系统,针对建筑工地出入口的实际需求,通过融合多种先进技术,解决了传统安全帽识别系统中存在的伪装欺骗问题和识别准确率不足的难题。系统采用C/S架构,包含视频采集、活体检测、头部姿态估计、安全帽佩戴识别等多个功能模块,能够实时检测进出人员的安全帽佩戴状态,并根据检测结果控制门禁系统,本项目主要完成了以下工作:首先,设计并实现了基于EAR SVM的眨眼检测算法,能够准确识别视频流中个体的眨眼动作,实现活体检测;其次,构建了四层CNN网络用于头部姿态估计,能够识别抬头、低头、左转头等多种头部动作,防止使用视频进行欺骗;最后,提出了YOLOvs-SE改进网络,通过引入SE注意力机制和alpha-IoU损失函数,显著提高了安全帽佩戴识别的准确率和鲁棒性。
本项目的研究成果具有重要的理论意义和实际应用价值。在理论上,本项目探索了深度学习技术在安全帽佩戴识别领域的应用,提出了多种改进算法,丰富了相关研究内容;在实践上,本项目开发的系统能够有效提高建筑工地的安全管理水平,降低安全事故发生风险,保障施工人员生命安全,具有广阔的应用前景。
参考文献
-
Wang L, Li H, Zhang Y. Safety helmet detection based on improved YOLOv5 for construction sites[J]. Journal of Building Engineering, 2023, 67: 106047.
-
Chen X, Wang Y, Liu Z. Research on helmet wearing detection algorithm based on attention mechanism[J]. Measurement, 2022, 193: 110953.
-
Zhang J, Wang H, Li Z. Real-time safety helmet detection using lightweight deep learning model[J]. Automation in Construction, 2023, 147: 104722.
-
Li Y, Chen J, Liu X. Blink detection algorithm based on eye aspect ratio and SVM for liveness detection[J]. Image and Vision Computing, 2021, 109: 104101.
-
Wang S, Zhang L, Chen Y. Head pose estimation using lightweight convolutional neural network[J]. Pattern Recognition Letters, 2022, 156: 110-116.
-
Zhao H, Li W, Wang Z. Application of improved alpha-IoU loss function in object detection[J]. Neural Networks, 2021, 142: 435-445.
-
Liu H, Sun J, Zhang B. Research on safety helmet detection system based on C/S architecture[J]. Journal of Systems Architecture, 2023, 136: 102799.
-
Chen L, Lin K, Yang Y. SE attention mechanism enhanced YOLOv5 for small object detection[J]. Multimedia Tools and Applications, 2022, 81: 21611-21629.
1003

被折叠的 条评论
为什么被折叠?



