第五章 系统实现
一、技术路线:
开发语言:Java
前端技术:JavaScript、VUE.js(2.X)、css3
数据库:MySQL 5.7
数据库管理工具:Navicat或sqlyog
开发工具:IDEA或Ecplise
二、项目介绍:
https://www.bilibili.com/video/BV1XM411R7Bm/
三、运行截图:
3.1管理员功能模块
管理员通过后台登录页面,可以进行填写用户名和密码,等信息,输入无误后进行登录操作,如图3-1所示

图3-1管理员登录页面
管理员登录成功后进入到系统操作界面,可以对个人中心、住户管理、社区公告管理、维修工管理、维修订单管理、接单信息管理、订单信息管理、在线沟通管理、举报信息管理、留言板管理、系统管理等功能模块进行相对应操作。
管理员通过个人中心可以获取修改密码和个人信息两个子模块,通过个人信息列表可以进行查看管理员的个人信息并进行查看修改操作,如图3-2所示。

图3-2个人信息页面
住户管理:管理员通过列表查看用户名、密码、住户姓名、性别、头像、手机号等信息,管理员可以进行修改或查看删除操作,也可以通过点击输入用户名可以进行搜索公告,如图3-3所示。

图3-3住户管理页面
社区公告管理:管理员通过列表可以获取公告标题、图片、公告内容、发布时间等信息,进行插件社区公告详情信息、修改或删除操作,管理员通过输入公告标题进行查询或添加公告操作,如图3-4所示。

图3-4社区公关管理页面
维修工管理:管理员通过点击维修工页面可以进行查看账户、密码、姓名、性别、等级、头像、身份证、电话、简介等信息,进行查看详情或修改或删除操作,并通过账号进行查询操作,如图3-5所示。

图3-5维修工页面
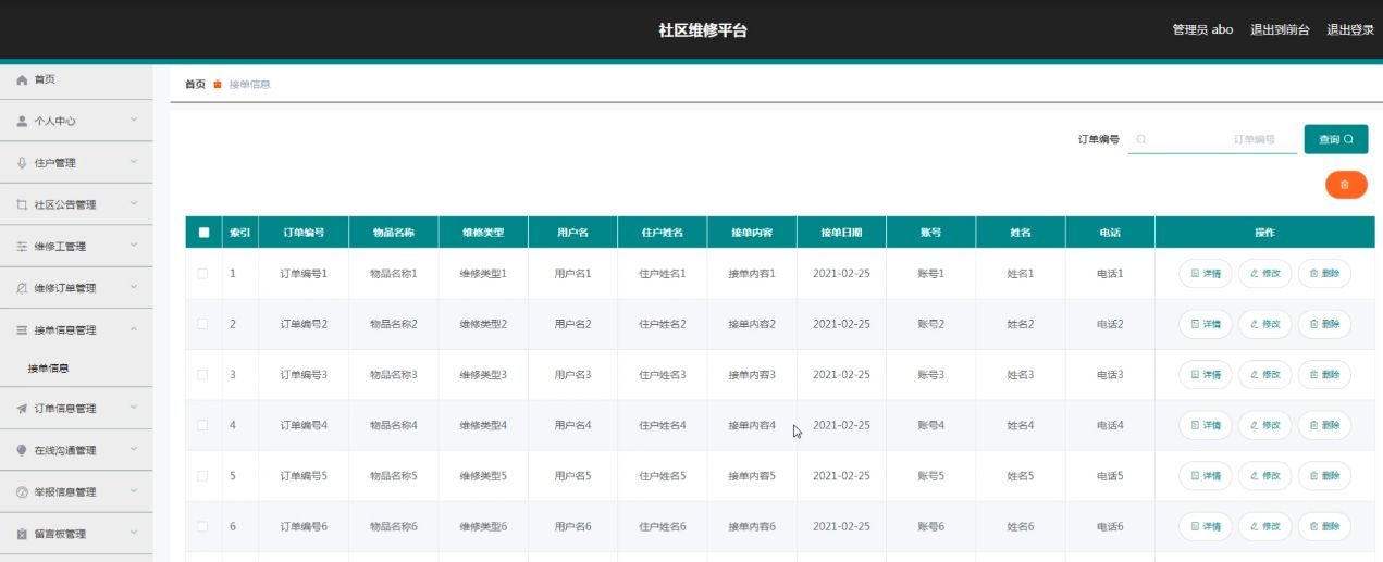
接单信息管理:住户通过接单信息列表可以进行查看订单编号、物品名称、维修类型、用户名、住户姓名、接单内容、接单日期、账号、姓名、电话等信息,进行查看详情、修改或删除操作,通过输入订单编号进行查询操作,如图3-6所示。

图3-6接单信息管理
订单信息管理:管理员通过接单信息列表可以进行查看订单编号、物品名称、维修类型、用户名、住户姓名、维修费用、账号、姓名、是否支付等信息,进行查看详情、修改或删除操作,并通过输入订单编号、物品名称、住户姓名进行查询操作,如图3-7所示。

图3-7订单信息管理页面
在线沟通管理:通过在线沟通列表可以进行查看标题、用户名、住户姓名、聊天内容、聊天回复、账号、姓名等信息,进行查看详情或修改、删除操作,通过输入标题、住户姓名进行查询操作,如图3-8所示。

图3-8在线沟通管理界面图
举报信息管理:通过列表可以获取标题、账号、姓名、举报内容、举报日期、用户名、住户姓名、审核回复、审核状态、审核等信息,进行查看详情或修改删除操作,并且通过输入标题、姓名进行搜索操作,如图3-9所示。

图3-9举报信息管理页面
3.2住户前台功能模块
维修员通过后台登录页面,可以进行填写用户名和密码,等信息,输入无误后进行登录操作,如图3-10所示

图3-10维修员登录页面
个人中心:维修员通过个人中心页面可以进行输入账号、密码、姓名、性别、密码、等级、上传图片、身份证、电话等信息,进行更新信息或退出操作。如图3-11所示。

图3-12个人中心页面
留言反馈:通过页面可以进行在线留言,输入留言内容进行立即提交操作。如图3-13所示。

图3-13留言反馈界面图
维修工:通过点击维修工可以进行查看维修工的账号、性别、头像、等级、身份证、电话、简介等信息,进行查看或举报操作,如图3-14所示。通过点击举报进入举报页面可以进行输入标题、账号、姓名、举报内容、举报日期、用户名、住户姓名等信息,进行举报提交操作,如图3-15所示。

图3-14维修工详情界面图

图3-15维修工举报界面图
新闻资讯:通过点击新闻资讯可以进行查看新闻内容、发布时间、新闻标题等信息,进行查看,如图3-16所示。

图3-16新闻资讯页面
维修订单:通过点击维修订单可以进行查看维修订单的物品名称、维修类型、发布日期、用户名、住户姓名、手机号、地址等信息,进行查看、接单,在线交流,如图3-17所示。维修员通过点击接单进入接单页面可以进行查看物品名称、维修类型、用户名、住户姓名、接单内容、接单日期、账号、姓名、电话等信息,进行提交或重置操作,如图3-18所示。维修员通过点击交流可以进行页面进行在线查看标题、用户名、住户姓名、进行输入聊天内容、日期等信息,进行在线交流操作,如图3-19所示。

图3-17维修订单界面图

图3-18接单界面图

图3-19交流界面图
3.3住户后台功能模块
用户通过用户登录页面可以填写用户名和密码,等信息进行登录操作,用户登录成功后,进入用户后台系统页面可以查看个人中心、维修订单管理、接单信息管理、订单信息管理、在线沟通管理、举报信息管理模块等功能模块,进行相对应操作。如图3-20所示。

图3-20用户系统界面图
用户通过点击个人中心可以进行查看修改密码、个人信息两个子模块,个人信息:通过页面可以进行输入用户名、住户姓名、性别、头像、手机号等信息,进行修改操作。如图3-21所示。

图3-21个人信息页面
维修订单管理:用户通过列表可以进行查看名称、物品名称、维修类型、图片、发布日期、用户名、住户姓名、手机、地址等信息,进行查看、添加或删除操作。如图3-22所示。住户通过点击添加进入页面可以进行填写名称、维修类型、物品名称、图片、发布日期、用户名、住户姓名、地址、手机、维修内容等信息,进行提交维修订单操作,如图3-23所示。

图3-22维修订单界面图

图3-23添加维修订单界面图
接单信息管理:住户通过接单信息列表可以进行查看订单编号、物品名称、维修类型、用户名、住户姓名、接单内容、接单日期、账号、姓名、电话等信息,进行查看详情或通过输入订单编号进行查询操作,如图3-24所示。

图3-24接单信息管理界面图
订单信息管理:住户通过接单信息列表可以进行查看订单编号、物品名称、维修类型、用户名、住户姓名、维修费用、账号、姓名、是否支付等信息,进行查看详情或通过输入订单编号、物品名称、住户姓名进行查询操作,如图3-25所示。

图3-26订单信息管理界面图
在线沟通管理:通过在线沟通列表可以进行查看标题、用户名、住户姓名、聊天内容、聊天回复、账号、姓名等信息,进行查看详情或修改、删除操作,通过输入标题、住户姓名进行查询操作,如图3-27所示。

图3-27在线沟通界面图
举报信息管理:通过举报信息列表可以进行查看标题、账号、姓名、举报内容、举报日期、住户姓名、审核回复、审核状态等信息,进行查看详情或修改、删除操作,通过输入标题、姓名进行查询操作,如图3-28所示。

图3-28在线沟通界面图
3.4维修员前台功能模块
维修员通过后台登录页面,可以进行填写用户名和密码,等信息,输入无误后进行登录操作,如图3-29所示

图3-30维修员登录页面
维修工通过登录进入到网站页面可以进行查看首页的社区公告、维修工、维修订单、新闻资讯、留言反馈、个人中心、后台管理等信息,进行查看社区维修的相对应操作。如图3-31所示。

图3-31维修员系统页面
个人中心:维修员通过个人中心页面可以进行输入账号、密码、姓名、性别、密码、等级、上传图片、身份证、电话等信息,进行更新信息或退出操作。如图3-32所示。

图3-32个人中心页面
新闻资讯:通过点击新闻资讯可以进行查看新闻内容、发布时间、新闻标题等信息,进行查看,如图3-33所示。

图3-34新闻资讯页面
维修订单:通过点击维修订单可以进行查看维修订单的物品名称、维修类型、发布日期、用户名、住户姓名、手机号、地址等信息,进行查看、接单,在线交流,如图3-35所示。维修员通过点击接单进入接单页面可以进行查看物品名称、维修类型、用户名、住户姓名、接单内容、接单日期、账号、姓名、电话等信息,进行提交或重置操作,如图3-36所示。维修员通过点击交流可以进行页面进行在线查看标题、用户名、住户姓名、进行输入聊天内容、日期等信息,进行在线交流操作,如图3-37所示。

图3-35维修订单界面图

图3-36接单界面图

图3-37交流界面图
3.5维修员后台功能模块
维修工通过登录页面可以填写用户名和密码,等信息进行登录操作,维修工登录成功后,进入用户后台系统页面可以查看个人中心、接单信息管理、订单信息管理、在线沟通管理模块等功能模块,进行相对应操作。接单信息:通过列表可以进行查看订单编号、物品名称、维修类型、用户名、住户姓名、接单内容、接单日期、账号、姓名、电话等信息,进行查看详情或维修订单、删除操作,如图3-38所示。通过点击维修订单可以进行输入订单编号、物品名称、维修类型、用户名、住户姓名、维修费用、账号、姓名等信息,进行提交操作,如图3-39所示。

图3-38接单信息管理界面图

图3-39维修订单界面图
订单信息管理:通过订单信息列表可以进行查看订单编号、物品名称、维修类型、用户名、住户姓名、维修费用、账号、姓名、是否支付等信息,进行查看详情或删除操作,通过输入订单编号、物品名称、住户姓名进行查询操作,如图3-140所示。

图3-40订单信息管理界面图
在线沟通管理:通过在线沟通列表可以进行查看订标题、用户名、住户姓名、聊天内容、聊天回复、账号、姓名等信息,进行查看详情或删除操作,通过输入标题、住户姓名进行查询操作,如图3-41所示。

图3-41在线沟通界面图
本文详细描述了一个使用Java开发的系统,包括管理员和住户的前后台功能模块,涉及技术路线、登录验证、信息管理(如住户、公告、维修工、订单等)以及在线沟通功能。
4181

被折叠的 条评论
为什么被折叠?



