简介
Spring Boot有四大神器,分别是auto-configuration、starters、cli、actuator,本文主要讲actuator。actuator是spring boot提供的对应用系统的自省和监控的集成功能,可以对应用系统进行配置查看、相关功能统计等。
添加maven依赖:
<dependency>
<groupId>org.springframework.boot</groupId>
<artifactId>spring-boot-starter-actuator</artifactId>
</dependency>
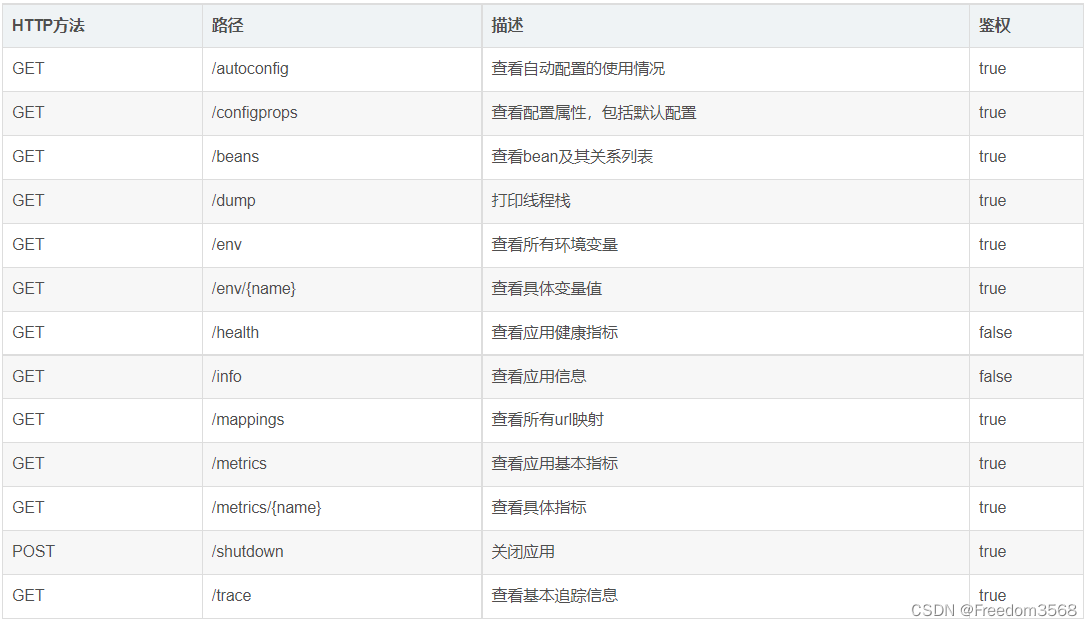
核心能力:

核心能力
/autoconfig
{
"positiveMatches": {
"AuditAutoConfiguration.AuditEventRepositoryConfiguration": [
{
"condition": "OnBeanCondition", "message": "@ConditionalOnMissingBean (types: org.springframework.boot.actuate.audit.AuditEventRepository; SearchStrategy: all) found no beans" } ] }, "negativeMatches": { "CacheStatisticsAutoConfiguration": [ { "condition": "OnBeanCondition", "message": "@ConditionalOnBean (types: org.springframework.cache.CacheManager; SearchStrategy: all) found no beans" } ] } }
/configprops
{
"management.health.status.CONFIGURATION_PROPERTIES": {
"prefix": "management.health.status", "properties": { "order": null } }, "multipart.CONFIGURATION_PROPERTIES": { "prefix": "multipart", "properties": { "enabled": false, "maxRequestSize": "10Mb", "location": null, "fileSizeThreshold": "0", "maxFileSize": "1Mb" } }, "environmentEndpoint": { "prefix": "endpoints.env", "properties": { "id": "env", "enabled": true, "sensitive": true } } }
/beans
[
{
"context": "application:8080",
"parent": null, "beans": [ { "bean": "appMain", "scope": "singleton", "type": "com.xixicat.AppMain$$EnhancerBySpringCGLIB$$29382b14", "resource": "null", "dependencies": [ ] }, { "bean": "videoInfoMapper", "scope": "singleton", "type": "com.xixicat.dao.VideoInfoMapper", "resource": "file [/Users/xixicat/workspace/video-uber/target/classes/com/xixicat/dao/VideoInfoMapper.class]", "dependencies": [ "sqlSessionFactory" ] } ] } ]
/dump
[
{
"threadName": "Signal Dispatcher",
"threadId": 4, "blockedTime": -1, "blockedCount": 0, "waitedTime": -1, "waitedCount": 0, "lockName": null, "lockOwnerId": -1, "lockOwnerName": null, "inNative": false, "suspended": false, "threadState": "RUNNABLE", "stackTrace": [ ], "lockedMonitors": [ ], "lockedSynchronizers": [ ], "lockInfo": null }, { "threadName": "Reference Handler", "threadId": 2, "blockedTime": -1, "blockedCount": 217, "waitedTime": -1, "waitedCount": 9, "lockName": "java.lang.ref.Reference$Lock@45de945", "lockOwnerId": -1, "lockOwnerName": null, "inNative": false, "suspended": false, "threadState": "WAITING", "stackTrace": [ { "methodName": "wait", "fileName": "Object.java", "lineNumber": -2, "className": "java.lang.Object", "nativeMethod": true }, { "methodName": "wait", "fileName": "Object.java", "lineNumber": 503, "className": "java.lang.Object", "nativeMethod": false }, { "methodName": "run", "fileName": "Reference.java", "lineNumber": 133, "className": "java.lang.ref.Reference$ReferenceHandler", "nativeMethod": false } ], "lockedMonitors": [ ], "lockedSynchronizers": [ ], "lockInfo": { "className": "java.lang.ref.Reference$Lock", "identityHashCode": 73263429 } } ]
/env
{
profiles: [],
server.ports: {
local.server.port: 8080
},
servletContextInitParams: {},
systemProperties: {
java.runtime.name: "Java(TM) SE Runtime Environment",
sun.boot.library.path: "/Library/Java/JavaVirtualMachines/jdk1.7.0_79.jdk/Contents/Home/jre/lib",
java.vm.version: "24.79-b02",
gopherProxySet: "false",
maven.multiModuleProjectDirectory: "/Users/xixicat/workspace/video-uber",
java.vm.vendor: "Oracle Corporation",
java.vendor.url: "http://java.oracle.com/",
guice.disable.misplaced.annotation.check: "true",
path.separator: ":",
java.vm.name: "Java HotSpot(TM) 64-Bit Server VM", file.encoding.pkg: "sun.io", user.country: "CN", sun.java.launcher: "SUN_STANDARD", sun.os.patch.level: "unknown", PID: "763", java.vm.specification.name: "Java Virtual Machine Specification", user.dir: "/Users/xixicat/workspace/video-uber", java.runtime.version: "1.7.0_79-b15", java.awt.graphicsenv: "sun.awt.CGraphicsEnvironment", java.endorsed.dirs: "/Library/Java/JavaVirtualMachines/jdk1.7.0_79.jdk/Contents/Home/jre/lib/endorsed", os.arch: "x86_64", java.io.tmpdir: "/var/folders/tl/xkf4nr61033gd6lk5d3llz080000gn/T/", line.separator: " ", java.vm.specification.vendor: "Oracle Corporation", os.name: "Mac OS X", classworlds.conf: "/Users/xixicat/devtool/maven-3.3.3/bin/m2.conf", sun.jnu.encoding: "UTF-8", spring.beaninfo.ignore: "true", java.library.path: "/Users/xixicat/Library/Java/Extensions:/Library/Java/Extensions:/Network/Library/Java/Extensions:/System/Library/Java/Extensions:/usr/lib/java:.", java.specification.name: "Java Platform API Specification", java.class.version: "51.0", sun.management.compiler: "HotSpot 64-Bit Tiered Compilers", os.version: "10.10.5", user.home: "/Users/xixicat", user.timezone: "Asia/Shanghai", java.awt.printerjob: "sun.lwawt.macosx.CPrinterJob", file.encoding: "UTF-8", java.specification.version: "1.7", java.class.path: "/Users/xixicat/devtool/maven-3.3.3/boot/plexus-classworlds-2.5.2.jar", user.name: "xixicat", java.vm.specification.version: "1.7", sun.java.command: "org.codehaus.plexus.classworlds.launcher.Launcher spring-boot:run", java.home: "/Library/Java/JavaVirtualMachines/jdk1.7.0_79.jdk/Contents/Home/jre", sun.arch.data.model: "64", user.language: "zh", java.specification.vendor: "Oracle Corporation", awt.toolkit: "sun.lwawt.macosx.LWCToolkit", java.vm.info: "mixed mode", java.version: "1.7.0_79", java.ext.dirs: "/Users/xixicat/Library/Java/Extensions:/Library/Java/JavaVirtualMachines/jdk1.7.0_79.jdk/Contents/Home/jre/lib/ext:/Library/Java/Extensions:/Network/Library/Java/Extensions:/System/Library/Java/Extensions:/usr/lib/java", sun.boot.class.path: "/Library/Java/JavaVirtualMachines/jdk1.7.0_79.jdk/Contents/Home/jre/lib/resources.jar:/Library/Java/JavaVirtualMachines/jdk1.7.0_79.jdk/Contents/Home/jre/lib/rt.jar:/Library/Java/JavaVirtualMachines/jdk1.7.0_79.jdk/Contents/Home/jre/lib/sunrsasign.jar:/Library/Java/JavaVirtualMachines/jdk1.7.0_79.jdk/Contents/Home/jre/lib/jsse.jar:/Library/Java/JavaVirtualMachines/jdk1.7.0_79.jdk/Contents/Home/jre/lib/jce.jar:/Library/Java/JavaVirtualMachines/jdk1.7.0_79.jdk/Contents/Home/jre/lib/charsets.jar:/Library/Java/JavaVirtualMachines/jdk1.7.0_79.jdk/Contents/Home/jre/lib/jfr.jar:/Library/Java/JavaVirtualMachines/jdk1.7.0_79.jdk/Contents/Home/jre/classes", java.awt.headless: "true", java.vendor: "Oracle Corporation", maven.home: "/Users/xixicat/devtool/maven-3.3.3", file.separator: "/", LOG_EXCEPTION_CONVERSION_WORD: "%wEx", java.vendor.url.bug: "http://bugreport.sun.com/bugreport/", sun.io.unicode.encoding: "UnicodeBig", sun.cpu.endian: "little", sun.cpu.isalist: "" }, systemEnvironment: { TERM: "xterm-256color", ZSH: "/Users/xixicat/.oh-my-zsh", GVM_BROKER_SERVICE: "http://release.gvm.io", GRIFFON_HOME: "/Users/xixicat/.gvm/griffon/current", JAVA_MAIN_CLASS_763: "org.codehaus.plexus.classworlds.launcher.Launcher", JAVA_HOME: "/Library/Java/JavaVirtualMachines/jdk1.7.0_79.jdk/Contents/Home", SHLVL: "1", MAVEN_CMD_LINE_ARGS: " spring-boot:run", __CF_USER_TEXT_ENCODING: "0x1F5:0x19:0x34", GROOVY_HOME: "/Users/xixicat/.gvm/groovy/current", XPC_FLAGS: "0x0", GVM_INIT: "true", JBAKE_HOME: "/Users/xixicat/.gvm/jbake/current", PWD: "/Users/xixicat/workspace/video-uber", GVM_DIR: "/Users/xixicat/.gvm", GVM_VERSION: "2.4.3", MAVEN_PROJECTBASEDIR: "/Users/xixicat/workspace/video-uber", LOGNAME: "xixicat", SSH_AUTH_SOCK: "/private/tmp/com.apple.launchd.93xr1duECQ/Listeners", SPRINGBOOT_HOME: "/Users/xixicat/.gvm/springboot/current", GAIDEN_HOME: "/Users/xixicat/.gvm/gaiden/current", LAZYBONES_HOME: "/Users/xixicat/.gvm/lazybones/current", OLDPWD: "/Users/xixicat/workspace/video-uber", SHELL: "/bin/zsh", JBOSSFORGE_HOME: "/Users/xixicat/.gvm/jbossforge/current", LC_CTYPE: "zh_CN.UTF-8", TMPDIR: "/var/folders/tl/xkf4nr61033gd6lk5d3llz080000gn/T/", GVM_SERVICE: "http://api.gvmtool.net", GVM_PLATFORM: "Darwin", CLASSPATH: ".:/Users/xixicat/.m2/repository/co/paralleluniverse/quasar-core/0.7.2/quasar-core-0.7.2.jar", GLIDE_HOME: "/Users/xixicat/.gvm/glide/current", PATH: "/Users/xixicat/.gvm/vertx/current/bin:/Users/xixicat/.gvm/springboot/current/bin:/Users/xixicat/.gvm/lazybones/current/bin:/Users/xixicat/.gvm/jbossforge/current/bin:/Users/xixicat/.gvm/jbake/current/bin:/Users/xixicat/.gvm/groovyserv/current/bin:/Users/xixicat/.gvm/groovy/current/bin:/Users/xixicat/.gvm/griffon/current/bin:/Users/xixicat/.gvm/grails/current/bin:/Users/xixicat/.gvm/gradle/current/bin:/Users/xixicat/.gvm/glide/current/bin:/Users/xixicat/.gvm/gaiden/current/bin:/Users/xixicat/.gvm/crash/current/bin:/Users/xixicat/.gvm/asciidoctorj/current/bin:/Users/xixicat/bin:/usr/local/bin:/usr/local/bin:/usr/bin:/bin:/usr/sbin:/sbin:/usr/local/git/bin:/Users/xixicat/devtool/maven-3.3.3/bin:/Users/xixicat/devtool/gradle-2.6/bin:/Users/xixicat/devtool/android-sdk/platform-tools", GRADLE_HOME: "/Users/xixicat/.gvm/gradle/current", GROOVYSERV_HOME: "/Users/xixicat/.gvm/groovyserv/current", GRAILS_HOME: "/Users/xixicat/.gvm/grails/current", USER: "xixicat", LESS: "-R", PAGER: "less", HOME: "/Users/xixicat", CRASH_HOME: "/Users/xixicat/.gvm/crash/current", XPC_SERVICE_NAME: "0", VERTX_HOME: "/Users/xixicat/.gvm/vertx/current", GVM_BROADCAST_SERVICE: "http://cast.gvm.io", Apple_PubSub_Socket_Render: "/private/tmp/com.apple.launchd.y6fNwP8Sk6/Render", LSCOLORS: "Gxfxcxdxbxegedabagacad", ASCIIDOCTORJ_HOME: "/Users/xixicat/.gvm/asciidoctorj/current" }, applicationConfig: [classpath: /application.properties]: { pool.acquireIncrement: "1", pool.minPoolSize: "5", pool.initialPoolSize: "1", database.username: "root", pool.maxIdleTime: "60", database.url: "jdbc:mysql://127.0.0.1:3307/video_uber?autoReconnect=true&useUnicode=true&characterEncoding=UTF-8&zeroDateTimeBehavior=convertToNull", spring.jackson.dateFormat: "yyyy-MM-dd'T'HH:mm:ss", database.slave.username: "root", spring.jackson.serialization.write - dates - as - timestamps: "false", pool.idleTimeout: "30000", database.slave.url: "jdbc:mysql://127.0.0.1:3307/demo?autoReconnect=true&useUnicode=true&characterEncoding=UTF-8&zeroDateTimeBehavior=convertToNull", server.port: "8080", database.slave.password: "******", database.password: "******", database.driverClassName: "com.mysql.jdbc.Driver", pool.maxPoolSize: "50", database.dataSourceClassName: "com.mysql.jdbc.jdbc2.optional.MysqlDataSource" } }
/health
{
status: "UP",
diskSpace: {
status: "UP",
total: 249779191808,
free: 193741590528,
threshold: 10485760
},
db: {
status: "UP",
database: "MySQL",
hello: 1
}
}
/info
需要自己在application.properties里头添加信息,比如
info:
contact:
email: xixicat@gmail.com
phone: 0755-82890987
然后请求就可以出来了
{
"contact": {
"phone": "0755-82890987", "email": "xixicat@gmail.com" } }
/mappings
{
{
[/metrics || /metrics.json], methods = [GET], produces = [application / json]
}: {
bean: "endpointHandlerMapping",
method: "public java.lang.Object org.springframework.boot.actuate.endpoint.mvc.EndpointMvcAdapter.invoke()" }, { [/beans || /beans.json], methods = [GET], produces = [application / json] }: { bean: "endpointHandlerMapping", method: "public java.lang.Object org.springframework.boot.actuate.endpoint.mvc.EndpointMvcAdapter.invoke()" }, { [/health || /health.json], produces = [application / json] }: { bean: "endpointHandlerMapping", method: "public java.lang.Object org.springframework.boot.actuate.endpoint.mvc.HealthMvcEndpoint.invoke(java.security.Principal)" }, { [/info || /info.json], methods = [GET], produces = [application / json] }: { bean: "endpointHandlerMapping", method: "public java.lang.Object org.springframework.boot.actuate.endpoint.mvc.EndpointMvcAdapter.invoke()" }, { [/trace || /trace.json], methods = [GET], produces = [application / json] }: { bean: "endpointHandlerMapping", method: "public java.lang.Object org.springframework.boot.actuate.endpoint.mvc.EndpointMvcAdapter.invoke()" }, { [/autoconfig || /autoconfig.json], methods = [GET], produces = [application / json] }: { bean: "endpointHandlerMapping", method: "public java.lang.Object org.springframework.boot.actuate.endpoint.mvc.EndpointMvcAdapter.invoke()" } }
/metrics
{
mem: 499404,
mem.free: 257591,
processors: 8,
instance.uptime: 4284997,
uptime: 4294909,
systemload.average: 1.84521484375,
heap.committed: 437248,
heap.init: 262144,
heap.used: 179656,
heap: 3728384,
nonheap.committed: 62848,
nonheap.init: 24000,
nonheap.used: 62156,
nonheap: 133120,
threads.peak: 18,
threads.daemon: 6,
threads.totalStarted: 176,
threads: 16,
classes: 10294,
classes.loaded: 10294,
classes.unloaded: 0,
gc.ps_scavenge.count: 11,
gc.ps_scavenge.time: 405,
gc.ps_marksweep.count: 0,
gc.ps_marksweep.time: 0,
datasource.primary.active: 0,
datasource.primary.usage: 0,
counter.status.200.autoconfig: 1,
counter.status.200.beans: 1,
counter.status.200.configprops: 1,
counter.status.200.dump: 1,
counter.status.200.env: 1,
counter.status.200.health: 1,
counter.status.200.info: 1,
counter.status.200.mappings: 1,
gauge.response.autoconfig: 81,
gauge.response.beans: 15,
gauge.response.configprops: 105,
gauge.response.dump: 76,
gauge.response.env: 4,
gauge.response.health: 43,
gauge.response.info: 1,
gauge.response.mappings: 4
}
/shutdown
要真正生效,得配置文件开启
endpoints.shutdown.enabled: true
/trace
记录最近100个请求的信息
[{
"timestamp": 1452955704922,
"info": { "method": "GET", "path": "/metrics", "headers": { "request": { "Accept - Encoding": "gzip, deflate, sdch", "Upgrade - Insecure - Requests": "1", "Accept - Language": "zh-CN,zh;q=0.8,en;q=0.6", "User - Agent": "Mozilla/5.0 (Macintosh; Intel Mac OS X 10_10_5) AppleWebKit/537.36 (KHTML, like Gecko) Chrome/47.0.2526.111 Safari/537.36", "Accept": "text/html,application/xhtml+xml,application/xml;q=0.9,image/webp,*/*;q=0.8", "Connection": "keep-alive", "Host": "localhost:8080" }, "response": { "Content - Type": "application/json; charset=UTF-8", "X - Application - Context": "application:8080", "Date": "Sat, 16 Jan 2016 14:48:24 GMT", "status": "200" } } } }, { "timestamp": 1452951489549, "info": { "method": "GET", "path": "/autoconfig",
2068

被折叠的 条评论
为什么被折叠?



