一、chfs简介(摘自开发者网站)
CuteHttpFileServer/chfs是一个免费的、HTTP协议的文件共享服务器,使用浏览器可以快速访问。它具有以下特点:
- 单个文件,核心功能无需其他文件
- 跨平台运行,支持主流平台:Windows,Linux和Mac
- 界面简洁,简单易用
- 支持扫码下载和手机端访问,手机与电脑之间共享文件非常方便
- 支持账户权限控制和地址过滤
- 支持快速分享文字片段
- 支持webdav协议
- 与其他常用文件共享方式(如FTP,飞秋,网盘,自己建站)相比,具有使用简单,适用场景更多的优点,在个人使用以及共享给他人的场景中非常方便快捷。
二、chfs下载及说明
chfs下载,版本根据自己的系统情况进行选择,我这里下载的是chfs-windows-x64-2.0.zip,就本地共享来说,这个版 本比较普遍。

三、chfs本地搭建
-
下载解压后,得到chfs.exe文件;
-
在要准备共享文件的电脑上新建一个目录,譬如说D:\chfs,将chfs.exe文件拷贝到D:/chfs,此时如果双击直接运行,会显示如下程序就行窗口:

这是开发者设定的基础运行参数,下面做一下简单的解释:
| 名称 | 参数 | 解释 |
|---|---|---|
| Listening port | 80 | 默认监听端口(可更改,非80端口访问时须在访问网址后加端口号,例如“:8080”) |
| Shared directory | D:\chfs | 共享目录(默认为chfs.exe文件所在目录) |
| Allowed addressses | Accept any addresses | 允许任意ip(可以理解为局域网内的任意一台电脑)进行访问 |
| Access rules | GUEST "/": RWD | 允许匿名访问设定根目录,这里指D:\chfs,访问权限为最高权限,“R”代表可读(这里理解为可下载),“W”代表可写(这里理解为可上传文件、可新建目录、可更改文件名等),“D”代表可删(这里理解为可删除共享的文件) |
| Log directory | D:\chfs | 日志文件存放目录,可更改,但建议默认即可 |
| Your websites | http://192.168.124.10 | 访问网址,即当前电脑的局域网IP地址 |
| Webdav addresses | http://192.168.124.10/webdav | webdav功能访问网址 (这个暂时不用管) |
-
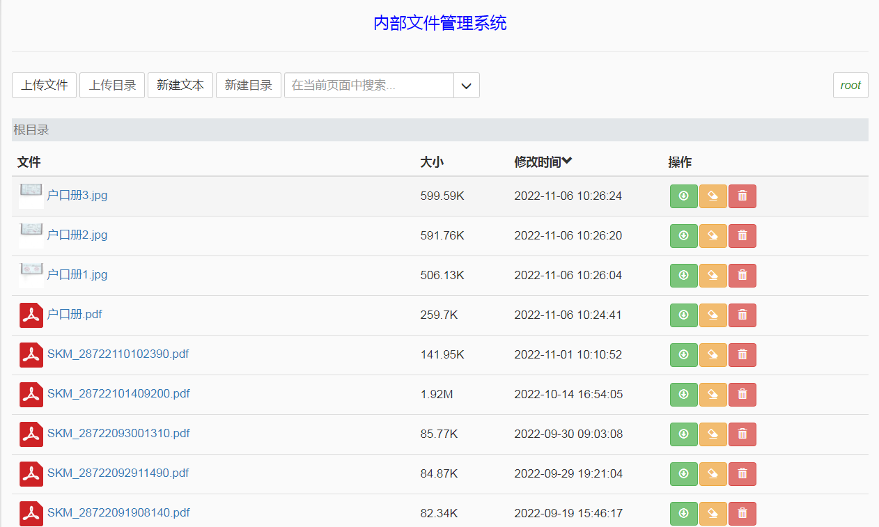
打开局域网内任意一台电脑的浏览器,在地址栏内输入http://192.168.124.10(此处具体根据你自己的ip作更改)回车,即可打开以下页面:

开发者默认chfs.exe文件所在目录为共享目录,但建议不要这样做。共享目录最好不要与运行目录相同,共享目录的设置方法我们将在下文chfs.ini的设置中进行说明。如果你只是偶尔传一下文件,这样使用也就可以了。缺点是每次都得手动运行一下chfs.exe才能访问传输,且不能更改权限和设置账号。
-
下载配置文件模板及配置说明
下载后将chfs.ini拷贝至d:\cfhs,跟先前的chfs.exe在同一目录即可。然后用记事本打开进行以下参数的设置:
主要参数设置样例 参数 设置 port= 80(如果被占用,可以换成8080、8888之类) path= "d:\share"(这里可以更改为自己的共享目录) rule= rule=::(无权限)
rule=admin:admin123:RWD(全权)
rule=any:123456:R(可查看下载)
以上三个用户分三行进行设置log= "d:\chfs"(最好与chfs.exe在同一目录) html.title= 内部文件管理系统(可自行命名) 设置好之后记得进行保存,这样基本上也就可以用了。其他参数的设置及相关细节,参考chfs.ini中的相关例释及开发者网站chfs官网上的相关说明。
-
下载应用程序注册软件:nssm下载
下载后将压缩包拷贝到D:\cfhs目录下,然后进行解压,解压后的文件夹里面会有好几个文件,你只需将nssm.exe拷贝到D:\cfhs目录下,其它的文件不用管。至此,准备工作差不多了。
-
点击电脑桌面左下角的开始图标,在最下方的搜索框中输入命令cmd后回车,则可打开系统的dos命令窗口,类似下图所示:

然后按以下步骤进行安装:
1). 在光标闪烁的地方输入d:并回车,切换到d盘根目录;
2). 在光标闪烁处接着输入cd chfs并回车(注意cd后加个空格),切换到d盘的chfs目录;
为了照顾象我一样的小白的体验,这里给大家展示一下前两步的实操图:

3). 在光标闪烁处接着输入nssm install myChfsServer,如下图:

输入完后回车(其中myChfsServer是即将注册的应用程序名称,可以要根据自己的喜好命名,以便在任务管理器中查看)。此时桌面会弹出以下对话窗口:

4). 按下图输入相关参数

5). 单击下方的“install service”即可。这里不会有反馈窗口或信息,如果不报错的话,就大功告成了。
6). 最后,重启一下计算机,在浏览器的地址栏内输入http://192.168.124.10,然后回车,并用前面设置的管理员账号登录一下,期等已久的画面终于出现了。

四、关于NSSM及其安装服务的查看及管理
NSSM是一个服务封装程序,它可以将普通exe程序封装成服务,使之像windows服务一样运行。前面所说的搭建服务本质就将chfs.exe封装成系统服务程序,只要将其启动方式设置为“自动”之后,这个应用程序就会随系统的启动而启动,无须人为操作。为了大家更好的理解这个问题,下面更给大家说说封装后的服务程序如何查看和设置。
1. 查看:首先按下Ctrl+Alt+Del(同时按下),然后在显示的界面中单击“启动任务管理器”,在任务管理器中,我们就可能看到我们刚才封装的服务程序,如下图所示:

2. 设置:点击任务管理器右下角的“服务”按钮,就会打开任务管理器的设置界面,在这里你可以对自己封装的服务程序进行“启动”、“暂停”、“关闭”等操作。如下图所示:

至此,chfs本地文件共享服务器的搭建就完成了,希望对喜欢chfs的你有所帮助。
后记:本人也是小白系列,只是最近业务需要,花了一些时间研究了一下,也在网上查阅了很多资料,但却发现网上对chfs本地服务器的搭建流程并没有直接可参照的案例,所以将自己的一点操作经验分享出来,也算补个缺。第一次尝试着写技术类文章,难免有不妥之处,还请各位大神不吝赐教!
本文介绍了CuteHttpFileServer(chfs)的特性,包括跨平台运行、简单易用、支持账户权限控制等。详细讲述了在Windows上下载、配置、安装和管理chfs的步骤,通过nssm将其封装为服务,实现自动启动。
830





