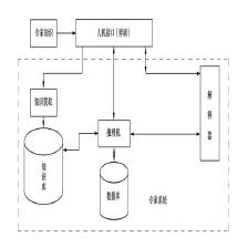
专家系统
知识+实践
xmz_01
本人很懒,真的什么都没写…
展开
专栏收录文章
- 默认排序
- 最新发布
- 最早发布
- 最多阅读
- 最少阅读
分享