SSM缴税管理系统
摘 要
随着互联网大趋势的到来,社会的方方面面,各行各业都在考虑利用互联网作为媒介将自己的信息更及时有效地推广出去,而其中最好的方式就是建立网络管理系统,并对其进行信息管理。由于现在网络的发达,缴税管理系统的信息通过网络进行信息管理掀起了热潮,所以针对管理的用户需求开发出一套缴税管理系统。
整个开发过程首先对软件系统进行需求分析,得出系统的主要功能。接着对系统进行总体设计和详细设计。总体设计主要包括系统功能设计、系统总体结构设计、系统数据结构设计和系统安全设计等;详细设计主要包括系统数据库访问的实现,主要功能模块的具体实现,模块实现关键代码等。最后对系统进行功能测试,并对测试结果进行分析总结,得出系统中存在的不足及需要改进的地方,为以后的系统维护提供了方便,同时也为今后开发类似系统提供了借鉴和帮助。
本系统开发利用现有的成熟技术参考,以源代码为模板,分析功能调整与缴税管理系统的实际需求相结合,确定了Java开发缴税管理系统的使用。
关键字:缴税管理系统;Java语言;MySQL数据库;SSM框架
SSM Tax Payment Management System
Abstracts
With the arrival of the internet trend, various sectors of society are considering using the internet as a medium to promote their information more timely and effectively. The best way is to establish a network management system and manage its information. Due to the current development of the internet, there has been a craze for information management in tax management systems through the internet. Therefore, a set of tax management systems has been developed to meet the needs of management users.
The entire development process starts with a requirement analysis of the software system to determine its main functions. Then proceed with the overall and detailed design of the system. The overall design mainly includes system functional design, system overall structure design, system data structure design, and system security design; The detailed design mainly includes the implementation of system database access, the specific implementation of main functional modules, and the key code for module implementation. Finally, functional testing was conducted on the system, and the test results were analyzed and summarized to identify the shortcomings and areas for improvement in the system. This provided convenience for future system maintenance and also provided reference and assistance for the development of similar systems in the future.
This system is developed using existing mature technology as a reference, using source code as a template, analyzing the functional adjustments and combining them with the actual needs of the tax management system, and determining the use of Java to develop a tax management system.
Keywords: Tax payment management system; Java language; MySQL database; SSM Framework
目 录
表tax_laws_and_regulations (税法法规)
第1章 绪论
1.1课题背景
随着互联网不断升温,用户的需求也越来越大,为此设计缴税管理系统可以方便用户随时获取到缴税信息,通过这一软件来满足用户的要求,并且使用缴税管理系统可以更快捷、更高效的提高缴税信息管理的工作效率,是一款必不可少的管理系统。 开发缴税管理系统进行管理,就要运用软件工程的方法来解决这个软件开发中遇到的各个问题。
系统管理也都将通过计算机进行整体智能化操作,对于缴税管理系统的信息管理所牵扯的信息管理及数据保存都是非常多的,举例像所有的管理员:后台首页、个人信息、修改密码、系统用户(管理员、普通用户)、模块管理(税法法规、缴税信息、缴税申报、留言信息),普通用户:后台首页、个人信息、修改密码、模块管理(税法法规、缴税信息、缴税申报、留言信息)等,这给管理者的工作带来了巨大的挑战,所以为此开发了本缴税管理系统,为用户提供缴税管理系统平台,方便管理员及时高效的管理所有的信息,给用户提供简单方便快捷的方式,并且数据准确,用户可以足不出户就可以对缴税管理系统相关信息进行管理,统计查询等操作,而且还能节省用户查询信息的等待时间,所以开发缴税管理系统给工作人员带来很大的方便,可以大大的提高系统人用户作效率。
互联网是人类的基本需要,尤其在现代社会,个人压力的增加,社会的高节奏的操作,互联网的高速发展,用户的需求度也越来越高,用户也将越来越依靠网络来代替自己的手工业操作,使得各种管理系统的发展成为必要选择。
随着我国经济迅速发展,互联网对人们的生活及工作都带来了非常大的方便,各种管理系统都在不断的增加,但是缴税信息服务查询方面缺乏系统的管理方式,为提高缴税信息服务查询效率,特开发了本缴税管理系统。
缴税管理系统将通过计算机进行整体智能化操作,对于缴税管理系统信息的管理及数据保存都是非常多的,为用户提供一个智能化的管理信息平台,方便管理员可以随时随地的查看用户所需的详细信息及所有部门信息内容,增加系统和用户之间的关系,并且对数据信息管理可以及时、准确、有效地进行系统化、标准化和有效化的工作。
根据SSM系统广泛使用的市场和服务免费特性,公司可以免费获得平台上新功能开发的源代码,开发成本低,研发速度快,服务范围广,效益最大化。系统采用开源功能,规范了平台,打破了原来手机的操作系统,受到了大家的追捧。同时,它整合了传统移动通信的优势,提高了SSM系统的整体价值。该调查显示,Java系统占据了市场的主要份额,这意味着全球四分之三的智能手机都运行在系统上。目前,缴税管理系统已经吸引很多人的注意,通过互联网来搭建缴税管理系统可以给用户提供更好的服务而且对于用户可以更快捷、高效、安全使用。
互联网的到来,传统的缴税管理系统信息获取,都是通过纸质手工等方式进行翻看杂志、报纸等信息,然后进行一条条的统计数据信息,并且要想获取某一条缴税信息服务数据需要进行查找,需要用户自己手动的统计,最后由于缴税信息服务数据量比较大,传统的数据统计是手动检查和验证的,信息量很大,因为使用手动统计数据是一个很大的工作量,而且错误率很高,当然会有很多数据存储和丢失问题,对于搜索一块数据比较麻烦而且还耽误时间。对于这次开发的缴税管理系统,提供给用户可以随时查看缴税管理系统信息,并且可以根据需求进行选择缴税管理系统分类进行查看各个类别的缴税信息,提高缴税管理系统效率。
1.4研究内容
SSM平台的缴税管理系统软件是一款方便,快捷,实用的信息服务查询软件。随着智能手机在全球市场的不断普及以及各种智能手机平台的生活体验软件,作为中国主流智能手机之一的SSM系统,自然需要这样的软件来满足更多用户的需求和体验。收入和支出将与人们的日常需求相关,如通过缴税管理系统获取到最新缴税信息详细情况,了结最新动态信息等。
虽然目前已有很多基于SSM平台的缴税管理系统,但尚未出现更详细的功能显示和信息查询。经过分析,用户的第一眼往往是看到一个软件的外观,一个漂亮的界面将吸引用户下一次点击和理解。为了让用户通过无意识的点击尝试进入每个界面和每个按钮,用户可以进一步了解软件的质量,因此良好的软件界面将是吸引用户注意力的第一步。因此,对于每个软件界面设计工作来说,一个应用程序是占据非常重要的一部分,在高端大气中吸引用户,满足用户体验将进一步完成整个应用程序的各项功能,良好的用户体验度将继续使用并经常打开并使用此软件。
2.1 JAVA简介
Java主要采用CORBA技术和安全模型,可以在互联网应用的数据保护。它还提供了对EJB(Enterprise JavaBeans)的全面支持,java servlet API,JSP(java server pages),和XML技术。JAVA语言是一种面向对象的语言,它通过提供最基本的方法来完成指定的任务,开发者只需要知道一些概念就能够编写出一些应用程序。Java程序相对较小,其代码能够在小机器上运行。Java是一种计算机编程语言,具有封装、继承和多态性三个主要特性,广泛应用于学校Web应用程序开发和移动应用程序开发。
Java语言和一般编译器以及直译的区别在于,Java首先将源代码转换为字节码,然后将其转换为JVM的可执行文件,JVM可以在各种不同的JVM上运行。因此,实现了它的跨平台特性。虽然这使得Java在早期非常缓慢,但是随着Java的开发,它已经得到了改进。
2.2 MySql数据库
Mysql的语言是非结构化的,用户可以在数据上进行工作。MySQL因为其速度、可靠性和适应性而备受关注。大多数人都认为在不需要事务化处理的情况下,MySQL是管理内容最好的选择。并且因为Mysql的语言和结构比较简单,但是功能和存储信息量很强大,所以得到了普遍的应用。
Mysql数据库在编程过程中的作用是很广泛的,为用户进行数据查询带来了的方便。Mysql数据库的应用因其灵活性强,功能强大,所以在实现某功能时只需要一小段代码,而不像其他程序需要编写大段代码。总体来说,Mysql数据库的语言相对要简洁很多。
数据流程分析主要就是数据存储的储藏室,它是在计算机上进行的,而不是现实中的储藏室。数据的存放是按固定格式,而不是无序的,其定义就是:长期有固定格式,可以共享的存储在计算机存储器上。数据库管理主要是数据存储、修改和增加以及数据表的建立。为了保证系统数据的正常运行,一些有能力的处理者可以进行管理而不需要专业的人来处理。数据表的建立,可以对数据表中的数据进行调整,数据的重新组合及重新构造,保证数据的安全性。介于数据库的功能强大等特点,本系统的开发主要应用了Mysql进行对数据的管理。
2.3 B/S架构
B/S结构的特点也非常多,例如在很多浏览器中都可以做出信号请求。并且可以适当的减轻用户的工作量,通过对客户端安装或者是配置少量的运行软件就能够逐步减少用户的工作量,这些功能的操作主要是由服务器来进行控制的,由于该软件的技术不断成熟,最主要的特点就是与浏览器相互配合为软件开发带来了极大的便利,不仅能够减少开发成本,还能够不断加强系统的软件功能,层层相互独立和展现层是该B/S结构完成相互连接的主要特性。
2.4 SSM三大框架
1.Spring的优势:
通过Spring的IOC特性,将对象之间的依赖关系交给了Spring控制,方便解耦,简化了开发。
2.Spring MVC的优势:
SpringMVC是使用了MVC设计思想的轻量级web框架,对web层进行解耦,使我们的开发更简洁。
3.Mybatis的优势:
数据库的操作(sql)采用xml文件配置,解除了sql和代码的耦合,提供映射标签,支持对象和和数据库orm字段关系的映射,支持对象关系映射标签,支持对象关系的组建提供了xml标签,支持动态的sql。
第3章 需求分析
任何一个项目在开发研究前,都需要对研发系统本身的需求做一个认真的分析,市场的调研是不可忽视的,从而明确目标,对整个系统的开发有一个更加准确的定位。在这个章节,需要对系统的性能分析,业务流程分析,和数据等进行分析,缴税管理系统的整体界面简单,功能完善。
需求的可行性是分析和讨论发达的系统能达到什么样的要求。开发的系统或网站是否符合之前的要求。只有在预先评估系统的开发中,才能在系统开发和实施之前完成需求。系统在开发和运用过程中,在技术可行性、操作可行性、经济可行性和法律可行性这几点展开的详细说明,证明了这几点是可行的。在技术可行性中主要说明了Java是目前是较为通用、成熟的技术,具有较为强大的数据库开发功能、以及具有方便快捷的数据库接口设计功能。在现有的调研情况和所掌握的技术是必要可行的。在经济可行性中,主要说明了系统从调研时期的费用和后期维护和可节约的成本。操作可行性主要说明了系统和操作的简便性具有操作简便和上手快的特点。在法律可行性上,符合要求不涉及到侵权等问题在社会中能起到提高效率的作用。
从系统需求分析、功能分析、性能分析等进行了设计和说明。系统需求分析对于缴税管理系统行业的需求进行了深入分析,证明了系统在市场中的需求。
缴税管理系统完成设计,可能受到时间以及空间上的制衡。因此,在开始设计每一个项目的时候,必须对系统进行可行性分析,只有这样才能够降低项目所带来的危害,减少人力、物力以及财力方面的损耗。该系统的可行性分析主要集中在技术可行性、经济可行性、运行可行性和社会可行性四个方面。从以上几个方面讨论了该系统的可行性。
3.1可行性分析
可行性分析目的是根据所开发系统的用户需求,明确研究方向和目标,通过可行性分析确定系统的框架和功能模块。
可行性分析是对任何管理系统的需求、技术和经济的分析。其中最重要的技术方面的可行性,技术可行性是分析软件开发技术的应用开发系统是可行的。其次,分析软件系统的需求,分析软件需求能否满足预先设计的功能需求。最后讨论了系统的操作可行性和经济可行性。
3.1.1 技术可行性
无论是台式机还是笔记本,计算机都以非常迅猛的速度占据着人们的工作与生活,那么能够辅助计算机帮助人们改变工作与生活状态的就是那些安装在计算机上的功能软件。本文所要设计的系统,从简单易懂的思想出发,将通过文字索引提示协助用户操作。
系统的开发环境和配置可以由我们自己安装。系统采用Java开发工具,根据技术语言修改和维护数据信息,并结合要求使系统运行更加稳定安全,从而完成实现系统的开发。网络技术的快速发展使网络传输速度越来越快,价格越来越低,安全性越来越高,其所有硬件平台都能完全满足缴税管理系统开发的需要。
因此,我们从两个方面进行了可行性研究,可以看出系统的技术可行性发展没有问题。
3.1.2 经济可行性
任何软件系统在其发展将考虑后者经济可行性的一部分,也就是说软件的开发成本和设计所需的花费和随后的操作可能带来的经济效益是匹配,除了考虑这部分的软件是否可以给用户带来经济效益。
经济可行性包括系统实现过程中所需资源的研究。系统实现过程中所需资源主要包括人力资源、自然资源等。缴税管理系统的开发是由开发者自己开发,不需要购买其他软件或者端口之类的,而且缴税管理系统的开发之前所做的市场调研及其他的缴税管理系统,都是没有任何费用的,都是通过开发者自己的努力,所有的工作的都是自己亲力亲为,在碰到自己比较难以解决的问题,大多是通过同学和指导老师的帮助进行相关信息的解决,所以对于缴税管理系统的开发在经济上是完全可行的,没有任何费用支出的。
使用Java技术是比较成熟的技术,所以缴税管理系统平台的开发在经济上是没有问题的。
3.1.3 操作可行性
操作可行性是指系统不能有太复杂的操作和使用流程。缴税管理系统基于SSM安装软件,访问和操作界面简单、操作方便。用户只要连接到网络就可以访问和操作。系统在界面设计上就很有善意让人感觉心旷神怡,首先这就能给操作者一种好心情,可以让工作人员以更好的心态工作,其次也很美观,在系统的使用中要不光应用到了系统完善的功能还欣赏了系统简洁的外观。其次就是系统的功能方面了,在系统的日常使用中会一点简单电脑操作的工作人员也都可以应付自如。因此,它具有操作简单,管理方便,交互性强的特点,在操作上是非常可行的。
3.1.4 法律可行性
系统平台的设计与开发与国家政策法规之间不存在冲突。此外,平台的设计和开发采用的操作和工作模式符合用户的日常习惯,操作方便、灵活、易于管理,具有较高的实用性。开发过程中所采用的数据均来自开源代码,不存在知识产权的争议,在法律上也是行的通的。
综上所述,开发一个基于SSM的缴税管理系统是可行的。
3.2系统分析
缴税管理系统主要是为了提高工作人员的工作效率和更方便快捷的满足用户,更好存储所有数据信息及快速方便的检索功能,对系统的各个模块是通过许多今天的发达系统做出合理的分析来确定用户的可操作性,遵循开发的系统优化的原则,经过全面的调查和研究。
系统所要实现的功能分析,对于现在网络方便的管理,系统要实现用户可以直接在平台上进行查看所有数据信息,根据需求可以进行在线添加,删除等信息,这样既能节省时间,不用再像传统的方式耽误时间,真的很难去满足用户的各种需求。所以缴税管理系统的开发不仅仅是能满足用户的需求,还能提高管理员的工作效率,减少原有不必要的工作量。
3.3系统设计原则
(1)功能要求:可以管理后台首页、个人信息、修改密码、系统用户(管理员、普通用户)、模块管理(税法法规、缴税信息、缴税申报、留言信息)等功能模块。
(2)性能:在不同操作系统上均能无差错实现在不同类型的用户登入相应界面后能不出差错、方便地进行预期操作。
(3)安全与保密要求:用户都必须通过注册、登录才能进入系统,并且用户的权限也需要根据用户的类型进行限定。
(4)环境要求:支持多种平台,可在Windows系列、Vista系统等多种操作系统下使用。
2、开发目标
缴税管理系统的主要开发目标如下:
(1)实现管理系统信息关系的系统化、规范化和自动化;
(2)减少维护人员的工作量以及实现用户对信息的控制和管理。
(3)方便查询信息及管理信息等;
(4)通过网络操作,改善处理问题的效率,提高操作人员利用率;
(5)考虑到用户多样性特点,要求界面简单,操作简便。
3、经济效益
设计系统的目的是为了更好的进行节省人员成本及各种开销,因此需要对系统开发的成本和效益进行考虑。
3.4业务流程分析
3.4.1操作流程

图3-1登录流程图
3.4.2添加信息流程
添加信息流程图,如图所示:

图3-2添加信息流程图
3.4.3删除信息流程
删除信息流程图,如图所示:

图3-3删除信息流程图
第4章 系统总体设计
该系统的基本功能包括管理员、普通用户两个权限角色功能模块。
对于管理员可以使用的功能模块主要有后台首页、个人信息、修改密码、系统用户(管理员、普通用户)、模块管理(税法法规、缴税信息、缴税申报、留言信息)等功能。
对于用户所使用的功能模块的操作主要是个人信息、修改密码、模块管理(税法法规、缴税信息、缴税申报、留言信息)等功能。
系统功能结构如下图。

图4-4系统功能结构图
数据库是信息系统的基础和核心。数据库设计的好坏直接影响到信息系统开发的成败。创建数据库表首先确定实体的属性和实体之间的关系。根据关系创建一个数据表。
(1)系统的E-R图
概念模型是数据库设计的强大工具。数据库概念模型设计可以通过E-R图描述现实世界的概念模型。系统的E-R图显示了系统中实体之间的链接。
管理员信息实体图如下图。

图4-2管理员信息实体图
表access_token (登陆访问时长)
| 编号 | 名称 | 数据类型 | 长度 | 小数位 | 允许空值 | 主键 | 默认值 | 说明 |
| 1 | token_id | int | 10 | 0 | N | Y | 临时访问牌ID | |
| 2 | token | varchar | 64 | 0 | Y | N | 临时访问牌 | |
| 3 | info | text | 65535 | 0 | Y | N | ||
| 4 | maxage | int | 10 | 0 | N | N | 2 | 最大寿命:默认2小时 |
| 5 | create_time | timestamp | 19 | 0 | N | N | CURRENT_TIMESTAMP | 创建时间: |
| 6 | update_time | timestamp | 19 | 0 | N | N | CURRENT_TIMESTAMP | 更新时间: |
| 7 | user_id | int | 10 | 0 | N | N | 0 | 用户编号: |
表article (文章:用于内容管理系统的文章)
| 编号 | 名称 | 数据类型 | 长度 | 小数位 | 允许空值 | 主键 | 默认值 | 说明 |
| 1 | article_id | mediumint | 8 | 0 | N | Y | 文章id:[0,8388607] | |
| 2 | title | varchar | 125 | 0 | N | Y | 标题:[0,125]用于文章和html的title标签中 | |
| 3 | type | varchar | 64 | 0 | N | N | 0 | 文章分类:[0,1000]用来搜索指定类型的文章 |
| 4 | hits | int | 10 | 0 | N | N | 0 | 点击数:[0,1000000000]访问这篇文章的人次 |
| 5 | praise_len | int | 10 | 0 | N | N | 0 | 点赞数 |
| 6 | create_time | timestamp | 19 | 0 | N | N | CURRENT_TIMESTAMP | 创建时间: |
| 7 | update_time | timestamp | 19 | 0 | N | N | CURRENT_TIMESTAMP | 更新时间: |
| 8 | source | varchar | 255 | 0 | Y | N | 来源:[0,255]文章的出处 | |
| 9 | url | varchar | 255 | 0 | Y | N | 来源地址:[0,255]用于跳转到发布该文章的网站 | |
| 10 | tag | varchar | 255 | 0 | Y | N | 标签:[0,255]用于标注文章所属相关内容,多个标签用空格隔开 | |
| 11 | content | longtext | 2147483647 | 0 | Y | N | 正文:文章的主体内容 | |
| 12 | img | varchar | 255 | 0 | Y | N | 封面图 | |
| 13 | description | text | 65535 | 0 | Y | N | 文章描述 |
表article_type (文章分类)
| 编号 | 名称 | 数据类型 | 长度 | 小数位 | 允许空值 | 主键 | 默认值 | 说明 |
| 1 | type_id | smallint | 5 | 0 | N | Y | 分类ID:[0,10000] | |
| 2 | display | smallint | 5 | 0 | N | N | 100 | 显示顺序:[0,1000]决定分类显示的先后顺序 |
| 3 | name | varchar | 16 | 0 | N | N | 分类名称:[2,16] | |
| 4 | father_id | smallint | 5 | 0 | N | N | 0 | 上级分类ID:[0,32767] |
| 5 | description | varchar | 255 | 0 | Y | N | 描述:[0,255]描述该分类的作用 | |
| 6 | icon | text | 65535 | 0 | Y | N | 分类图标: | |
| 7 | url | varchar | 255 | 0 | Y | N | 外链地址:[0,255]如果该分类是跳转到其他网站的情况下,就在该URL上设置 | |
| 8 | create_time | timestamp | 19 | 0 | N | N | CURRENT_TIMESTAMP | 创建时间: |
| 9 | update_time | timestamp | 19 | 0 | N | N | CURRENT_TIMESTAMP | 更新时间: |
表auth (用户权限管理)
| 编号 | 名称 | 数据类型 | 长度 | 小数位 | 允许空值 | 主键 | 默认值 | 说明 |
| 1 | auth_id | int | 10 | 0 | N | Y | 授权ID: | |
| 2 | user_group | varchar | 64 | 0 | Y | N | 用户组: | |
| 3 | mod_name | varchar | 64 | 0 | Y | N | 模块名: | |
| 4 | table_name | varchar | 64 | 0 | Y | N | 表名: | |
| 5 | page_title | varchar | 255 | 0 | Y | N | 页面标题: | |
| 6 | path | varchar | 255 | 0 | Y | N | 路由路径: | |
| 7 | position | varchar | 32 | 0 | Y | N | 位置: | |
| 8 | mode | varchar | 32 | 0 | N | N | _blank | 跳转方式: |
| 9 | add | tinyint | 3 | 0 | N | N | 1 | 是否可增加: |
| 10 | del | tinyint | 3 | 0 | N | N | 1 | 是否可删除: |
| 11 | set | tinyint | 3 | 0 | N | N | 1 | 是否可修改: |
| 12 | get | tinyint | 3 | 0 | N | N | 1 | 是否可查看: |
| 13 | field_add | text | 65535 | 0 | Y | N | 添加字段: | |
| 14 | field_set | text | 65535 | 0 | Y | N | 修改字段: | |
| 15 | field_get | text | 65535 | 0 | Y | N | 查询字段: | |
| 16 | table_nav_name | varchar | 500 | 0 | Y | N | 跨表导航名称: | |
| 17 | table_nav | varchar | 500 | 0 | Y | N | 跨表导航: | |
| 18 | option | text | 65535 | 0 | Y | N | 配置: | |
| 19 | create_time | timestamp | 19 | 0 | N | N | CURRENT_TIMESTAMP | 创建时间: |
| 20 | update_time | timestamp | 19 | 0 | N | N | CURRENT_TIMESTAMP | 更新时间: |
表collect (收藏)
| 编号 | 名称 | 数据类型 | 长度 | 小数位 | 允许空值 | 主键 | 默认值 | 说明 |
| 1 | collect_id | int | 10 | 0 | N | Y | 收藏ID: | |
| 2 | user_id | int | 10 | 0 | N | N | 0 | 收藏人ID: |
| 3 | source_table | varchar | 255 | 0 | Y | N | 来源表: | |
| 4 | source_field | varchar | 255 | 0 | Y | N | 来源字段: | |
| 5 | source_id | int | 10 | 0 | N | N | 0 | 来源ID: |
| 6 | title | varchar | 255 | 0 | Y | N | 标题: | |
| 7 | img | varchar | 255 | 0 | Y | N | 封面: | |
| 8 | create_time | timestamp | 19 | 0 | N | N | CURRENT_TIMESTAMP | 创建时间: |
| 9 | update_time | timestamp | 19 | 0 | N | N | CURRENT_TIMESTAMP | 更新时间: |
表comment (评论)
| 编号 | 名称 | 数据类型 | 长度 | 小数位 | 允许空值 | 主键 | 默认值 | 说明 |
| 1 | comment_id | int | 10 | 0 | N | Y | 评论ID: | |
| 2 | user_id | int | 10 | 0 | N | N | 0 | 评论人ID: |
| 3 | reply_to_id | int | 10 | 0 | N | N | 0 | 回复评论ID:空为0 |
| 4 | content | longtext | 2147483647 | 0 | Y | N | 内容: | |
| 5 | nickname | varchar | 255 | 0 | Y | N | 昵称: | |
| 6 | avatar | varchar | 255 | 0 | Y | N | 头像地址:[0,255] | |
| 7 | create_time | timestamp | 19 | 0 | N | N | CURRENT_TIMESTAMP | 创建时间: |
| 8 | update_time | timestamp | 19 | 0 | N | N | CURRENT_TIMESTAMP | 更新时间: |
| 9 | source_table | varchar | 255 | 0 | Y | N | 来源表: | |
| 10 | source_field | varchar | 255 | 0 | Y | N | 来源字段: | |
| 11 | source_id | int | 10 | 0 | N | N | 0 | 来源ID: |
表hits (用户点击)
| 编号 | 名称 | 数据类型 | 长度 | 小数位 | 允许空值 | 主键 | 默认值 | 说明 |
| 1 | hits_id | int | 10 | 0 | N | Y | 点赞ID: | |
| 2 | user_id | int | 10 | 0 | N | N | 0 | 点赞人: |
| 3 | create_time | timestamp | 19 | 0 | N | N | CURRENT_TIMESTAMP | 创建时间: |
| 4 | update_time | timestamp | 19 | 0 | N | N | CURRENT_TIMESTAMP | 更新时间: |
| 5 | source_table | varchar | 255 | 0 | Y | N | 来源表: | |
| 6 | source_field | varchar | 255 | 0 | Y | N | 来源字段: | |
| 7 | source_id | int | 10 | 0 | N | N | 0 | 来源ID: |
表message_message (留言信息)
| 编号 | 名称 | 数据类型 | 长度 | 小数位 | 允许空值 | 主键 | 默认值 | 说明 |
| 1 | message_message_id | int | 10 | 0 | N | Y | 留言信息ID | |
| 2 | message_user | int | 10 | 0 | Y | N | 0 | 留言用户 |
| 3 | user_name | varchar | 64 | 0 | Y | N | 用户姓名 | |
| 4 | message_title | varchar | 64 | 0 | Y | N | 留言标题 | |
| 5 | message_date | date | 10 | 0 | Y | N | 留言日期 | |
| 6 | message_content | text | 65535 | 0 | Y | N | 留言内容 | |
| 7 | recommend | int | 10 | 0 | N | N | 0 | 智能推荐 |
| 8 | create_time | datetime | 19 | 0 | N | N | CURRENT_TIMESTAMP | 创建时间 |
| 9 | update_time | timestamp | 19 | 0 | N | N | CURRENT_TIMESTAMP | 更新时间 |
表notice (公告)
| 编号 | 名称 | 数据类型 | 长度 | 小数位 | 允许空值 | 主键 | 默认值 | 说明 |
| 1 | notice_id | mediumint | 8 | 0 | N | Y | 公告id: | |
| 2 | title | varchar | 125 | 0 | N | N | 标题: | |
| 3 | content | longtext | 2147483647 | 0 | Y | N | 正文: | |
| 4 | create_time | timestamp | 19 | 0 | N | N | CURRENT_TIMESTAMP | 创建时间: |
| 5 | update_time | timestamp | 19 | 0 | N | N | CURRENT_TIMESTAMP | 更新时间: |
表online_consultation (在线咨询)
| 编号 | 名称 | 数据类型 | 长度 | 小数位 | 允许空值 | 主键 | 默认值 | 说明 |
| 1 | online_consultation_id | int | 10 | 0 | N | Y | 在线咨询ID | |
| 2 | consult_users | int | 10 | 0 | Y | N | 0 | 咨询用户 |
| 3 | user_name | varchar | 64 | 0 | Y | N | 用户姓名 | |
| 4 | consultation_title | varchar | 64 | 0 | Y | N | 咨询标题 | |
| 5 | consultation_type | varchar | 64 | 0 | Y | N | 咨询类型 | |
| 6 | consultation_time | datetime | 19 | 0 | Y | N | 咨询时间 | |
| 7 | consultation_content | text | 65535 | 0 | Y | N | 咨询内容 | |
| 8 | consultation_response | text | 65535 | 0 | Y | N | 咨询回复 | |
| 9 | recommend | int | 10 | 0 | N | N | 0 | 智能推荐 |
| 10 | create_time | datetime | 19 | 0 | N | N | CURRENT_TIMESTAMP | 创建时间 |
| 11 | update_time | timestamp | 19 | 0 | N | N | CURRENT_TIMESTAMP | 更新时间 |
表ordinary_users (普通用户)
| 编号 | 名称 | 数据类型 | 长度 | 小数位 | 允许空值 | 主键 | 默认值 | 说明 |
| 1 | ordinary_users_id | int | 10 | 0 | N | Y | 普通用户ID | |
| 2 | user_name | varchar | 64 | 0 | Y | N | 用户姓名 | |
| 3 | user_gender | varchar | 64 | 0 | Y | N | 用户性别 | |
| 4 | user_age | varchar | 64 | 0 | Y | N | 用户年龄 | |
| 5 | examine_state | varchar | 16 | 0 | N | N | 已通过 | 审核状态 |
| 6 | recommend | int | 10 | 0 | N | N | 0 | 智能推荐 |
| 7 | user_id | int | 10 | 0 | N | N | 0 | 用户ID |
| 8 | create_time | datetime | 19 | 0 | N | N | CURRENT_TIMESTAMP | 创建时间 |
| 9 | update_time | timestamp | 19 | 0 | N | N | CURRENT_TIMESTAMP | 更新时间 |
表praise (点赞)
| 编号 | 名称 | 数据类型 | 长度 | 小数位 | 允许空值 | 主键 | 默认值 | 说明 |
| 1 | praise_id | int | 10 | 0 | N | Y | 点赞ID: | |
| 2 | user_id | int | 10 | 0 | N | N | 0 | 点赞人: |
| 3 | create_time | timestamp | 19 | 0 | N | N | CURRENT_TIMESTAMP | 创建时间: |
| 4 | update_time | timestamp | 19 | 0 | N | N | CURRENT_TIMESTAMP | 更新时间: |
| 5 | source_table | varchar | 255 | 0 | Y | N | 来源表: | |
| 6 | source_field | varchar | 255 | 0 | Y | N | 来源字段: | |
| 7 | source_id | int | 10 | 0 | N | N | 0 | 来源ID: |
| 8 | status | bit | 1 | 0 | N | N | 1 | 点赞状态:1为点赞,0已取消 |
表slides (轮播图)
| 编号 | 名称 | 数据类型 | 长度 | 小数位 | 允许空值 | 主键 | 默认值 | 说明 |
| 1 | slides_id | int | 10 | 0 | N | Y | 轮播图ID: | |
| 2 | title | varchar | 64 | 0 | Y | N | 标题: | |
| 3 | content | varchar | 255 | 0 | Y | N | 内容: | |
| 4 | url | varchar | 255 | 0 | Y | N | 链接: | |
| 5 | img | varchar | 255 | 0 | Y | N | 轮播图: | |
| 6 | hits | int | 10 | 0 | N | N | 0 | 点击量: |
| 7 | create_time | timestamp | 19 | 0 | N | N | CURRENT_TIMESTAMP | 创建时间: |
| 8 | update_time | timestamp | 19 | 0 | N | N | CURRENT_TIMESTAMP | 更新时间: |
表tax_declaration (缴税申报)
| 编号 | 名称 | 数据类型 | 长度 | 小数位 | 允许空值 | 主键 | 默认值 | 说明 |
| 1 | tax_declaration_id | int | 10 | 0 | N | Y | 缴税申报ID | |
| 2 | name_of_tax_payment | varchar | 64 | 0 | Y | N | 缴税名称 | |
| 3 | tax_payment_type | varchar | 64 | 0 | Y | N | 缴税类型 | |
| 4 | tax_label | varchar | 64 | 0 | Y | N | 缴税标签 | |
| 5 | tax_rate | varchar | 64 | 0 | Y | N | 缴税率 | |
| 6 | tax_payment_description | text | 65535 | 0 | Y | N | 缴税描述 | |
| 7 | tax_user | int | 10 | 0 | Y | N | 0 | 缴税用户 |
| 8 | user_name | varchar | 64 | 0 | Y | N | 用户姓名 | |
| 9 | declaration_time | datetime | 19 | 0 | Y | N | 申报时间 | |
| 10 | declared_amount | varchar | 64 | 0 | Y | N | 申报金额 | |
| 11 | tax_amount | varchar | 64 | 0 | Y | N | 缴税金额 | |
| 12 | pay_state | varchar | 16 | 0 | N | N | 未支付 | 支付状态 |
| 13 | pay_type | varchar | 16 | 0 | Y | N | 支付类型: 微信、支付宝、网银 | |
| 14 | recommend | int | 10 | 0 | N | N | 0 | 智能推荐 |
| 15 | create_time | datetime | 19 | 0 | N | N | CURRENT_TIMESTAMP | 创建时间 |
| 16 | update_time | timestamp | 19 | 0 | N | N | CURRENT_TIMESTAMP | 更新时间 |
表tax_laws_and_regulations (税法法规)
| 编号 | 名称 | 数据类型 | 长度 | 小数位 | 允许空值 | 主键 | 默认值 | 说明 |
| 1 | tax_laws_and_regulations_id | int | 10 | 0 | N | Y | 税法法规ID | |
| 2 | regulation_name | varchar | 64 | 0 | Y | N | 法规名称 | |
| 3 | regulation_type | varchar | 64 | 0 | Y | N | 法规类型 | |
| 4 | regulations_and_decrees | varchar | 64 | 0 | Y | N | 法规法令 | |
| 5 | regulations | varchar | 64 | 0 | Y | N | 法规条例 | |
| 6 | implementation_rules | text | 65535 | 0 | Y | N | 施行细则 | |
| 7 | cover_photo | varchar | 255 | 0 | Y | N | 封面图片 | |
| 8 | regulatory_details | longtext | 2147483647 | 0 | Y | N | 法规详情 | |
| 9 | recommend | int | 10 | 0 | N | N | 0 | 智能推荐 |
| 10 | create_time | datetime | 19 | 0 | N | N | CURRENT_TIMESTAMP | 创建时间 |
| 11 | update_time | timestamp | 19 | 0 | N | N | CURRENT_TIMESTAMP | 更新时间 |
表tax_payment_information (缴税信息)
| 编号 | 名称 | 数据类型 | 长度 | 小数位 | 允许空值 | 主键 | 默认值 | 说明 |
| 1 | tax_payment_information_id | int | 10 | 0 | N | Y | 缴税信息ID | |
| 2 | name_of_tax_payment | varchar | 64 | 0 | Y | N | 缴税名称 | |
| 3 | tax_payment_type | varchar | 64 | 0 | Y | N | 缴税类型 | |
| 4 | tax_label | varchar | 64 | 0 | Y | N | 缴税标签 | |
| 5 | tax_rate | varchar | 64 | 0 | Y | N | 缴税率 | |
| 6 | tax_payment_description | text | 65535 | 0 | Y | N | 缴税描述 | |
| 7 | tax_payment_details | longtext | 2147483647 | 0 | Y | N | 缴税详情 | |
| 8 | recommend | int | 10 | 0 | N | N | 0 | 智能推荐 |
| 9 | create_time | datetime | 19 | 0 | N | N | CURRENT_TIMESTAMP | 创建时间 |
| 10 | update_time | timestamp | 19 | 0 | N | N | CURRENT_TIMESTAMP | 更新时间 |
表upload (文件上传)
| 编号 | 名称 | 数据类型 | 长度 | 小数位 | 允许空值 | 主键 | 默认值 | 说明 |
| 1 | upload_id | int | 10 | 0 | N | Y | 上传ID | |
| 2 | name | varchar | 64 | 0 | Y | N | 文件名 | |
| 3 | path | varchar | 255 | 0 | Y | N | 访问路径 | |
| 4 | file | varchar | 255 | 0 | Y | N | 文件路径 | |
| 5 | display | varchar | 255 | 0 | Y | N | 显示顺序 | |
| 6 | father_id | int | 10 | 0 | Y | N | 0 | 父级ID |
| 7 | dir | varchar | 255 | 0 | Y | N | 文件夹 | |
| 8 | type | varchar | 32 | 0 | Y | N | 文件类型 |
表user (用户账户:用于保存用户登录信息)
| 编号 | 名称 | 数据类型 | 长度 | 小数位 | 允许空值 | 主键 | 默认值 | 说明 |
| 1 | user_id | mediumint | 8 | 0 | N | Y | 用户ID:[0,8388607]用户获取其他与用户相关的数据 | |
| 2 | state | smallint | 5 | 0 | N | N | 1 | 账户状态:[0,10](1可用|2异常|3已冻结|4已注销) |
| 3 | user_group | varchar | 32 | 0 | Y | N | 所在用户组:[0,32767]决定用户身份和权限 | |
| 4 | login_time | timestamp | 19 | 0 | N | N | CURRENT_TIMESTAMP | 上次登录时间: |
| 5 | phone | varchar | 11 | 0 | Y | N | 手机号码:[0,11]用户的手机号码,用于找回密码时或登录时 | |
| 6 | phone_state | smallint | 5 | 0 | N | N | 0 | 手机认证:[0,1](0未认证|1审核中|2已认证) |
| 7 | username | varchar | 16 | 0 | N | N | 用户名:[0,16]用户登录时所用的账户名称 | |
| 8 | nickname | varchar | 16 | 0 | Y | N | 昵称:[0,16] | |
| 9 | password | varchar | 64 | 0 | N | N | 密码:[0,32]用户登录所需的密码,由6-16位数字或英文组成 | |
| 10 | | varchar | 64 | 0 | Y | N | 邮箱:[0,64]用户的邮箱,用于找回密码时或登录时 | |
| 11 | email_state | smallint | 5 | 0 | N | N | 0 | 邮箱认证:[0,1](0未认证|1审核中|2已认证) |
| 12 | avatar | varchar | 255 | 0 | Y | N | 头像地址:[0,255] | |
| 13 | create_time | timestamp | 19 | 0 | N | N | CURRENT_TIMESTAMP | 创建时间: |
表user_group (用户组:用于用户前端身份和鉴权)
| 编号 | 名称 | 数据类型 | 长度 | 小数位 | 允许空值 | 主键 | 默认值 | 说明 |
| 1 | group_id | mediumint | 8 | 0 | N | Y | 用户组ID:[0,8388607] | |
| 2 | display | smallint | 5 | 0 | N | N | 100 | 显示顺序:[0,1000] |
| 3 | name | varchar | 16 | 0 | N | N | 名称:[0,16] | |
| 4 | description | varchar | 255 | 0 | Y | N | 描述:[0,255]描述该用户组的特点或权限范围 | |
| 5 | source_table | varchar | 255 | 0 | Y | N | 来源表: | |
| 6 | source_field | varchar | 255 | 0 | Y | N | 来源字段: | |
| 7 | source_id | int | 10 | 0 | N | N | 0 | 来源ID: |
| 8 | register | smallint | 5 | 0 | Y | N | 0 | 注册位置: |
| 9 | create_time | timestamp | 19 | 0 | N | N | CURRENT_TIMESTAMP | 创建时间: |
| 10 | update_time | timestamp | 19 | 0 | N | N | CURRENT_TIMESTAMP | 更新时间: |
第5章 系统实现
5.1管理员功能模块
管理员登录,管理员通过输入用户名,密码,验证码等信息进入缴税管理系统,如图5-1所示。

图5-1管理员登录界面图
登录代码如下:
/**
* 登录
* @param data
* @param httpServletRequest
* @return
*/
@PostMapping("login")
public Map<String, Object> login(@RequestBody Map<String, String> data, HttpServletRequest httpServletRequest) {
log.info("[执行登录接口]");
String username = data.get("username");
String email = data.get("email");
String phone = data.get("phone");
String password = data.get("password");
List resultList = null;
QueryWrapper wrapper = new QueryWrapper<User>();
Map<String, String> map = new HashMap<>();
if(username != null && "".equals(username) == false){
map.put("username", username);
resultList = service.selectBaseList(service.select(map, new HashMap<>()));
}
else if(email != null && "".equals(email) == false){
map.put("email", email);
resultList = service.selectBaseList(service.select(map, new HashMap<>()));
}
else if(phone != null && "".equals(phone) == false){
map.put("phone", phone);
resultList = service.selectBaseList(service.select(map, new HashMap<>()));
}else{
return error(30000, "账号或密码不能为空");
}
if (resultList == null || password == null) {
return error(30000, "账号或密码不能为空");
}
//判断是否有这个用户
if (resultList.size()<=0){
return error(30000,"用户不存在");
}
User byUsername = (User) resultList.get(0);
Map<String, String> groupMap = new HashMap<>();
groupMap.put("name",byUsername.getUserGroup());
List groupList = userGroupService.selectBaseList(userGroupService.select(groupMap, new HashMap<>()));
if (groupList.size()<1){
return error(30000,"用户组不存在");
}
UserGroup userGroup = (UserGroup) groupList.get(0);
//查询用户审核状态
if (!StringUtils.isEmpty(userGroup.getSourceTable())){
String res = service.selectExamineState(userGroup.getSourceTable(),byUsername.getUserId());
if (res==null){
return error(30000,"用户不存在");
}
if (!res.equals("已通过")){
return error(30000,"该用户审核未通过");
}
}
//查询用户状态
if (byUsername.getState()!=1){
return error(30000,"用户非可用状态,不能登录");
}
String md5password = service.encryption(password);
if (byUsername.getPassword().equals(md5password)) {
// 存储Token到数据库
AccessToken accessToken = new AccessToken();
accessToken.setToken(UUID.randomUUID().toString().replaceAll("-", ""));
accessToken.setUser_id(byUsername.getUserId());
tokenService.save(accessToken);
// 返回用户信息
JSONObject user = JSONObject.parseObject(JSONObject.toJSONString(byUsername));
user.put("token", accessToken.getToken());
JSONObject ret = new JSONObject();
ret.put("obj",user);
return success(ret);
} else {
return error(30000, "账号或密码不正确");
}
}
public String select(Map<String,String> query,Map<String,String> config){
StringBuffer sql = new StringBuffer("select ");
sql.append(config.get(FindConfig.FIELD) == null || "".equals(config.get(FindConfig.FIELD)) ? "*" : config.get(FindConfig.FIELD)).append(" ");
sql.append("from ").append("`").append(table).append("`").append(toWhereSql(query, "0".equals(config.get(FindConfig.LIKE))));
if (config.get(FindConfig.GROUP_BY) != null && !"".equals(config.get(FindConfig.GROUP_BY))){
sql.append("group by ").append(config.get(FindConfig.GROUP_BY)).append(" ");
}
if (config.get(FindConfig.ORDER_BY) != null && !"".equals(config.get(FindConfig.ORDER_BY))){
sql.append("order by ").append(config.get(FindConfig.ORDER_BY)).append(" ");
}
if (config.get(FindConfig.PAGE) != null && !"".equals(config.get(FindConfig.PAGE))){
int page = config.get(FindConfig.PAGE) != null && !"".equals(config.get(FindConfig.PAGE)) ? Integer.parseInt(config.get(FindConfig.PAGE)) : 1;
int limit = config.get(FindConfig.SIZE) != null && !"".equals(config.get(FindConfig.SIZE)) ? Integer.parseInt(config.get(FindConfig.SIZE)) : 10;
sql.append(" limit ").append( (page-1)*limit ).append(" , ").append(limit);
}
log.info("[{}] - 查询操作,sql: {}",table,sql);
return sql.toString();
}
public List selectBaseList(String select) {
List<Map<String,Object>> mapList = baseMapper.selectBaseList(select);
List<E> list = new ArrayList<>();
for (Map<String,Object> map:mapList) {
list.add(JSON.parseObject(JSON.toJSONString(map),eClass));
}
return list;
}
管理员登录进入缴税管理系统可以查看后台首页、个人信息、修改密码、系统用户(管理员、普通用户)、模块管理(税法法规、缴税信息、缴税申报、留言信息)等内容,如图5-2所示。

图5-2管理员功能界面图
系统用户管理,在系统用户管理页面可以查看用户名、密码、权限等内容,并可根据需要进行添加、删除等操作,如图5-3所示。

图5-3系统用户管理界面图
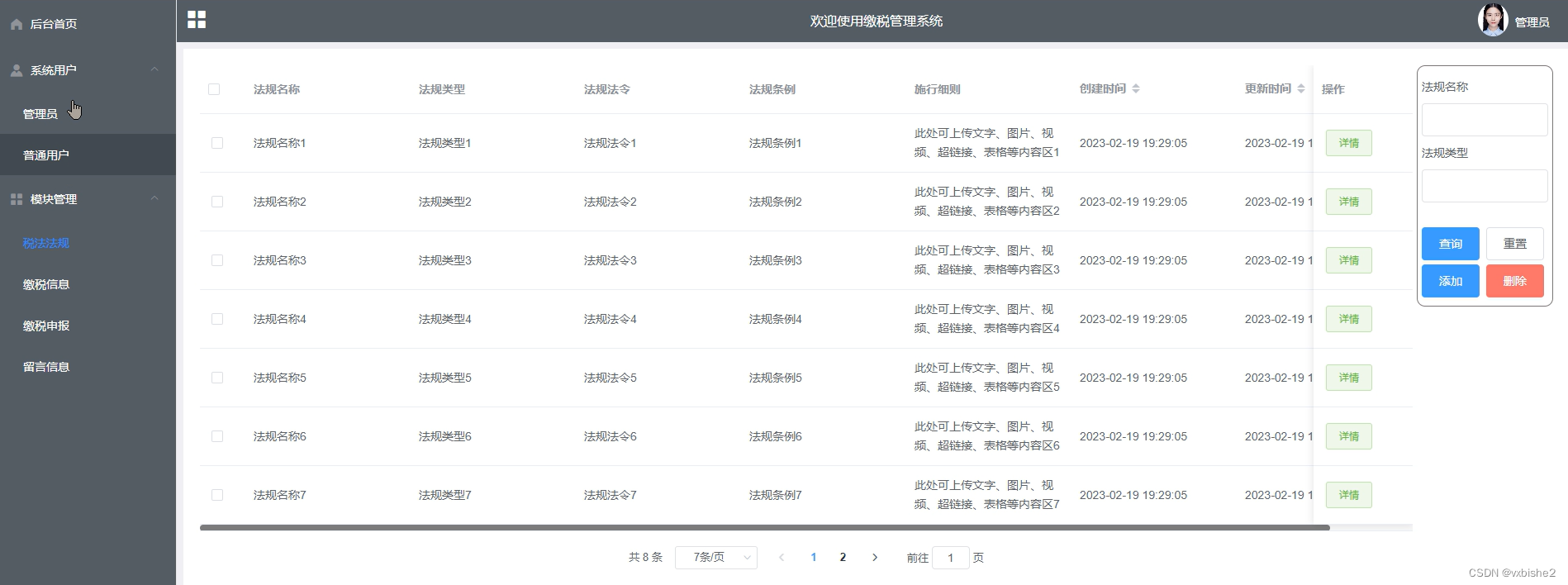
税法法规,在税法法规页面可以查看法规名称、法规类型、法规法令、法规条例等内容,并可根据需要进行查询、重置、添加、删除等操作,如图5-4所示。

图5-4税法法规界面图
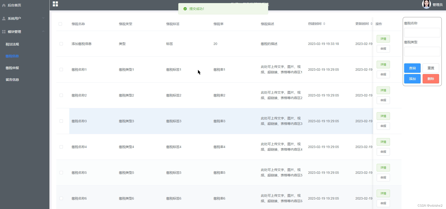
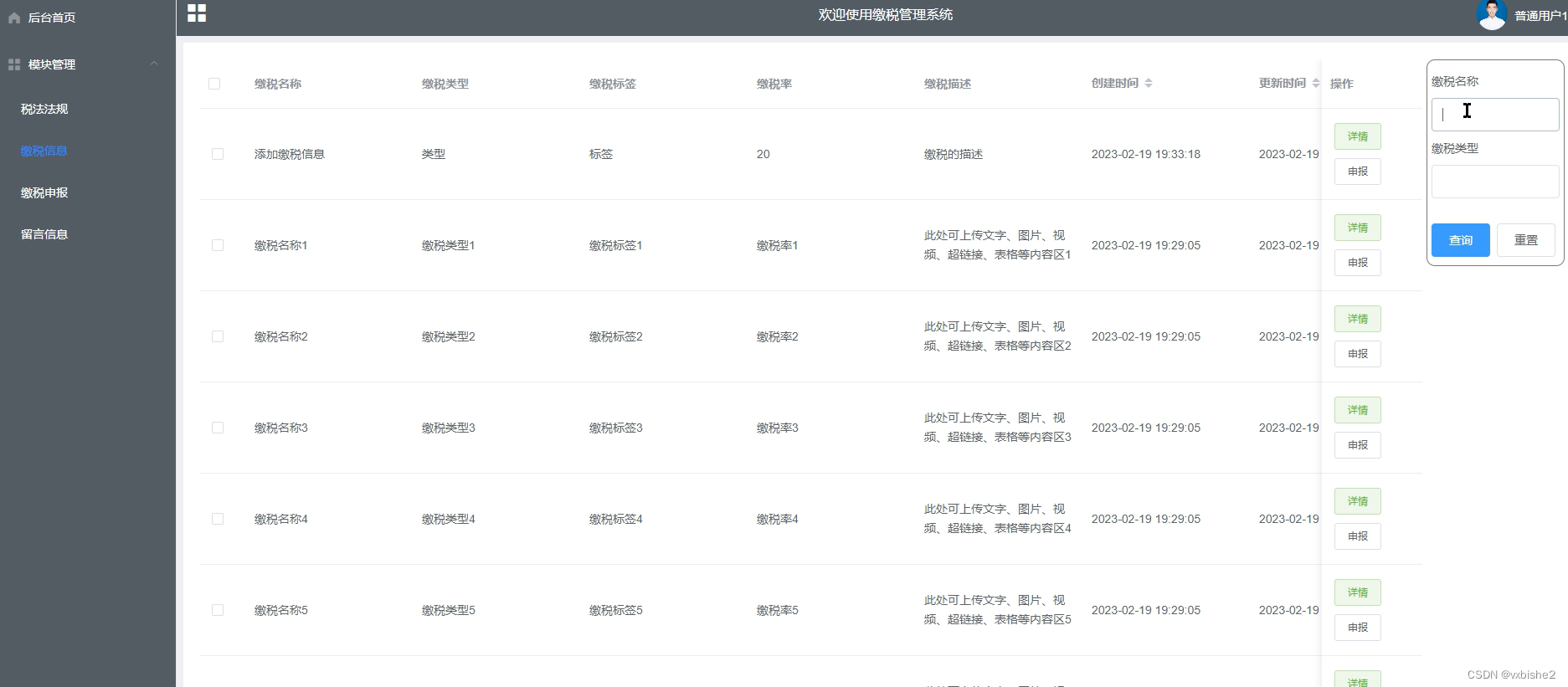
缴税信息,在缴税信息页面可以查看缴税名称、缴税类型、缴税标签、缴税率等内容,并可根据需要进行查询、重置、添加、删除等操作,如图5-5所示。

图5-5缴税信息界面图
缴税申报,在缴税申报页面可以查看缴税名称、缴税类型、缴税标签、缴税率、缴税用户等内容,并可根据需要进行重置、删除、添加等操作,如图5-6所示。

图5-6缴税申报管理界面图
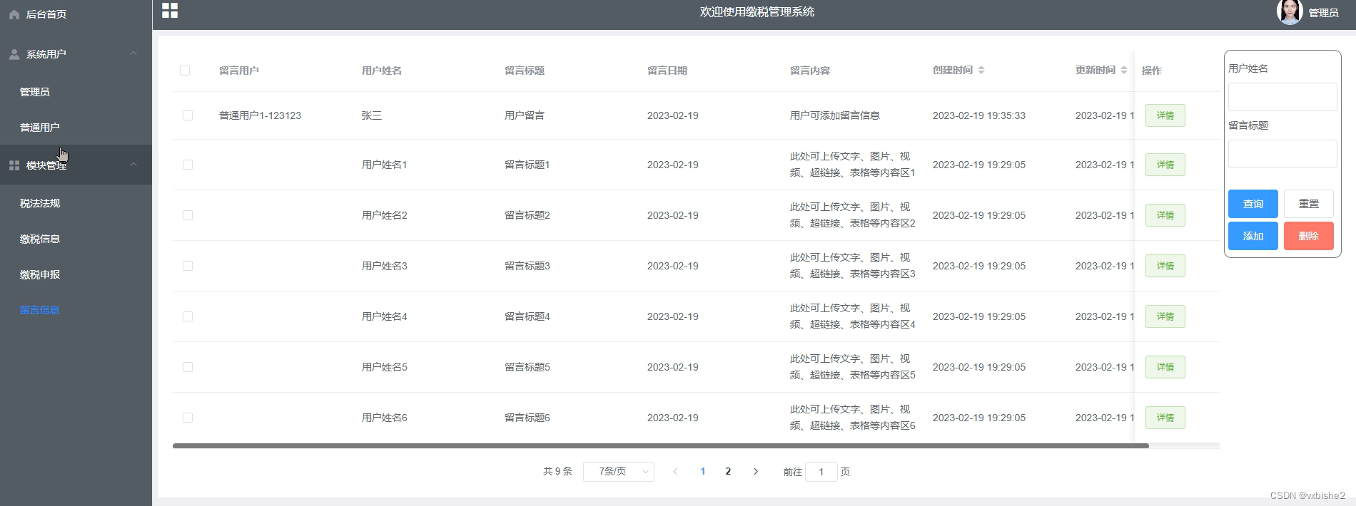
留言信息,在留言信息页面可以查看留言用户、留言标题、留言日期、留言内容等内容,并可根据需要进行重置、删除、添加等操作,如图5-7所示。

图5-7留言信息管理界面图
5.2用户功能模块
用户登录,用户通过输入用户名,密码,验证码等信息进入缴税管理系统,如图5-8所示。

图5-8用户注册界面图

图5-8用户登录界面图
用户登录进入缴税管理系统可以查看后台首页、个人信息、修改密码、模块管理(税法法规、缴税信息、缴税申报、留言信息)等功能。如图5-9所示。

图5-9用户功能界面图
个人信息,在个人信息页面可以通过查看用户名、昵称等详细信息,如图5-10所示。

图5-10个人信息界面图
税法法规,在税法法规页面可以查看法规名称、法规类型、法规法令、法规条例等内容,并可根据需要进行查询等操作,如图5-11所示。

图5-11税法法规详细界面图
缴税信息,在缴税信息页面可以查看缴税名称、缴税类型、缴税标签、缴税率等内容,并可根据需要进行查询、重置等操作,如图5-12所示。

图5-12缴税信息界面图
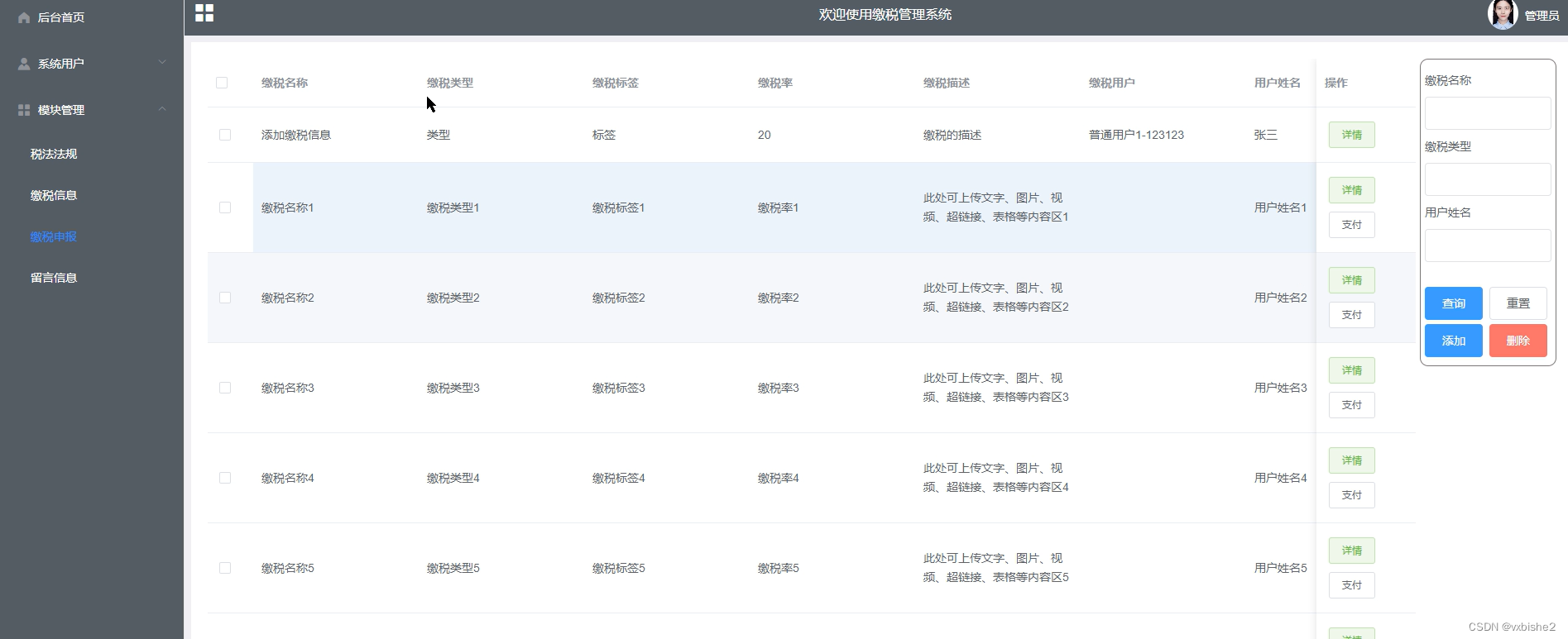
缴税申报,在缴税申报页面可以查看缴税名称、缴税类型、缴税标签、缴税率、缴税用户等内容,并可根据需要进行支付、查询、重置、添加等操作,如图5-13所示。

图5-13缴税申报管理界面图
留言信息,在留言信息页面可以查看留言用户、留言标题、留言日期、留言内容等内容,并可根据需要进行重置、查询、添加等操作,如图5-14所示。

图5-14留言信息提交界面图
第6章 系统测试
系统测试主要是通过测试确定系统的可操作性,系统故障必须在规定的时间内纠正,否则会造成严重的经济损失。验证系统内的保护机制,以防止未经授权的入侵。在安全测试中,测试人员的作用是试图闯入系统并使用各种方法来试图突破防御。因此,系统安全设计的标准是找到一种使入侵系统更先进的方法。
6.1系统测试的目的
程序设计不能保证没有错误,这是一个开发过程,在错误或错误的过程中都是难以避免的。虽然这是不可避免的,但我们不能使这些错误始终存在于系统中,错误可能会造成无法估量的后果,如系统崩溃,安全信息泄露,系统无法正常启动等,为了避免这些问题,我们需要测试程序,在测试过程中发现问题并纠正它们,从而使系统更长时间稳定成熟。本章的作用是发现这些问题并对其进行修改,虽然耗时费力,但对于系统的开发长期使用而言是非常重要和必要的。
软件在设计后必须进行测试,调试过程中使用的方法是软件测试方法。在开发新软件时,系统测试是检查软件是否合格的关键步骤,以及是否符合设计目标的参考。测试主要是查看软件中数据的准确性,正确的操作与否,以及操作的结果,还有哪些方面需要改进。
缴税管理系统的实现,对于系统中功能模块的实现及操作都必须通过测试进行来评判系统是否可以准确的实现。在缴税管理系统正式上传使用之前必须做的一步就是系统测试,对于测试发现的错误及时修改处理,保证系统准确无误的供给用户使用。
6.2测试策略
测试系统主要针对以下三个方面进行测试:
1、基于SSM的系统代码的单元测试,集成测试,系统测试和验收测试结果;
2、测试对象中列出的可测试或不可接受的特征和功能;
3、分析并记录测试要求:日期的书面文件不影响测试的设计、开发和执行。
6.3测试特性及分析
(1)挑剔性:测试是为了找出系统的错误,在系统测试时我们要严格苛刻,十分挑剔。
(2)复杂性:测试是一个非常复杂的过程。
(3)不彻底性:虽然系统经过测试,但测试仍然会存在不够彻底的问题,测试不能保证系统后期运行完整无误,所以要在后期不断的检查、修改。
经过测试,产品的稳定性和成熟度可以大大提高,产品质量也可以得到保证。
6.4功能测试
系统测试方面,我们通常运用的是白盒测试以及黑盒测试这两种方法。白盒测试是指在了解系统内部工作流程的前提下,可以根据需求规范验证系统内部操作是否能够正常运行的测试;而黑盒测试指的是,倘若知道了这个系统的全部功能,可以进行测试检测系统中的每一个功能是否满足正常使用。
功能测试,主要是对系统的用户登录进行详细的测试,但是登录不可以是任何人都可以登录成功的,所以对登录进行详细测试。
用户登录测试:
| 模块名称 | 测试用例 | 预期结果 | 实际结果 | 是否通过 |
| 登录模块 | 用户名:ylq 密码:ylq | 弹出错误提示,提示密码错误 | 弹出错误提示,提示密码错误 | 通过 |
| 登录模块 | 用户名:ylq 密码:ylq | 弹出错误提示,提示用户名错误 | 弹出错误提示,提示用户名错误 | 通过 |
| 登录模块 | 用户名:ylq 密码:ylq | 管理员登录成功 | 管理员登录成功 | 通过 |
删除分类测试:
| 模块名称 | 测试用例 | 预期结果 | 实际结果 | 是否通过 |
| 删除分类模块 | 分类名:最新通知 | 删除成功、页面自动跳转 | 删除成功、页面自动跳转 | 通过 |
修改密码测试:
| 模块名称 | 测试用例 | 预期结果 | 实际结果 | 是否通过 |
| 修改密码模块 | 原密码:888 新密码:123 确认密码:123 | 弹出错误提示,提示原密码错误 | 弹出错误提示,提示原密码错误 | 通过 |
| 修改密码模块 | 原密码:888 新密码:123 确认密码:333 | 弹出错误提示,提示确认密码不一致 | 弹出错误提示,提示确认密码不一致 | 通过 |
| 修改密码模块 | 原密码:888 新密码:123 确认密码:123 | 密码修改成功 | 密码修改成功 | 通过 |
通过对功能的测试,缴税管理系统的基本功能都是可行的,不管是系统里面的功能,还是界面的设计都是可值得推广宣传的。
6.5测试结果
经过对一系列测试结果的有效分析,本平台开发系统符合用户的要求和需求。所有的基本功能相对齐全,操作起来简单方便,测试系统性能良好,作为大众化系统使用是比较值得推广宣传的。
结 论
此时项目已经完成,即使实施的时间不是很长,但是在这个过程中需要准备很长的一段时间去对系统设计开发所实际用到的技术进行学习和巩固。在学习的过程中,我逐渐认识到了我自身存在的一些不足。对于一些控制是必要的应用技能,能够理解,整个过程中仅仅是掌握了常用的性能和控制方法,我觉得还是相对来说挺容易的。从该系统中,系统的分析和设计的调查数据,已经经历了几个月,并且努力了几个月,该系统现在已经完成。很显然,该系统仍有很多不成熟的地方,在系统设计过程中有许多技术缺陷存在。在设计的过程中也涉及到了很多自己无法解决的问题,主要通过找专业的网站和论坛来解决这些问题,对于圆满完成我的毕业设计,他们也贡献了很大一部分力量。
在设计系统的过程中还遇到了一个棘手的问题,那就是自己的英语水平还有待提高,很多关于网站技术开发的资料文献都是英文版的,关键词语以及技术性词汇不能很好的理解。只有在借助翻译软件的实时性翻译功能的辅助下才勉强看懂。显然英语水平的高低直接影响到系统的开发过程。
回顾毕业设计的整个过程,既付出了努力与汗水也收获了很多难以忘怀的美好经历。虽然在系统开发过程中经历了各种各样的困难,自己也在不断研究与探索,可是系统的实现仍有许多不足之处。但是经过系统编程工作的学习让我有了更多的信心,相信在未来的路上我会走的更好。
参考文献
[1]唐小玲. 基于SSM框架的资质管理系统开发解析[J]. 科学技术创新,2022,(26):80-83.
[2]焦宇,李民,王欢,余开朝. 基于MySQL性能调优的推荐系统优化设计[J]. 软件导刊,2022,21(09):108-112.
[3]欧阳桂秀. 基于Java和MySQL的数据库管理系统的设计与实现[J]. 信息记录材料,2022,23(09):240-242.
[4]阮眩龙,张汉权,韦贵凡,唐萍,张捷. 基于SSM框架的奖学金评定管理系统设计[J]. 电脑编程技巧与维护,2022,(08):106-109.
[5]郑戟明,董云朝,柳青. MySQL数据库数据导入导出方法的探讨[J]. 电脑知识与技术,2022,18(22):24-25.
[6]杨卓凡. 基于MySQL不同存储引擎下数据存储效率研究[J]. 电脑知识与技术,2022,18(21):18-20.
[7]甘滨,李祥新,李玉顺,孙雨欣. 关于MySQL数据库的安全基线配置[J]. 网络安全和信息化,2022,(06):165-166.
[8]王淼. MySQL查询优化与研究[J]. 信息记录材料,2022,23(05):227-229.
[9]彭婷. 基于SSM框架的客户关系管理系统的设计与实现[J]. 信息与电脑(理论版),2022,34(08):137-139.
[10]. Design and Implementation of ERP System Based on SSM Framework[J]. ,2020,440(5).
[11]李静. 个人所得税管理系统申报管理模块的设计与实现[D].西安电子科技大学,2019.
[12]Ping Wanxin,Chen Yuankun,Hou Xiaoyan. Design of Campus Bicycle Rental Management System Based on SSM Framework[J]. Journal of Physics: Conference Series,2019,1314.
[13]Wu Jihong,Wang Junmei,Shi Dongling. Design and Research of University International Cooperation Office Platform Based on SSM Framework[A]. Jilin Province Science and Technology (S&T) Innovation Center for Physical Simulation and Security of Water Resources and Electric Power Engineering、The Cooperative Innovation Center of Wind Power Equipment and Energy Conversion, Hunan Institute of Engineering、St. John’s University、Hunan Internet of Things Association.Proceedings of 2019 International Conference on Virtual Reality and Intelligent Systems (ICVRIS 2019) Volume I[C].Jilin Province Science and Technology (S&T) Innovation Center for Physical Simulation and Security of Water Resources and Electric Power Engineering、The Cooperative Innovation Center of Wind Power Equipment and Energy Conversion, Hunan Institute of Engineering、St. John’s University、Hunan Internet of Things Association:第三届数字制造与自动化国际会议(ICDMA2012会务组),2019:229-232.
[14]杨慧. 钦州市个人所得税管理系统的设计与实施[D].电子科技大学,2018.
[15]杨水平. 基于JSP的云龙县地方税务局税收征管系统的设计与实现[D].吉林大学,2016.
[16]谢广军. 税务收缴后台管理系统的研究与实现[D].吉林大学,2016.
[17]曲显斌, 深圳自助理缴税系统. 广东省,深圳金融电子结算中心有限公司,2016-10-25.
[18]邱湘楠. 通辽市地税局税收征管系统的设计与实现[D].东北大学,2015.
[19]孙洪伟. 基于ASP.NET的网上办税服务厅的设计与实现[D].吉林大学,2015.
[20]侯宝光. 天津蓟县地税局税收征管系统的设计与实现[D].电子科技大学,2013.
致 谢
时间过得真快,眨眼之间,大学四年的学习生活即将结束,无论是在学习还是生活的这四年,老师们给了我很多帮助,让我终身受益匪浅。老师们不仅帮我树立了正确的人生观和价值观,还帮我养成了很多好习惯,树立了终身学习的意识。在此,我要对我的所有老师表示衷心的感谢。与此同时,我还要感谢陪伴我在这四年里一起成长的伙伴们。他们给了我无私的帮助和关怀,让我在人生最好的四年中获得许多真诚的友谊。
毕业设计是大学四年的最后一个答卷,我们正忙着这四年的美好结束。在毕业项目主题选择的早期阶段,我很紧张担心自己选择的主题很复杂,难以理解,觉得不能这样做会影响我的毕业。是指导老师给我们提供了毕业设计的主题和具体要求,让我们对毕业设计不要太模糊,如果对主题有任何异议,要及时跟他沟通,并且还帮我们介绍他带过的优秀学哥学姐,对我们进行指导,这样再设计上遇到的问题就可以及时得到解决,对我们完成毕业设计提供好的指导条件。
对于毕业设计项目主要是对我在大学所学的专业知识进行一次综合的考验,让我们通过所学的技术知识可以真正的运用到实际动手开发中,通过项目的开发让我意识到自己很多地方的不足,所学知识的不扎实,不能很好的将自己所学的知识运用到系统实际开发上。后来通过自己在图书馆查阅大量书籍,完成系统的设计大纲,阅读笔记和翻译,毕业设计不仅要考验我们的个人能力,还要测验我们的学习态度,做到细节的事情。对于指导老师的帮助,我的毕业设计才可以顺利的完成,我非常感谢。
最后要感谢我的同学们,是你们不断的帮助、鼓励、熬夜、保持调试,测试程序,最终完成缴税管理系统的运行。我们在交流,谈论时间,将是我们未来的财富,我要深深地感谢你。
毕业在即,在今后的工作和生活中,我会铭记师长们的教诲、同学们的帮助,继续不懈努力和追求,来报答所有支持和帮助过我的人!
请关注点赞+私信博主,免费领取项目源码
本文介绍了开发一个基于SSM(Spring、SpringMVC、MyBatis)框架的缴税管理系统的过程。系统包括管理员和用户两个角色,提供了后台首页、个人信息、修改密码、系统用户管理、模块管理(税法法规、缴税信息、缴税申报、留言信息)等功能。系统采用Java语言和MySQL数据库,实现了数据的增删查改操作,并通过B/S架构提供便捷的在线服务。通过需求分析、系统设计、实现和测试,确保了系统的可行性和实用性。

被折叠的 条评论
为什么被折叠?



