随着我国社会经济的快速发展,对干部队伍的素质要求越来越高,如何科学、公正、准确地评价干部的工作绩效,激励干部发挥出更大的工作潜能,成为了当务之急。近年来,计算机技术和网络技术的飞速发展,为干部考核提供了新的思路和方法。为此,本文提出了一种基于Spring Boot的干部考核系统。Spring Boot是一个成熟、稳定且广泛应用的Java开发框架,它提供了丰富的功能和强大的性能,能够满足开发一个干部考核系统的技术需求。
本文首先阐述了系统的研究背景/意义和研究内容;然后对系统进行了可行性、功能性等分析;接着详细介绍了系统的设计原理和实现细节,包括系统概要设计、整体功能模块设计、数据库设计等;最后对系统进行了部署和测试。本系统的开发旨在通过信息技术手段,实现干部考核的信息化、智能化和规范化,提高考核效率和准确性,为干部选拔任用、激励约束提供有力支持。
关键词:干部考核;Java;Spring Boot
Abstract
With the rapid development of China's social economy, the quality requirements for the cadre team are becoming higher and higher. How to scientifically, fairly, and accurately evaluate the work performance of cadres, motivate them to unleash their greater work potential, has become an urgent task. In recent years, the rapid development of computer technology and network technology has provided new ideas and methods for cadre assessment. Therefore, this article proposes a cadre assessment system based on Spring Boot. Spring Boot is a mature, stable, and widely used Java development framework that provides rich functionality and powerful performance to meet the technical requirements of developing a cadre assessment system.
This article first elaborates on the research background, significance, and content of the system; Then, feasibility and functionality analyses were conducted on the system; Then, the design principles and implementation details of the system were introduced in detail, including system overview design, overall functional module design, database design, etc; Finally, the system was deployed and tested. The development of this system aims to achieve informatization, intelligence, and standardization of cadre assessment through information technology, improve assessment efficiency and accuracy, and provide strong support for cadre selection, appointment, motivation, and constraints.
Keywords:Cadre assessment; Java; Spring Boot
目 录
1 绪论
-
- 研究背景
传统的干部考核方式通常依赖于纸质文档和人工处理,这种方式不仅效率低下,而且容易出现错误和不公正的现象。此外,传统的考核方式难以对干部进行全面、客观、公正的评价,无法满足现代组织对干部考核的高要求。
随着信息技术的不断发展,各行各业都在逐步实现信息化,以提高工作效率和管理水平。干部考核作为组织管理的重要环节,也需要顺应信息化发展的趋势,采用先进的信息技术手段来提高考核效率和准确性。
Spring Boot是一款轻量级、易于上手的Java开发框架,它具有快速构建Web应用程序的能力,并且集成了大量的常用组件和工具,可以大大提高开发效率和便利性。基于Spring Boot开发干部考核系统,可以快速实现系统的搭建和功能开发,同时保证系统的稳定性和可扩展性。
随着我国社会经济的快速发展,政府部门对于干部队伍的建设和管理显得尤为重要。其中,干部考核作为衡量干部综合素质和能力的重要手段,对于优化干部队伍结构、提高政府工作效率具有重要意义。研究基于Spring Boot的干部考核系统的意义主要体现在以下几个方面:
首先,可以提高考核效率。通过自动化和数字化的方式,干部考核系统可以大大减少人工操作的环节,提高考核效率。这不仅可以节省大量时间,还可以减少人为错误,使考核结果更加准确。
其次,可以提升干部管理水平。通过干部考核系统,组织可以更加全面地了解干部的工作表现和能力,从而进行更有针对性的干部培养和管理。这不仅可以提升干部的个人能力,也可以提高整个组织的管理水平。
再次,可以促进干部队伍建设:基于Spring Boot的干部考核系统可以全面、客观地评价干部的业绩和能力,为干部选拔任用提供科学依据,促进干部队伍结构的优化。
最后,有助于促进信息化发展。基于Spring Boot的干部考核系统研究,可以推动组织信息化的进程。通过采用先进的信息化技术手段,可以提高组织的整体工作效率,提升组织的竞争力。
1.3研究内容
- 需求分析:首先,需要对基于Spring Boot的干部考核系统的市场需求进行深入分析。通过需求分析,可以确定系统的定位、功能和特点。
- 系统设计:根据需求分析的结果,设计出符合用户需求的基于Spring Boot的干部考核系统。这包括系统的功能模块设计、数据库设计、安全机制设计等。
- 功能实现:在系统设计的基础上,利用Spring Boot等开发工具,实现系统的各项功
能。主要包括用户管理、测评任务、述职报告管理等功能。
- 安全保障:由于基于Spring Boot的干部考核系统涉及到用户隐私保护,因此系统需要提供严密的安全保障措施。这包括数据加密、身份验证、访问控制等。
- 性能优化:为了提高系统的用户体验和并发处理能力,需要对系统进行性能优化。包括数据库优化、缓存策略、负载均衡等方面。
- 测试与部署:在系统开发完成后,需要进行全面的测试,以确保系统的稳定性和可用性。测试可能包括单元测试、集成测试、安全测试等。测试通过后,可以将系统部署到生产环境,供用户使用。
论文将分层次进行编排,除去论文摘要致谢文献参考部分,正文部分主要结构如下:
第一章:绪论,主要介绍系统的研究背景和意义及研究内容,同时进行了论文整体框架的结构的简要介绍。
第二章:相关技术介绍。主要对系统开发所采用的开发技术进行介绍。
第三章:系统分析。主要对系统进行可行性技术、系统功能分析、用例分析进行介绍。
第四章:系统总体设计。主要是对系统的概要、功能结构、系统数据库进行设计。
第五章:系统的详细设计与实现。主要对系统用户功能的部分运行效果界面进行展示。
第六章:系统测试。主要对系统的主要功能进行测试。
第七章:总结。主要对系统的开发设计工作进行总结。
2相关技术介绍
Spring Boot是一个用于创建独立的、基于Spring的应用程序的框架。它简化了基于Java的应用程序的开发过程,提供了一种快速构建可部署的生产级应用程序的方式。它的主要特点是自动配置和约定优于配置。它通过使用默认值和自动配置来减少开发人员的配置工作量,使开发过程更加简单和高效。它还提供了一个起步依赖(Starter POM)的概念,可以一站式引入相关的依赖库和配置,以快速搭建项目。
它还具有内嵌的Web服务器,如Tomcat或Jetty,这使得应用程序可以作为一个独立的可执行JAR文件运行。此外,它还提供了健康检查、度量指标、安全性等方面的功能,帮助开发人员更好地管理和监控应用程序。它采用了Spring框架的核心功能,如依赖注入、面向切面编程等,并结合了其他开源项目,如Spring Data、Spring Security等,提供了丰富的功能和扩展性。
综上所述,Spring Boot是一个简化了Spring应用程序开发的框架,它提供了自动配置、约定优于配置、起步依赖等特性,使得开发人员可以更加便捷地构建可部署的应用程序。它的出现极大地简化了Java开发过程,提高了开发效率和项目的可维护性。
MySQL 经过多次的更新,功能层面已经非常的丰富和完善了,从MySQL4版本到5版本进行了比较大的更新,在商业的实际使用中取得了很好的实际应用效果。最新版本的MySQL支持对信息的压缩,同时还能进行加密能更好的满足对信息安全性的需求。同时经过系统的多次更新,数据库自身的镜像功能也得到了很大的增强,运行的流畅度和易用性方面有了不小的进步,驱动的使用和创建也更加的高效快捷。最大的变动还是进行了空间信息的显示优化,能更加方便的在应用地图上进行坐标的标注和运算。强大的备份功能也保证了用户使用的过程会更加安心,同时支持的Office特性还支持用户的自行安装和使用。在信息的显示形式上也进行了不小的更新,增加了两个非常使用的显示区,一个是信息区,对表格和文字进行了分类处理,界面的显示更加清爽和具体。第二是仪表的信息控件,能在仪表信息区进行信息的显示,同时还能进行多个信息的比对,为用户的实际使用带来了很大的便捷。
早在上个世纪90年代,Java就由詹姆斯·高斯林进行开发,自诞生之日起,Java就一直深深的受到了程序开发者的广泛喜爱,它作为计算机主要的编程语言,一直到今。Java语言是真的是一种纯面向对象的计算机语言,在Java的世界中,所有的方法、数据类型、符号等都是以类的方式存在的,最顶层的就是Object,所有的类都是对object的继承。继承是Java中的核心思想,与C语言不同的是,子类只有一个父类,这样的好处就是操作更加的简便,让人更容易理解,在代码的书写上也会容易较多。Java另外一个特性就是多态性,调用父类接口的方法可以实现子类的实现,这样的好处就是很好的对实现方法进行了隐藏(封装),而且又能够把API进行公开,一举两得。接口思想很好的诠释了想象对象的思想,让面向对象编程渐渐转向面向接口编程。如今,随着编程思想的继续发展,Java也加入了一些函数式编程的思想,这样的好处就是让编程代码更加的简洁与方便。本管理系统采用Java编程语言进行后台的开发,一是鉴于标准化制定以后,Java语言常用于大型商业应用程序后台系统中,生态稳定;二是也希望通过本系统的开发提高自己编写Java代码的能力。
3系统分析
3.1 可行性分析
Spring Boot是一个成熟、稳定的技术框架,广泛应用于各种Web应用的开发。它提供了丰富的功能和工具,简化了开发过程,降低了开发难度。同时,Spring Boot还具有很好的扩展性和可维护性,可以方便地集成各种第三方库和插件,满足基于Spring Boot的干部考核系统的各种需求。因此,从技术层面来说是可行的。
(2)经济可行性
Spring Boot的自动配置功能可以根据应用程序的依赖和环境来进行自动配置,减少了大量的手动配置工作,可以降低开发成本;另外,Spring Boot的代码质量和可维护性较高,可以降低后期维护成本。因此,从经济角度分析是可行的。
(3)操作可行性
系统采用B/S架构,用户只需要通过浏览器即可访问系统,无需安装额外的软件。同时,系统的操作界面简洁明了,易于理解和使用,用户无需具备专业的计算机知识即可进行操作。因此,从操作角度分析是可行的。
(4)社会可行性
随着信息化的发展,越来越多的组织开始认识到信息化的重要性,并愿意投入资源进行信息化建设。基于Spring Boot的干部考核系统符合信息化发展的趋势,能够满足组织对干部考核的需求。因此,从社会角度分析是可行的。
按照基于Spring Boot的干部考核系统的角色,主要包括管理员、被考核者、评议用户和领导用户这四大功能模块,各模块功能内容如下:
1.管理员用户功能
- 登录:管理员的账号和密码是事先在数据库中设定好的,管理员可以通过在输入正确的账号和密码进行登录。
- 主页:管理员可以查看主页展示的相关信息。
- 用户管理:管理员负责对评议用户、被考核者、领导用户的账号添加,可以对系统用户信息进行增删改查操作。
- 部门信息:管理员可以查看部门信息列表中某个部门的详情,可以对部门信息进行增删改查操作操作。
- 测评任务:管理员可以查看测评任务列表中某个测评任务的详情和上传报告,可以对测评任务信息进行增删改查操作。
- 述职报告:管理员可以查看述职报告列表中某个报告的详情和测评票数信息,可以对述职报告信息进行增删改查操作。
- 测评票数:管理员可以查看测评票数列表中某个测评项目的测评票数详情并提交分类评价和总体评价信息,管理员可以对测评票数信息进行增删改查操作。
- 分类评价:管理员可以查看分类评价列表中某个项目的测评对象的分类评价的详情,可以对分类评价信息进行增删改查操作。
- 总体评价:管理员可以查看总体评价列表中某个项目的测评对象的总体评价的详情,可以对总体评价信息进行增删改查操作。
- 个人信息:管理员可以修改个人头像、邮箱等基本信息。
- 修改密码:管理员可以修改登录密码,修改后可以用新密码登录系统。
- 退出:点击“退出”即可退出系统登录。
- 被考核者功能
- 登录:被考核者账号由管理员添加,用户可以用管理员提供的账号密码登录系统。
- 主页:用户可以查看主页展示的相关信息。
- 部门信息:用户可以查看部门信息列表中某个部门的详情,可以查询和重置部门信息。
- 测评任务:用户可以查看测评任务列表中某个测评任务的详情和上传报告,可以对列表信息进行查询和重置操作。
- 述职报告:用户可以查看述职报告列表中某个报告的详情并可以下载报告文件,可以对述职报告信息进行增删改查操作。
- 测评票数:用户可以查看测评票数列表中某个测评项目的测评票数的详情,可以对列表信息进行查询和重置操作。
- 分类评价:用户可以查看分类评价列表中某个测评项目的分类评价的详情,可以对列表信息进行查询和重置操作。
- 总体评价:用户可以查看工体评价列表中某个测评项目的总体评价的详情,可以对列表信息进行查询和重置操作。
- 个人信息:用户可以修改个人头像、邮箱等基本信息。
- 修改密码:用户可以修改登录密码,修改后可以用新密码登录系统。
- 退出:点击“退出”即可退出系统登录。
- 评议用户功能
- 登录:评议员账号由管理员添加,用户可以用管理员提供的账号密码登录系统。
- 主页:用户可以查看主页展示的相关信息。
- 部门信息:用户可以查看部门信息列表中某个部门的详情,可以查询和重置部门信息。
- 测评任务:用户可以查看测评任务列表中某个任务的详情,可以查询和重置测评任务信息。
- 述职报告:用户可以查看述职报告列表中某个报告的详情并可以提交测评票数信息,可以对述职报告信息进行查询和重置操作
- 测评票数:用户可以查看测评票数列表中某个测评象的测评票数的详情,可以对测评票数信息进行增删改查操作。
- 分类评价:用户可以查看分类评价列表中某个测评项目的分类评价的详情,可以对列表信息进行查询和重置操作。
- 总体评价:用户可以查看工体评价列表中某个测评项目的总体评价的详情,可以对列表信息进行查询和重置操作。
- 个人信息:用户可以修改个人头像、邮箱等基本信息。
- 修改密码:用户可以修改登录密码,修改后可以用新密码登录系统。
- 退出:点击“退出”即可退出系统登录。
- 领导用户功能
- 登录:领导账号由管理员添加,用户可以用管理员提供的账号密码登录系统。
- 主页:用户可以查看主页展示的相关信息。
- 部门信息:用户可以查看部门信息列表中某个部门的详情,可以查询和重置部门信息。
- 测评任务:用户可以查看测评任务列表中某个任务的详情,可以查询和重置测评任务信息。
- 述职报告:用户可以查看述职报告列表中某个报告的详情,可以对述职报告信息进行查询和重置操作。
- 测评票数:用户可以查看测评票数列表中某个测评象的测评票数的详情,可以对测评票数信息进行查询和重置操作。
- 分类评价:用户可以查看分类评价列表中某个测评项目的分类评价的详情,可以对列表信息进行查询和重置操作。
- 总体评价:用户可以查看工体评价列表中某个测评项目的总体评价的详情,可以对列表信息进行查询和重置操作。
- 个人信息:用户可以修改个人头像、邮箱等基本信息。
- 修改密码:用户可以修改登录密码,修改后可以用新密码登录系统。
- 退出:点击“退出”即可退出系统登录。
3.3 系统用例分析
通过3.2功能的分析,得出了本系统的用例图:
管理员用例图如下图3-1所示。

图3-1 管理员用例图
被考核者用例图如下图3-2所示。

图3-2 被考核者用例图
评议用户用例图如下图3-3所示。

图3-3 评议用户用例图
领导用户用例图如下图3-4所示。

图3-4 领导用户用例图
3.4系统流程分析
系统流程是用一些特定的符合和线条来进行演示用户在使用系统时的过程,在进行系统分析的时候,业务流程可以帮助开发人员更好的理解业务,发现错误,完善系统。
用户通过登录才能访问系统及权限以内的功能,对此将实现各种应用及管理等功能,用户登录流程图如下图3-5所示。

图3-5用户登录流程图
3.4.2 数据删除流程
如果系统里面存在一些没有用的数据,相关的管理人员还可以对这些数据进行删除,数据删除时流程图如下图3-6所示。

图3-6 数据删除流程图
3.5本章小结
本章主要通过对基于Spring Boot的干部考核系统的可行性分析、流程分析、功能需求分析、系统用例分析,确定整个基于Spring Boot的干部考核系统要实现的功能。同时也为基于Spring Boot的干部考核系统的代码实现和测试提供了标准。
本章主要讨论的内容包括基于Spring Boot的干部考核系统的概要设计、功能模块设计、数据库系统设计。
4.1 系统概要设计
基于Spring Boot的干部考核系统选择B/S结构(Browser/Server,浏览器/服务器结构)和基于Web服务两种模式。适合在互联网上进行操作,只要用户能连网,任何时间、任何地点都可以进行系统的操作使用。系统工作原理图如图4-1所示:

图4-1 系统工作原理图
4.2 系统功能模块设计
4.2.1整体功能模块设计
在上一章节中主要对系统的功能性需求和非功能性需求进行分析,并且根据需求分析了本系统中的用例。接下来对本系统的主要功能和数据库开始进行设计。根据前面章节的需求分析得出,本系统的整体功能模块图如图4-2所示。

图4-2 系统整体功能模块图
4.2.2系统用户模块设计
系统用户模块是系统中一个重要的功能模块,它涉及用户的注册、登录、个人信息管理等操作。在用户模块设计中,我们将定义用户数据的结构和属性,包括用户名、密码、邮箱等。同时,还需要实现用户注册、登录、修改密码等功能,并对用户输入进行验证和处理。用户管理模块的结构图如下图4-3所示:

图4-3系统用户模块结构图
4.2.3测评任务模块设计
测评任务模块是本系统中的重要功能之一。该模块的设计旨在提供对测评任务的发布、编辑、删除和查看等管理功能,以便及时、准确地向系统用户发布相关的测评任务。其模块功能结构图如下图4-4所示:

图4-4测评任务模块结构图
4.3 数据库设计
数据库设计一般包括需求分析、概念模型设计、数据库表建立三大过程,其中需求分析前面章节已经阐述,概念模型设计有概念模型和逻辑结构设计两部分。
4.3.1 数据库概念结构设计
在数据库概念模型设计的时候,一般都采用E-R实体图进行展示,在实体图中可以展示出数据库表中的所有字段名称,基于Spring Boot的干部考核系统中的主要的数据库E-R模型图如下图4-5、4-6、4-7、4-8所示。

图4-5部门信息E-R图

图4-6测评任务信息E-R图

图4-7述职报告信息E-R图

图4-8总体评价信息E-R图
4.3.2 数据库逻辑结构设计
通过上一小节中基于Spring Boot的干部考核系统中总E-R关系图上得出一共需要创建很多个数据表。在此主要罗列几个主要的数据库表结构设计。
表access_token (登陆访问时长)
| 编号 | 名称 | 数据类型 | 长度 | 小数位 | 允许空值 | 主键 | 默认值 | 说明 |
| 1 | token_id | int | 10 | 0 | N | Y | 临时访问牌ID | |
| 2 | token | varchar | 64 | 0 | Y | N | 临时访问牌 | |
| 3 | info | text | 65535 | 0 | Y | N | ||
| 4 | maxage | int | 10 | 0 | N | N | 2 | 最大寿命:默认2小时 |
| 5 | create_time | timestamp | 19 | 0 | N | N | CURRENT_TIMESTAMP | 创建时间: |
| 6 | update_time | timestamp | 19 | 0 | N | N | CURRENT_TIMESTAMP | 更新时间: |
| 7 | user_id | int | 10 | 0 | N | N | 0 | 用户编号: |
表assessee (被考核者)
| 编号 | 名称 | 数据类型 | 长度 | 小数位 | 允许空值 | 主键 | 默认值 | 说明 |
| 1 | assessee_id | int | 10 | 0 | N | Y | 被考核者ID | |
| 2 | assessed_personnel | varchar | 64 | 0 | Y | N | 被考核人员 | |
| 3 | department_name | varchar | 64 | 0 | Y | N | 部门名称 | |
| 4 | job_title | varchar | 64 | 0 | Y | N | 职位名称 | |
| 5 | examine_state | varchar | 16 | 0 | N | N | 已通过 | 审核状态 |
| 6 | user_id | int | 10 | 0 | N | N | 0 | 用户ID |
| 7 | create_time | datetime | 19 | 0 | N | N | CURRENT_TIMESTAMP | 创建时间 |
| 8 | update_time | timestamp | 19 | 0 | N | N | CURRENT_TIMESTAMP | 更新时间 |
表assessment_tasks (测评任务)
| 编号 | 名称 | 数据类型 | 长度 | 小数位 | 允许空值 | 主键 | 默认值 | 说明 |
| 1 | assessment_tasks_id | int | 10 | 0 | N | Y | 测评任务ID | |
| 2 | evaluation_items | varchar | 64 | 0 | Y | N | 测评项目 | |
| 3 | evaluation_category | varchar | 64 | 0 | Y | N | 测评类别 | |
| 4 | start_time | datetime | 19 | 0 | Y | N | 开始时间 | |
| 5 | end_time | datetime | 19 | 0 | Y | N | 结束时间 | |
| 6 | evaluation_object | varchar | 64 | 0 | Y | N | 测评对象 | |
| 7 | evaluation_indicators | text | 65535 | 0 | Y | N | 测评指标 | |
| 8 | evaluation_content | text | 65535 | 0 | Y | N | 测评内容 | |
| 9 | evaluation_rules | text | 65535 | 0 | Y | N | 测评规则 | |
| 10 | create_time | datetime | 19 | 0 | N | N | CURRENT_TIMESTAMP | 创建时间 |
| 11 | update_time | timestamp | 19 | 0 | N | N | CURRENT_TIMESTAMP | 更新时间 |
表auth (用户权限管理)
| 编号 | 名称 | 数据类型 | 长度 | 小数位 | 允许空值 | 主键 | 默认值 | 说明 |
| 1 | auth_id | int | 10 | 0 | N | Y | 授权ID: | |
| 2 | user_group | varchar | 64 | 0 | Y | N | 用户组: | |
| 3 | mod_name | varchar | 64 | 0 | Y | N | 模块名: | |
| 4 | table_name | varchar | 64 | 0 | Y | N | 表名: | |
| 5 | page_title | varchar | 255 | 0 | Y | N | 页面标题: | |
| 6 | path | varchar | 255 | 0 | Y | N | 路由路径: | |
| 7 | position | varchar | 32 | 0 | Y | N | 位置: | |
| 8 | mode | varchar | 32 | 0 | N | N | _blank | 跳转方式: |
| 9 | add | tinyint | 3 | 0 | N | N | 1 | 是否可增加: |
| 10 | del | tinyint | 3 | 0 | N | N | 1 | 是否可删除: |
| 11 | set | tinyint | 3 | 0 | N | N | 1 | 是否可修改: |
| 12 | get | tinyint | 3 | 0 | N | N | 1 | 是否可查看: |
| 13 | field_add | text | 65535 | 0 | Y | N | 添加字段: | |
| 14 | field_set | text | 65535 | 0 | Y | N | 修改字段: | |
| 15 | field_get | text | 65535 | 0 | Y | N | 查询字段: | |
| 16 | table_nav_name | varchar | 500 | 0 | Y | N | 跨表导航名称: | |
| 17 | table_nav | varchar | 500 | 0 | Y | N | 跨表导航: | |
| 18 | option | text | 65535 | 0 | Y | N | 配置: | |
| 19 | create_time | timestamp | 19 | 0 | N | N | CURRENT_TIMESTAMP | 创建时间: |
| 20 | update_time | timestamp | 19 | 0 | N | N | CURRENT_TIMESTAMP | 更新时间: |
表classification_evaluation (分类评价)
| 编号 | 名称 | 数据类型 | 长度 | 小数位 | 允许空值 | 主键 | 默认值 | 说明 |
| 1 | classification_evaluation_id | int | 10 | 0 | N | Y | 分类评价ID | |
| 2 | evaluation_items | varchar | 64 | 0 | Y | N | 测评项目 | |
| 3 | evaluation_category | varchar | 64 | 0 | Y | N | 测评类别 | |
| 4 | start_time | datetime | 19 | 0 | Y | N | 开始时间 | |
| 5 | end_time | datetime | 19 | 0 | Y | N | 结束时间 | |
| 6 | evaluation_object | varchar | 64 | 0 | Y | N | 测评对象 | |
| 7 | upload_users | int | 10 | 0 | Y | N | 0 | 上传用户 |
| 8 | department_name | varchar | 64 | 0 | Y | N | 部门名称 | |
| 9 | job_title | varchar | 64 | 0 | Y | N | 职位名称 | |
| 10 | submission_time | datetime | 19 | 0 | Y | N | 上交时间 | |
| 11 | report_name | varchar | 64 | 0 | Y | N | 报告名称 | |
| 12 | excellent_votes | varchar | 64 | 0 | Y | N | 优秀票数 | |
| 13 | excellent_proportion | varchar | 64 | 0 | Y | N | 优秀占比 | |
| 14 | number_of_competent_votes | varchar | 64 | 0 | Y | N | 称职票数 | |
| 15 | competent_proportion | varchar | 64 | 0 | Y | N | 称职占比 | |
| 16 | basic_competence | varchar | 64 | 0 | Y | N | 基本称职 | |
| 17 | basic_proportion | varchar | 64 | 0 | Y | N | 基本占比 | |
| 18 | unqualified_quantity | varchar | 64 | 0 | Y | N | 不合格数 | |
| 19 | unqualified_proportion | varchar | 64 | 0 | Y | N | 不合格比例 | |
| 20 | total_valid_votes | varchar | 64 | 0 | Y | N | 总有效票 | |
| 21 | classification_rating | varchar | 64 | 0 | Y | N | 分类评分 | |
| 22 | create_time | datetime | 19 | 0 | N | N | CURRENT_TIMESTAMP | 创建时间 |
| 23 | update_time | timestamp | 19 | 0 | N | N | CURRENT_TIMESTAMP | 更新时间 |
表department_information (部门信息)
| 编号 | 名称 | 数据类型 | 长度 | 小数位 | 允许空值 | 主键 | 默认值 | 说明 |
| 1 | department_information_id | int | 10 | 0 | N | Y | 部门信息ID | |
| 2 | department_name | varchar | 64 | 0 | Y | N | 部门名称 | |
| 3 | department_leaders | varchar | 64 | 0 | Y | N | 部门领导 | |
| 4 | department_headcount | varchar | 64 | 0 | Y | N | 部门人数 | |
| 5 | department_personnel | text | 65535 | 0 | Y | N | 部门人员 | |
| 6 | department_responsibilities | text | 65535 | 0 | Y | N | 部门职责 | |
| 7 | create_time | datetime | 19 | 0 | N | N | CURRENT_TIMESTAMP | 创建时间 |
| 8 | update_time | timestamp | 19 | 0 | N | N | CURRENT_TIMESTAMP | 更新时间 |
表hits (用户点击)
| 编号 | 名称 | 数据类型 | 长度 | 小数位 | 允许空值 | 主键 | 默认值 | 说明 |
| 1 | hits_id | int | 10 | 0 | N | Y | 点赞ID: | |
| 2 | user_id | int | 10 | 0 | N | N | 0 | 点赞人: |
| 3 | create_time | timestamp | 19 | 0 | N | N | CURRENT_TIMESTAMP | 创建时间: |
| 4 | update_time | timestamp | 19 | 0 | N | N | CURRENT_TIMESTAMP | 更新时间: |
| 5 | source_table | varchar | 255 | 0 | Y | N | 来源表: | |
| 6 | source_field | varchar | 255 | 0 | Y | N | 来源字段: | |
| 7 | source_id | int | 10 | 0 | N | N | 0 | 来源ID: |
表leading_users (领导用户)
| 编号 | 名称 | 数据类型 | 长度 | 小数位 | 允许空值 | 主键 | 默认值 | 说明 |
| 1 | leading_users_id | int | 10 | 0 | N | Y | 领导用户ID | |
| 2 | leader_no | varchar | 64 | 0 | N | N | 领导工号 | |
| 3 | leader_name | varchar | 64 | 0 | Y | N | 领导姓名 | |
| 4 | department_name | varchar | 64 | 0 | Y | N | 部门名称 | |
| 5 | position_name | varchar | 64 | 0 | Y | N | 职位名称 | |
| 6 | examine_state | varchar | 16 | 0 | N | N | 已通过 | 审核状态 |
| 7 | user_id | int | 10 | 0 | N | N | 0 | 用户ID |
| 8 | create_time | datetime | 19 | 0 | N | N | CURRENT_TIMESTAMP | 创建时间 |
| 9 | update_time | timestamp | 19 | 0 | N | N | CURRENT_TIMESTAMP | 更新时间 |
表number_of_evaluation_votes (测评票数)
| 编号 | 名称 | 数据类型 | 长度 | 小数位 | 允许空值 | 主键 | 默认值 | 说明 |
| 1 | number_of_evaluation_votes_id | int | 10 | 0 | N | Y | 测评票数ID | |
| 2 | evaluation_items | varchar | 64 | 0 | Y | N | 测评项目 | |
| 3 | evaluation_category | varchar | 64 | 0 | Y | N | 测评类别 | |
| 4 | start_time | datetime | 19 | 0 | Y | N | 开始时间 | |
| 5 | end_time | datetime | 19 | 0 | Y | N | 结束时间 | |
| 6 | evaluation_object | varchar | 64 | 0 | Y | N | 测评对象 | |
| 7 | upload_users | int | 10 | 0 | Y | N | 0 | 上传用户 |
| 8 | department_name | varchar | 64 | 0 | Y | N | 部门名称 | |
| 9 | job_title | varchar | 64 | 0 | Y | N | 职位名称 | |
| 10 | submission_time | datetime | 19 | 0 | Y | N | 上交时间 | |
| 11 | report_name | varchar | 64 | 0 | Y | N | 报告名称 | |
| 12 | reviewers | int | 10 | 0 | Y | N | 0 | 评测人员 |
| 13 | personnel_name | varchar | 64 | 0 | Y | N | 人员姓名 | |
| 14 | personnel_no | varchar | 64 | 0 | Y | N | 人员工号 | |
| 15 | personnel_identity | varchar | 64 | 0 | Y | N | 人员身份 | |
| 16 | rating_score | varchar | 64 | 0 | Y | N | 评定分数 | |
| 17 | assessment_category | varchar | 64 | 0 | Y | N | 评定类别 | |
| 18 | evaluation_description | text | 65535 | 0 | Y | N | 测评说明 | |
| 19 | create_time | datetime | 19 | 0 | N | N | CURRENT_TIMESTAMP | 创建时间 |
| 20 | update_time | timestamp | 19 | 0 | N | N | CURRENT_TIMESTAMP | 更新时间 |
表overall_evaluation (总体评价)
| 编号 | 名称 | 数据类型 | 长度 | 小数位 | 允许空值 | 主键 | 默认值 | 说明 |
| 1 | overall_evaluation_id | int | 10 | 0 | N | Y | 总体评价ID | |
| 2 | evaluation_items | varchar | 64 | 0 | Y | N | 测评项目 | |
| 3 | evaluation_category | varchar | 64 | 0 | Y | N | 测评类别 | |
| 4 | start_time | datetime | 19 | 0 | Y | N | 开始时间 | |
| 5 | end_time | datetime | 19 | 0 | Y | N | 结束时间 | |
| 6 | evaluation_object | varchar | 64 | 0 | Y | N | 测评对象 | |
| 7 | upload_users | int | 10 | 0 | Y | N | 0 | 上传用户 |
| 8 | department_name | varchar | 64 | 0 | Y | N | 部门名称 | |
| 9 | job_title | varchar | 64 | 0 | Y | N | 职位名称 | |
| 10 | submission_time | datetime | 19 | 0 | Y | N | 上交时间 | |
| 11 | report_name | varchar | 64 | 0 | Y | N | 报告名称 | |
| 12 | leadership_evaluation | varchar | 64 | 0 | Y | N | 领导评定 | |
| 13 | leadership_proportion | varchar | 64 | 0 | Y | N | 领导占比 | |
| 14 | middle_level_evaluation | varchar | 64 | 0 | Y | N | 中层评定 | |
| 15 | middle_level_proportion | varchar | 64 | 0 | Y | N | 中层占比 | |
| 16 | other_evaluations | varchar | 64 | 0 | Y | N | 其他评定 | |
| 17 | other_proportions | varchar | 64 | 0 | Y | N | 其他占比 | |
| 18 | overall_rating | varchar | 64 | 0 | Y | N | 总体评分 | |
| 19 | create_time | datetime | 19 | 0 | N | N | CURRENT_TIMESTAMP | 创建时间 |
| 20 | update_time | timestamp | 19 | 0 | N | N | CURRENT_TIMESTAMP | 更新时间 |
表review_users (评议用户)
| 编号 | 名称 | 数据类型 | 长度 | 小数位 | 允许空值 | 主键 | 默认值 | 说明 |
| 1 | review_users_id | int | 10 | 0 | N | Y | 评议用户ID | |
| 2 | personnel_name | varchar | 64 | 0 | Y | N | 人员姓名 | |
| 3 | personnel_no | varchar | 64 | 0 | N | N | 人员工号 | |
| 4 | department_name | varchar | 64 | 0 | Y | N | 部门名称 | |
| 5 | personnel_identity | varchar | 64 | 0 | Y | N | 人员身份 | |
| 6 | examine_state | varchar | 16 | 0 | N | N | 已通过 | 审核状态 |
| 7 | user_id | int | 10 | 0 | N | N | 0 | 用户ID |
| 8 | create_time | datetime | 19 | 0 | N | N | CURRENT_TIMESTAMP | 创建时间 |
| 9 | update_time | timestamp | 19 | 0 | N | N | CURRENT_TIMESTAMP | 更新时间 |
表upload (文件上传)
| 编号 | 名称 | 数据类型 | 长度 | 小数位 | 允许空值 | 主键 | 默认值 | 说明 |
| 1 | upload_id | int | 10 | 0 | N | Y | 上传ID | |
| 2 | name | varchar | 64 | 0 | Y | N | 文件名 | |
| 3 | path | varchar | 255 | 0 | Y | N | 访问路径 | |
| 4 | file | varchar | 255 | 0 | Y | N | 文件路径 | |
| 5 | display | varchar | 255 | 0 | Y | N | 显示顺序 | |
| 6 | father_id | int | 10 | 0 | Y | N | 0 | 父级ID |
| 7 | dir | varchar | 255 | 0 | Y | N | 文件夹 | |
| 8 | type | varchar | 32 | 0 | Y | N | 文件类型 |
表user (用户账户:用于保存用户登录信息)
| 编号 | 名称 | 数据类型 | 长度 | 小数位 | 允许空值 | 主键 | 默认值 | 说明 |
| 1 | user_id | mediumint | 8 | 0 | N | Y | 用户ID:[0,8388607]用户获取其他与用户相关的数据 | |
| 2 | state | smallint | 5 | 0 | N | N | 1 | 账户状态:[0,10](1可用|2异常|3已冻结|4已注销) |
| 3 | user_group | varchar | 32 | 0 | Y | N | 所在用户组:[0,32767]决定用户身份和权限 | |
| 4 | login_time | timestamp | 19 | 0 | N | N | CURRENT_TIMESTAMP | 上次登录时间: |
| 5 | phone | varchar | 11 | 0 | Y | N | 手机号码:[0,11]用户的手机号码,用于找回密码时或登录时 | |
| 6 | phone_state | smallint | 5 | 0 | N | N | 0 | 手机认证:[0,1](0未认证|1审核中|2已认证) |
| 7 | username | varchar | 16 | 0 | N | N | 用户名:[0,16]用户登录时所用的账户名称 | |
| 8 | nickname | varchar | 16 | 0 | Y | N | 昵称:[0,16] | |
| 9 | password | varchar | 64 | 0 | N | N | 密码:[0,32]用户登录所需的密码,由6-16位数字或英文组成 | |
| 10 | | varchar | 64 | 0 | Y | N | 邮箱:[0,64]用户的邮箱,用于找回密码时或登录时 | |
| 11 | email_state | smallint | 5 | 0 | N | N | 0 | 邮箱认证:[0,1](0未认证|1审核中|2已认证) |
| 12 | avatar | varchar | 255 | 0 | Y | N | 头像地址:[0,255] | |
| 13 | open_id | varchar | 255 | 0 | Y | N | 针对获取用户信息字段 | |
| 14 | create_time | timestamp | 19 | 0 | N | N | CURRENT_TIMESTAMP | 创建时间: |
| 15 | vip_level | varchar | 255 | 0 | Y | N | 会员等级 | |
| 16 | vip_discount | double | 11 | 2 | Y | N | 0.00 | 会员折扣 |
表user_group (用户组:用于用户前端身份和鉴权)
| 编号 | 名称 | 数据类型 | 长度 | 小数位 | 允许空值 | 主键 | 默认值 | 说明 |
| 1 | group_id | mediumint | 8 | 0 | N | Y | 用户组ID:[0,8388607] | |
| 2 | display | smallint | 5 | 0 | N | N | 100 | 显示顺序:[0,1000] |
| 3 | name | varchar | 16 | 0 | N | N | 名称:[0,16] | |
| 4 | description | varchar | 255 | 0 | Y | N | 描述:[0,255]描述该用户组的特点或权限范围 | |
| 5 | source_table | varchar | 255 | 0 | Y | N | 来源表: | |
| 6 | source_field | varchar | 255 | 0 | Y | N | 来源字段: | |
| 7 | source_id | int | 10 | 0 | N | N | 0 | 来源ID: |
| 8 | register | smallint | 5 | 0 | Y | N | 0 | 注册位置: |
| 9 | create_time | timestamp | 19 | 0 | N | N | CURRENT_TIMESTAMP | 创建时间: |
| 10 | update_time | timestamp | 19 | 0 | N | N | CURRENT_TIMESTAMP | 更新时间: |
表work_report (述职报告)
| 编号 | 名称 | 数据类型 | 长度 | 小数位 | 允许空值 | 主键 | 默认值 | 说明 |
| 1 | work_report_id | int | 10 | 0 | N | Y | 述职报告ID | |
| 2 | evaluation_items | varchar | 64 | 0 | Y | N | 测评项目 | |
| 3 | evaluation_category | varchar | 64 | 0 | Y | N | 测评类别 | |
| 4 | start_time | datetime | 19 | 0 | Y | N | 开始时间 | |
| 5 | end_time | datetime | 19 | 0 | Y | N | 结束时间 | |
| 6 | evaluation_object | varchar | 64 | 0 | Y | N | 测评对象 | |
| 7 | upload_users | int | 10 | 0 | Y | N | 0 | 上传用户 |
| 8 | department_name | varchar | 64 | 0 | Y | N | 部门名称 | |
| 9 | job_title | varchar | 64 | 0 | Y | N | 职位名称 | |
| 10 | submission_time | datetime | 19 | 0 | Y | N | 上交时间 | |
| 11 | report_name | varchar | 64 | 0 | Y | N | 报告名称 | |
| 12 | report_file | varchar | 255 | 0 | Y | N | 报告文件 | |
| 13 | create_time | datetime | 19 | 0 | N | N | CURRENT_TIMESTAMP | 创建时间 |
| 14 | update_time | timestamp | 19 | 0 | N | N | CURRENT_TIMESTAMP | 更新时间 |
4.4本章小结
整个基于Spring Boot的干部考核系统的需求分析主要对系统的概要设计以及功能模块的设计,通过建立E-R模型和数据库逻辑系统设计完成了数据库系统设计。
5 系统详细设计与实现
5.1管理员功能模块
管理员负责对评议用户、被考核者、领导用户的账号添加,可以对系统用户信息进行增删改查操作。点击“下载导入文档”可以下载文档模版,点击“导入”可以导入文档,完成批量用户信息的添加。因数据采用加密处理,批量导入的账户密码不能直接使用,需通过找回密码的方式登录。其界面如下图5-1所示。

图5-1用户管理界面图
上传文件的代码如下:
@PostMapping("/upload")
public Map<String, Object> upload(@RequestParam("file") MultipartFile file) {
log.info("进入方法");
if (file.isEmpty()) {
return error(30000, "没有选择文件");
}
try {
String filePath = System.getProperty("user.dir") + "/src/main/resources/static/";
File targetDir = new File(filePath);
if (!targetDir.exists() && !targetDir.isDirectory()) {
if (targetDir.mkdirs()) {
log.info("创建目录成功");
} else {
log.error("创建目录失败");
}
}
String fileName = file.getOriginalFilename();
File dest = new File(filePath + fileName);
log.info("文件路径:{}", dest.getPath());
log.info("文件名:{}", dest.getName());
file.transferTo(dest);
JSONObject jsonObject = new JSONObject();
jsonObject.put("url", "/api/upload/" + fileName);
return success(jsonObject);
} catch (IOException e) {
log.info("上传失败:{}", e.getMessage());
}
return error(30000, "上传失败");
}
管理员可以查看部门信息列表中某个部门的详情,可以对部门信息进行增删改查操作操作。点击“新增”进入页面填写部门名称、部门领导、部门人数等信息后点击“确认”即可完成部门信息的添加。其界面如下图5-2所示。

图5-2部门信息管理界面图
新增的代码如下:
@PostMapping("/add")
@Transactional
public Map<String, Object> add(HttpServletRequest request) throws IOException {
service.insert(service.readBody(request.getReader()));
return success(1);
}
public Map<String, Object> addMap(Map<String,Object> map){
service.insert(map);
return success(1);
}
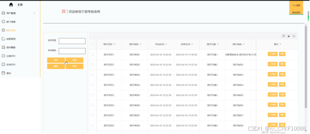
管理员可以查看测评任务列表中某个测评任务的详情和上传报告,可以对测评任务信息进行增删改查操作。点击“新增”进入页面填写测评项目、测评类别、测评对象等信息后点击“确认”即可完成测评任务的添加。其界面如下图5-3所示。

图5-3测评任务管理界面图
删除的代码如下:
@RequestMapping(value = "/del")
@Transactional
public Map<String, Object> del(HttpServletRequest request) {
service.delete(service.readQuery(request), service.readConfig(request));
return success(1);
}
@Transactional
public void delete(Map<String,String> query,Map<String,String> config){
QueryWrapper wrapper = new QueryWrapper<E>();
toWhereWrapper(query, "0".equals(config.get(FindConfig.GROUP_BY)),wrapper);
baseMapper.delete(wrapper);
log.info("[{}] - 删除操作:{}",wrapper.getSqlSelect());
}
管理员可以查看测评票数列表中某个测评项目的测评票数详情并提交分类评价和总体评价信息,管理员根据测评的数据进行分类和总体数据评价填写。管理员可以对测评票数信息进行增删改查操作。其界面如下图5-4所示。

图5-4测评票数管理界面图
管理员可以查看分类评价列表中某个项目的测评对象的分类评价的详情,可以对分类评价信息进行增删改查操作。其界面如下图5-5所示。

图5-5分类评价界面图
用户可以通过管理员提供的账号密码登录系统。用户需要输入正确的用户名、密码和验证码才能成功登录系统。登录界面应对用户的输入进行验证,并提供找回密码的选项。其界面如下图5-6所示。

图5-6用户登录界面图
登录的代码如下:
/**
* 登录
* @param data
* @param httpServletRequest
* @return
*/
@PostMapping("login")
public Map<String, Object> login(@RequestBody Map<String, String> data, HttpServletRequest httpServletRequest) {
log.info("[执行登录接口]");
String username = data.get("username");
String email = data.get("email");
String phone = data.get("phone");
String password = data.get("password");
List resultList = null;
Map<String, String> map = new HashMap<>();
if(username != null && "".equals(username) == false){
map.put("username", username);
resultList = service.selectBaseList(service.select(map, new HashMap<>()));
}
else if(email != null && "".equals(email) == false){
map.put("email", email);
resultList = service.selectBaseList(service.select(map, new HashMap<>()));
}
else if(phone != null && "".equals(phone) == false){
map.put("phone", phone);
resultList = service.selectBaseList(service.select(map, new HashMap<>()));
}else{
return error(30000, "账号或密码不能为空");
}
if (resultList == null || password == null) {
return error(30000, "账号或密码不能为空");
}
//判断是否有这个用户
if (resultList.size()<=0){
return error(30000,"用户不存在");
}
User byUsername = (User) resultList.get(0);
Map<String, String> groupMap = new HashMap<>();
groupMap.put("name",byUsername.getUserGroup());
List groupList = userGroupService.selectBaseList(userGroupService.select(groupMap, new HashMap<>()));
if (groupList.size()<1){
return error(30000,"用户组不存在");
}
UserGroup userGroup = (UserGroup) groupList.get(0);
//查询用户审核状态
if (!StringUtils.isEmpty(userGroup.getSourceTable())){
String res = service.selectExamineState(userGroup.getSourceTable(),byUsername.getUserId());
if (res==null){
return error(30000,"用户不存在");
}
if (!res.equals("已通过")){
return error(30000,"该用户审核未通过");
}
}
//查询用户状态
if (byUsername.getState()!=1){
return error(30000,"用户非可用状态,不能登录");
}
String md5password = service.encryption(password);
if (byUsername.getPassword().equals(md5password)) {
// 存储Token到数据库
AccessToken accessToken = new AccessToken();
accessToken.setToken(UUID.randomUUID().toString().replaceAll("-", ""));
accessToken.setUser_id(byUsername.getUserId());
Duration duration = Duration.ofSeconds(7200L);
redisTemplate.opsForValue().set(accessToken.getToken(), accessToken,duration);
// 返回用户信息
JSONObject user = JSONObject.parseObject(JSONObject.toJSONString(byUsername));
user.put("token", accessToken.getToken());
JSONObject ret = new JSONObject();
ret.put("obj",user);
return success(ret);
} else {
return error(30000, "账号或密码不正确");
}
}
用户点击右上角的“修改密码”进入页面填写原始密码、新密码、请确认新密码信息后点击“确认”即可完成密码的修改,修改后可以用新密码登录系统。其主界面展示如下图5-7所示。

图5-7 修改密码界面图
修改密码的代码如下:
@PostMapping("change_password")
public Map<String, Object> change_password(@RequestBody Map<String, String> data, HttpServletRequest request){
String token = request.getHeader("x-auth-token");
Integer userId = tokenGetUserId(token);
Map<String, String> query = new HashMap<>();
String o_password = data.get("o_password");
query.put("user_id" ,String.valueOf(userId));
query.put("password" ,service.encryption(o_password));
int count = service.selectBaseCount(service.count(query, service.readConfig(request)));
if(count > 0){
Map<String,Object> form = new HashMap<>();
form.put("password",service.encryption(data.get("password")));
service.update(query,service.readConfig(request),form);
return success(1);
}
return error(10000,"密码修改失败!");
}
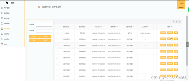
用户可以查看测评任务列表中某个测评任务的详情和上传报告,点击“上传报告”进入页面填写被考核人、报告名称等信息并上传报告文件后点击“提交”即可完成测评报告的提交。其界面如下图5-8所示。

图5-8 测评任务界面图
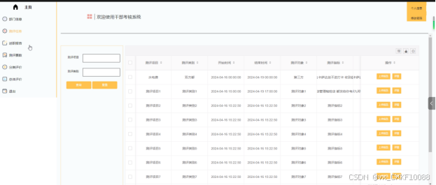
用户可以查看述职报告列表中某个报告的详情并可以下载报告文件,可以对述职报告信息进行增删改查操作。其界面如下图5-9所示。

图5-9 述职报告界面图
用户可以查看述职报告列表中某个报告的详情并可以下载报告文件,点击“测评票数”进入页面填写评定分数、评定类别、测评说明等信息后点击“确认”即可完成测评票数的提交;可以对述职报告信息进行查询和重置操作。其界面如下图5-10所示。

图5-10 述职报告界面图
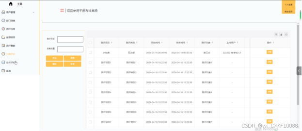
用户可以查看测评票数列表中某个测评象的测评票数的详情,可以对测评票数信息进行增删改查操作。其界面如下图5-11所示。

图5-11 测评票数界面图
用户可以查看分类评价列表中某个测评象的分类评价详情,可以对分类评价信息进行查询和重置操作。其界面如下图5-12所示。

图5-12 分类评价界面图
用户可以查看总体评价列表中某个测评象的总体评价详情,可以对总体评价信息进行查询和重置操作。其界面如下图5-13所示。

图5-13 总体评价界面图
6系统测试
6.1 测试目的
无论什么样的系统,测试都至关重要,通过测试可以检查出潜藏的缺陷,从而确保系统的性能和稳定性,避免Bug的出现,并确保系统的功能和性价比达到预期的要求。
系统测试包括:用户登录功能测试、通知公告查看功能、班级名称添加功能、密码修改功能测试,如表6-1、6-2、6-3、6-4所示:
表6-1 用户登录功能测试表
| 用例名称 | 用户登录系统 |
| 目的 | 测试用户通过正确的用户名和密码可否登录功能 |
| 前提 | 未登录的情况下 |
| 测试流程 | 1) 进入登录页面 2) 输入正确的用户名和密码 |
| 预期结果 | 用户名和密码正确的时候,跳转到登录成功界面,反之则显示错误信息,提示重新输入 |
| 实际结果 | 实际结果与预期结果一致 |
通知公告查看功能测试:
表6-2通知公告查看功能测试表
| 用例名称 | 通知公告查看 |
| 目的 | 测试通知公告查看功能 |
| 前提 | 学生用户登录 |
| 测试流程 | 点击通知公告管理下方的通知公告列表 |
| 预期结果 | 可以查看到所有通知公告息 |
| 实际结果 | 实际结果与预期结果一致 |
班级名称添加界面测试:
表6-3 班级名称添加界面测试表
| 用例名称 | 班级名称添加测试用例 |
| 目的 | 测试班级名称添加功能 |
| 前提 | 管理员正常登录情况下 |
| 测试流程 | 1)管理员点击班级名称管理下方的“班级名称添加”,然后进入页面填写班级名称。 2)填写完成后点击“提交”。 |
| 预期结果 | 提交以后,班级名称列表会显示新的班级名称信息 |
| 实际结果 | 实际结果与预期结果一致 |
密码修改功能测试:
表6-4 密码修改功能测试表
| 用例名称 | 密码修改测试用例 |
| 目的 | 测试学生用户密码修改功能 |
| 前提 | 学生用户正常登录情况下 |
| 测试流程 | 1)点击我的头像下拉菜单“修改密码”进入页面进行修改。 2)修改后点击确认。 |
| 预期结果 | 使用新的密码可以登录 |
| 实际结果 | 实际结果与预期结果一致 |
通过编写基于Spring Boot的干部考核系统的测试用例,已经检测完毕用户登录功能测试、通知公告查看功能、班级名称添加功能、密码修改功能测试,通过这四大模块的测试为基于Spring Boot的干部考核系统的后期推广运营提供了强力的技术支撑。
在基于Spring Boot的干部考核系统开发之前,需要先对用户的具体需求进行分析。包括系统的可行性分析、功能需求分析以及其他需求等。在可行性分析过程中,对系统实现的技术性、经济性等方面进行了分析。总体上证明了系统实施的可行性。
本文总结了基于Spring Boot的干部考核系统开发背景与意义,然后阐述了系统的具体业务需求,并根据系统需求对系统结构以及功能模块等进行了详细地设计,将整个系统划分为多个不同的功能模块。在分析系统功能需求时,对整个系统的功能模块及数据库设计等进行了分析,并选择合适的系统开发技术完成了对各个模块的开发工作。系统开发完成之后进行了部署,同时进行了系统的测试过程,通过测试证明了系统在功能以及性能等方面都达到了预期的要求,具有较高的稳定性与可靠性。
[1]李亮亮,刘欣,李雪涛,等.干部考核标准化线上评议系统的研究和应用[J].中国标准化,2024,(04):128-131.
[2]杜瑞庆,李一诺,黎作鹏.基于Vue和SpringBoot的C语言程序在线测评系统的设计与实现[J].唐山师范学院学报,2023,45(03):58-63.
[3]刘佳利.乡镇领导干部考核系统工程研究[D].华北理工大学,2022.
[4]王春丽.基于微服务架构的干部管理系统设计与实现[J].电脑编程技巧与维护,2022,(05):87-89.
[5]吴曼.新时代干部考核评价体系研究[J].理论观察,2021,(12):87-89.
[6]刘景锦.基于B/S模式的干部年度考核测评系统的设计与实现[J].现代信息科技,2021,5(19):125-128+132.
[7]推进数字人事构建干部考核管理新机制[J].党建研究,2021,(08):60-62.
[8]秦宇.基于人工智能的网线导通测试在线考核系统的设计[J].电子技术与软件工程,2021,(13):44-45.
[9]徐鉴.开放大学课程在线考核系统的设计与实现研究[J].湖北开放职业学院学报,2021,34(11):126-127.
[10]樊校.新形势下创新国有企业干部考核体系[J].中国人力资源社会保障,2021,(06):28-29.
[11]杨波,魏军,陈佐虎.深度学习算法在企业领导干部考核评价系统中的应用[J].企业改革与管理,2021,(06):71-72.
[12]Liang C .School Vehicle Management System Based on JAVA Language[J].Academic Journal of Computing Information Science,2023,6(9):
[13]Yang Y .Design and Implementation of Student Information Management System Based on Springboot[J].Advances in Computer, Signals and Systems,2022,6(6):
[14]Hejing W .Commerce Middle Office Management System Based on Springboot[J].International Journal of Advanced Network, Monitoring and Controls,2022,7(2):32-45.
[15]黄赛英.基于Springboot的医院档案管理系统设计[J].集成电路应用,2023,40(11):384-385.
[16]戴建成,王华,范玉婷.基于SpringBoot+VUE的高校廉政档案管理系统设计与实现[J].产业与科技论坛,2023,22(21):58-60.
[17]刘佳乐,赵雨,厚露露等.基于Java Web的学生信息管理系统[J].现代信息科技,2023,7(19):21-24.
[18韩小龙,司珍,吕晓峰等.基于面向对象编程的Java语言程序设计方法分析[J].集成电路应用,2024,41(01):228-229.
[19]王鹃,龚家新,蔺子卿等.多维深度导向的Java Web模糊测试方法[J].信息网络安全,2024,24(02):282-292.
[20]杨华,徐扬.MySQL数据库对中文编码支持的探讨[J].网络安全和信息化,2023,(10):157-160.
首先,我要感谢我的论文指导老师。在论文完成的整个过程中,指导老师始终给予我无微不至的关爱与指导。在论文写作的过程中,导师那耐心细致的指导,以及提出的具有建设性的意见,都给予了我极大的帮助,让我受益匪浅。导师严谨的治学态度、敬业精神以及高水平的教学能力,都给我树立了追求卓越的典范,这对我以后的人生道路和学业成就都产生了极大的积极影响。
此外,我还要感谢我班的同学们,他们既是我的同窗好友,又是我的良师益友。正是由于你们的支持和关怀,使得我在大学期间的学习和生活都变得异常充实。感谢那些在大学期间给予我帮助的所有老师和同学们,是你们给予了我在学业道路上的前进动力。
当然,我也不能忘记我的父母,是他们用无私的爱抚养我成人。你们的养育之恩我将永生难忘,将来我一定会用我的成绩回报你们。在成长的道路上,我会不断努力,不负众望,用实际行动来回报你们对我的期望。
免费领取项目源码,请关注❥点赞收藏并私信博主,谢谢~
1151

被折叠的 条评论
为什么被折叠?



