摘要
随着互联网趋势的到来,互联网概念越来越盛行,园区管理最好方式就是建立自己的互联网系统。在现实运用中,应用软件的工作规则和开发步骤,采用Springboot框架建设智慧园区管理系统。
本设计主要实现集人性化、高效率、便捷等优点于一身的智慧园区管理系统,完成房屋信息管理、租赁信息管理、访客预约管理、每月到访管理等功能模块。系统通过浏览器与服务器进行通信,实现数据的交互与变更。只需通过一台电脑,动动手指就可以操作系统,实现数据通信管理。整个系统的设计过程都充分考虑了数据的安全、稳定及可靠等问题,而且操作过程简单。本系统通过科学的管理方式、便捷的服务提高了工作效率,减少了数据存储上的错误和遗漏。智慧园区管理系统使用Java语言,采用基于Springboot框架、Java技术进行开发,使用 MyEclipse 2017 CI 10 编译器编写,数据方面主要采用的是微软的MySQL关系型数据库来作为数据存储媒介,配合前台HTML+CSS 技术完成系统的开发。
关键词:智慧园区管理,Springboot,数据库
Development of the management system of springboot smart park abstract
With the advent of the Internet trend, the concept of the Internet of Things is becoming more and more popular. The best way to manage the park is to establish its own Internet system. In practical application, the working rules and development steps of the application software adopt the Springboot framework to build a smart park management system.
This design mainly realizes the intelligent park management system integrating the advantages of humanization, efficiency and convenience, and completes the functional modules of house information management, rental information management, visitor reservation management, and monthly visit management. The system communicates with the server through the browser to realize data interaction and change. You can operate the system by moving your fingers through a computer to realize data communication management. The design process of the whole system fully considers the safety, stability and reliability of data, and the operation process is simple. The system improves work efficiency and reduces errors and omissions in data storage through scientific management and convenient services. The smart park management system uses Java language, is developed based on the Springboot framework and Java technology, and is compiled using the MyEclipse 2017 CI 10 compiler. In terms of data, it mainly uses Microsoft's MySQL relational database as the data storage medium, and cooperates with the foreground HTML+CSS technology to complete the system development.
Key words: Smart park management, Springboot, database
目 录
致谢 33
1.1课题背景与意义
当互联网技术是新一代信息技术的重要组成部分,随着社会和信息技术的发展,它必然会融入人们日常生活中的方方面面,促进生活的改善和优化,使得人们的生活越来越智能化。
在国家政策的引导下,近年来,我国的园区经济得到快速的发展,众多传统园区正在向科技化、创新化的新型园区过渡,智慧园区管理已成为新的发展趋势。这一趋势也在技术上提出了更高的要求,更加智能、高效的互联网云平台是园区管理中不可缺少的组成部分。随着园区的规模逐渐扩张,园区的管理方面的工作越来越多,对于园区管理平台智能化的要求也随之提高。对于一个商业与住宅兼并的园区而言,管理者需要管理的事项有很多,如园区里的设备设施、房屋信息、访客来访管理等。而传统园区的管理系统,无法为管理者提供一个一体化和智能化的管理平台。许多事务的管理工作相互分立,存在重复工作和管理盲区;经营活动产生的大量数据,无法很好地整合、统计和分析,即使花费了大量人力物力也无法得到想要的结果;园区内的各种资源等难以监测和控制等,传统园区的管理系统仍旧存在着诸多不足。另外,很多园区的管理者在园区楼宇的管理等业务方面花费了很多的精力,而这样的管理业务却通常收效甚微。所以开发一套“基于Springboot的智慧园区管理系统”是顺应时代的发展。
1.2 研究内容
基于Springboot的智慧园区管理系统的开发及实现,所需要的工作内容:
(1)首先是确定选题,确定好所要做的系统,并对系统的背景及现在面临的一些问题等进行系统的初步确认。
(2)系统确认完成后,结合系统开发的需求进行确认系统开发所使用的技术,基于Springboot的智慧园区管理系统的开发使用Springboot框架,数据库进行平台的搭建开发,确认好使用的技术进行技术分析,所使用的技术是否可以完成系统的实现。
(3)确定好系统使用的技术,进行在线确认系统所划分的用户角色,并且根据用户角色划分确定所要设计的功能模块,对基于Springboot的智慧园区管理系统的设计主要划分用户角色,并所使用的功能模块也相应不同,但是系统的数据库实现的内容是交互的,用户可以随时根据自己的需求进行信息查看,对于系统工作人员可以根据自己的分管内容进行在线信息的处理及操作。
(4)系统的功能模块确认完成后进行程序及界面的设计,设计完成后,并且通过测试来判断程序是否完善,对于系统测试,需要不同的用户进行不同的内容编辑及提交,及使用不同的测试方式找出程序中存在的漏洞,并对程序出现的漏洞问题进行在线解决处理,如果测试系统没有任何问题时,可以将系统上传进行正式操作使用。
1.3本文的结构
本文具体内容包括:绪论、系统采用的关键技术、系统分析、系统设计、系统实现和系统测试。本文着重描述了系统的组成与结构,阐述了系统的设计方案、实现方法以及所采用的开发工具和相关技术,另外,重点剖析了部分环节的开发过程。本系统在一定的环境下对系统的重要模块进行了模拟测试,证实了系统的可用性、可靠性。
1.4 开发工具及技术
(一)开发环境介绍
1.软件体系结构方案:采用B/S模式,B/S代表的是服务器端由web服务器发放,客户端由浏览器接收的系统,它的前台是html语言,由浏览器解释。B/S结构可以由web服务器能够解释的脚本语言如jsp、php、asp、JavaScript。
2.操作系统方案:Windows 7(旗舰版)操作系统,该系统可以兼容需要的软件,并且具有良好的运行速度,界面良好。
3.后台数据库:选用Mysql。Mysql旨在通过数据库加密、更加安全的默认设置、加强的密码政策和细化许可控制、及加强的安全模型等特性,为企业数据提供最高级别的安全性。
4.开发工具:选用Myeclipse10
5.开发语言:Java语言。
6.开发技术:Springboot+html+css+js技术。
(二)统一建模语言
统一建模语言(Unified Modeling Language ,UML)是一种可视化建模语言,通俗上讲就是系统开发者利用UML可以清楚地表达出自己对系统是如何设计,是一种设计思想的体现,然而UML就是作为辅助工具,就如汽车轴承的轮滑油。UML包括了一些可以相互组合图表的图形元素。由于UML是一种语言,所以UML具有组合这些元素的法规。UML提供了多种图来设计设计系统,如设计系统前期常用的用例图,行为图等,这些图需要用多个视图来展示一个系统,这组视图被称为一个模型(Model)。一个UML模型描述了一个系统需要做什么。同时,UML提供了组织和扩展这些图的方法。
(三) J2EE技术
人可以掌握多门外语,而一个计算机科学家精通的大多是编程语言,它不是人类的自然语言,比如C语言、Java、Perl等等。由于不同的公司开发出的“中间件”不够规范,所以Sun公司推出J2EE,用这个标准来解决弊病。它提供了良好的机制,让每个层次允许与之相对的服务器、组件运行,使得系统的搭建稳定可用、开发高效、维护方便。
(四)Springboot框架
Springboot即SpringMVC+Spring+Mybatis,这三个框架有各自最独有的优势,那么将它们组合在一起能够碰撞出很强的火花。设计者在不需消耗大量功夫,能做出Web应用程序,而且这个程序还具有层次清晰、升级更新操作不影响正常使用的、允许多次使用的特点。这个复合框架形成一个有着结构完整、功能强大和结构良好的体系:SpringMVC使各板块分离,Spring使开发更灵活方便,使用Mybatis让开发者直接对对象进行操纵,各层次分工明细,并实现各个层次间的解耦,让代码更加的灵活精简。这个框架使程序员能够规避在开发时期避免个别错误导致整体被破坏,也能在后期应对客户对产品提出的新需求。
(五)Vue.js 主要功能:
Vue.js是一套构建用户界面的渐进式框架。与其他重量级框架不同的是,Vue采用自底向上增量开发的设计。Vue 的核心库只关注视图层,并且非常容易学习,非常容易与其它库或已有项目整合。另一方面,Vue 完全有能力驱动采用单文件组件和Vue生态 系统支持的库开发的复杂单页应用。
Vue.js 的目标是通过尽可能简单的 API 实现响应的数据绑定和组合的视图组件。
Vue.js 自身不是一个全能框架——它只聚焦于视图层。因此它非常容易学习,非常容易与其它库或已有项目整合。另一方面,在与相关工具和支持库一起使用时,Vue.js 也能驱动复杂的单页应用。
(六)MySQL数据库
科技的进步,给日常带来许多便利:教室的投影器用到了虚拟成像技术,数码相机用到了光电检测技术,比如超市货物进出库的记录需要一个信息仓库。这个信息仓库就是数据库,而这次的物流信息管理系统也需要这项技术的支持。
用MySQL这个软件,是因为它能接受多个使用者访问,而且里面存在Archive等。它会先把数据进行分类,然后分别保存在表里,这样的特别操作就会提高数据管理系统自身的速度,让数据库能被灵活运用。MySQL的代码是公开的,而且允许别人二次编译升级。这个特点能够降低使用者的成本,再搭配合适的软件后形成一个良好的网站系统。虽然它有缺点,但是综合各方面来说,它是使用者的主流运用的对象。
(七)Ajax 介绍:
Ajax即Asynchronous Javascript And XML(异步JavaScript和XML)在 2005年被Jesse James Garrett提出的新术语,用来描述一种使用现有技术集合的‘新’方法,包括:HTML或XHTML,CSS,JavaScript,DOM,XML,XSLT, 以及最重要的XMLHttpRequest。使用Ajax技术网页应用能够快速地将增量更新呈现在用户界面上,而不需要重载(刷新)整个页面,这使得程序能够更快地回应用户的操作
2.1 可行性分析
可行性分析的目的是确定一个系统是否有必要开发、确定系统是否能以最小的代价实现。其工作主要有三个方面,分别是技术、经济和社会三方面的可行性。我会从这三个方面对基于微信小程序的同城拼车进行详细的分析。
该系统主要使用Springboot框架啊和MySQL数据库进行开发,Java易于学习和使用灵活。在校期间也接触过Springboot和MySQL数据库的课程,对此有一定的开发经验,因此开发难度不高,所以从技术上来说是可行的。
本系统设计所选择的开发工具和服务器都是免费的开源软件,又或者是适合学生使用的免费版本,并不需要支付费用,而且由作者本人单独完成,也不存在团队费用,几乎没有经济成本,具备经济可行性。
社会可行性主要包括法律和用户两个方面,下面将从这两方面进行分析。
(1)法律因素
本系统是学习开发所制作的程序,并不用作商业用途,是在根据实际调研的结果结合现有的外卖点餐系统后得出的,而且系统制作的全部过程都是在个人的工作电脑中完成的,使用的都是开源和免费的开发环境、分析软件和数据库,不存在侵权问题。
(2)用户可行性
操作人员或者客户只需要具备一定的Java操作常识,不需要精通计算机技能。此外系统管理人员,只需要在再熟悉下使用Tomcat服务器的操作流程,只要掌握一定的计算机知识即可,在正式上线运营之前,仅需要对操作人员进行简单的熟悉流程培训即可。所以从用户可行性上也是可行的。
一个系统要在开发和维护的过程中方便使用,必须采取一定的设计原则,其主要设计原则有:
简单性:系统功能简单易懂,只需要掌握基本的计算机操作能力即可使用。
针对性:针对特定的用户,没有多余的其他功能,使用户可以专心使用。
实用性:能够满足园区信息管理等方面的需求。
一致性:设计风格、命名规范一致,整个系统的各个功能模块色彩、摆放位置、功能等都是一致的。
先进性:本系统的代码采用读取数据的方式,方便后续开发、拓展。
智慧园区管理系统需要满足的需求有以下几个:
1.信息获取方便,用户可在网页上快速浏览到新的信息
2.房屋信息,查看园区房屋信息等。
3.注册登录,需要吸引用户,即通过注册来提高用户的存留率。
4.访客预约,可以在线进行园区到访预约。
5.修改用户信息,可以修改用户密码或者用户名等一些个性化操作。
6.管理员功能,管理员可以对用户或者园区信息进行管理。
7.系统安全,操作简便,不过于复杂。
8.系统可以稳定运行,不存在卡顿等问题造成用户反感。
2.4.1登录流程
登录模块主要满足管理员以及用户的权限登录,用户登录流程图如图2-1所示。

图2-1 登录流程图
2.4.2注册流程
未有账号的用户可进入注册界面进行注册操作,用户注册流程图如图2-2所示。

图2-2 注册流程图
2.4.3添加信息流程
用户在添加信息时,信息编号自动生成,系统会对添加的信息进行验证,验证通过则添加至数据库,添加信息成功,反之添加失败。添加信息流程如图2-3所示。

图2-3 添加信息流程图
2.4.4删除信息流程
用户可选择要删除的信息进行信息删除操作,在删除信息时系统提示是否确定删除信息,是则删除信息成功,系统数据库将信息进行删除。删除信息流程图如图2-4所示。

图2-4删除信息流程图
本智慧园区管理系统选择B/S结构(Browser/Server,浏览器/服务器结构)和基于Web服务两种模式。适合在手机上进行操作,只要用户能连网,任何时间、任何地点都可以进行系统的操作使用。系统工作原理图如图3-1所示:

图3-1 系统工作原理图
3.2系统结构设计
整个系统是由多个功能模块组合而成的,要将所有的功能模块都一一列举出来,然后进行逐个的功能设计,使得每一个模块都有相对应的功能设计,然后进行系统整体的设计。
智慧园区管理系统结构图如图3-2所示。

图3-2 智慧园区管理系统结构图
数据库可以说是所有软件的根本,如果数据库存在缺陷,那么会导致系统开发的不顺利、维护困难、用户使用不顺畅等一系列问题,严重时将会直接损害企业的利益,同时在开发完成后,数据库缺陷也更加难以解决。所以必须要对数据库设计重点把握,做到认真细致。因此,数据库设计是这个点餐购票系统的重点要素。
(1)管理员实体属性图如下图3-3所示

图3-3管理员实体属性图
(2) 系统实体属性如下图3-4所示

图3-4系统实体属性图
将数据库概念设计的E-R图转换为关系数据库。在关系数据库中,数据关系由数据表组成,但是表的结构表现在表的字段上。
表auth (用户权限管理)
| 编号 | 名称 | 数据类型 | 长度 | 小数位 | 允许空值 | 主键 | 默认值 | 说明 |
| 1 | auth_id | int | 10 | 0 | N | Y | 授权ID: | |
| 2 | user_group | varchar | 64 | 0 | Y | N | 用户组: | |
| 3 | mod_name | varchar | 64 | 0 | Y | N | 模块名: | |
| 4 | table_name | varchar | 64 | 0 | Y | N | 表名: | |
| 5 | page_title | varchar | 255 | 0 | Y | N | 页面标题: | |
| 6 | path | varchar | 255 | 0 | Y | N | 路由路径: | |
| 7 | position | varchar | 32 | 0 | Y | N | 位置: | |
| 8 | mode | varchar | 32 | 0 | N | N | _blank | 跳转方式: |
| 9 | add | tinyint | 3 | 0 | N | N | 1 | 是否可增加: |
| 10 | del | tinyint | 3 | 0 | N | N | 1 | 是否可删除: |
| 11 | set | tinyint | 3 | 0 | N | N | 1 | 是否可修改: |
| 12 | get | tinyint | 3 | 0 | N | N | 1 | 是否可查看: |
| 13 | field_add | text | 65535 | 0 | Y | N | 添加字段: | |
| 14 | field_set | text | 65535 | 0 | Y | N | 修改字段: | |
| 15 | field_get | text | 65535 | 0 | Y | N | 查询字段: | |
| 16 | table_nav_name | varchar | 500 | 0 | Y | N | 跨表导航名称: | |
| 17 | table_nav | varchar | 500 | 0 | Y | N | 跨表导航: | |
| 18 | option | text | 65535 | 0 | Y | N | 配置: | |
| 19 | create_time | timestamp | 19 | 0 | N | N | CURRENT_TIMESTAMP | 创建时间: |
| 20 | update_time | timestamp | 19 | 0 | N | N | CURRENT_TIMESTAMP | 更新时间: |
表collect (收藏)
| 编号 | 名称 | 数据类型 | 长度 | 小数位 | 允许空值 | 主键 | 默认值 | 说明 |
| 1 | collect_id | int | 10 | 0 | N | Y | 收藏ID: | |
| 2 | user_id | int | 10 | 0 | N | N | 0 | 收藏人ID: |
| 3 | source_table | varchar | 255 | 0 | Y | N | 来源表: | |
| 4 | source_field | varchar | 255 | 0 | Y | N | 来源字段: | |
| 5 | source_id | int | 10 | 0 | N | N | 0 | 来源ID: |
| 6 | title | varchar | 255 | 0 | Y | N | 标题: | |
| 7 | img | varchar | 255 | 0 | Y | N | 封面: | |
| 8 | create_time | timestamp | 19 | 0 | N | N | CURRENT_TIMESTAMP | 创建时间: |
| 9 | update_time | timestamp | 19 | 0 | N | N | CURRENT_TIMESTAMP | 更新时间: |
表comment (评论)
| 编号 | 名称 | 数据类型 | 长度 | 小数位 | 允许空值 | 主键 | 默认值 | 说明 |
| 1 | comment_id | int | 10 | 0 | N | Y | 评论ID: | |
| 2 | user_id | int | 10 | 0 | N | N | 0 | 评论人ID: |
| 3 | reply_to_id | int | 10 | 0 | N | N | 0 | 回复评论ID:空为0 |
| 4 | content | longtext | 2147483647 | 0 | Y | N | 内容: | |
| 5 | nickname | varchar | 255 | 0 | Y | N | 昵称: | |
| 6 | avatar | varchar | 255 | 0 | Y | N | 头像地址:[0,255] | |
| 7 | create_time | timestamp | 19 | 0 | N | N | CURRENT_TIMESTAMP | 创建时间: |
| 8 | update_time | timestamp | 19 | 0 | N | N | CURRENT_TIMESTAMP | 更新时间: |
| 9 | source_table | varchar | 255 | 0 | Y | N | 来源表: | |
| 10 | source_field | varchar | 255 | 0 | Y | N | 来源字段: | |
| 11 | source_id | int | 10 | 0 | N | N | 0 | 来源ID: |
表hits (用户点击)
| 编号 | 名称 | 数据类型 | 长度 | 小数位 | 允许空值 | 主键 | 默认值 | 说明 |
| 1 | hits_id | int | 10 | 0 | N | Y | 点赞ID: | |
| 2 | user_id | int | 10 | 0 | N | N | 0 | 点赞人: |
| 3 | create_time | timestamp | 19 | 0 | N | N | CURRENT_TIMESTAMP | 创建时间: |
| 4 | update_time | timestamp | 19 | 0 | N | N | CURRENT_TIMESTAMP | 更新时间: |
| 5 | source_table | varchar | 255 | 0 | Y | N | 来源表: | |
| 6 | source_field | varchar | 255 | 0 | Y | N | 来源字段: | |
| 7 | source_id | int | 10 | 0 | N | N | 0 | 来源ID: |
表house_information (房屋信息)
| 编号 | 名称 | 数据类型 | 长度 | 小数位 | 允许空值 | 主键 | 默认值 | 说明 |
| 1 | house_information_id | int | 10 | 0 | N | Y | 房屋信息ID | |
| 2 | house_no | varchar | 64 | 0 | Y | N | 房屋编号 | |
| 3 | house_name | varchar | 64 | 0 | Y | N | 房屋名称 | |
| 4 | house_status | varchar | 64 | 0 | Y | N | 房屋状态 | |
| 5 | housing_area | varchar | 64 | 0 | Y | N | 房屋面积 | |
| 6 | house_type | varchar | 64 | 0 | Y | N | 房屋房型 | |
| 7 | house_rent | varchar | 64 | 0 | Y | N | 房屋租金 | |
| 8 | house_picture | varchar | 255 | 0 | Y | N | 房屋图片 | |
| 9 | house_address | varchar | 64 | 0 | Y | N | 房屋地址 | |
| 10 | introduction_to_the_house | longtext | 2147483647 | 0 | Y | N | 房屋简介 | |
| 11 | hits | int | 10 | 0 | N | N | 0 | 点击数 |
| 12 | praise_len | int | 10 | 0 | N | N | 0 | 点赞数 |
| 13 | recommend | int | 10 | 0 | N | N | 0 | 智能推荐 |
| 14 | create_time | datetime | 19 | 0 | N | N | CURRENT_TIMESTAMP | 创建时间 |
| 15 | update_time | timestamp | 19 | 0 | N | N | CURRENT_TIMESTAMP | 更新时间 |
表lease_information (租赁信息)
| 编号 | 名称 | 数据类型 | 长度 | 小数位 | 允许空值 | 主键 | 默认值 | 说明 |
| 1 | lease_information_id | int | 10 | 0 | N | Y | 租赁信息ID | |
| 2 | house_no | varchar | 64 | 0 | Y | N | 房屋编号 | |
| 3 | house_name | varchar | 64 | 0 | Y | N | 房屋名称 | |
| 4 | housing_area | varchar | 64 | 0 | Y | N | 房屋面积 | |
| 5 | house_type | varchar | 64 | 0 | Y | N | 房屋房型 | |
| 6 | house_rent | varchar | 64 | 0 | Y | N | 房屋租金 | |
| 7 | user_information | int | 10 | 0 | Y | N | 0 | 用户信息 |
| 8 | user_name | varchar | 64 | 0 | Y | N | 用户姓名 | |
| 9 | contact_number | varchar | 64 | 0 | Y | N | 联系电话 | |
| 10 | lease_remarks | text | 65535 | 0 | Y | N | 租赁备注 | |
| 11 | examine_state | varchar | 16 | 0 | N | N | 未审核 | 审核状态 |
| 12 | examine_reply | varchar | 16 | 0 | Y | N | 审核回复 | |
| 13 | recommend | int | 10 | 0 | N | N | 0 | 智能推荐 |
| 14 | create_time | datetime | 19 | 0 | N | N | CURRENT_TIMESTAMP | 创建时间 |
| 15 | update_time | timestamp | 19 | 0 | N | N | CURRENT_TIMESTAMP | 更新时间 |
表monthly_visits (每月到访)
| 编号 | 名称 | 数据类型 | 长度 | 小数位 | 允许空值 | 主键 | 默认值 | 说明 |
| 1 | monthly_visits_id | int | 10 | 0 | N | Y | 每月到访ID | |
| 2 | title_name | varchar | 64 | 0 | Y | N | 标题名称 | |
| 3 | month_name | varchar | 64 | 0 | Y | N | 月份名称 | |
| 4 | number_of_appointments | int | 10 | 0 | Y | N | 0 | 预约人数 |
| 5 | number_of_visitors | int | 10 | 0 | Y | N | 0 | 到访人数 |
| 6 | remarks | varchar | 64 | 0 | Y | N | 备注信息 | |
| 7 | recommend | int | 10 | 0 | N | N | 0 | 智能推荐 |
| 8 | create_time | datetime | 19 | 0 | N | N | CURRENT_TIMESTAMP | 创建时间 |
| 9 | update_time | timestamp | 19 | 0 | N | N | CURRENT_TIMESTAMP | 更新时间 |
表notice (公告)
| 编号 | 名称 | 数据类型 | 长度 | 小数位 | 允许空值 | 主键 | 默认值 | 说明 |
| 1 | notice_id | mediumint | 8 | 0 | N | Y | 公告id: | |
| 2 | title | varchar | 125 | 0 | N | N | 标题: | |
| 3 | content | longtext | 2147483647 | 0 | Y | N | 正文: | |
| 4 | create_time | timestamp | 19 | 0 | N | N | CURRENT_TIMESTAMP | 创建时间: |
| 5 | update_time | timestamp | 19 | 0 | N | N | CURRENT_TIMESTAMP | 更新时间: |
表praise (点赞)
| 编号 | 名称 | 数据类型 | 长度 | 小数位 | 允许空值 | 主键 | 默认值 | 说明 |
| 1 | praise_id | int | 10 | 0 | N | Y | 点赞ID: | |
| 2 | user_id | int | 10 | 0 | N | N | 0 | 点赞人: |
| 3 | create_time | timestamp | 19 | 0 | N | N | CURRENT_TIMESTAMP | 创建时间: |
| 4 | update_time | timestamp | 19 | 0 | N | N | CURRENT_TIMESTAMP | 更新时间: |
| 5 | source_table | varchar | 255 | 0 | Y | N | 来源表: | |
| 6 | source_field | varchar | 255 | 0 | Y | N | 来源字段: | |
| 7 | source_id | int | 10 | 0 | N | N | 0 | 来源ID: |
| 8 | status | bit | 1 | 0 | N | N | 1 | 点赞状态:1为点赞,0已取消 |
表property_users (物业用户)
| 编号 | 名称 | 数据类型 | 长度 | 小数位 | 允许空值 | 主键 | 默认值 | 说明 |
| 1 | property_users_id | int | 10 | 0 | N | Y | 物业用户ID | |
| 2 | user_name | varchar | 64 | 0 | Y | N | 用户姓名 | |
| 3 | user_gender | varchar | 64 | 0 | Y | N | 用户性别 | |
| 4 | personnel_job_number | varchar | 64 | 0 | N | N | 人员工号 | |
| 5 | examine_state | varchar | 16 | 0 | N | N | 未审核 | 审核状态 |
| 6 | recommend | int | 10 | 0 | N | N | 0 | 智能推荐 |
| 7 | user_id | int | 10 | 0 | N | N | 0 | 用户ID |
| 8 | create_time | datetime | 19 | 0 | N | N | CURRENT_TIMESTAMP | 创建时间 |
| 9 | update_time | timestamp | 19 | 0 | N | N | CURRENT_TIMESTAMP | 更新时间 |
表slides (轮播图)
| 编号 | 名称 | 数据类型 | 长度 | 小数位 | 允许空值 | 主键 | 默认值 | 说明 |
| 1 | slides_id | int | 10 | 0 | N | Y | 轮播图ID: | |
| 2 | title | varchar | 64 | 0 | Y | N | 标题: | |
| 3 | content | varchar | 255 | 0 | Y | N | 内容: | |
| 4 | url | varchar | 255 | 0 | Y | N | 链接: | |
| 5 | img | varchar | 255 | 0 | Y | N | 轮播图: | |
| 6 | hits | int | 10 | 0 | N | N | 0 | 点击量: |
| 7 | create_time | timestamp | 19 | 0 | N | N | CURRENT_TIMESTAMP | 创建时间: |
| 8 | update_time | timestamp | 19 | 0 | N | N | CURRENT_TIMESTAMP | 更新时间: |
表system_user (系统用户)
| 编号 | 名称 | 数据类型 | 长度 | 小数位 | 允许空值 | 主键 | 默认值 | 说明 |
| 1 | system_user_id | int | 10 | 0 | N | Y | 系统用户ID | |
| 2 | user_name | varchar | 64 | 0 | Y | N | 用户姓名 | |
| 3 | user_gender | varchar | 64 | 0 | Y | N | 用户性别 | |
| 4 | examine_state | varchar | 16 | 0 | N | N | 已通过 | 审核状态 |
| 5 | recommend | int | 10 | 0 | N | N | 0 | 智能推荐 |
| 6 | user_id | int | 10 | 0 | N | N | 0 | 用户ID |
| 7 | create_time | datetime | 19 | 0 | N | N | CURRENT_TIMESTAMP | 创建时间 |
| 8 | update_time | timestamp | 19 | 0 | N | N | CURRENT_TIMESTAMP | 更新时间 |
表to_do_items (代办事项)
| 编号 | 名称 | 数据类型 | 长度 | 小数位 | 允许空值 | 主键 | 默认值 | 说明 |
| 1 | to_do_items_id | int | 10 | 0 | N | Y | 代办事项ID | |
| 2 | item_name | varchar | 64 | 0 | Y | N | 事项名称 | |
| 3 | event_status | varchar | 64 | 0 | Y | N | 事项状态 | |
| 4 | property_users | int | 10 | 0 | Y | N | 0 | 物业用户 |
| 5 | user_name | varchar | 64 | 0 | Y | N | 用户姓名 | |
| 6 | personnel_job_number | varchar | 64 | 0 | Y | N | 人员工号 | |
| 7 | contents | text | 65535 | 0 | Y | N | 事项内容 | |
| 8 | recommend | int | 10 | 0 | N | N | 0 | 智能推荐 |
| 9 | create_time | datetime | 19 | 0 | N | N | CURRENT_TIMESTAMP | 创建时间 |
| 10 | update_time | timestamp | 19 | 0 | N | N | CURRENT_TIMESTAMP | 更新时间 |
表upload (文件上传)
| 编号 | 名称 | 数据类型 | 长度 | 小数位 | 允许空值 | 主键 | 默认值 | 说明 |
| 1 | upload_id | int | 10 | 0 | N | Y | 上传ID | |
| 2 | name | varchar | 64 | 0 | Y | N | 文件名 | |
| 3 | path | varchar | 255 | 0 | Y | N | 访问路径 | |
| 4 | file | varchar | 255 | 0 | Y | N | 文件路径 | |
| 5 | display | varchar | 255 | 0 | Y | N | 显示顺序 | |
| 6 | father_id | int | 10 | 0 | Y | N | 0 | 父级ID |
| 7 | dir | varchar | 255 | 0 | Y | N | 文件夹 | |
| 8 | type | varchar | 32 | 0 | Y | N | 文件类型 |
第4章系统实现
智慧园区管理系统,在系统首页可以查看首页、新闻资讯、公告信息、房屋信息,访客预约跳转到后台等内容,如图4-1所示。

图4-1系统功能界面图
新闻资讯,在资讯栏可以查看资讯标题、资讯内容、点击量等内容,如图4-2所示。

图4-2新闻资讯界面图
新闻资讯的逻辑代码如下:
@RequestMapping("/get_obj")
public Map<String, Object> obj(HttpServletRequest request) {
List resultList = service.selectBaseList(service.select(service.readQuery(request), service.readConfig(request)));
if (resultList.size() > 0) {
JSONObject jsonObject = new JSONObject();
jsonObject.put("obj",resultList.get(0));
return success(jsonObject);
} else {
return success(null);
}
}
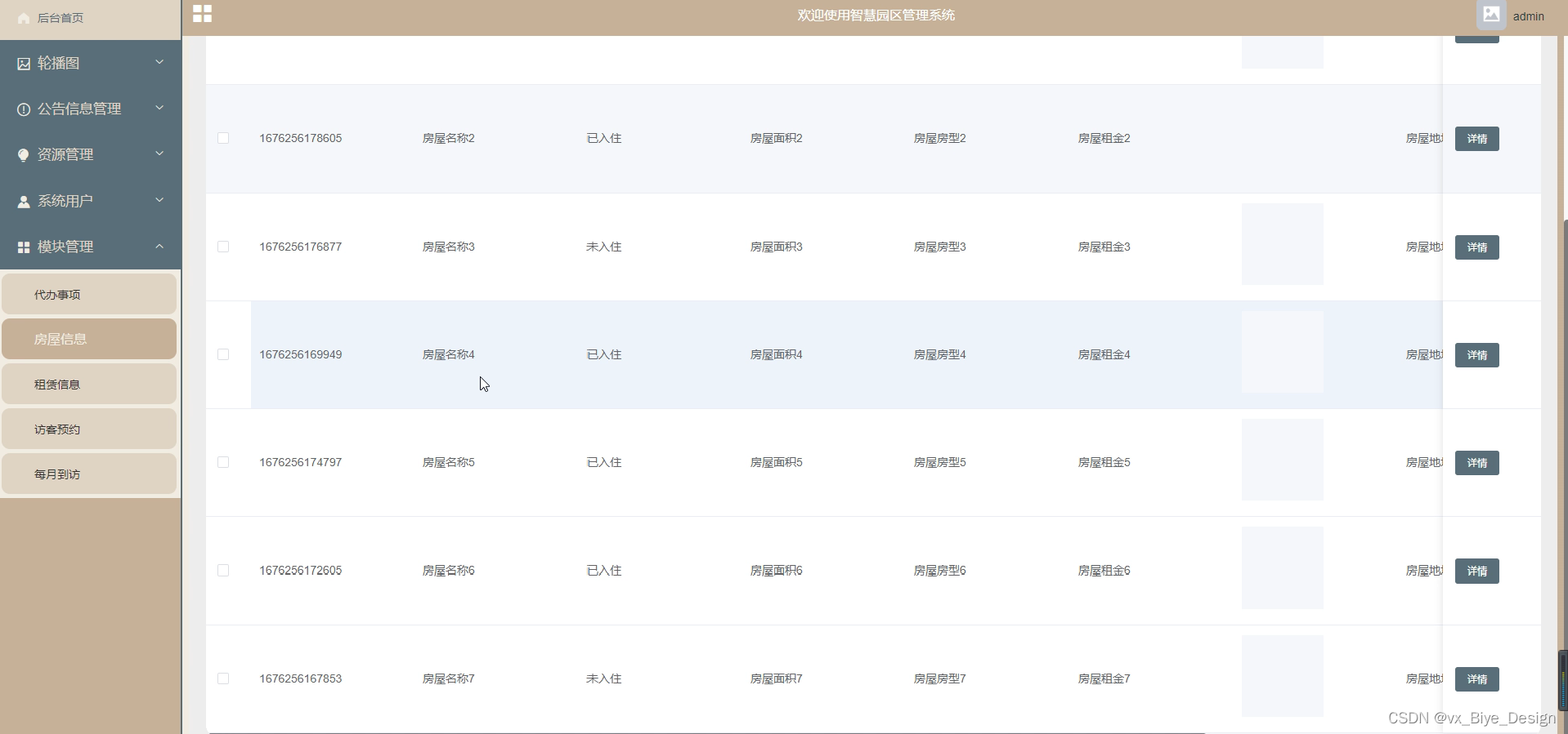
在房屋信息页面可以查找房屋列表,如图4-3所示。在注册页面通过填写用户账号、密码、用户姓名、手机等信息完成用户注册,如图4-4所示。

图4-3房屋信息界面图
房屋信息的逻辑代码如下。
public Map<String, Object> error(Integer code, String message) {
Map<String, Object> map = new HashMap<>();
map.put("error", new HashMap<String, Object>(4) {{
put("code", code);
put("message", message);
}});
return map;
}

图4-4注册界面图
用户注册逻辑代码如下:
/**
* 注册
* @param user
* @return
*/
@PostMapping("register")
public Map<String, Object> signUp(@RequestBody User user) {
// 查询用户
Map<String, String> query = new HashMap<>();
query.put("username",user.getUsername());
List list = service.select(query, new HashMap<>()).getResultList();
if (list.size()>0){
return error(30000, "用户已存在");
}
user.setUserId(null);
user.setPassword(service.encryption(user.getPassword()));
service.save(user);
return success(1);
}
/**
* 用户ID:[0,8388607]用户获取其他与用户相关的数据
*/
@Id
@GeneratedValue(strategy = GenerationType.IDENTITY)
@Column(name = "user_id")
private Integer userId;
/**
* 账户状态:[0,10](1可用|2异常|3已冻结|4已注销)
*/
@Basic
@Column(name = "state")
private Integer state;
/**
* 所在用户组:[0,32767]决定用户身份和权限
*/
@Basic
@Column(name = "user_group")
private String userGroup;
/**
* 上次登录时间:
*/
@Basic
@Column(name = "login_time")
private Timestamp loginTime;
/**
* 手机号码:[0,11]用户的手机号码,用于找回密码时或登录时
*/
@Basic
@Column(name = "phone")
private String phone;
/**
* 手机认证:[0,1](0未认证|1审核中|2已认证)
*/
@Basic
@Column(name = "phone_state")
private Integer phoneState;
/**
* 用户名:[0,16]用户登录时所用的账户名称
*/
@Basic
@Column(name = "username")
private String username;
/**
* 昵称:[0,16]
*/
@Basic
@Column(name = "nickname")
private String nickname;
/**
* 密码:[0,32]用户登录所需的密码,由6-16位数字或英文组成
*/
@Basic
@Column(name = "password")
private String password;
/**
* 邮箱:[0,64]用户的邮箱,用于找回密码时或登录时
*/
@Basic
@Column(name = "email")
private String email;
/**
* 邮箱认证:[0,1](0未认证|1审核中|2已认证)
*/
@Basic
@Column(name = "email_state")
private Integer emailState;
/**
* 头像地址:[0,255]
*/
@Basic
@Column(name = "avatar")
private String avatar;
/**
* 创建时间:
*/
@Basic
@Column(name = "create_time")
@JsonFormat(pattern = "yyyy-MM-dd HH:mm:ss")
private Timestamp createTime;
@Basic
@Transient
private String code;
}
管理员登录,通过填写注册时输入的用户名、密码、权限进行登录,如图4-5所示。

图4-5管理员登录界面图
管理员登录进入智慧园区管理系统可以查看首页、公告管理、用户管理(管理员、普通用户)资源管理(新闻资讯、资讯分类)模块管理(房屋信息管理、代办事项管理、租赁信息管理、访客预约管理、每月到访管理)等信息,如图4-6所示。

图4-6管理员功能界面图
资讯分类管理,管理员可以根据需要对资讯分类信息进行修改或删除操作,如图4-7所示。

图4-7资讯分类管理界面图
资讯分类管理的逻辑代码如下:
@RequestMapping("/get_list")
public Map<String, Object> getList(HttpServletRequest request) {
Map<String, Object> map = service.selectToPage(service.readQuery(request), service.readConfig(request));
return success(map);
}
房屋信息管理,管理员在房屋信息管理中可以对房屋名称、编号、状态、地址、房型、简介等进行发布,并可根据需求进行修改或删除操作,如图4-8所示。

图4-8房屋信息管理界面图
租赁信息管理,管理员可以对房屋的租赁信息进行审核,如图4-9所示。

图4-9租赁信息管理界面图
租赁信息管理的逻辑代码如下:
@RequestMapping("auth")
public class AuthController extends BaseController<Auth, AuthService> {
/**
* 服务对象
*/
@Autowired
public AuthController(AuthService service) {
setService(service);
}
}
用户管理,在用户管理列表中可以查看用户账号、密码、用户姓名、性别、手机、照片等内容,并且根据需要进行修改或删除操作,如图4-10所示。

图4-10用户管理界面图
测试存在于软件开发进程中的最后一个阶段,它可以保证一个软件的开发质量是否符合设计者的初衷,也为程序的正式上线做了最后一道质量检测的工序。软件测试主要是控制各种条件、包括软件输出方式,使用模式和运行环境等,来评估一个系统或应用是否符合设计标准。在软件测试过程中,我们一般刻意的去制造错误和极端条件,不能仅依照正常模式允许,而是多去尝试那些意外的情况。
只有在运行和维护阶段之前经历大量的测试的软件,才能说明它的质量是经得起检验的。最近计算机业界也都一致认为,测试应该存在于软件设计的每个阶段,因为越早发现错误,修复起来就越容易。
实际上,对于一个软件应用,错误是必然存在的,无论使用何种技术或手段,都不可能绝对的排除软件漏洞。测试是随着软件开发一同诞生的,两者是共同发展进步的。实际上,测试可以大幅度的降低维护的成本,如果一个漏洞在开发的早期就被发现,那么修复它的成本远比上线后再修复的成本要低得多。
测试有白盒测试和黑盒测试两种方式。
其中,白盒测试是将软件看成一个透明的白盒子,按照程序的内部控制结构和处理技术逻辑来选定测试用例、软件系统测试的逻辑路径及过程需要进行管理测试,又称玻璃盒测试。因此白盒测试需要选择足够多的测试用例,覆盖尽可能多的代码来发现程序中的错误。
黑盒测试,也称为功能测试。它将需软件看作一个黑盒,像一个普通用户一样来模拟软件的使用流程。黑盒测试通过大量的输入边界值或错误数据,来检查是否可产生正确的输出。
本系统测试 主要选择黑盒测试,少量采用白盒测试。通过测试达到以下测试目的:
1.检查各大功能模块的运行,确保其能够正确运行,并检查各页面的完整性,保证页面完整。
2.检查各个接口是否可以正确地输入和输出,保证数据流通稳定可行。
3.检查数据结构,保证其和外部接口没有访问错误,访问顺利。
4.检查原计划的性能需求有没有完成,运行流畅。
本系统的测试用例(部分):
| 登录部分测试用例 | |||||
| 编号 | 对象 | 项目 | 操作 | 预期结果 | 结果 |
| 1 | 登录 | 登录提示 | 使用正确的账号密码登录 | 成功登录 | 预期结果 |
| 2 | 登录提示 | 使用正确的账号但错误的密码登录 | 提示密码错误 | 预期结果 | |
| 3 | 登录提示 | 使用错误的账号登录 | 提示不存在账户 | 预期结果 | |
| 4 | 登录提示 | 不输入账号,点击登录 | 提示输入账号 | 预期结果 | |
| 5 | 登录提示 | 输入账号但不输入密码点击登录 | 提示输入密码 | 预期结果 | |
| 6 | 登录入口 | 已登录账号,查看登录入口 | 不显示登录入口 | 预期结果 | |
处理器:Inter Core I7-4710MQ四核处理器
内存:4GB
硬盘:1T
操作系统:Windows 10
数据库:MySQL
全部测试用例都已通过(包括但不限于以上测试用例),且不存在漏洞,实现了论文开始时所作要求。本系统运行稳定,使用流畅,可以满足客户需求。
试运行后进行系统评估,可以认为该系统达到预定的目标要求,可以满足用户的需求,也满足了系统开发前所作目标。
系统在经过大量重复测试后运行十分稳定,安全实用,功能模块已经达到预定目标所需。
在规定的时间内实现系统的大部分功能,且满足要求,节省开发成本,有助于提高科学管理水平,符合本人经济情况。
2023年的今天,计算机技术已经相当成熟。它的发展推动了许多行业改头换面,计算机的出现使人类社会有了进一步降低人力物力和资源的方法。
本文利用Springboot框架和MySQL数据库技术,完成了智慧园区管理系统。经调试结果显示,本系统基本可以满足一个智慧园区管理系统的业务需要。系统界面简洁而有美感,易操作,做出了自己的特色,然而因为时间仓促再加上缺乏系统开发经验和仅依靠少数问卷调查方式,因此本系统还存在不少缺陷、不足,比如:
1. 数据输入的格式并没有全部检验,所以很难保证数据的准确,可能有一些不符合规则的数据也可以通过检验。
2. 系统功能还不够完善,无法提供丰富多彩的在线功能。
本系统还存在一些漏洞没有解决,在现实应用情境中很难保证完全不出错,但相信通过再次完善,可以调试出真正符合实际的智慧园区管理系统。
[1]冷泽琪,王坤昊,梁纬,郑月锋.重构图视角下超级账本在物联网的应用研究综述[J/OL].计算机应用研究:1-13[2022-04-28].
[2]白雪杰,郭雷岗,姜丽鸽.物联网技术在智能电网中的应用研究[J].物联网技术,2022,12(03):83-85+88.
[3]常力强. 园区管理服务平台建设落地更要“生根”[N]. 农民日报,2022-03-12(006).
[4]杨燕红,何大安.中国物联网产业政策演变、内在逻辑与发展趋向——基于政策文本计量分析的方法[J].经济与管理,2022,36(02):27-35.
[5]秦明.论物联网在物流工程前期管理中的运用[J].中国储运,2022(03):169-171.
[6]黄衎,兰天一,龙飞霏.基于700MHz NB-IoT的物联网网络部署探索[J].广播电视网络,2022,29(02):57-60.
[7]郭成波,闫薪宇,海靖,王涵彬,孙术发.物流工程专业物联网技术课程建设[J].物流技术,2022,41(02):128-132.
[8]王国锋,沈惠梁.智慧园区综合管理平台建设要点[J].浙江建筑,2022,39(01):79-82.
[9]阎涛,曾恒,陈晓亮,万方智.智能化园区管控平台在“智慧安全”管理中的研究与应用[J].军民两用技术与产品,2021(12):25-31.
[10]张铭昕,么军.园区运营管理平台设计实践[J].智能建筑,2021(12):42-44+50.
[11]曹明昊. 基于SpringBoot和Vue框架的邯郸市现代农业园区信息管理系统的研发[D].河北工程大学,2021.
[12]王文波.循环经济园区管理实践解析[J].化工管理,2021(29):5-6.
[13]齐雪鹏.可视化智慧园区管理系统建设研究[J].信息与电脑(理论版),2021,33(15):92-94.
[14]余华胜,李涛,居飞. 智慧园区综合管理信息共享平台的设计与实现[C]//.第二十二届华东六省一市测绘学会学术交流会论文集2021:120-122.
[15]吴品堃.新型物联网智慧园区管理系统探索[J].智能建筑,2021(07):21-23.
[16]撖书培.大型园区建设项目总控咨询服务管理规划专项研究[J].建设监理,2021(06):16-19.DOI:10.15968/j.cnki.jsjl.2021.06.006
致 谢
大学生活在这个时候即将划上一个句号,但是对于我的人生道路来说,这仅仅是一个逗号,我将面对的是又一次征程的开始。
回忆过去,许许多多的事情浮现在脑海:刚上大学时欢乐心情和兴奋的场景还历历在目。一切都是那么新鲜,那么富有吸引力。有快乐也有艰辛,有收获也有失落。衷心感谢信息学院所有支持帮助过我的老师,谢谢你们多年来的关心和爱护。同窗的友情同样难忘,你们与我共同走过了人生中不平凡的道路,给我留下了值得珍藏的美好记忆。
最后,我要特别感谢指导论文设计的老师。本论文是在他的悉心指导和热情帮助下完成的,老师认真负责的工作态度,严谨的治学精神和精深的理论水平都使我受益匪浅。老师无论在理论上还是在实践中,都给予我很大的帮助,使我专业技能的应用水平得到很大提高,这对于我以后的工作和学习都有益处。值此论文完成之际,特别向老师表示衷心的感谢和崇高的敬意,谢谢他细心而又耐心地辅导,使得我得以顺利的完成毕业设计开发工作,同时也要感谢其他帮助过我的老师和同学,他们在我成长过程中给予了我很大的帮助,在此一并表示感谢。
由于本人水平有限,加上时间紧促,本文一定有不少缺点和不足,恳请各位老师给予帮助和指正。
免费领取项目源码,请关注❥点赞收藏并私信博主,谢谢~
本文介绍了基于Springboot的智慧园区管理系统开发。该系统采用Springboot框架、Java语言,结合MySQL数据库和HTML+CSS技术。实现了房屋、租赁等信息管理功能,通过浏览器与服务器通信。经测试,系统运行稳定,但存在数据格式检验不全、功能不完善等问题。
507

被折叠的 条评论
为什么被折叠?



