SSM多源异构数据关联技术构建智能校园
摘 要
随着科学技术的飞速发展,社会的方方面面、各行各业都在努力与现代的先进技术接轨,通过科技手段来提高自身的优势,高校当然也不能排除在外。多源异构数据关联技术构建的智能校园是以实际运用为开发背景,运用软件工程开发方法,采用SSM技术构建的一个智能校园系统。整个开发过程首先对软件系统进行需求分析,得出系统的主要功能。接着对系统进行总体设计和详细设计。总体设计主要包括系统总体结构设计、系统数据结构设计、系统功能设计和系统安全设计等;详细设计主要包括模块实现的关键代码,系统数据库访问和主要功能模块的具体实现等。最后对系统进行功能测试,并对测试结果进行分析总结,及时改进系统中存在的不足,为以后的系统维护提供了方便,也为今后开发类似系统提供了借鉴和帮助。
本系统采用的数据库是Mysql,使用SSM技术开发。在设计过程中,充分保证了系统代码的良好可读性、实用性、易扩展性、通用性、便于后期维护、操作方便以及页面简洁等特点。
关键词:智能校园,SSM,Mysql
Building Intelligent Campus with SSM Multi source Heterogeneous Data Association Technology
ABSTRACT
With the rapid development of science and technology, all aspects of society and all walks of life are trying to integrate with modern advanced technology. Colleges and universities can certainly not be excluded from improving their own advantages through scientific and technological means. The intelligent campus built by multi-source heterogeneous data association technology is an intelligent campus system based on practical application, software engineering development method and SSM technology. The whole development process firstly analyzes the requirements of the software system and obtains the main functions of the system. Then the overall design and detailed design of the system. The overall design mainly includes the overall system structure design, system data structure design, system function design and system security design; The detailed design mainly includes the key code of the module implementation, the system database access and the specific implementation of the main functional modules. Finally, the system is tested, and the test results are analyzed and summarized to improve the deficiencies in the system in time, which provides convenience for future system maintenance, and also provides reference and help for future development of similar systems.
The database used in this system is Mysql, which is developed using SSM technology. In the design process, it fully guarantees the good readability, practicability, extensibility, universality, convenience for later maintenance, convenient operation and simple page of the system code..
Key words: Intelligent Campus, SSM, MySQL.
目录
第1章 绪论
1.1背景及意义
在后疫情时代,几乎所有校园都要必备线上教学的条件,但网络教学不同于以往的传统学习方式,既要满足疫情下居家学习、教学的需求,同时满足学生个性化学习的需求,提供学生更加自由的学习空间,学生可以根据自己选择的方式去学习,不断提高学习效率从而将被动的接受变成主动学习。通过智能校园为学生提供丰富的学习资源,和书籍无法比拟的信息环境,线上完成选课,学习,考试,及作业等。为教师布置作业,发布考卷,选课信息等提供更快捷方便的平台。高校也将根据教师和学生的需求和当地的实际情况提供丰富的学习视频资源、灵活多样的教学方式选择,智能校园系统实现了这方面的要求。
1.2 国内外研究概况
虽然我国现在大力的支持网络教学的建设,但是客观的说我国的网络教学建设还是处于起始阶段,还缺乏一些理论指导,以及统一的调配问题,形成现在的全而不精的局面。我国的网络教学建设与国外相比还是有很大差距的。
国家已经为高校信息化环境建设和网络教学建设投入了巨额的经费,并取得了显著的成效。现有的网络教学及其他数字学习资源,和校园信息化环境建设的成果为本课题的研究提供了良好的物质基础。但目前优秀的教学资源的共享和应用还不够充分,网络教学资源对教学质量和办学效益提高的作用离人们的期望还有较大的距离。网络教学共享服务和可持续发展,不仅是教育信息化进程中资源建设的重要内容,而且其共建共享模式可以为国家信息化发展、构建基于信息化环境的终身教育体系、建设学习型社会提供参考。。
1.3 研究的内容
本选题则旨在通过标签分类管理等方式,实现管理员,教师,学生三种用户需求,包含以下的功能首页,站点管理,用户管理(管理员,教师,学生),内容管理(校园论坛,论坛分类列表,校园资讯,资讯分类列表,考试测试),更多管理(选课申请,选课信息,学习视频,加入选课,布置作业,完成作业,院系,专业),从而实现线上学习,选课,完成作业,考试等需求。
第2章 相关技术
2.1 开发技术
本系统前端部分基于MVVM模式进行开发,采用B/S模式,后端部分基于Java的ssm框架进行开发。
前端部分:前端框架采用了比较流行的渐进式JavaScript框架Vue.js。使用Vue-Router和Vuex实现动态路由和全局状态管理,Ajax实现前后端通信,Element UI组件库使页面快速成型,项目前端通过栅格布局实现响应式,可适应PC端、平板端、手机端等不同屏幕大小尺寸的完美布局展示。
后端部分:采用ssm作为开发框架,同时集成MyBatis、Redis等相关技术。
2.2 SSM框架介绍
SSM(Spring+SpringMVC+MyBatis)框架集由Spring、MyBatis两个开源框架整合而成(SpringMVC是Spring中的部分内容)。常作为数据源较简单的web项目的框架。
1.6.1 Spring
Spring就像是整个项目中装配bean的大工厂,在配置文件中可以指定使用特定的参数去调用实体类的构造方法来实例化对象。也可以称之为项目中的粘合剂。
Spring的核心思想是IoC(控制反转),即不再需要程序员去显式地`new`一个对象,而是让Spring框架帮你来完成这一切。
1.6.2 SpringMVC
SpringMVC在项目中拦截用户请求,它的核心Servlet即DispatcherServlet承担中介或是前台这样的职责,将用户请求通过HandlerMapping去匹配Controller,Controller就是具体对应请求所执行的操作。SpringMVC相当于SSH框架中struts。
1.6.3 mybatis
mybatis是对jdbc的封装,它让数据库底层操作变的透明。mybatis的操作都是围绕一个sqlSessionFactory实例展开的。mybatis通过配置文件关联到各实体类的Mapper文件,Mapper文件中配置了每个类对数据库所需进行的sql语句映射。在每次与数据库交互时,通过sqlSessionFactory拿到一个sqlSession,再执行sql命令。
页面发送请求给控制器,控制器调用业务层处理逻辑,逻辑层向持久层发送请求,持久层与数据库交互,后将结果返回给业务层,业务层将处理逻辑发送给控制器,控制器再调用视图展现数据。
2.3 MVVM模式
MVVM是Model-View-ViewModel的简写。它本质上就是MVC 的改进版。MVVM 就是将其中的View 的状态和行为抽象化,让我们将视图 UI 和业务逻辑分开。当然这些事 ViewModel 已经帮我们做了,它可以取出 Model 的数据同时帮忙处理 View 中由于需要展示内容而涉及的业务逻辑。微软的WPF带来了新的技术体验,如Silverlight、音频、视频、3D、动画……,这导致了软件UI层更加细节化、可定制化。同时,在技术层面,WPF也带来了 诸如Binding、Dependency Property、Routed Events、Command、DataTemplate、ControlTemplate等新特性。MVVM(Model-View-ViewModel)框架的由来便是MVP(Model-View-Presenter)模式与WPF结合的应用方式时发展演变过来的一种新型架构框架。它立足于原有MVP框架并且把WPF的新特性糅合进去,以应对用户日益复杂的需求变化。
2.4 B/S结构
B/S(Browser/Server)比前身架构更为省事的架构。它借助Web server完成数据的传递交流。只需要下载浏览器作为用户端,那么工作就达到“瘦身”效果, 不需要考虑不停装软件的问题[9]。
2.5 MySQL数据库
Mysql的语言是非结构化的,用户可以在数据上进行工作。MySQL因为其速度、可靠性和适应性而备受关注。大多数人都认为在不需要事务化处理的情况下,MySQL是管理内容最好的选择。并且因为Mysql的语言和结构比较简单,但是功能和存储信息量很强大,所以得到了普遍的应用。
Mysql数据库在编程过程中的作用是很广泛的,为用户进行数据查询带来了方便。Mysql数据库的应用因其灵活性强,功能强大,所以在实现某功能时只需要一小段代码,而不像其他程序需要编写大段代码。总体来说,Mysql数据库的语言相对要简洁很多。
数据流程分析主要就是数据存储的储藏室,它是在计算机上进行的,而不是现实中的储藏室。数据的存放是按固定格式,而不是无序的,其定义就是:长期有固定格式,可以共享的存储在计算机存储器上。数据库管理主要是数据存储、修改和增加以及数据表的建立。为了保证系统数据的正常运行,一些有能力的处理者可以进行管理而不需要专业的人来处理。数据表的建立,可以对数据表中的数据进行调整,数据的重新组合及重新构造,保证数据的安全性。介于数据库的功能强大等特点,本系统的开发主要应用了Mysql进行对数据的管理。
2.6 Vue.js 主要功能
Vue.js是一套构建用户界面的渐进式框架。与其他重量级框架不同的是,Vue采用自底向上增量开发的设计。Vue 的核心库只关注视图层,并且非常容易学习,非常容易与其它库或已有项目整合。另一方面,Vue 完全有能力驱动采用单文件组件和Vue生态系统支持的库开发的复杂单页应用。
Vue.js 的目标是通过尽可能简单的 API 实现响应的数据绑定和组合的视图组件。
Vue.js 自身不是一个全能框架——它只聚焦于视图层。因此它非常容易学习,非常容易与其它库或已有项目整合。另一方面,在与相关工具和支持库一起使用时,Vue.js 也能驱动复杂的单页应用。
第3章 系统分析
3.1 需求分析
智能校园主要是为了满足教师和学生日常教学和学习的各种需求,更好存储所有数据信息及快速方便的检索功能,对系统的各个模块是通过许多今天的发达系统做出合理的分析来确定考虑用户的可操作性,遵循开发的系统优化的原则,经过全面的调查和研究。
任何一个项目在开发研究前,都需要对研发系统本身的需求做一个认真的分析,市场的调研是不可忽视的,从实际场景中确定使用用户的功能需求,从而明确目标,对整个系统的开发有一个更加准确的定位。在这个章节,需要对系统的性能分析,业务流程分析,和数据等进行分析,多源异构数据关联技术构建智能校园的整体界面简单,功能完善。
需求的可行性是分析和讨论发达的系统能达到什么样的要求。开发的系统或网站是否符合之前的要求。只有在预先评估系统的开发中,才能在系统开发和实施之前完成需求。系统在开发和运用过程中,在技术可行性、操作可行性、经济可行性和法律可行性这几点展开的详细说明,证明了这几点是可行的。
系统所要实现的功能分析,对于现在网络方便的管理,系统要实现用户可以直接在平台上进行查看所有数据信息,根据需求可以进行在线添加,删除或修改多源异构数据关联技术构建智能校园信息,这样既能节省时间,不用再像传统的方式耽误时间,真的很难去满足用户的各种需求。所以多源异构数据关联技术构建智能校园的开发不仅能满足用户的需求,还能减少原有不必要的工作量,大大提高了管理员的工作效率。
3.2 系统可行性分析
3.2.1技术可行性:技术背景
本系统在Windows操作系统中进行开发,并且目前PC机的性能已经可以胜任普通网站的web服务器。系统开发所使用的技术也都是自身所具有的,也是当下广泛应用的技术之一。
系统的开发环境和配置都是可以自行安装的,系统使用SSM开发工具,使用比较成熟的Mysql数据库进行对系统前台及后台的数据交互,根据技术语言对数据库,结合需求进行修改维护,可以使得网站运行更具有稳定性和安全性,从而完成实现网站的开发。
(1)硬件可行性分析
系统管理及信息分析的设计对于所使用的计算机没有什么硬性的要求,计算机只要可以正常的使用进行代码的编写及页面设计就可行,主要是对于服务器有些要求,对于平台搭建完成要上传的服务器是有一定的要求的,服务器必须选择安全性比较高的,然后就是在打开网站必须顺畅,不能停顿太长时间;性价比高;安全性高。
(2)软件可行性分析
开发整个系统使用的是云计算,流量的可扩展性和基于流量的智能调整云计算的优点就是流量的可扩展性和基于流量的智能调整,保障系统的安全和数据信息的及时备份。
因此,我们从两个方面进行了可行性研究,可以看出系统的开发没有问题。
3.2.2经济可行性
智能校园开发之前所做的市场调研及参考的其他相关系统,都是没有任何费用的,都是通过开发者自己的努力,所有工作都是自己亲力亲为,在碰到自己比较难以解决的问题,大多是通过同学和指导老师的帮助进行相关信息的解决,所以对于智能校园的开发在经济上是完全可行的,没有任何费用支出的。
使用比较成熟的技术,系统是基于SSM的开发,采用Mysql数据库。所以系统在开发人力、财力要求不高,具有经济可行性。
3.2.3操作可行性:
可操作性主要是对智能校园设计完成后,用户的使用体验度,以及管理员可以通过系统随时管理相关的数据信息,并且对于学生用户,教师用户,管理员三种角色,都可以简单明了的进入到自己的系统界面,通过界面导航菜单可以简单明了地操作功能模块,方便用户信息的操作需求和管理员管理数据信息,对于系统的操作,不需要专业人员都可以直接进行功能模块的操作管理,所以在系统的可操作性是完全可以的。本系统的操作过程使用的也是界面窗口进行登录,所以操作人员只要会简单的电脑操作就完全可以的。
3.3 项目设计目标与原则
1、关于智能校园的基本要求
(1)功能要求:可以管理首页,站点管理,用户管理(管理员,教师,学生),内容管理(校园论坛,论坛分类列表,校园资讯,资讯分类列表,考试测试),更多管理(选课申请,选课信息,学习视频,加入选课,布置作业,完成作业,院系,专业)等功能模块。
(2)性能:在不同操作系统上均能无差错实现在不同类型的用户登入相应界面后能不出差错、方便地进行预期操作。
(3)安全与保密要求:用户都必须通过管理员审核才能进入系统。
(4)环境要求:支持Windows系列、Vista系统等多种操作系统使用。
2、开发目标
智能校园的主要开发目标如下:
(1)实现管理系统信息关系的系统化、规范化和自动化;
(2)减少维护人员的工作量以及实现用户对信息的控制和管理;
(3)方便查询信息及管理信息等;
(4)通过网络操作,提高改善处理问题和操作人员工作的效率;
(5)考虑到用户多样性特点,要求界面和操作简便易懂。
3、设计原则
本系统采用SSM技术,Mysql数据库开发,充分保证了系统稳定性、完整性。
智能校园的设计与实现的设计思想如下:
- 操作简单方便、系统界面安全良、简单明了的页面布局、方便学习,选课,考试和作业等相关信息。
2、即时可见:对智能校园信息的处理将立马可以查询到,从而实现“即时发布、即时见效”的系统功能。
3、功能的完善性:可以管理选课,学习资源,作业,考试等主要功能,并且可以根据实际需要对功能管理模块进行修改和维护操作。
3.4系统流程分析
3.4.1操作流程
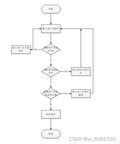
图3-1登录流程图
3.4.2添加信息流程
添加信息流程图,如图所示:
图3-2添加信息流程图
3.4.3删除信息流程
删除信息流程图,如图所示:
图3-3删除信息流程图
第4章 系统设计
4.1 系统体系结构
图4-1 系统结构
登录系统结构图,如图4-2所示:
图4-2 登录结构图
系统功能结构图,如图4-3所示。
图4-3 系统功能结构图
4.2开发流程设计
系统流程的分析是通过调查系统所涉及问题的识别、可行性、可操作性、系统分析处理能力等具体环节来调节、整理系统的设计方案以确保系统能达到理想的状态。这些操作都要从注册、登录处着眼进行一系列的流程测试保证数据库的完整,从而把控系统所涉及信息管理的安全、保证信息输入、输出正常转换。然后,通过实际操作完成流程图的绘制工作。
智能校园的开发对管理模块和系统使用的数据库进行分析,编写代码,系统测试,如图4-4所示。
图4-4开发系统流程图
4.3 数据库设计原则
学习编程,我们都知道数据库设计是基于需要设计的系统功能,我们需要建立一个数据库关系模型,用于存储数据信息,这样当我们在程序中时,就没有必要为程序页面添加数据,从而提高系统的效率。数据库存储了很多信息,可以说是信息管理系统的核心和基础,数据库还为系统提供了添加、删除、修改和检查等操作模块,使系统能够快速找到自己想要的信息,而不是在程序代码中找到。数据库中信息表的每个部分根据一定的关系精确地组合,排列和组合成数据表。
通过智能校园的功能进行规划分成几个实体信息,实体信息将通过ER图进行说明,本系统的主要实体图如下:
(1) 用户信息E-R图,如图4-3所示:
图4-3 用户信息实体属性图
4.4 数据表
将数据库概念设计的E-R图转换为关系数据库。在关系数据库中,数据关系由数据表组成,但是表的结构表现在表的字段上。
| assignment | |||||
| 字段名称 | 类型 | 长度 | 不是null | 主键 | 字段说明 |
| assignment_id | int | 0 | 否 | 主键 | 布置作业ID |
| job_no | varchar | 64 | 是 | 作业编号 | |
| course_no | varchar | 64 | 是 | 课程序号 | |
| course_name | varchar | 64 | 是 | 课程名称 | |
| knowledge_points | varchar | 64 | 是 | 知识点 | |
| teacher_no | int | 0 | 是 | 教师编号 | |
| major | varchar | 64 | 是 | 所教专业 | |
| faculty | varchar | 64 | 是 | 院系 | |
| teacher_name | varchar | 64 | 是 | 教师姓名 | |
| date_of_arrangement | date | 0 | 是 | 布置日期 | |
| student_account | int | 0 | 是 | 学生账号 | |
| student_name | varchar | 64 | 是 | 学生姓名 | |
| job_attachment | varchar | 255 | 是 | 作业附件 | |
| examine_state | varchar | 16 | 否 | 审核状态 | |
| recommend | int | 0 | 否 | 智能推荐 | |
| create_time | datetime | 0 | 否 | 创建时间 | |
| update_time | timestamp | 0 | 否 | 更新时间 | |
| course_selection_application | |||||
| 字段名称 | 类型 | 长度 | 不是null | 主键 | 字段说明 |
| course_selection_application_id | int | 0 | 否 | 主键 | 选课申请ID |
| application_no | varchar | 64 | 是 | 申请号 | |
| course_no | varchar | 64 | 是 | 课程序号 | |
| course_name | varchar | 64 | 是 | 课程名称 | |
| knowledge_points | varchar | 64 | 是 | 知识点 | |
| teacher_no | int | 0 | 是 | 教师编号 | |
| major | varchar | 64 | 是 | 所教专业 | |
| faculty | varchar | 64 | 是 | 院系 | |
| teacher_name | varchar | 64 | 是 | 教师姓名 | |
| date_of_application | date | 0 | 是 | 申请日期 | |
| course_appendix | varchar | 255 | 是 | 课程附件 | |
| student_account | int | 0 | 是 | 学生账号 | |
| student_name | varchar | 64 | 是 | 学生姓名 | |
| examine_state | varchar | 16 | 否 | 审核状态 | |
| examine_reply | varchar | 16 | 是 | 审核回复 | |
| recommend | int | 0 | 否 | 智能推荐 | |
| user_id | int | 0 | 否 | 用户ID | |
| create_time | datetime | 0 | 否 | 创建时间 | |
| update_time | timestamp | 0 | 否 | 更新时间 | |
| course_selection_information | |||||
| 字段名称 | 类型 | 长度 | 不是null | 主键 | 字段说明 |
| course_selection_information_id | int | 0 | 否 | 主键 | 选课信息ID |
| course_no | varchar | 64 | 是 | 课程序号 | |
| course_name | varchar | 64 | 是 | 课程名称 | |
| cover | varchar | 255 | 是 | 封面 | |
| major | varchar | 64 | 是 | 所教专业 | |
| knowledge_points | varchar | 64 | 是 | 知识点 | |
| teacher_no | int | 0 | 是 | 教师编号 | |
| faculty | varchar | 64 | 是 | 院系 | |
| teacher_name | varchar | 64 | 是 | 教师姓名 | |
| release_date | date | 0 | 是 | 发布日期 | |
| course_appendix | varchar | 255 | 是 | 课程附件 | |
| course_details | longtext | 0 | 是 | 课程详情 | |
| praise_len | int | 0 | 否 | 点赞数 | |
| examine_state | varchar | 16 | 否 | 审核状态 | |
| recommend | int | 0 | 否 | 智能推荐 | |
| limit_times | int | 0 | 否 | 限制次数 | |
| limit_type | tinyint | 0 | 否 | 限制次数类型 | |
| create_time | datetime | 0 | 否 | 创建时间 | |
| update_time | timestamp | 0 | 否 | 更新时间 | |
| exam | |||||
| 字段名称 | 类型 | 长度 | 不是null | 主键 | 字段说明 |
| exam_id | mediumint | 0 | 否 | 主键 | 考试id |
| name | varchar | 32 | 否 | 考试名称 | |
| duration | int | 0 | 是 | 答题时长 | |
| score | double | 8 | 是 | 总分 | |
| status | varchar | 10 | 是 | 状态 | |
| create_time | timestamp | 0 | 否 | 创建时间 | |
| update_time | timestamp | 0 | 否 | 更新时间 | |
| exam_question | |||||
| 字段名称 | 类型 | 长度 | 不是null | 主键 | 字段说明 |
| exam_question_id | mediumint | 0 | 否 | 主键 | |
| type | varchar | 20 | 是 | 类型 | |
| title | varchar | 100 | 是 | 题目 | |
| question_item | varchar | 500 | 是 | 选项 | |
| answer | varchar | 500 | 是 | 参考答案 | |
| score | double | 8 | 是 | 总分 | |
| question_order | int | 0 | 是 | 排序 | |
| exam_id | mediumint | 0 | 是 | 所属试卷 | |
| create_time | timestamp | 0 | 否 | 创建时间 | |
| update_time | timestamp | 0 | 否 | 更新时间 | |
| faculty | |||||
| 字段名称 | 类型 | 长度 | 不是null | 主键 | 字段说明 |
| faculty_id | int | 0 | 否 | 主键 | 院系ID |
| faculty | varchar | 64 | 是 | 院系 | |
| recommend | int | 0 | 否 | 智能推荐 | |
| create_time | datetime | 0 | 否 | 创建时间 | |
| update_time | timestamp | 0 | 否 | 更新时间 | |
| finish_ones_homework | |||||
| 字段名称 | 类型 | 长度 | 不是null | 主键 | 字段说明 |
| finish_ones_homework_id | int | 0 | 否 | 主键 | 完成作业ID |
| job_no | varchar | 64 | 否 | 作业编号 | |
| course_no | varchar | 64 | 是 | 课程序号 | |
| course_name | varchar | 64 | 是 | 课程名称 | |
| knowledge_points | varchar | 64 | 是 | 知识点 | |
| teacher_no | int | 0 | 是 | 教师编号 | |
| major | varchar | 64 | 是 | 所教专业 | |
| faculty | varchar | 64 | 是 | 院系 | |
| teacher_name | varchar | 64 | 是 | 教师姓名 | |
| date_of_arrangement | date | 0 | 是 | 布置日期 | |
| student_account | int | 0 | 是 | 学生账号 | |
| student_name | varchar | 64 | 是 | 学生姓名 | |
| finish_ones_homework | varchar | 255 | 是 | 完成作业 | |
| examine_state | varchar | 16 | 否 | 审核状态 | |
| examine_reply | varchar | 16 | 是 | 审核回复 | |
| recommend | int | 0 | 否 | 智能推荐 | |
| create_time | datetime | 0 | 否 | 创建时间 | |
| update_time | timestamp | 0 | 否 | 更新时间 | |
| forum | |||||
| 字段名称 | 类型 | 长度 | 不是null | 主键 | 字段说明 |
| forum_id | mediumint | 0 | 否 | 主键 | 论坛id |
| display | smallint | 0 | 否 | 排序 | |
| user_id | mediumint | 0 | 否 | 用户ID | |
| nickname | varchar | 16 | 是 | 昵称 | |
| praise_len | int | 0 | 是 | 点赞数 | |
| hits | int | 0 | 否 | 访问数 | |
| title | varchar | 125 | 否 | 标题 | |
| keywords | varchar | 125 | 是 | 关键词 | |
| description | varchar | 255 | 是 | 描述 | |
| url | varchar | 255 | 是 | 来源地址 | |
| tag | varchar | 255 | 是 | 标签 | |
| img | text | 0 | 是 | 封面图 | |
| content | longtext | 0 | 是 | 正文 | |
| create_time | timestamp | 0 | 否 | 创建时间 | |
| update_time | timestamp | 0 | 否 | 更新时间 | |
| avatar | varchar | 255 | 是 | 发帖人头像 | |
| type | varchar | 64 | 否 | 论坛分类 | |
| join_the_course_selection | |||||
| 字段名称 | 类型 | 长度 | 不是null | 主键 | 字段说明 |
| join_the_course_selection_id | int | 0 | 否 | 主键 | 加入选课ID |
| application_no | varchar | 64 | 否 | 申请号 | |
| course_no | varchar | 64 | 是 | 课程序号 | |
| course_name | varchar | 64 | 是 | 课程名称 | |
| knowledge_points | varchar | 64 | 是 | 知识点 | |
| teacher_no | int | 0 | 是 | 教师编号 | |
| major | varchar | 64 | 是 | 所教专业 | |
| faculty | varchar | 64 | 是 | 院系 | |
| teacher_name | varchar | 64 | 是 | 教师姓名 | |
| joining_date | date | 0 | 是 | 加入日期 | |
| student_account | int | 0 | 是 | 学生账号 | |
| student_name | varchar | 64 | 是 | 学生姓名 | |
| recommend | int | 0 | 否 | 智能推荐 | |
| create_time | datetime | 0 | 否 | 创建时间 | |
| update_time | timestamp | 0 | 否 | 更新时间 | |
| learning_video | |||||
| 字段名称 | 类型 | 长度 | 不是null | 主键 | 字段说明 |
| learning_video_id | int | 0 | 否 | 主键 | 学习视频ID |
| course_name | varchar | 64 | 是 | 课程名称 | |
| course_no | varchar | 64 | 是 | 课程编号 | |
| course_type | varchar | 64 | 是 | 课程类型 | |
| cover | varchar | 255 | 是 | 封面 | |
| knowledge_points | varchar | 64 | 是 | 知识章节 | |
| learning_video | varchar | 255 | 是 | 学习视频 | |
| course_introduction | longtext | 0 | 是 | 课程介绍 | |
| teacher_no | int | 0 | 是 | 教师编号 | |
| teacher_name | varchar | 64 | 是 | 教师姓名 | |
| praise_len | int | 0 | 否 | 点赞数 | |
| recommend | int | 0 | 否 | 智能推荐 | |
| create_time | datetime | 0 | 否 | 创建时间 | |
| update_time | timestamp | 0 | 否 | 更新时间 | |
| major | |||||
| 字段名称 | 类型 | 长度 | 不是null | 主键 | 字段说明 |
| major_id | int | 0 | 否 | 主键 | 专业ID |
| major | varchar | 64 | 是 | 专业 | |
| recommend | int | 0 | 否 | 智能推荐 | |
| create_time | datetime | 0 | 否 | 创建时间 | |
| update_time | timestamp | 0 | 否 | 更新时间 | |
| student | |||||
| 字段名称 | 类型 | 长度 | 不是null | 主键 | 字段说明 |
| student_id | int | 0 | 否 | 主键 | 学生ID |
| student_account | varchar | 64 | 否 | 学生账号 | |
| student_name | varchar | 64 | 是 | 学生姓名 | |
| gender | varchar | 64 | 是 | 性别 | |
| major | varchar | 64 | 是 | 专业 | |
| examine_state | varchar | 16 | 否 | 审核状态 | |
| recommend | int | 0 | 否 | 智能推荐 | |
| user_id | int | 0 | 否 | 用户ID | |
| create_time | datetime | 0 | 否 | 创建时间 | |
| update_time | timestamp | 0 | 否 | 更新时间 | |
| teacher | |||||
| 字段名称 | 类型 | 长度 | 不是null | 主键 | 字段说明 |
| teacher_id | int | 0 | 否 | 主键 | 教师ID |
| teacher_no | varchar | 64 | 否 | 教师编号 | |
| teacher_name | varchar | 64 | 是 | 教师姓名 | |
| gender | varchar | 64 | 是 | 性别 | |
| faculty | varchar | 64 | 是 | 院系 | |
| examine_state | varchar | 16 | 否 | 审核状态 | |
| recommend | int | 0 | 否 | 智能推荐 | |
| user_id | int | 0 | 否 | 用户ID | |
| create_time | datetime | 0 | 否 | 创建时间 | |
| update_time | timestamp | 0 | 否 | 更新时间 | |
| user_answer | |||||
| 字段名称 | 类型 | 长度 | 不是null | 主键 | 字段说明 |
| user_answer_id | mediumint | 0 | 否 | 主键 | |
| user_id | mediumint | 0 | 否 | 用户ID | |
| exam_id | mediumint | 0 | 否 | 考试id | |
| score | double | 8 | 是 | 分数 | |
| answers | varchar | 500 | 是 | 答案 | |
| score_detail | varchar | 255 | 是 | 评分详情 | |
| objective_score | double | 8 | 是 | 客观题得分 | |
| subjective_score | double | 8 | 是 | 主观题得分 | |
| score_state | tinyint | 0 | 是 | 评分状态 | |
| nickname | varchar | 255 | 是 | 提交人 | |
| create_time | timestamp | 0 | 否 | 创建时间 | |
| update_time | timestamp | 0 | 否 | 更新时间 | |
| user_group | |||||
| 字段名称 | 类型 | 长度 | 不是null | 主键 | 字段说明 |
| group_id | mediumint | 0 | 否 | 主键 | 用户组ID |
| display | smallint | 0 | 否 | 显示顺序 | |
| name | varchar | 16 | 否 | 名称 | |
| description | varchar | 255 | 是 | 描述 | |
| source_table | varchar | 255 | 是 | 来源表 | |
| source_field | varchar | 255 | 是 | 来源字段 | |
| source_id | int | 0 | 否 | 来源ID | |
| register | smallint | 0 | 是 | 注册位置 | |
| create_time | timestamp | 0 | 否 | 创建时间 | |
| update_time | timestamp | 0 | 否 | 更新时间 | |
5.1管理员功能模块
管理员登录,通过填写账号、密码选择登录即可进入智能校园,如图5-1所示。
图5-1管理员登录界面图
管理员登录进入首页后,可以编辑操作首页,站点管理,用户管理(管理员,教师,学生),内容管理(校园论坛,论坛分类列表,校园资讯,资讯分类列表,考试测试),更多管理(选课申请,选课信息,学习视频,加入选课,布置作业,完成作业,院系,专业)等内容,如图5-2所示。
图5-2管理员功能界面图
用户管理,在此页面可以查看学生和教师用户信息,并可根据需要对信息进行添加,编辑,删除或查看详细内容等操作,如图5-3所示。
图5-3管理员添加教师界面图
管理员在选课信息页面可以查看教师提交的选课信息并审核,如图5-4所示。
图5-4选课信息管理界面图
校园资讯管理,在此管理页面可以校园资讯进行增删改等操作,如图5-5所示。
图5-5校园资讯管理界面图
考试测试管理,在此管理页面可以考试测试信息进行增删改等操作,如图5-6所示。
图5-6考试测试管理界面图
轮播图管理管理,在此管理页面可以轮播图进行增删改等操作等操作,如图5-7所示。
图5-7轮播图管理界面图
专业管理,管理可以查看各院系专业信息,可以增删改等维护操作,如图5-8所示。
图5-8专业管理界面图
5.2教师功能模块
教师登录,通过填写账号、密码选择登录即可进入多源异构数据关联技术构建智能校园,如图5-9所示。
图5-9教师登录界面图
登录进入考试测试管理可以对考试信息进行增删改操作,设计考卷内容等,如图5-10所示。
图5-10考试测试管理界面图
选课信息管理,在此页面可以维护提交选课信息,如图5-11所示。
图5-11选课信息界面图
在学习视频管理页面可以上传维护学习视频等操作,如图5-12所示。
图5-12学习视频界面图
5.2学生功能模块
学生注册,通过填写账号、密码、昵称等信息,输入完成后选择登录即可进入多源异构数据关联技术构建智能校园,如图5-13所示。
图5-1学生注册界面图
考试测试,在此页面可以参加考试,答题,提交考卷及查看成绩等,如图5-14所示。
图5-14考试测试界面图
选课申请,在此页面可以查看可以选择的课程,并申请选课,收藏,评论等,如图5-15,16所示。
图5-15选课申请界面图
图5-15申请详情界面图
第6章 系统测试
6.1系统测试的目的
程序设计不能保证没有错误,这是一个开发过程,在错误或错误的过程中都是难以避免的。虽然这是不可避免的,但我们不能使这些错误始终存在于系统中,错误可能会造成无法估量的后果,如系统崩溃,安全信息泄露,系统无法正常启动等,为了避免这些问题,我们需要测试程序,再测试过程中发现问题,并纠正它们,从而使系统更长时间稳定成熟。本章的作用是发现这些问题,并对其进行修改,虽然耗时费力,但对于长期使用而言是非常重要和必要系统的开发。
软件在设计后必须进行测试,调试过程中使用的方法是软件测试方法。在开发新软件时,系统测试是检查软件是否合格的关键步骤,以及是否符合设计目标的参考。测试主要是查看软件中数据的准确性,正确的操作与否,以及操作的结果,还有哪些方面需要改进。
多源异构数据关联技术构建智能校园的实现,对于系统中功能模块的实现及操作都必须通过测试进行来评判系统是否可以准确的实现。在多源异构数据关联技术构建智能校园正式上传使用之前必须做的一步就是系统测试,对于测试发现的错误及时修改处理,保证系统准确无误的供给用户使用。
6.2系统测试方法
在对多源异构数据关联技术构建智能校园进行测试的时候在找到问题的情况下必须在第一时间找到解决问题的办法,不要存在侥幸的心理,这样才能让智能校园开发的质量可以过关,并且开发的周期会大大缩短,还有就是在测试时,不要出现重复性的错误,遇到一个错误问题,要将整个智能校园开发所牵扯的该问题都必须一一解决,提高智能校园平台的安全性、稳定性。
白盒测试与黑盒测试是测试中比较常用的两种方法。
①结构测试俗称白盒测试:这种测试是在对程序的处理过程与结构都有详尽谅解的前提下,顺从程序内部的逻辑而完成的系统测试,以确定系统中所有的通路都能够遵照设计要求正常工作,不出现任何偏差。
②功能测试又成黑盒测试:主要是针对程序功能能够按照设计正常实现的一种检测,在程序接口处进行,检测程序手法数据是否正常,与外部信息的交换是否完整。
6.3功能测试
学生登录测试:
| 模块名称 | 测试用例 | 预期结果 | 实际结果 | 是否通过 |
| 登录模块 | 学生名:admin 密码:123 | 弹出错误提示,提示密码错误 | 弹出错误提示,提示密码错误 | 通过 |
| 登录模块 | 学生名:123 密码:admin | 弹出错误提示,提示学生名错误 | 弹出错误提示,提示学生名错误 | 通过 |
| 登录模块 | 学生名:admin 密码:admin | 管理员登录成功 | 管理员登录成功 | 通过 |
删除分类测试:
| 模块名称 | 测试用例 | 预期结果 | 实际结果 | 是否通过 |
| 删除分类模块 | 分类名:最新通知 | 删除成功、页面自动跳转 | 删除成功、页面自动跳转 | 通过 |
修改密码测试:
| 模块名称 | 测试用例 | 预期结果 | 实际结果 | 是否通过 |
| 修改密码模块 | 原密码:666 新密码:123 确认密码:123 | 弹出错误提示,提示原密码错误 | 弹出错误提示,提示原密码错误 | 通过 |
| 修改密码模块 | 原密码:admin 新密码:123 确认密码:333 | 弹出错误提示,提示确认密码不一致 | 弹出错误提示,提示确认密码不一致 | 通过 |
| 修改密码模块 | 原密码:admin 新密码:123 确认密码:123 | 密码修改成功 | 密码修改成功 | 通过 |
通过对功能的测试,多源异构数据关联技术构建智能校园的基本功能都是可行的,不管是系统里面的功能,还是界面的设计都是可值得推广宣传的。
此时项目已经完成,即使实施的时间不是很长,但是这个过程中需要准备很长的一段时间去对系统设计开发所实际到的技术进行学习。在学习的过程中,我逐渐认识得到了我自身存在的一些不足。对于一些控制是必要的应用技能,能够理解,整个过程中仅仅是一个掌握了常用的性能和控制方法,我觉得挺容易的。从该系统中,系统的分析和设计的调查数据,并且已经经历了几个月,并努力几个月,该系统已经完成。很显然,该系统仍有很多不成熟,在系统设计过程中有许多技术缺陷存在。在设计的过程中也涉及到了很多自己无法解决的问题,主要通过找专业的网站和论坛来解决这些问题,对于圆满完成我的毕业设计,他们也贡献了很大一部分力量。系统的开发环境和配置都是可以自行安装的,系统使用SSM开发工具,使用比较成熟的Mysql数据库进行对系统前台及后台的数据交互,根据技术语言对数据库,结合需求进行修改维护,可以使得系统运行更具有稳定性和安全性,从而完成实现系统的开发。
在以后的学习及工作中,我将继续努力学习计算机方面的技术,以期在平台开发中可以更好更快的实现需求功能。
多源异构数据关联技术构建智能校园的完成,如何实现的更好,其中付出的努力是很大的,这段时光将会终身难忘。
首先要感谢我的指导老师,谢谢您在设计和论文中给我的指导。在您的细心指导下我才能快速的掌握系统的相关功能,在您的大力帮助下我才能将课本上的知识与自己的项目结合,真正的做到学以致用。感谢您经常牺牲自己的休息时间,利用其丰富的教学和项目经验对我进行指导。
感谢所有教过我的老师,为我倾注了大量的心血,正是你们的谆谆教诲、严谨教学才使我能顺利的完成学业,再此向你们表示深深的感谢。
感谢我的同学们,对我的大力支持及帮助,正是你们不断的帮助、鼓励,给我带来了极大的动力,最终系统可以顺利的运行。我们在交流、谈论的这段时间,将是我未来的财富,我要深深地感谢你们!
毕业在即,在今后的工作和生活中,我会铭记师长们的教诲、同学们的帮助,继续不懈努力和追求,来报答所有支持和帮助过我的人!。
参考文献
[1]付晓,丁建朋. 高校院系教学实施管理系统设计与实现[J]. 中国教育技术装备:1-4.
[2]王强. 基于B/S架构的高校学生信息管理系统设计[J]. 电子技术与软件工程,2022,(17):195-198.
[3]刘源昭,陈伟,曹俊杰,李鹏宇,李英杰,许一靖,孙浩铭. 基于SSM架构的图书管理系统[J]. 山西电子技术,2022,(03):61-63+76.
[4]冯子充,秘伟,郭晓利. 基于SSM架构的物流公司信息管理系统的设计[J]. 电脑知识与技术,2022,18(04):24-26.
[5]朱彬,童颖飞,陈剑,肖苏飞. 基于SSM的党建管理系统设计与实现[J]. 信息与电脑(理论版),2022,34(02):148-151.
[6]陶磊. 基于互联网下的智能校园设计[J]. 电脑编程技巧与维护,2022,(01):108-109+135.
[7]李春生,李朝霞,刘涛,胡亚楠. 基于SSM的科研室管理系统的研究与设计[J]. 计算机技术与发展,2021,31(12):148-154.
[8]王宇,夏丽丽,何颖刚. 基于SSM框架的高校毕业论文管理系统的设计与实现[J]. 电子技术与软件工程,2021,(22):26-29.
[9]姜丽莉,涂玄武. 基于SSM的“我的课堂”管理系统的设计与实现[J]. 科技与创新,2021,(06):118-119.
[10]孙善毅,朱宁. 基于SSM框架的学生信息管理系统的开发与应用[J]. 电子技术与软件工程,2021,(04):43-45.
[11]甄真,张秀梅. 学生网课学习系统的开发与设计[J]. 现代信息科技,2020,4(23):8-10+16.
[12]夏娟. 基于SSM的翻转课堂管理系统的设计与开发[J]. 信息记录材料,2020,21(12):116-118.
[13]石凤贵. 基于SSM的选课系统设计与实现[J]. 电脑知识与技术,2020,16(08):56-58.
[14]任祖华. 基于SSM的高校选课教务系统的设计与实现[D].首都经济贸易大学,2019.
[15]王诗莹. 基于SSM框架的英语口语考试系统的设计与实现[D].南昌航空大学,2019.
[16]赵钰,王苹,李雅婷,蒋卫祥. 基于SSM框架的在线选课系统设计与实现[J]. 计算机产品与流通,2018,(12):133.
[17] Hermanto Ruby,Putro Utomo Sarjono,Novani Santi,Kijima Kyoichi. Overcoming the challenge of those new with SSM in surfacing relevant worldviews for action to improve[J]. Journal of the Operational Research Society,2022,73(9).
[18] Zheng Hongying. A Study on the Design of English Speaking Examination System Based on SSM Framework[J]. Journal of Sensors,2022,2022.
[19] Zhang Hai-Bin,张 海斌,Liu Chang-Xin,刘 长鑫,Yang Jin-Lei,杨 金磊,Feng Tai-Fu,冯 太傅. Muon anomalous magnetic dipole moment in the SSM[J]. Chinese Physics C,2022,46(9).
[20] Randeep Singh,Amit Bindal,Ashok Kumar. A framework to improve quality of a Java system by performing refactoring[J]. International Journal of System of Systems Engineering,2020,10(4).
本文介绍了基于SSM多源异构数据关联技术构建的智能校园系统。该系统采用软件工程开发方法,前端基于MVVM模式和Vue.js,后端用Java的SSM框架,数据库为MySQL。系统涵盖管理员、教师、学生功能模块,开发后进行了功能测试,以确保稳定运行。
735

被折叠的 条评论
为什么被折叠?



