目录
摘要
本文介绍了基于SSM(Spring、SpringMVC、MyBatis)框架的志愿者管理系统的设计与实现。该系统旨在提供一个高效、便捷、可靠的志愿者信息管理平台,以满足各类组织机构对志愿者资源的有效管理和利用。
本文首先分析了志愿者管理系统的需求,包括志愿活动、培训信息、活动报名、取消活动、培训报名、取消报名、考勤信息等功能。然后,结合SSM框架的优势,设计了系统的整体架构和技术路线,包括前后端分离的设计思想、数据库的设计和优化等。
在系统实现方面,本文详细阐述了基于SSM框架的系统开发过程,包括Spring的配置和依赖注入、SpringMVC的控制器设计和路由映射、MyBatis的数据访问和ORM映射等。同时,本文还介绍了系统前端界面的设计和实现,以及前后端交互的数据格式和传输方式。
最后,本文对所实现的志愿者管理系统进行了功能测试和性能测试,验证了系统的稳定性和性能表现。通过实际应用案例的展示,证明了该系统在志愿者信息管理方面的实际应用价值和效果。
本文的研究和实现对于志愿者管理系统的设计和开发具有一定的参考和借鉴意义,同时也为SSM框架在志愿者管理领域的应用提供了实践案例。
关键词:志愿者管理系统;SSM;系统设计
This article introduces the design and implementation of a volunteer management system based on the SSM (Spring, SpringMVC, MyBatis) framework. The system aims to provide an efficient, convenient, and reliable volunteer information management platform to meet the effective management and utilization of volunteer resources by various organizations.
This article first analyzes the requirements of the volunteer management system, including volunteer activities, training information, activity registration, cancellation of activities, training registration, cancellation of registration, attendance information and other functions. Then, combining the advantages of the SSM framework, the overall architecture and technical roadmap of the system were designed, including the design concept of front-end and back-end separation, database design and optimization, etc.
In terms of system implementation, this article elaborates on the system development process based on the SSM framework, including Spring configuration and dependency injection, SpringMVC controller design and routing mapping, MyBatis data access and ORM mapping, etc. Meanwhile, this article also introduces the design and implementation of the front-end interface of the system, as well as the data format and transmission method for front-end and back-end interaction.
Finally, this article conducted functional and performance tests on the implemented volunteer management system, verifying its stability and performance. The practical application value and effectiveness of the system in volunteer information management have been demonstrated through practical application cases.
The research and implementation of this article have certain reference and reference significance for the design and development of volunteer management systems, and also provide practical cases for the application of SSM framework in the field of volunteer management.
Keywords: Volunteer management system; SSM; system design
1 绪论
1.1 选题背景与意义
随着社会的快速发展和公益事业的日益兴盛,志愿者活动在各个领域扮演着越来越重要的角色。志愿者队伍的组织和管理成为了确保这些活动能够高效、顺利进行的关键因素。传统的志愿者管理方式,如纸质记录、简单的数据库存储等,已经无法满足现代志愿者活动对信息管理和数据分析的需求。因此,开发一款功能全面、操作便捷、适应性强的志愿者管理系统显得尤为重要。
SSM(Spring、SpringMVC、MyBatis)框架作为当前主流的Java Web开发框架,以其高效、稳定、易扩展的特点,受到了广大开发者的青睐。该框架集合了Spring的依赖注入和面向切面编程、SpringMVC的MVC设计模式以及MyBatis的数据持久化技术,为构建企业级应用提供了强大的技术支持。
基于SSM的志愿者管理系统的设计与实现课题研究,旨在利用SSM框架的技术优势,结合志愿者管理的实际需求,开发一套既能够高效管理志愿者信息,又能够支持数据分析与决策支持的志愿者管理系统。通过这一系统的实现,不仅可以提高志愿者管理的效率和准确性,还可以为志愿者活动的组织者和参与者提供更好的信息交流平台,推动公益事业的发展。
综上所述,基于SSM的志愿者管理系统的设计与实现课题研究具有重要的现实意义和应用价值,对于提升志愿者管理水平和推动公益事业的发展具有重要意义。
在国内,随着公益事业的发展,越来越多的学者和开发者开始关注志愿者管理系统的设计与实现。基于SSM框架的志愿者管理系统在国内得到了广泛的应用。这些系统通常涵盖了志愿者注册、活动管理、报名统计、考勤记录等功能,有效提高了志愿者管理的效率。
在系统设计方面,国内研究者注重系统的模块化、可扩展性和可维护性。他们充分利用SSM框架的优势,将系统划分为清晰的逻辑层、数据访问层和表现层,实现了代码的高内聚、低耦合。同时,国内学者还积极探索了系统性能优化、安全性保障等方面的技术,提升了系统的稳定性和可靠性。
在实现技术方面,国内开发者广泛采用Java语言,结合SSM框架进行开发。他们通过定制化的ORM映射和SQL优化,实现了高效的数据访问和处理。同时,国内开发者还积极运用前端技术,如HTML5、CSS3、JavaScript等,提升了系统的交互性和用户体验。
国外研究现状:
在国外,志愿者管理系统的研究与应用同样得到了广泛关注。相较于国内,国外的志愿者管理系统在设计理念和技术实现上可能更加成熟和先进。
在系统设计方面,国外研究者注重系统的灵活性和可扩展性。他们通常采用微服务架构或云计算技术,实现系统的快速部署和横向扩展。同时,国外学者还注重系统的用户体验和可用性,通过优化界面设计、提升系统响应速度等手段,提高用户满意度。
在实现技术方面,国外开发者同样采用了多种技术和框架,如Spring、Spring Boot、Hibernate等。他们充分利用这些框架的优点,实现了系统的高效运行和稳定性能。此外,国外开发者还积极探索了人工智能、大数据等前沿技术在志愿者管理系统中的应用,为系统的智能化、个性化提供了可能。
国内外在基于SSM的志愿者管理系统的设计与实现方面均取得了一定的成果。然而,随着技术的不断发展和用户需求的不断变化,志愿者管理系统的研究与应用仍面临诸多挑战。未来,研究者和开发者可以进一步探索系统的智能化、个性化发展方向,结合人工智能、大数据等前沿技术,提升系统的智能化水平和个性化服务能力。同时,还需要关注系统的安全性和隐私保护问题,确保用户数据的安全和隐私。
通过对国内外基于SSM的志愿者管理系统的设计与实现的研究现状进行分析,可以发现国内外在该领域均取得了一定的进展。然而,仍需继续深入研究和探索,以应对不断变化的用户需求和技术挑战。通过不断创新和优化,相信未来的志愿者管理系统将为社会公益事业的发展提供更加高效、智能和便捷的支持。
论文将分层次经行编排,除去论文摘要致谢文献参考部分,正文部分还会对系统需求做出分析,以及阐述大体的设计和实现的功能,最后罗列部分调测记录,论文主要架构如下:
第一章:引言。第一章主要介绍了课题研究的背景和意义,系统开发的国内外研究现状和本文的研究内容与主要工作。
第二章:系统需求分析。主要从系统的用户、功能等方面进行需求分析。
第三章:系统设计。主要对系统框架、系统功能模块、数据库进行功能设计。
第四章:系统实现。主要介绍了系统框架搭建、系统界面的实现。
第五章:系统测试。主要对系统的部分界面进行测试并对主要功能进行测试
2系统分析
系统分析是开发一个项目的先决条件,通过系统分析可以很好的了解系统的主体用户的基本需求情况,同时这也是项目的开发的原因。进而对系统开发进行可行性分析,通常包括技术可行性、经济可行性等,可行性分析同时也是从项目整体角度进行的分析。然后就是对项目的具体需求进行分析,分析的手段一般都是通过用户的用例图来实现。接下来会进行详细的介绍。
2.1 可行性分析
经济可行性在此仅代表平台的运维成本,开发成本不在此考虑。
目前该模式下的相关系统的数量日益增多,信息管理系统的平民化、普及化使用户人数呈上升趋势,当用户人数庞大了,运维成本可以由广告费进行填补,包括开发成本。
所以经济可行性没有问题。
(2)操作可行性:
此次项目设计参考了几个该模式下系统的开发案例,对他们的操作界面分析,将众多案例结合在一起,突出以人为本简化操作,所以具有基本计算机知识的人都会操作本项目。
因此操作可行性也没有问题。
(3)技术可行性:
技术可行性指的是对于搭建框架的可行性,以及有更优秀的技术出现时系统的技术更新换代的纳新性如何,开发时间成本费用比如何。
现有的JAVA语言能够迎合所有系统的搭建。开发这个志愿者管理系统的时候我采用了JAVA+SSM 用以运行整体程序。
综上所述技术可行性也没有问题。
2.2.1系统开发流程
基于SSM 的志愿者管理系统开发时,首先进行需求分析,进而对系统进行总体的设计规划,设计系统功能模块,数据库的选择等,本系统的开发流程如图2-1所示。

图2-1系统开发流程图
2.2.2 用户登录流程
为了保证系统的安全性,要使用本系统对系统信息进行管理,必须先登陆到系统中。如图2-2所示。

图2-2 登录流程图
2.2.3 系统操作流程
用户打开并进入系统后,会先显示登录界面,输入正确的用户名和密码,系统自动检测信息,若信息无误,则用户会进入系统功能界面,进行操作,否则会提示错误无法登录,操作流程如图2-3所示。

图2-3 系统操作流程图
2.2.4 添加信息流程
管理员可以对志愿活动、培训信息等进行信息的添加,用户可以对自己权限内的信息进行添加,输入信息后,系统会自行验证输入的信息和数据,若信息正确,会将其添加到数据库内,若信息有误,则会提示重新输入信息,添加信息流程如图2-4所示。

图2-4 添加信息流程图
2.2.5 修改信息流程
管理员可以对志愿活动、培训信息等进行的修改,用户可以对自己权限内的信息进行修改,首先进入修改信息界面,输入修改信息数据,系统进行数据的判断验证,修改信息合法则修改成功,信息更新至数据库,信息不合法则修改失败,重新输入。修改信息流程图如图2-5所示。

图2-5 修改信息流程图
2.2.6 删除信息流程
管理员可以对志愿活动、培训信息等进行信息的删除,对要删除的信息进行选中后,点击删除按钮,系统会询问是否确定,若点击确定,则系统会删除掉选中的信息,并在数据库内对信息进行删除,删除信息流程图如图2-6所示。

图2-6 删除信息流程图
2.3 系统功能分析
首页: 展示系统的主要功能入口和最新信息,包括志愿活动推荐、培训信息等。
志愿活动: 学生可以浏览系统发布的志愿活动信息,包括活动内容、时间、地点等。
培训信息: 学生可以查看系统发布的志愿服务培训信息,包括培训内容、时间、地点等。
我的账户: 学生个人信息管理,包括头像、密码、昵称等。
个人中心:
个人首页: 展示学生个人信息和相关统计数据。
活动报名: 学生可以在此页面报名参加志愿活动。
取消活动: 学生可以取消已报名的志愿活动。
培训报名: 学生可以在此页面报名参加志愿服务培训。
取消报名: 学生可以取消已报名的培训。
考勤信息: 学生可以查看自己参加志愿活动的考勤信息。
收藏: 学生可以收藏感兴趣的活动或培训信息。
2. 管理员功能:
后台首页: 提供管理员登录后的管理主页,展示系统的重要信息和功能入口。
系统用户: 管理注册用户的信息,包括学生用户和管理员的信息。
志愿活动管理: 管理系统发布的志愿活动信息,包括添加、编辑和删除活动等操作。
活动报名管理: 管理学生对志愿活动的报名情况,包括审核、统计等操作。
取消活动管理: 管理学生取消活动报名的情况,包括审核、统计等操作。
培训信息管理: 管理系统发布的志愿服务培训信息,包括添加、编辑和删除培训信息等操作。
培训报名管理: 管理学生对培训的报名情况,包括审核、统计等操作。
取消培训管理: 管理学生取消培训报名的情况,包括审核、统计等操作。
考勤信息管理: 管理学生的志愿活动考勤情况,包括记录、统计等操作。
系统管理:
轮播图管理: 管理系统首页的轮播图信息,提供系统宣传和活动宣传功能。
以上是基于SSM的志愿者管理系统的系统功能分析,涵盖了学生用户和管理员两个角色的功能设计与实现要求。
基于SSM 的志愿者管理系统的非功能性需求比如系统的安全性怎么样,可靠性怎么样,性能怎么样,可拓展性怎么样等。具体可以表示在如下2-1表格中:
表2-1基于SSM 的志愿者管理系统非功能需求表
| 安全性 | 主要指基于SSM 的志愿者管理系统数据库的安装,数据库的使用和密码的设定必须合乎规范。 |
| 可靠性 | 可靠性是指基于SSM 的志愿者管理系统能够安装用户的指示进行操作,经过测试,可靠性90%以上。 |
| 性能 | 性能是影响基于SSM 的志愿者管理系统占据市场的必要条件,所以性能最好要佳才好。 |
| 可扩展性 | 比如数据库预留多个属性,比如接口的使用等确保了系统的非功能性需求。 |
| 易用性 | 用户只要跟着基于SSM 的志愿者管理系统的页面展示内容进行操作,就可以了。 |
| 可维护性 | 基于SSM 的志愿者管理系统开发的可维护性是非常重要的,经过测试,可维护性没有问题 |
2.4 系统用例分析
通过2.3功能的分析,得出了系统的用例图:
志愿者用户角色用例如图2-7所示。

图2-7志愿者用户角色用例图
管理员是维护整个基于SSM 的志愿者管理系统中所有数据信息的。管理员角色用例如图2-8所示。

本章主要通过对基于SSM 的志愿者管理系统的可行性分析、流程分析、功能需求分析、系统用例分析,确定整个系统要实现的功能。同时也为系统的代码实现和测试提供了标准。
3 系统总体设计
3.1 系统架构设计
本系统从架构上分为三层:表现层(UI)、业务逻辑层(BLL)以及数据层(DL)。

图3-1系统架构设计图
表现层(UI):又称UI层,主要完成本系统的UI交互功能,一个良好的UI可以打打提高用户的用户体验,增强用户使用本系统时的舒适度。UI的界面设计也要适应不同版本的志愿者管理系统以及不同尺寸的分辨率,以做到良好的兼容性。UI交互功能要求合理,用户进行交互操作时必须要得到与之相符的交互结果,这就要求表现层要与业务逻辑层进行良好的对接。
业务逻辑层(BLL):主要完成本系统的数据处理功能。用户从表现层传输过来的数据经过业务逻辑层进行处理交付给数据层,系统从数据层读取的数据经过业务逻辑层进行处理交付给表现层。
数据层(DL):由于本系统的数据是放在服务端的mysql数据库中,因此本属于服务层的部分可以直接整合在业务逻辑层中,所以数据层中只有数据库,其主要完成本系统的数据存储和管理功能。
3.2 系统功能模块设计
在上一章节中主要对系统的功能性需求和非功能性需求进行分析,并且根据需求分析了本系统中的用例。那么接下来就要开始对本系统的架构、主要功能和数据库开始进行设计。基于SSM 的志愿者管理系统根据前面章节的需求分析得出,其总体设计模块图如图3-2所示。

图3-2系统功能模块图
数据库设计一般包括需求分析、概念模型设计、数据库表建立三大过程,其中需求分析前面章节已经阐述,概念模型设计有概念模型和逻辑结构设计两部分。
3.3.1 数据库概念结构设计
下面是整个基于SSM 的志愿者管理系统中主要的数据库表总E-R实体关系图。
图3-3 基于SSM 的志愿者管理系统总E-R关系图
通过上一小节中基于SSM 的志愿者管理系统中总E-R关系图上得出一共需要创建很多个数据表。在此我主要罗列几个主要的数据库表结构设计。
| 编号 | 名称 | 数据类型 | 长度 | 小数位 | 允许空值 | 主键 | 默认值 | 说明 |
| 1 | token_id | int | 10 | 0 | N | Y | 临时访问牌ID | |
| 2 | token | varchar | 64 | 0 | Y | N | 临时访问牌 | |
| 3 | info | text | 65535 | 0 | Y | N | ||
| 4 | maxage | int | 10 | 0 | N | N | 2 | 最大寿命:默认2小时 |
| 5 | create_time | timestamp | 19 | 0 | N | N | CURRENT_TIMESTAMP | 创建时间: |
| 6 | update_time | timestamp | 19 | 0 | N | N | CURRENT_TIMESTAMP | 更新时间: |
| 7 | user_id | int | 10 | 0 | N | N | 0 | 用户编号: |
表attendance_information (考勤信息)
| 编号 | 名称 | 数据类型 | 长度 | 小数位 | 允许空值 | 主键 | 默认值 | 说明 |
| 1 | attendance_information_id | int | 10 | 0 | N | Y | 考勤信息ID | |
| 2 | volunteer_account | int | 10 | 0 | Y | N | 0 | 志愿者账号 |
| 3 | volunteer_name | varchar | 64 | 0 | Y | N | 志愿者姓名 | |
| 4 | volunteer_gender | varchar | 64 | 0 | Y | N | 志愿者性别 | |
| 5 | volunteer_phone_number | varchar | 64 | 0 | Y | N | 志愿者电话 | |
| 6 | attendance_date | datetime | 19 | 0 | Y | N | 考勤日期 | |
| 7 | attendance_status | varchar | 64 | 0 | Y | N | 考勤状态 | |
| 8 | examine_state | varchar | 16 | 0 | N | N | 未审核 | 审核状态 |
| 9 | examine_reply | varchar | 16 | 0 | Y | N | 审核回复 | |
| 10 | create_time | datetime | 19 | 0 | N | N | CURRENT_TIMESTAMP | 创建时间 |
| 11 | update_time | timestamp | 19 | 0 | N | N | CURRENT_TIMESTAMP | 更新时间 |
| 编号 | 名称 | 数据类型 | 长度 | 小数位 | 允许空值 | 主键 | 默认值 | 说明 |
| 1 | auth_id | int | 10 | 0 | N | Y | 授权ID: | |
| 2 | user_group | varchar | 64 | 0 | Y | N | 用户组: | |
| 3 | mod_name | varchar | 64 | 0 | Y | N | 模块名: | |
| 4 | table_name | varchar | 64 | 0 | Y | N | 表名: | |
| 5 | page_title | varchar | 255 | 0 | Y | N | 页面标题: | |
| 6 | path | varchar | 255 | 0 | Y | N | 路由路径: | |
| 7 | position | varchar | 32 | 0 | Y | N | 位置: | |
| 8 | mode | varchar | 32 | 0 | N | N | _blank | 跳转方式: |
| 9 | add | tinyint | 3 | 0 | N | N | 1 | 是否可增加: |
| 10 | del | tinyint | 3 | 0 | N | N | 1 | 是否可删除: |
| 11 | set | tinyint | 3 | 0 | N | N | 1 | 是否可修改: |
| 12 | get | tinyint | 3 | 0 | N | N | 1 | 是否可查看: |
| 13 | field_add | text | 65535 | 0 | Y | N | 添加字段: | |
| 14 | field_set | text | 65535 | 0 | Y | N | 修改字段: | |
| 15 | field_get | text | 65535 | 0 | Y | N | 查询字段: | |
| 16 | table_nav_name | varchar | 500 | 0 | Y | N | 跨表导航名称: | |
| 17 | table_nav | varchar | 500 | 0 | Y | N | 跨表导航: | |
| 18 | option | text | 65535 | 0 | Y | N | 配置: | |
| 19 | create_time | timestamp | 19 | 0 | N | N | CURRENT_TIMESTAMP | 创建时间: |
| 20 | update_time | timestamp | 19 | 0 | N | N | CURRENT_TIMESTAMP | 更新时间: |
| 编号 | 名称 | 数据类型 | 长度 | 小数位 | 允许空值 | 主键 | 默认值 | 说明 |
| 1 | cancel_activity_id | int | 10 | 0 | N | Y | 取消活动ID | |
| 2 | volunteer_account | int | 10 | 0 | Y | N | 0 | 志愿者账号 |
| 3 | volunteer_name | varchar | 64 | 0 | Y | N | 志愿者姓名 | |
| 4 | volunteer_gender | varchar | 64 | 0 | Y | N | 志愿者性别 | |
| 5 | volunteer_phone_number | varchar | 64 | 0 | Y | N | 志愿者电话 | |
| 6 | activity_name | varchar | 64 | 0 | Y | N | 活动名称 | |
| 7 | activity_time | datetime | 19 | 0 | Y | N | 活动时间 | |
| 8 | event_location | varchar | 64 | 0 | Y | N | 活动地点 | |
| 9 | registration_time | datetime | 19 | 0 | Y | N | 报名时间 | |
| 10 | registration_details | text | 65535 | 0 | Y | N | 报名详情 | |
| 11 | cancel_time | datetime | 19 | 0 | Y | N | 取消时间 | |
| 12 | reason_for_cancellation | text | 65535 | 0 | Y | N | 取消原因 | |
| 13 | examine_state | varchar | 16 | 0 | N | N | 未审核 | 审核状态 |
| 14 | examine_reply | varchar | 16 | 0 | Y | N | 审核回复 | |
| 15 | create_time | datetime | 19 | 0 | N | N | CURRENT_TIMESTAMP | 创建时间 |
| 16 | update_time | timestamp | 19 | 0 | N | N | CURRENT_TIMESTAMP | 更新时间 |
| 编号 | 名称 | 数据类型 | 长度 | 小数位 | 允许空值 | 主键 | 默认值 | 说明 |
| 1 | cancel_training_id | int | 10 | 0 | N | Y | 取消培训ID | |
| 2 | volunteer_account | int | 10 | 0 | Y | N | 0 | 志愿者账号 |
| 3 | volunteer_name | varchar | 64 | 0 | Y | N | 志愿者姓名 | |
| 4 | volunteer_gender | varchar | 64 | 0 | Y | N | 志愿者性别 | |
| 5 | volunteer_phone_number | varchar | 64 | 0 | Y | N | 志愿者电话 | |
| 6 | training_name | varchar | 64 | 0 | Y | N | 培训名称 | |
| 7 | training_time | datetime | 19 | 0 | Y | N | 培训时间 | |
| 8 | training_location | varchar | 64 | 0 | Y | N | 培训地点 | |
| 9 | registration_time | datetime | 19 | 0 | Y | N | 报名时间 | |
| 10 | reason_for_registration | text | 65535 | 0 | Y | N | 报名原因 | |
| 11 | cancel_time | datetime | 19 | 0 | Y | N | 取消时间 | |
| 12 | reason_for_cancellation | text | 65535 | 0 | Y | N | 取消原因 | |
| 13 | examine_state | varchar | 16 | 0 | N | N | 未审核 | 审核状态 |
| 14 | examine_reply | varchar | 16 | 0 | Y | N | 审核回复 | |
| 15 | create_time | datetime | 19 | 0 | N | N | CURRENT_TIMESTAMP | 创建时间 |
| 16 | update_time | timestamp | 19 | 0 | N | N | CURRENT_TIMESTAMP | 更新时间 |
| 编号 | 名称 | 数据类型 | 长度 | 小数位 | 允许空值 | 主键 | 默认值 | 说明 |
| 1 | collect_id | int | 10 | 0 | N | Y | 收藏ID: | |
| 2 | user_id | int | 10 | 0 | N | N | 0 | 收藏人ID: |
| 3 | source_table | varchar | 255 | 0 | Y | N | 来源表: | |
| 4 | source_field | varchar | 255 | 0 | Y | N | 来源字段: | |
| 5 | source_id | int | 10 | 0 | N | N | 0 | 来源ID: |
| 6 | title | varchar | 255 | 0 | Y | N | 标题: | |
| 7 | img | varchar | 255 | 0 | Y | N | 封面: | |
| 8 | create_time | timestamp | 19 | 0 | N | N | CURRENT_TIMESTAMP | 创建时间: |
| 9 | update_time | timestamp | 19 | 0 | N | N | CURRENT_TIMESTAMP | 更新时间: |
| 编号 | 名称 | 数据类型 | 长度 | 小数位 | 允许空值 | 主键 | 默认值 | 说明 |
| 1 | comment_id | int | 10 | 0 | N | Y | 评论ID: | |
| 2 | user_id | int | 10 | 0 | N | N | 0 | 评论人ID: |
| 3 | reply_to_id | int | 10 | 0 | N | N | 0 | 回复评论ID:空为0 |
| 4 | content | longtext | 2147483647 | 0 | Y | N | 内容: | |
| 5 | nickname | varchar | 255 | 0 | Y | N | 昵称: | |
| 6 | avatar | varchar | 255 | 0 | Y | N | 头像地址:[0,255] | |
| 7 | create_time | timestamp | 19 | 0 | N | N | CURRENT_TIMESTAMP | 创建时间: |
| 8 | update_time | timestamp | 19 | 0 | N | N | CURRENT_TIMESTAMP | 更新时间: |
| 9 | source_table | varchar | 255 | 0 | Y | N | 来源表: | |
| 10 | source_field | varchar | 255 | 0 | Y | N | 来源字段: | |
| 11 | source_id | int | 10 | 0 | N | N | 0 | 来源ID: |
| 编号 | 名称 | 数据类型 | 长度 | 小数位 | 允许空值 | 主键 | 默认值 | 说明 |
| 1 | event_registration_id | int | 10 | 0 | N | Y | 活动报名ID | |
| 2 | volunteer_account | int | 10 | 0 | Y | N | 0 | 志愿者账号 |
| 3 | volunteer_name | varchar | 64 | 0 | Y | N | 志愿者姓名 | |
| 4 | volunteer_gender | varchar | 64 | 0 | Y | N | 志愿者性别 | |
| 5 | volunteer_phone_number | varchar | 64 | 0 | Y | N | 志愿者电话 | |
| 6 | activity_name | varchar | 64 | 0 | Y | N | 活动名称 | |
| 7 | activity_time | datetime | 19 | 0 | Y | N | 活动时间 | |
| 8 | event_location | varchar | 64 | 0 | Y | N | 活动地点 | |
| 9 | registration_time | datetime | 19 | 0 | Y | N | 报名时间 | |
| 10 | registration_details | text | 65535 | 0 | Y | N | 报名详情 | |
| 11 | examine_state | varchar | 16 | 0 | N | N | 未审核 | 审核状态 |
| 12 | examine_reply | varchar | 16 | 0 | Y | N | 审核回复 | |
| 13 | create_time | datetime | 19 | 0 | N | N | CURRENT_TIMESTAMP | 创建时间 |
| 14 | update_time | timestamp | 19 | 0 | N | N | CURRENT_TIMESTAMP | 更新时间 |
| 编号 | 名称 | 数据类型 | 长度 | 小数位 | 允许空值 | 主键 | 默认值 | 说明 |
| 1 | hits_id | int | 10 | 0 | N | Y | 点赞ID: | |
| 2 | user_id | int | 10 | 0 | N | N | 0 | 点赞人: |
| 3 | create_time | timestamp | 19 | 0 | N | N | CURRENT_TIMESTAMP | 创建时间: |
| 4 | update_time | timestamp | 19 | 0 | N | N | CURRENT_TIMESTAMP | 更新时间: |
| 5 | source_table | varchar | 255 | 0 | Y | N | 来源表: | |
| 6 | source_field | varchar | 255 | 0 | Y | N | 来源字段: | |
| 7 | source_id | int | 10 | 0 | N | N | 0 | 来源ID: |
| 编号 | 名称 | 数据类型 | 长度 | 小数位 | 允许空值 | 主键 | 默认值 | 说明 |
| 1 | praise_id | int | 10 | 0 | N | Y | 点赞ID: | |
| 2 | user_id | int | 10 | 0 | N | N | 0 | 点赞人: |
| 3 | create_time | timestamp | 19 | 0 | N | N | CURRENT_TIMESTAMP | 创建时间: |
| 4 | update_time | timestamp | 19 | 0 | N | N | CURRENT_TIMESTAMP | 更新时间: |
| 5 | source_table | varchar | 255 | 0 | Y | N | 来源表: | |
| 6 | source_field | varchar | 255 | 0 | Y | N | 来源字段: | |
| 7 | source_id | int | 10 | 0 | N | N | 0 | 来源ID: |
| 8 | status | bit | 1 | 0 | N | N | 1 | 点赞状态:1为点赞,0已取消 |
| 编号 | 名称 | 数据类型 | 长度 | 小数位 | 允许空值 | 主键 | 默认值 | 说明 |
| 1 | slides_id | int | 10 | 0 | N | Y | 轮播图ID: | |
| 2 | title | varchar | 64 | 0 | Y | N | 标题: | |
| 3 | content | varchar | 255 | 0 | Y | N | 内容: | |
| 4 | url | varchar | 255 | 0 | Y | N | 链接: | |
| 5 | img | varchar | 255 | 0 | Y | N | 轮播图: | |
| 6 | hits | int | 10 | 0 | N | N | 0 | 点击量: |
| 7 | create_time | timestamp | 19 | 0 | N | N | CURRENT_TIMESTAMP | 创建时间: |
| 8 | update_time | timestamp | 19 | 0 | N | N | CURRENT_TIMESTAMP | 更新时间: |
| 编号 | 名称 | 数据类型 | 长度 | 小数位 | 允许空值 | 主键 | 默认值 | 说明 |
| 1 | training_information_id | int | 10 | 0 | N | Y | 培训信息ID | |
| 2 | training_name | varchar | 64 | 0 | Y | N | 培训名称 | |
| 3 | training_images | varchar | 255 | 0 | Y | N | 培训图片 | |
| 4 | training_time | datetime | 19 | 0 | Y | N | 培训时间 | |
| 5 | training_location | varchar | 64 | 0 | Y | N | 培训地点 | |
| 6 | training_content | varchar | 64 | 0 | Y | N | 培训内容 | |
| 7 | training_details | text | 65535 | 0 | Y | N | 培训详情 | |
| 8 | hits | int | 10 | 0 | N | N | 0 | 点击数 |
| 9 | praise_len | int | 10 | 0 | N | N | 0 | 点赞数 |
| 10 | create_time | datetime | 19 | 0 | N | N | CURRENT_TIMESTAMP | 创建时间 |
| 11 | update_time | timestamp | 19 | 0 | N | N | CURRENT_TIMESTAMP | 更新时间 |
| 编号 | 名称 | 数据类型 | 长度 | 小数位 | 允许空值 | 主键 | 默认值 | 说明 |
| 1 | training_registration_id | int | 10 | 0 | N | Y | 培训报名ID | |
| 2 | volunteer_account | int | 10 | 0 | Y | N | 0 | 志愿者账号 |
| 3 | volunteer_name | varchar | 64 | 0 | Y | N | 志愿者姓名 | |
| 4 | volunteer_gender | varchar | 64 | 0 | Y | N | 志愿者性别 | |
| 5 | volunteer_phone_number | varchar | 64 | 0 | Y | N | 志愿者电话 | |
| 6 | training_name | varchar | 64 | 0 | Y | N | 培训名称 | |
| 7 | training_time | datetime | 19 | 0 | Y | N | 培训时间 | |
| 8 | training_location | varchar | 64 | 0 | Y | N | 培训地点 | |
| 9 | registration_time | datetime | 19 | 0 | Y | N | 报名时间 | |
| 10 | reason_for_registration | text | 65535 | 0 | Y | N | 报名原因 | |
| 11 | examine_state | varchar | 16 | 0 | N | N | 未审核 | 审核状态 |
| 12 | examine_reply | varchar | 16 | 0 | Y | N | 审核回复 | |
| 13 | create_time | datetime | 19 | 0 | N | N | CURRENT_TIMESTAMP | 创建时间 |
| 14 | update_time | timestamp | 19 | 0 | N | N | CURRENT_TIMESTAMP | 更新时间 |
| 编号 | 名称 | 数据类型 | 长度 | 小数位 | 允许空值 | 主键 | 默认值 | 说明 |
| 1 | upload_id | int | 10 | 0 | N | Y | 上传ID | |
| 2 | name | varchar | 64 | 0 | Y | N | 文件名 | |
| 3 | path | varchar | 255 | 0 | Y | N | 访问路径 | |
| 4 | file | varchar | 255 | 0 | Y | N | 文件路径 | |
| 5 | display | varchar | 255 | 0 | Y | N | 显示顺序 | |
| 6 | father_id | int | 10 | 0 | Y | N | 0 | 父级ID |
| 7 | dir | varchar | 255 | 0 | Y | N | 文件夹 | |
| 8 | type | varchar | 32 | 0 | Y | N | 文件类型 |
| 编号 | 名称 | 数据类型 | 长度 | 小数位 | 允许空值 | 主键 | 默认值 | 说明 |
| 1 | user_id | mediumint | 8 | 0 | N | Y | 用户ID:[0,8388607]用户获取其他与用户相关的数据 | |
| 2 | state | smallint | 5 | 0 | N | N | 1 | 账户状态:[0,10](1可用|2异常|3已冻结|4已注销) |
| 3 | user_group | varchar | 32 | 0 | Y | N | 所在用户组:[0,32767]决定用户身份和权限 | |
| 4 | login_time | timestamp | 19 | 0 | N | N | CURRENT_TIMESTAMP | 上次登录时间: |
| 5 | phone | varchar | 11 | 0 | Y | N | 手机号码:[0,11]用户的手机号码,用于找回密码时或登录时 | |
| 6 | phone_state | smallint | 5 | 0 | N | N | 0 | 手机认证:[0,1](0未认证|1审核中|2已认证) |
| 7 | username | varchar | 16 | 0 | N | N | 用户名:[0,16]用户登录时所用的账户名称 | |
| 8 | nickname | varchar | 16 | 0 | Y | N | 昵称:[0,16] | |
| 9 | password | varchar | 64 | 0 | N | N | 密码:[0,32]用户登录所需的密码,由6-16位数字或英文组成 | |
| 10 | | varchar | 64 | 0 | Y | N | 邮箱:[0,64]用户的邮箱,用于找回密码时或登录时 | |
| 11 | email_state | smallint | 5 | 0 | N | N | 0 | 邮箱认证:[0,1](0未认证|1审核中|2已认证) |
| 12 | avatar | varchar | 255 | 0 | Y | N | 头像地址:[0,255] | |
| 13 | open_id | varchar | 255 | 0 | Y | N | 针对获取用户信息字段 | |
| 14 | create_time | timestamp | 19 | 0 | N | N | CURRENT_TIMESTAMP | 创建时间: |
| 15 | vip_level | varchar | 255 | 0 | Y | N | 会员等级 | |
| 16 | vip_discount | double | 11 | 2 | Y | N | 0.00 | 会员折扣 |
| 编号 | 名称 | 数据类型 | 长度 | 小数位 | 允许空值 | 主键 | 默认值 | 说明 |
| 1 | group_id | mediumint | 8 | 0 | N | Y | 用户组ID:[0,8388607] | |
| 2 | display | smallint | 5 | 0 | N | N | 100 | 显示顺序:[0,1000] |
| 3 | name | varchar | 16 | 0 | N | N | 名称:[0,16] | |
| 4 | description | varchar | 255 | 0 | Y | N | 描述:[0,255]描述该用户组的特点或权限范围 | |
| 5 | source_table | varchar | 255 | 0 | Y | N | 来源表: | |
| 6 | source_field | varchar | 255 | 0 | Y | N | 来源字段: | |
| 7 | source_id | int | 10 | 0 | N | N | 0 | 来源ID: |
| 8 | register | smallint | 5 | 0 | Y | N | 0 | 注册位置: |
| 9 | create_time | timestamp | 19 | 0 | N | N | CURRENT_TIMESTAMP | 创建时间: |
| 10 | update_time | timestamp | 19 | 0 | N | N | CURRENT_TIMESTAMP | 更新时间: |
| 编号 | 名称 | 数据类型 | 长度 | 小数位 | 允许空值 | 主键 | 默认值 | 说明 |
| 1 | volunteer_activities_id | int | 10 | 0 | N | Y | 志愿活动ID | |
| 2 | activity_name | varchar | 64 | 0 | Y | N | 活动名称 | |
| 3 | activity_images | varchar | 255 | 0 | Y | N | 活动图片 | |
| 4 | activity_time | datetime | 19 | 0 | Y | N | 活动时间 | |
| 5 | event_location | varchar | 64 | 0 | Y | N | 活动地点 | |
| 6 | activity_content | varchar | 64 | 0 | Y | N | 活动内容 | |
| 7 | event_details | text | 65535 | 0 | Y | N | 活动详情 | |
| 8 | hits | int | 10 | 0 | N | N | 0 | 点击数 |
| 9 | praise_len | int | 10 | 0 | N | N | 0 | 点赞数 |
| 10 | create_time | datetime | 19 | 0 | N | N | CURRENT_TIMESTAMP | 创建时间 |
| 11 | update_time | timestamp | 19 | 0 | N | N | CURRENT_TIMESTAMP | 更新时间 |
| 编号 | 名称 | 数据类型 | 长度 | 小数位 | 允许空值 | 主键 | 默认值 | 说明 |
| 1 | volunteer_users_id | int | 10 | 0 | N | Y | 志愿者用户ID | |
| 2 | volunteer_name | varchar | 64 | 0 | Y | N | 志愿者姓名 | |
| 3 | volunteer_gender | varchar | 64 | 0 | Y | N | 志愿者性别 | |
| 4 | volunteer_phone_number | varchar | 16 | 0 | Y | N | 志愿者电话 | |
| 5 | skill_information | varchar | 64 | 0 | Y | N | 技能信息 | |
| 6 | interests_and_hobbies | varchar | 64 | 0 | Y | N | 兴趣爱好 | |
| 7 | examine_state | varchar | 16 | 0 | N | N | 未审核 | 审核状态 |
| 8 | examine_reply | varchar | 16 | 0 | Y | N | 审核回复 | |
| 9 | user_id | int | 10 | 0 | N | N | 0 | 用户ID |
| 10 | create_time | datetime | 19 | 0 | N | N | CURRENT_TIMESTAMP | 创建时间 |
| 11 | update_time | timestamp | 19 | 0 | N | N | CURRENT_TIMESTAMP | 更新时间 |
整个基于SSM 的志愿者管理系统的需求分析主要对系统总体架构以及功能模块的设计,通过建立E-R模型和数据库逻辑系统设计完成了数据库系统设计。
4系统关键模块设计与实现
基于SSM 的志愿者管理系统的详细设计与实现主要是根据前面的需求分析和总体设计来设计页面并实现业务逻辑。主要从界面实现、业务逻辑实现这两部分进行介绍。
4.1前台用户功能模块
4.1.1 首页界面
当进入基于SSM 的志愿者管理系统的时候,首先映入眼帘的是系统的导航栏,其主界面展示如下图4-1所示。

图4-1 首页界面图
4.1.2 用户登录界面
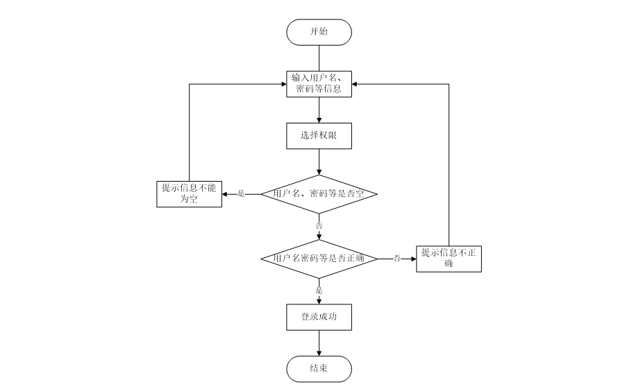
基于SSM 的志愿者管理系统中的注册后的用户是可以通过自己的账户名和密码进行登录的,当用户输入完整的自己的账户名和密码信息并点击“登录”按钮后,将会首先验证输入的有没有空数据,再次验证输入的账户名+密码和数据库中当前保存的用户信息是否一致,只有在一致后将会登录成功并自动跳转到基于SSM 的志愿者管理系统的首页中;否则将会提示相应错误信息,用户登录界面如下图4-2所示。

图4-2用户登录界面图
4.1.3 志愿活动界面
当用户点击“志愿活动”后,可以查看系统发布的所有志愿活动信息,点检可查看志愿活动详情,在详情页面可以进行点赞、报名、收藏等操作,页面如图4-3所示。

图4-3志愿活动列表界面
4.1.4 志愿活动详情信息界面
用户在志愿者活动列表点击某一志愿活动,可以查看该活动的详细信息,用户可以进行点赞、报名、收藏等操作。页面如图4-4所示。

图4-4 活动信息详情界面图
4.1.5 活动报名界面
当用户在志愿活动信息详情页面点击“报名”,用户可以提交活动报名信息。界面如下图所示。

图4-5活动报名界面图
4.2后台管理员功能模块
4.2.1 系统用户管理界面
基于SSM 的志愿者管理系统中的管理人员是可以对注册的志愿者用户进行管理的,也可以对管理员进行管控。界面如下图4-6所示。

图4-6用户管理界面图
4.2.2 系统管理界面
管理员点击“系统管理”这一菜单会显示轮播图这一个子菜单,管理员可以对前台展示的轮播图进行设置,界面如下图4-7所示。

图4-7系统管理界面图
当管理员点击“志愿活动管理”这一菜单的时候可以管理志愿活动信息,包括添加、删除和编辑志愿活动信息。界面如下图所示。

图4-8志愿活动添加界面图
当管理员点击“活动报名管理”,可以管理学生对志愿活动的报名情况,包括审核、统计等操作。界面如下图所示。

图4-9活动报名审核界面图
4.2.5 考勤信息管理界面
管理员点击“考勤信息管理”这个菜单,可以对系统中的志愿者用户的考勤信息进行管理。考勤信息管理界面如下图所示。

图4-10考勤信息管理界面图
5系统测试
系统开发到了最后一个阶段那就是系统测试,系统测试对软件的开发其实是非常有必要的。因为没什么系统一经开发出来就可能会尽善尽美,再厉害的系统开发工程师也会在系统开发的时候出现纰漏,系统测试能够较好的改正一些bug,为后期系统的维护性提供很好的支持。通过系统测试,开发人员也可以建立自己对系统的信心,为后期的系统版本的跟新提供支持。
5.2 系统测试用例
系统测试包括:用户登录功能测试、志愿活动信息展示功能测试、志愿活动搜索功能测试、密码修改功能测试,如表5-1、5-2、5-3、5-4、5-5所示:
表5-1 用户登录功能测试表
| 用例名称 | 用户登录系统 |
| 目的 | 测试用户通过正确的用户名和密码可否登录功能 |
| 前提 | 未登录的情况下 |
| 测试流程 | 1) 进入登录页面 2) 输入正确的用户名和密码 |
| 预期结果 | 用户名和密码正确的时候,跳转到登录成功界面,反之则显示错误信息,提示重新输入 |
| 实际结果 | 实际结果与预期结果一致 |
志愿活动信息查看功能测试:
表5-2活动信息查看功能测试表
| 用例名称 | 志愿活动信息查看 |
| 目的 | 测试志愿活动查看功能 |
| 前提 | 用户登录 |
| 测试流程 | 点击志愿活动信息列表 |
| 预期结果 | 可以查看到所有志愿活动信息 |
| 实际结果 | 实际结果与预期结果一致 |
管理员添加志愿活动信息界面测试:
表5-3 管理员添加志愿活动信息界面测试表
| 用例名称 | 志愿活动信息添加测试用例 |
| 目的 | 测试志愿活动信息添加功能 |
| 前提 | 管理员正常登录情况下 |
| 测试流程 | 1)管理员点击志愿活动信息管理,然后点击志愿活动信息添加,点击添加后并填写信息。 2)点击进行提交。 |
| 预期结果 | 提交以后,页面首页会显示新的志愿活动信息 |
| 实际结果 | 实际结果与预期结果一致 |
志愿活动信息搜索功能测试:
表5-4志愿活动信息搜索功能测试表
| 用例名称 | 志愿活动信息搜索测试 |
| 目的 | 测试志愿活动信息搜索功能 |
| 前提 | 无 |
| 测试流程 | 1)在搜索框填入搜索关键字。 2)点击搜索按钮。 |
| 预期结果 | 页面显示包含有搜索关键字的志愿活动信息 |
| 实际结果 | 实际结果与预期结果一致 |
密码修改功能测试:
表5-5 密码修改功能测试表
| 用例名称 | 密码修改测试用例 |
| 目的 | 测试管理员密码修改功能 |
| 前提 | 管理员用户正常登录情况下 |
| 测试流程 | 1)管理员密码修改并完成填写。 2)点击进行提交。 |
| 预期结果 | 使用新的密码可以登录 |
| 实际结果 | 实际结果与预期结果一致 |
5.3 系统测试结果
通过编写基于SSM 的志愿者管理系统的测试用例,已经检测完毕用户登录模块、志愿活动信息查看模块、志愿活动信息添加模块、志愿活动信息搜索模块、密码修改功能测试,通过这5大模块为基于SSM 的志愿者管理系统的后期推广运营提供了强力的技术支撑。
结论
至此,基于SSM 的志愿者管理系统已经结束,在开发前做了许多的准备,在本系统的设计和开发过程中阅览和学习了许多文献资料,从中我也收获了很多宝贵的方法和设计思路,对系统的开发也起到了很重要的作用,系统的开发技术选用的都是自己比较熟悉的,比如VUE、JAVA语言、MYSQL,这些技术都是在以前的学习中学到了,其中许多的设计思路和方法都是在以前不断地学习中摸索出来的经验,其实对于我们来说工作量还是比较大的,但是正是由于之前的积累与准备,才能顺利的完成这个项目,由此看来,积累经验跟做好准备是十分重要的事情。
当然在该系统的设计与实现的过程中也离不开老师以及同学们的帮助,正是因为他们的指导与帮助,我才能够成功的在预期内完成了这个系统。同时在这个过程当中我也收获了很多东西,此系统也有需要改进的地方,但是由于专业知识的浅薄,并不能做到十分完美,希望以后有机会可以让其真正的投入到使用之中。
[1]宋蕙帆.基于SSM的精准就业服务平台设计与实现[J].科技创新与应用,2024,14(08):102-105.DOI:10.19981/j.CN23-1581/G3.2024.08.023.
[2]申娇娣.基于SSM框架的大学生创新创业申报系统构建[J].中国新技术新产品,2024,(03):27-30.DOI:10.13612/j.cnki.cntp.2024.03.018.
[3]Ankomah E S ,Fusheini A ,Derrett S .Unsung heroes in Ghana's healthcare system: the case of community health volunteers and community health management committee.[J].Health research policy and systems,2024,22(1):10-10.
[4]Peyman R ,Daniel A ,Vladimir S .Introducing a novel multi-objective optimization model for volunteer assignment in the post-disaster phase: Combining fuzzy inference systems with NSGA-II and NRGA[J].Expert Systems With Applications,2023,226
[5]Gentin ,Sandra,Herslund , et al.Mosaic governance in Denmark: a systematic investigation of green volunteers in nature management in Denmark[J].Landscape Ecology,2022,(prepublish):1-16.
[6]P K S ,H K ,M R .Local risk managers’ and disaster volunteers’ awareness of, attitudes toward, and intention to use a local government-developed disaster information system: A Case study of SIKK Magelang[J].IOP Conference Series: Earth and Environmental Science,2021,708(1):
[7]刘振东.威海志愿者管理系统的设计与实现[D].哈尔滨工业大学,2019.DOI:10.27061/d.cnki.ghgdu.2019.006611.
[8]李冉,市级志愿者协会管理系统v1.0.湖北省,荆楚理工学院,2018-12-03.
[9]高铭.基于Web技术的文山州志愿者管理系统设计与实现[D].吉林大学,2016.
[10]孙媛媛.赣州章贡区青年志愿者管理系统的研究与分析[D].云南大学,2016.
[11]刘宁华.丽江古城消防安全志愿者管理系统的研究与分析[D].云南大学,2016.
[12]蔡越.志愿者服务项目管理系统的分析与研究[D].云南大学,2016.
[13]孔祥祺.志愿者积分管理系统的设计思路探讨[J].赤峰学院学报(自然科学版),2016,32(04):21-24.DOI:10.13398/j.cnki.issn1673-260x.2016.04.009.
[14]叶遥.共青团志愿者管理信息系统设计和实现[D].江西财经大学,2016.
[15]徐燕.瓮安县共青团志愿者管理系统的研究与分析[D].云南大学,2015.
[16]余封亮.基于Web技术的吉林大学珠海学院志愿者管理系统设计与实现[D].吉林大学,2015.
[17]石范锋,万能.基于ASP.NET的志愿者管理信息系统设计与实现[J].软件导刊,2015,14(04):92-93.
[18]宋杨.大学生志愿者信息管理系统的设计与实现[D].电子科技大学,2014.
[19]毛百川.济南市志愿者管理系统的设计与实现[D].山东大学,2013.
[20]林皓.注册志愿者管理系统的设计与实现[D].东北大学,2011.
转眼间,大学生用户活便已经接近尾声,人面对着离别与结束,总是充满着不舍与茫然,我亦如此,仍记得那年秋天,我迫不及待的提前一天到了学校,面对学校巍峨的大门,我心里充满了期待:这里,就是我新生活的起点吗?那天,阳光明媚,学校的欢迎仪式很热烈,我面对着一个个对着我微笑的同学,仿佛一缕缕阳光透过胸口照进了我心里,同时,在那天我认识可爱的室友,我们携手共同度过了这难忘的两年。如今,我望着这篇论文的致谢,不禁又要问自己:现在,我们就要说再见了吗?
感慨莫名,不知所言。遥想当初刚来学校的时候,心里总是想着工科学校会过于板正,会缺乏一些柔情,当时心里甚至有一点点排斥,但是随着我对学校的慢慢认识与了解,我才认识到了她的美丽,她的柔情,并且慢慢的喜欢上了这个校园,但是时间太快了,快到我还没有好好体会她的美丽便要离开了,但是她带给我的回忆,永远不会离开我,也许真正离开那天我的眼里会满含泪水,我不是因为难过,我只是想将她的样子映在我的泪水里,刻在我的心里。最后,感谢我的老师们,是你们教授了我们知识与做人的道理;感谢我的室友们,是你们陪伴了我如此之久;感谢每位关心与支持我的人。
少年,追风赶月莫停留,平荒尽处是春山。
点赞+收藏+关注 →私信领取本源代码、数据库
关注博主下篇更精彩
一键三连!!!
一键三连!!!
一键三连!!!
感谢一键三连!!!
1053

被折叠的 条评论
为什么被折叠?



