摘 要
本文基于ssm框架,设计与实现了一个社区直饮水机管理系统的微信小程序,社区直饮水机管理系统是一种基于互联网技术的智能化管理系统,旨在提高社区居民的生活质量和便捷服务。本文通过对相关文献和实地调研的综合分析,探讨了社区直饮水机管理系统的设计原则、功能模块以及应用效果。研究结果表明,该系统能够实现对社区直饮水机的装申请、安装完成、报修申请和日常维护管理,有效解决了传统饮水机管理不便的问题。此外,社区居民使用该系统可以方便地进行报装申请、报修申请、论坛管理,并且系统还具备用户管理等,为社区居民提供了更加便捷、快捷服务。本研究为社区直饮水机管理系统的进一步推广和应用提供了理论依据和实践指导。
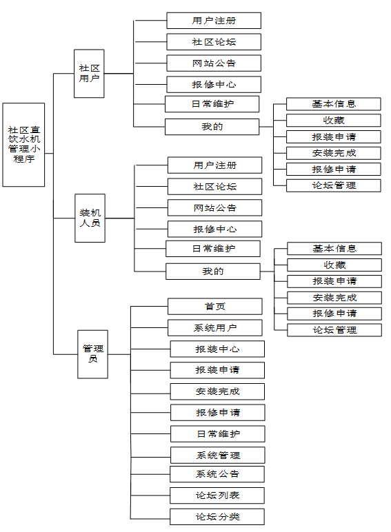
社区直饮水机管理系统的微信小程序的主要功能模块包括:首页、系统用户(管理员、社区用户、装机人员)报装中心、报装申请、安装完成、报修申请、日常维护、系统管理(轮播图)系统公告、交流管理(论坛列表、论坛分类)等,它采用面向对象的开发模式,可以有效地满足实际使用的需求,并且通过java编程语言、MySQL数据库、Ajax异步交互,实现了本系统的全部功能.
关键词:社区直饮水机管理;ssmt框架;MySQL数据库;微信小程序
Based on WeChat mini program+SSM community direct water dispenserDesign and Implementation of Management System
Abstract
This article designs and implements a WeChat mini program for a community drinking water dispenser management system based on the SSM framework. The community drinking water dispenser management system is an intelligent management system based on Internet technology, aiming to improve the quality of life and convenient services of community residents. This article explores the design principles, functional modules, and application effects of a community drinking water dispenser management system through a comprehensive analysis of relevant literature and field research. The research results indicate that the system can achieve installation application, installation completion, repair application, and daily maintenance management of community direct water dispensers, effectively solving the problem of inconvenient management of traditional water dispensers. In addition, community residents can easily apply for installation, repair, and forum management using this system, and the system also has user management capabilities, providing more convenient and efficient services for community residents. This study provides theoretical basis and practical guidance for the further promotion and application of the community direct water dispenser management system.
The main functional modules of the WeChat mini program of the community drinking water dispenser management system include: homepage, system user (administrator, community user, installation personnel) installation center, installation application, installation completion, repair application, daily maintenance, system management (broadcast image) system announcement, communication management (forum list, forum classification), etc. It adopts an object-oriented development mode, which can effectively meet the actual needs of use, And through Java programming language, MySQL database, and Ajax asynchronous interaction, all the functions of this system have been achieved
Keywords: Community direct water dispenser management; SSMT framework; MySQL database; WeChat mini program
目 录
社区直饮水机管理系统是指针对社区内的直饮水机设备进行报装申请和管理的一种系统。随着人们对健康饮水需求的不断增加,社区直饮水机在城市社区中得到了广泛应用。然而,由于缺乏有效的管理系统,社区直饮水机的安装和维护工作存在一定的困难和问题。
目前,社区直饮水机的装机管理主要依赖于人工操作,这种方式存在着效率低下、信息不透明等问题。同时,社区直饮水机的数量庞大,涉及到的数据也非常复杂,如何高效地管理这些设备成为了亟待解决的问题。
因此,研究开发一种社区直饮水机管理系统具有重要意义。该系统可以通过自动化技术和信息化手段,实现对社区直饮水机的装中心、报装申请、安装完成、报修申请、日常维护等功能,提高服务效率,降低运营成本,提升用户体验。
本论文将对社区直饮水机管理系统的研究背景进行深入探讨,分析当前存在的问题,并提出相应的解决方案,旨在为社区直饮水机的装机管理提供科学有效的支持。
近年来,随着微信小程序的兴起和SSM(Spring+SpringMVC+MyBatis)框架的广泛应用,社区直饮水机管理系统的开发也逐渐呈现出新的现状。
首先,微信小程序作为一种轻量级的应用程序,具有跨平台、便捷分享、无需下载安装等特点,成为了社区直饮水机管理系统开发的理想选择。通过微信小程序,用户可以方便地进行设备的监控与管理,实时查看报装申请、报修申请、日常维护等信息。
其次,SSM框架作为一种经典的JavaWeb开发框架,具有良好的可扩展性和稳定性,被广泛应用于社区直饮水机管理系统的开发中。通过SSM框架,开发人员可以快速搭建系统的后台管理平台,实现申请管理、用户管理、论坛管理等功能。
在社区直饮水机管理系统的开发过程中,微信小程序作为前端界面与用户交互的主要方式,通过调用后台接口获取数据并展示给用户。而SSM框架则负责处理前端请求,与数据库进行交互,实现数据的增删改查等操作。
当前,基于微信小程序+SSM的社区直饮水机管理系统已经取得了一定的发展。许多开发团队和企业已经开始关注并投入到该领域的研究和开发中。然而,仍然存在一些挑战和问题,如系统的稳定性、数据安全性以及用户体验等方面的改进仍需进一步探索和完善。
综上所述,基于微信小程序+SSM的社区直饮水机管理系统在开发现状上呈现出蓬勃发展的态势,为社区直饮水机的装机管理提供了更加便捷高效的解决方案。随着技术的不断进步和应用场景的拓展,相信这种系统将会在未来得到更广泛的应用和推广。
经过深入研究,我们决定采用java平台和MySQL这两种不同的开发工具,并且仔细研究了该系统的架构和功能,从而更好地满足用户的要求。使用java编程技术构建一个简单易懂的用户界面,将其与数据库相结合,以满足多种需求,构建一个全新的、高效的系统。为此,我们首先对其中的各个功能模块进行了详细的分析,以满足不断变化的需求。经过精心的研究和分析,我们的测试系统能够准确地检查出潜藏的缺陷,从而提出有效的改进措施。我们将充分利用已经拥有的技术和资源,借鉴专家的经验,以及其他相关的技术,以达到更好的效果。
MySQL数据库已经成为网络上的一种强大的工具,它能够支持多个用户,并且能够根据客户端和服务端的需求进行调整,从而满足不同的需求。在这里,服务端和客户端只是一种软件上的概念,而我们所使用的计算机硬件则没有必要完全相互匹配。
MySQL作为一种备受推崇的关联性DBMS,其卓越的性能和易于操作的特性,以及其在多种操作环境中的灵活性,让其成为了最受青睐的应用之选。此外,MySQL还具有良好的跨平台性,让软件开发人员更加满意。与传统的关联式数据库形式大相径庭,MySQL拥有一套完善的数据库管理策略,以确保用户的安全、稳健、安全。MySQL具备良好的容错、安全、快速、稳健的特点,使得mysql成为一款非常受欢迎的数据库管理工具。
MySQL拥有一种独特的权限分配机制,可以根据用户的身份和业务逻辑,为用户提供更多的选择,从而大大提高了MySQL的安全性和完整性,远超过其他关系型数据库。
MySQL具有强大的功能,能够处理各种数据类型,包括动态、静态、多种语言,从而使用户能够轻松访问多种数据。
MySQL具有多种功能,它能够支持多种平台的开发,并且支持多种编程语言,使得用户能够轻松访问和使用MySQL数据库。
这款微信小程序的设计旨在帮助用户快速、便捷地创建出一款拥有完全独特 特色的应用。它由一套完善的框架结构,将用户界面、操作界面、功能界面等多种功能完美结合,使用户只需要一点点的操作,就能轻松实现微信小程序的创建。框架的核心功能是一个快速的数据绑定机制,它能够轻松地将用户的信息和界面进行一致性的管理。它不仅支持对用户信息的实时监控,还能够根据用户的需求,实现对界面的快速调整和优化,从而使用户能够轻松地构建强大的微信小程序。
微信开发者工具是一款专为小程序开发而设计的应用,它不断改进,提供了便捷的操作方式,并且在开发过程中可以通过微信扫描二维码来访问,从而实现快速、准确的小程序开发和调试。
根据用户的需求,我们将采用不同的屏幕大小来制作小程序,并对其进行精确的切割。
在完成了视图布置之后,可以通过执行编辑功能,快速更改视图界面。
控制台:方便调试打印输出信息。
将代码上传至腾讯服务器,并在审核过程中填写版本号和备注信息,以确保代码的安全性和准确性。
通过查看资源文件,我们可以快速地调整相关项目的文件目录,从而实现断点调试。
使用远程调试技术,无论是在手机端还是PC端,都能够轻松地进行开发工作。
本地数据存储:显示的是本地存储的数据。
通过使用子父层级结构,我们可以更容易地进行视图调试。
为了提高系统的效率和稳定性,我们选择了当前流行的ssm框架作为主体框架。我们还使用了jquery和ajax来优化前台页面的设计和美观度。这些技术都是我通过系统学习和实践获得的,能够让我们的开发更加高效和稳定。在技术上,这个系统是完全可行的。
本次设计的重点目标是在社区直饮水机管理系统微信小程序中实现多种功能,包括首页、系统用户(管理员、社区用户、装机人员)报装中心、报装申请、安装完成、报修申请、日常维护、系统管理(轮播图)系统公告、交流管理(论坛列表、论坛分类)等,以满足当前社会发展的需求。为了满足用户的需求,我们将采用网络上的便捷方式,使得业务流程更加系统化,提高用户的体验,以达到最佳的效果。
通过开发一款具有高效率和灵活性的社区直饮水机管理微信小程序,我们旨在提供一种简单、高效、易用、安全、节省时间和精力的信息化解决方案,从而大大降低后期运营和维护所需费用。当该系统正式启动并被广泛采纳,它不仅大大提升了信息搜寻的效率,而且还确保了访问者的隐私得以得到充分的保障,而且,它的实际应用价值大大超出了原始的开发和维护费用,因此,在财务上,开发该款社区直饮水机管理系统微信小程序无疑是十分合理的。
微信小程序的社区直饮水机管理功能可以让用户根据自身需求快速注册并完成报装申请。系统管理员将负责处理所有提交的申请,包括首页、系统用户(管理员、社区用户、装机人员)报装中心、报装申请、安装完成、报修申请、日常维护、系统管理(轮播图)系统公告、交流管理(论坛列表、论坛分类)。
系统用户用例图如下所示。

图3-1 用户用例图

图3-3 装机人员用例图
管理员用例图如下所示。

图3-3管理员用例图
在当今的科技背景下,性能分析的管理已经从以往的依赖手动操作转变为采取更加先进的自动化技术,以及利用大量的智能化系统,实现自动化的系统集成,从而提高了系统的运维速度,减轻了工作人员的劳作力度,提高了系统的可靠性,从而更好地满足当下的社会发展的需求,同时也大大缩短了系统的运维周期,提高了系统的整体运维能力。通过利用先进的计算机科学与互联网,我们研制出一套具有弹性的微信小程序,以有效地降低运营成本,极大地改善客户的体验。
通过社区直饮水机管理微信小程序软件系统的开发,我们建立了一个独立的系统,采用最新的数据库技术,以满足用户的需求,实现用户角色和功能模块的完美结合,使得管理更加高效、精准,与传统的管理信息完全不同,这样一来,既可以节省资源,又能够大大提升业务处理的速度。这款产品拥有快速、高效、强大的功能。
第一步,为了保证系统的安全性,用户需要在登录窗口中输入自己的个人信息,并确保信息准确无误。如果输入的信息不正确,将会弹出提示框,导致用户登录失败,需要重新输入,如图3-3所示。

图3-3登录操作流程图
社区直饮水机管理微信小程序软件系统可以实现快速、准确地收集和处理各种信息,而且在使用过程中,只有在按照指定的界面和指定的参考文献,才能够正确地获取和处理信息,而若信息未能满足预期,就会被退出第一步,并且在第二步中,还会继续检查信息的准确性,以确保最终的结果能够满足预期的目标。如图3-4所示。

图3-4 信息添加流程图
无论是何种用户角色,只要进入了不正常的系统操作界面,就可以使用不同的信息内容来进行操作。当用户尝试删除系统中的数据时,必须先ACK这些数据是否已经被删除,如果没有,就应该按照图3-5的指示进行操作,以免影响系统的正常运行。

图3-5 信息删除流程图
这款微信小程序的架构由三个部分组成:Web层、业务层、Model层。web层由View层、Controller层组成,而Model层则由元数据拓扑层、数据访问层组成。
系统架构如下图所示:

图4-1 系统架构
微信小程序的社区直饮水机管理功能包括前端用户界面和后端管理员界面。
虽然两个模块看起来各自独立,但它们所使用的数据库却是一致的。这些模块的功能是经过精心设计,根据先前的需求进行分析,并结合相关资料进行编排而成的。
综上所述,系统功能结构图如下图所示。

图4-2 系统功能结构图
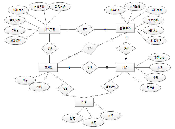
对于一个要开发的系统来说,E-R图可以让别人能更快更轻松的了解此系统的事务及它们之间的关系。
系统总体ER图如下图所示。

图4-4系统总体ER图
社区直饮水机管理系统微信小程序所拥有的数据表有以下:用户信息表、报装中心表、报装申请表、安装完成表、报修申请表、日常维护表因为数据表非常丰富,我们将重点展示系统的主要数据,详见下表。
表access_token (登陆访问时长)
| 编号 | 名称 | 数据类型 | 长度 | 小数位 | 允许空值 | 主键 | 默认值 | 说明 |
| 1 | token_id | int | 10 | 0 | N | Y | 临时访问牌ID | |
| 2 | token | varchar | 64 | 0 | Y | N | 临时访问牌 | |
| 3 | info | text | 65535 | 0 | Y | N | ||
| 4 | maxage | int | 10 | 0 | N | N | 2 | 最大寿命:默认2小时 |
| 5 | create_time | timestamp | 19 | 0 | N | N | CURRENT_TIMESTAMP | 创建时间: |
| 6 | update_time | timestamp | 19 | 0 | N | N | CURRENT_TIMESTAMP | 更新时间: |
| 7 | user_id | int | 10 | 0 | N | N | 0 | 用户编号: |
表application_for_installation (报装申请)
| 编号 | 名称 | 数据类型 | 长度 | 小数位 | 允许空值 | 主键 | 默认值 | 说明 |
| 1 | application_for_installation_id | int | 10 | 0 | N | Y | 报装申请ID | |
| 2 | order_number | varchar | 64 | 0 | Y | N | 订单号 | |
| 3 | machine_name | varchar | 64 | 0 | Y | N | 机器名称 | |
| 4 | machine_cover | varchar | 255 | 0 | Y | N | 机器封面 | |
| 5 | installation_cost | int | 10 | 0 | Y | N | 0 | 装机费用 |
| 6 | machine_specifications | varchar | 64 | 0 | Y | N | 机器规格 | |
| 7 | installation_personnel | int | 10 | 0 | Y | N | 0 | 装机人员 |
| 8 | job_id | varchar | 64 | 0 | Y | N | 工作工号 | |
| 9 | personnel_name | varchar | 64 | 0 | Y | N | 人员姓名 | |
| 10 | reporting_personnel | int | 10 | 0 | Y | N | 0 | 报装人员 |
| 11 | user_name | varchar | 64 | 0 | Y | N | 用户姓名 | |
| 12 | community_address | varchar | 64 | 0 | Y | N | 社区地址 | |
| 13 | contact_number | varchar | 64 | 0 | Y | N | 联系电话 | |
| 14 | remarks | varchar | 64 | 0 | Y | N | 备注信息 | |
| 15 | application_date | date | 10 | 0 | Y | N | 申请日期 | |
| 16 | examine_state | varchar | 16 | 0 | N | N | 未审核 | 审核状态 |
| 17 | examine_reply | varchar | 16 | 0 | Y | N | 审核回复 | |
| 18 | pay_state | varchar | 16 | 0 | N | N | 未支付 | 支付状态 |
| 19 | pay_type | varchar | 16 | 0 | Y | N | 支付类型: 微信、支付宝、网银 | |
| 20 | recommend | int | 10 | 0 | N | N | 0 | 智能推荐 |
| 21 | create_time | datetime | 19 | 0 | N | N | CURRENT_TIMESTAMP | 创建时间 |
| 22 | update_time | timestamp | 19 | 0 | N | N | CURRENT_TIMESTAMP | 更新时间 |
| 编号 | 名称 | 数据类型 | 长度 | 小数位 | 允许空值 | 主键 | 默认值 | 说明 |
| 1 | auth_id | int | 10 | 0 | N | Y | 授权ID: | |
| 2 | user_group | varchar | 64 | 0 | Y | N | 用户组: | |
| 3 | mod_name | varchar | 64 | 0 | Y | N | 模块名: | |
| 4 | table_name | varchar | 64 | 0 | Y | N | 表名: | |
| 5 | page_title | varchar | 255 | 0 | Y | N | 页面标题: | |
| 6 | path | varchar | 255 | 0 | Y | N | 路由路径: | |
| 7 | position | varchar | 32 | 0 | Y | N | 位置: | |
| 8 | mode | varchar | 32 | 0 | N | N | _blank | 跳转方式: |
| 9 | add | tinyint | 3 | 0 | N | N | 1 | 是否可增加: |
| 10 | del | tinyint | 3 | 0 | N | N | 1 | 是否可删除: |
| 11 | set | tinyint | 3 | 0 | N | N | 1 | 是否可修改: |
| 12 | get | tinyint | 3 | 0 | N | N | 1 | 是否可查看: |
| 13 | field_add | text | 65535 | 0 | Y | N | 添加字段: | |
| 14 | field_set | text | 65535 | 0 | Y | N | 修改字段: | |
| 15 | field_get | text | 65535 | 0 | Y | N | 查询字段: | |
| 16 | table_nav_name | varchar | 500 | 0 | Y | N | 跨表导航名称: | |
| 17 | table_nav | varchar | 500 | 0 | Y | N | 跨表导航: | |
| 18 | option | text | 65535 | 0 | Y | N | 配置: | |
| 19 | create_time | timestamp | 19 | 0 | N | N | CURRENT_TIMESTAMP | 创建时间: |
| 20 | update_time | timestamp | 19 | 0 | N | N | CURRENT_TIMESTAMP | 更新时间: |
| 编号 | 名称 | 数据类型 | 长度 | 小数位 | 允许空值 | 主键 | 默认值 | 说明 |
| 1 | collect_id | int | 10 | 0 | N | Y | 收藏ID: | |
| 2 | user_id | int | 10 | 0 | N | N | 0 | 收藏人ID: |
| 3 | source_table | varchar | 255 | 0 | Y | N | 来源表: | |
| 4 | source_field | varchar | 255 | 0 | Y | N | 来源字段: | |
| 5 | source_id | int | 10 | 0 | N | N | 0 | 来源ID: |
| 6 | title | varchar | 255 | 0 | Y | N | 标题: | |
| 7 | img | varchar | 255 | 0 | Y | N | 封面: | |
| 8 | create_time | timestamp | 19 | 0 | N | N | CURRENT_TIMESTAMP | 创建时间: |
| 9 | update_time | timestamp | 19 | 0 | N | N | CURRENT_TIMESTAMP | 更新时间: |
| 编号 | 名称 | 数据类型 | 长度 | 小数位 | 允许空值 | 主键 | 默认值 | 说明 |
| 1 | comment_id | int | 10 | 0 | N | Y | 评论ID: | |
| 2 | user_id | int | 10 | 0 | N | N | 0 | 评论人ID: |
| 3 | reply_to_id | int | 10 | 0 | N | N | 0 | 回复评论ID:空为0 |
| 4 | content | longtext | 2147483647 | 0 | Y | N | 内容: | |
| 5 | nickname | varchar | 255 | 0 | Y | N | 昵称: | |
| 6 | avatar | varchar | 255 | 0 | Y | N | 头像地址:[0,255] | |
| 7 | create_time | timestamp | 19 | 0 | N | N | CURRENT_TIMESTAMP | 创建时间: |
| 8 | update_time | timestamp | 19 | 0 | N | N | CURRENT_TIMESTAMP | 更新时间: |
| 9 | source_table | varchar | 255 | 0 | Y | N | 来源表: | |
| 10 | source_field | varchar | 255 | 0 | Y | N | 来源字段: | |
| 11 | source_id | int | 10 | 0 | N | N | 0 | 来源ID: |
| 编号 | 名称 | 数据类型 | 长度 | 小数位 | 允许空值 | 主键 | 默认值 | 说明 |
| 1 | community_users_id | int | 10 | 0 | N | Y | 社区用户ID | |
| 2 | user_name | varchar | 64 | 0 | Y | N | 用户姓名 | |
| 3 | community_address | varchar | 64 | 0 | Y | N | 社区地址 | |
| 4 | contact_number | varchar | 64 | 0 | Y | N | 联系电话 | |
| 5 | examine_state | varchar | 16 | 0 | N | N | 已通过 | 审核状态 |
| 6 | recommend | int | 10 | 0 | N | N | 0 | 智能推荐 |
| 7 | user_id | int | 10 | 0 | N | N | 0 | 用户ID |
| 8 | create_time | datetime | 19 | 0 | N | N | CURRENT_TIMESTAMP | 创建时间 |
| 9 | update_time | timestamp | 19 | 0 | N | N | CURRENT_TIMESTAMP | 更新时间 |
| 编号 | 名称 | 数据类型 | 长度 | 小数位 | 允许空值 | 主键 | 默认值 | 说明 |
| 1 | daily_maintenance_id | int | 10 | 0 | N | Y | 日常维护ID | |
| 2 | machine_name | varchar | 64 | 0 | Y | N | 机器名称 | |
| 3 | device_image | varchar | 255 | 0 | Y | N | 设备图片 | |
| 4 | machine_specifications | varchar | 64 | 0 | Y | N | 机器规格 | |
| 5 | publishing_personnel | int | 10 | 0 | Y | N | 0 | 发布人员 |
| 6 | maintenance_content | text | 65535 | 0 | Y | N | 养护内容 | |
| 7 | hits | int | 10 | 0 | N | N | 0 | 点击数 |
| 8 | praise_len | int | 10 | 0 | N | N | 0 | 点赞数 |
| 9 | recommend | int | 10 | 0 | N | N | 0 | 智能推荐 |
| 10 | create_time | datetime | 19 | 0 | N | N | CURRENT_TIMESTAMP | 创建时间 |
| 11 | update_time | timestamp | 19 | 0 | N | N | CURRENT_TIMESTAMP | 更新时间 |
| 编号 | 名称 | 数据类型 | 长度 | 小数位 | 允许空值 | 主键 | 默认值 | 说明 |
| 1 | forum_id | mediumint | 8 | 0 | N | Y | 论坛id | |
| 2 | display | smallint | 5 | 0 | N | N | 100 | 排序 |
| 3 | user_id | mediumint | 8 | 0 | N | N | 0 | 用户ID |
| 4 | nickname | varchar | 16 | 0 | Y | N | 昵称:[0,16] | |
| 5 | praise_len | int | 10 | 0 | Y | N | 0 | 点赞数 |
| 6 | hits | int | 10 | 0 | N | N | 0 | 访问数 |
| 7 | title | varchar | 125 | 0 | N | N | 标题 | |
| 8 | keywords | varchar | 125 | 0 | Y | N | 关键词 | |
| 9 | description | varchar | 255 | 0 | Y | N | 描述 | |
| 10 | url | varchar | 255 | 0 | Y | N | 来源地址 | |
| 11 | tag | varchar | 255 | 0 | Y | N | 标签 | |
| 12 | img | text | 65535 | 0 | Y | N | 封面图 | |
| 13 | content | longtext | 2147483647 | 0 | Y | N | 正文 | |
| 14 | create_time | timestamp | 19 | 0 | N | N | CURRENT_TIMESTAMP | 创建时间: |
| 15 | update_time | timestamp | 19 | 0 | N | N | CURRENT_TIMESTAMP | 更新时间: |
| 16 | avatar | varchar | 255 | 0 | Y | N | 发帖人头像: | |
| 17 | type | varchar | 64 | 0 | N | N | 0 | 论坛分类:[0,1000]用来搜索指定类型的论坛帖 |
| 编号 | 名称 | 数据类型 | 长度 | 小数位 | 允许空值 | 主键 | 默认值 | 说明 |
| 1 | type_id | smallint | 5 | 0 | N | Y | 分类ID:[0,10000] | |
| 2 | name | varchar | 16 | 0 | N | N | 分类名称:[2,16] | |
| 3 | description | varchar | 255 | 0 | Y | N | 描述:[0,255]描述该分类的作用 | |
| 4 | url | varchar | 255 | 0 | Y | N | 外链地址:[0,255]如果该分类是跳转到其他网站的情况下,就在该URL上设置 | |
| 5 | father_id | smallint | 5 | 0 | N | N | 0 | 上级分类ID:[0,32767] |
| 6 | icon | varchar | 255 | 0 | Y | N | 分类图标: | |
| 7 | create_time | timestamp | 19 | 0 | N | N | CURRENT_TIMESTAMP | 创建时间: |
| 8 | update_time | timestamp | 19 | 0 | N | N | CURRENT_TIMESTAMP | 更新时间: |
| 编号 | 名称 | 数据类型 | 长度 | 小数位 | 允许空值 | 主键 | 默认值 | 说明 |
| 1 | hits_id | int | 10 | 0 | N | Y | 点赞ID: | |
| 2 | user_id | int | 10 | 0 | N | N | 0 | 点赞人: |
| 3 | create_time | timestamp | 19 | 0 | N | N | CURRENT_TIMESTAMP | 创建时间: |
| 4 | update_time | timestamp | 19 | 0 | N | N | CURRENT_TIMESTAMP | 更新时间: |
| 5 | source_table | varchar | 255 | 0 | Y | N | 来源表: | |
| 6 | source_field | varchar | 255 | 0 | Y | N | 来源字段: | |
| 7 | source_id | int | 10 | 0 | N | N | 0 | 来源ID: |
| 编号 | 名称 | 数据类型 | 长度 | 小数位 | 允许空值 | 主键 | 默认值 | 说明 |
| 1 | installation_center_id | int | 10 | 0 | N | Y | 报装中心ID | |
| 2 | machine_name | varchar | 64 | 0 | Y | N | 机器名称 | |
| 3 | machine_cover | varchar | 255 | 0 | Y | N | 机器封面 | |
| 4 | installation_cost | int | 10 | 0 | Y | N | 0 | 装机费用 |
| 5 | machine_specifications | varchar | 64 | 0 | Y | N | 机器规格 | |
| 6 | installation_personnel | int | 10 | 0 | Y | N | 0 | 装机人员 |
| 7 | job_id | varchar | 64 | 0 | Y | N | 工作工号 | |
| 8 | personnel_name | varchar | 64 | 0 | Y | N | 人员姓名 | |
| 9 | machine_details | text | 65535 | 0 | Y | N | 机器详情 | |
| 10 | recommend | int | 10 | 0 | N | N | 0 | 智能推荐 |
| 11 | create_time | datetime | 19 | 0 | N | N | CURRENT_TIMESTAMP | 创建时间 |
| 12 | update_time | timestamp | 19 | 0 | N | N | CURRENT_TIMESTAMP | 更新时间 |
表installation_is_complete (安装完成)
| 编号 | 名称 | 数据类型 | 长度 | 小数位 | 允许空值 | 主键 | 默认值 | 说明 |
| 1 | installation_is_complete_id | int | 10 | 0 | N | Y | 安装完成ID | |
| 2 | order_number | varchar | 64 | 0 | N | N | 订单号 | |
| 3 | machine_name | varchar | 64 | 0 | Y | N | 机器名称 | |
| 4 | machine_cover | varchar | 255 | 0 | Y | N | 机器封面 | |
| 5 | installation_cost | int | 10 | 0 | Y | N | 0 | 装机费用 |
| 6 | machine_specifications | varchar | 64 | 0 | Y | N | 机器规格 | |
| 7 | installation_personnel | int | 10 | 0 | Y | N | 0 | 装机人员 |
| 8 | job_id | varchar | 64 | 0 | Y | N | 工作工号 | |
| 9 | personnel_name | varchar | 64 | 0 | Y | N | 人员姓名 | |
| 10 | reporting_personnel | int | 10 | 0 | Y | N | 0 | 报装人员 |
| 11 | user_name | varchar | 64 | 0 | Y | N | 用户姓名 | |
| 12 | community_address | varchar | 64 | 0 | Y | N | 社区地址 | |
| 13 | contact_number | varchar | 64 | 0 | Y | N | 联系电话 | |
| 14 | remarks | varchar | 64 | 0 | Y | N | 备注信息 | |
| 15 | installation_date | date | 10 | 0 | Y | N | 装机日期 | |
| 16 | voucher_screenshot | varchar | 255 | 0 | Y | N | 凭证截图 | |
| 17 | recommend | int | 10 | 0 | N | N | 0 | 智能推荐 |
| 18 | create_time | datetime | 19 | 0 | N | N | CURRENT_TIMESTAMP | 创建时间 |
| 19 | update_time | timestamp | 19 | 0 | N | N | CURRENT_TIMESTAMP | 更新时间 |
表installation_personnel (装机人员)
| 编号 | 名称 | 数据类型 | 长度 | 小数位 | 允许空值 | 主键 | 默认值 | 说明 |
| 1 | installation_personnel_id | int | 10 | 0 | N | Y | 装机人员ID | |
| 2 | job_id | varchar | 64 | 0 | Y | N | 工作工号 | |
| 3 | personnel_name | varchar | 64 | 0 | Y | N | 人员姓名 | |
| 4 | examine_state | varchar | 16 | 0 | N | N | 已通过 | 审核状态 |
| 5 | recommend | int | 10 | 0 | N | N | 0 | 智能推荐 |
| 6 | user_id | int | 10 | 0 | N | N | 0 | 用户ID |
| 7 | create_time | datetime | 19 | 0 | N | N | CURRENT_TIMESTAMP | 创建时间 |
| 8 | update_time | timestamp | 19 | 0 | N | N | CURRENT_TIMESTAMP | 更新时间 |
| 编号 | 名称 | 数据类型 | 长度 | 小数位 | 允许空值 | 主键 | 默认值 | 说明 |
| 1 | notice_id | mediumint | 8 | 0 | N | Y | 公告id: | |
| 2 | title | varchar | 125 | 0 | N | N | 标题: | |
| 3 | content | longtext | 2147483647 | 0 | Y | N | 正文: | |
| 4 | create_time | timestamp | 19 | 0 | N | N | CURRENT_TIMESTAMP | 创建时间: |
| 5 | update_time | timestamp | 19 | 0 | N | N | CURRENT_TIMESTAMP | 更新时间: |
| 编号 | 名称 | 数据类型 | 长度 | 小数位 | 允许空值 | 主键 | 默认值 | 说明 |
| 1 | praise_id | int | 10 | 0 | N | Y | 点赞ID: | |
| 2 | user_id | int | 10 | 0 | N | N | 0 | 点赞人: |
| 3 | create_time | timestamp | 19 | 0 | N | N | CURRENT_TIMESTAMP | 创建时间: |
| 4 | update_time | timestamp | 19 | 0 | N | N | CURRENT_TIMESTAMP | 更新时间: |
| 5 | source_table | varchar | 255 | 0 | Y | N | 来源表: | |
| 6 | source_field | varchar | 255 | 0 | Y | N | 来源字段: | |
| 7 | source_id | int | 10 | 0 | N | N | 0 | 来源ID: |
| 8 | status | bit | 1 | 0 | N | N | 1 | 点赞状态:1为点赞,0已取消 |
| 编号 | 名称 | 数据类型 | 长度 | 小数位 | 允许空值 | 主键 | 默认值 | 说明 |
| 1 | repair_application_id | int | 10 | 0 | N | Y | 报修申请ID | |
| 2 | order_number | varchar | 64 | 0 | N | N | 订单号 | |
| 3 | machine_name | varchar | 64 | 0 | Y | N | 机器名称 | |
| 4 | machine_cover | varchar | 255 | 0 | Y | N | 机器封面 | |
| 5 | installation_cost | int | 10 | 0 | Y | N | 0 | 装机费用 |
| 6 | machine_specifications | varchar | 64 | 0 | Y | N | 机器规格 | |
| 7 | installation_personnel | int | 10 | 0 | Y | N | 0 | 装机人员 |
| 8 | job_id | varchar | 64 | 0 | Y | N | 工作工号 | |
| 9 | personnel_name | varchar | 64 | 0 | Y | N | 人员姓名 | |
| 10 | reporting_personnel | int | 10 | 0 | Y | N | 0 | 报装人员 |
| 11 | user_name | varchar | 64 | 0 | Y | N | 用户姓名 | |
| 12 | community_address | varchar | 64 | 0 | Y | N | 社区地址 | |
| 13 | contact_number | varchar | 64 | 0 | Y | N | 联系电话 | |
| 14 | repair_date | date | 10 | 0 | Y | N | 报修日期 | |
| 15 | screenshot_of_repair_application | varchar | 255 | 0 | Y | N | 报修截图 | |
| 16 | fault_description | text | 65535 | 0 | Y | N | 故障描述 | |
| 17 | examine_state | varchar | 16 | 0 | N | N | 未审核 | 审核状态 |
| 18 | examine_reply | varchar | 16 | 0 | Y | N | 审核回复 | |
| 19 | recommend | int | 10 | 0 | N | N | 0 | 智能推荐 |
| 20 | create_time | datetime | 19 | 0 | N | N | CURRENT_TIMESTAMP | 创建时间 |
| 21 | update_time | timestamp | 19 | 0 | N | N | CURRENT_TIMESTAMP | 更新时间 |
| 编号 | 名称 | 数据类型 | 长度 | 小数位 | 允许空值 | 主键 | 默认值 | 说明 |
| 1 | sensitive_vocabulary_id | int | 10 | 0 | N | Y | 敏感词汇ID | |
| 2 | sensitive_vocabulary | varchar | 64 | 0 | Y | N | 敏感词汇 | |
| 3 | create_time | datetime | 19 | 0 | N | N | CURRENT_TIMESTAMP | 创建时间 |
| 4 | update_time | timestamp | 19 | 0 | N | N | CURRENT_TIMESTAMP | 更新时间 |
| 编号 | 名称 | 数据类型 | 长度 | 小数位 | 允许空值 | 主键 | 默认值 | 说明 |
| 1 | slides_id | int | 10 | 0 | N | Y | 轮播图ID: | |
| 2 | title | varchar | 64 | 0 | Y | N | 标题: | |
| 3 | content | varchar | 255 | 0 | Y | N | 内容: | |
| 4 | url | varchar | 255 | 0 | Y | N | 链接: | |
| 5 | img | varchar | 255 | 0 | Y | N | 轮播图: | |
| 6 | hits | int | 10 | 0 | N | N | 0 | 点击量: |
| 7 | create_time | timestamp | 19 | 0 | N | N | CURRENT_TIMESTAMP | 创建时间: |
| 8 | update_time | timestamp | 19 | 0 | N | N | CURRENT_TIMESTAMP | 更新时间: |
| 编号 | 名称 | 数据类型 | 长度 | 小数位 | 允许空值 | 主键 | 默认值 | 说明 |
| 1 | upload_id | int | 10 | 0 | N | Y | 上传ID | |
| 2 | name | varchar | 64 | 0 | Y | N | 文件名 | |
| 3 | path | varchar | 255 | 0 | Y | N | 访问路径 | |
| 4 | file | varchar | 255 | 0 | Y | N | 文件路径 | |
| 5 | display | varchar | 255 | 0 | Y | N | 显示顺序 | |
| 6 | father_id | int | 10 | 0 | Y | N | 0 | 父级ID |
| 7 | dir | varchar | 255 | 0 | Y | N | 文件夹 | |
| 8 | type | varchar | 32 | 0 | Y | N | 文件类型 |
| 编号 | 名称 | 数据类型 | 长度 | 小数位 | 允许空值 | 主键 | 默认值 | 说明 |
| 1 | user_id | mediumint | 8 | 0 | N | Y | 用户ID:[0,8388607]用户获取其他与用户相关的数据 | |
| 2 | state | smallint | 5 | 0 | N | N | 1 | 账户状态:[0,10](1可用|2异常|3已冻结|4已注销) |
| 3 | user_group | varchar | 32 | 0 | Y | N | 所在用户组:[0,32767]决定用户身份和权限 | |
| 4 | login_time | timestamp | 19 | 0 | N | N | CURRENT_TIMESTAMP | 上次登录时间: |
| 5 | phone | varchar | 11 | 0 | Y | N | 手机号码:[0,11]用户的手机号码,用于找回密码时或登录时 | |
| 6 | phone_state | smallint | 5 | 0 | N | N | 0 | 手机认证:[0,1](0未认证|1审核中|2已认证) |
| 7 | username | varchar | 16 | 0 | N | N | 用户名:[0,16]用户登录时所用的账户名称 | |
| 8 | nickname | varchar | 16 | 0 | Y | N | 昵称:[0,16] | |
| 9 | password | varchar | 64 | 0 | N | N | 密码:[0,32]用户登录所需的密码,由6-16位数字或英文组成 | |
| 10 | | varchar | 64 | 0 | Y | N | 邮箱:[0,64]用户的邮箱,用于找回密码时或登录时 | |
| 11 | email_state | smallint | 5 | 0 | N | N | 0 | 邮箱认证:[0,1](0未认证|1审核中|2已认证) |
| 12 | avatar | varchar | 255 | 0 | Y | N | 头像地址:[0,255] | |
| 13 | create_time | timestamp | 19 | 0 | N | N | CURRENT_TIMESTAMP | 创建时间: |
| 编号 | 名称 | 数据类型 | 长度 | 小数位 | 允许空值 | 主键 | 默认值 | 说明 |
| 1 | group_id | mediumint | 8 | 0 | N | Y | 用户组ID:[0,8388607] | |
| 2 | display | smallint | 5 | 0 | N | N | 100 | 显示顺序:[0,1000] |
| 3 | name | varchar | 16 | 0 | N | N | 名称:[0,16] | |
| 4 | description | varchar | 255 | 0 | Y | N | 描述:[0,255]描述该用户组的特点或权限范围 | |
| 5 | source_table | varchar | 255 | 0 | Y | N | 来源表: | |
| 6 | source_field | varchar | 255 | 0 | Y | N | 来源字段: | |
| 7 | source_id | int | 10 | 0 | N | N | 0 | 来源ID: |
| 8 | register | smallint | 5 | 0 | Y | N | 0 | 注册位置: |
| 9 | create_time | timestamp | 19 | 0 | N | N | CURRENT_TIMESTAMP | 创建时间: |
| 10 | update_time | timestamp | 19 | 0 | N | N | CURRENT_TIMESTAMP | 更新时间: |
这个系统使用jdbc和MySQL进行连接,并创建一个名为jdbc.properties的文件,用于确定与数据库的连接所需的驱动程序和参数。
jdbc.driverClass=com.MySQL.jdbc.Driver
jdbc.url=jdbc:MySQL://localhost:3306/tsi
jdbc.username=root
jdbc.password=123
MySQL数据库的第一个驱动程序可以帮助我们更好地理解数据库的功能,第二个驱动程序可以帮助我们更好地连接数据库,第三个和第四个驱动程序可以帮助我们记忆数据。
HQL语句是用于查询数据库的主要方式,它的表名是表格的实体类名,而*则被禁止使用,只有当它们能够与聚合函数结合时,才能够被有效地使用。
关键代码如下:

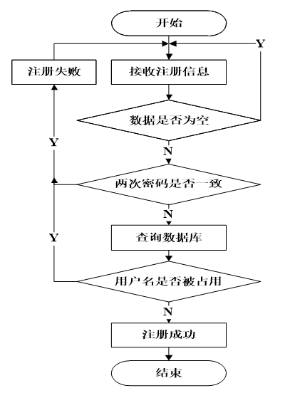
为了保障账号安全,请务必使账号与javaScript的注册页面的验证完全一致。账号的长度应该介于18,并且邮箱中应该包含@标记。账号的密码也应该一致,因为账号将随着个人信息而变化。手机或者个人账户的地址也应该一致,因为它们的使用方法可能不一样。如果在系统的前端进行了认证,可以在系统的name栏上添加账号,这样信息就可以被储存在系统的数据库里。
用户注册流程图如下图所示。

图5-1用户注册流程图
用户注册界面如下图所示。

图5-2用户注册界面
关键代码如下:

这个系统包含了一个简单的操作流程,它可以帮助快速访问系统。首先,需要填写一个有效的账号或者一个安全的密码,然后系统会根据填写信息来生成一个新的账号或者一个安全的密码。这个账号或者安全的密码是通过“用户名,密码不能为空”来识别的,一旦识别,就可以使账号或者安全的账号使用。当账号被激活时,系统会弹出一个警告窗口,确保账号被正确激活。如果账号被激活,确保账号被正确激活。激活之后,可以访问账号,查看个人资料,以及搜索、分享、离开等相关服务。通过删除username的数据,用户可以从当前窗口返回至最初的状态。
登录流程图如下图所示。

图5-3登录流程图
用户登录界面如下图所示。

图5-4用户登录界面
关键代码如下:

当完成/注册操作,就能够更新个人资料。需要确保inputname值能够和所属的实体类型的参数完全对应。当更新个人资料时,账号密码应当保持完整,不能出现任何错误。需要确保账号密码是唯一的,才能继续使用。
-
- 报装申请管理模块的实现
管理员可以使用ajax技术来查询报装申请,这样他们就可以轻松获取报装申请的详细信息,包括用户地址、社区地址、联系电话等,并且可以根据自己的偏好,在页面上自由选择要修改或删除的信息。如果选中的信息超出了限制,系统将会弹出一个窗口,提醒用户只能选择一条数据,而如果没有选中,系统将会弹出一个窗口,要求用户只能选择一条数据。当用户选择进行更改时,系统会根据用户的id进行查询,并将结果返回到更新页面。用户可以在更新页面中更新刚刚选择的信息。用户点击确认后,from表单会将更新的数据提交到系统,并保存到数据库中。这意味着,如果提交的数据在数据库中,用户可以进行更新,否则将被保存。
报装申请展示界面如下图所示。

图5-5报装申请展示界面
报装申请管理界面如下图所示。


图5-6报装申请管理界面
关键代码如下:

-
- 日常维护管理模块的实现
在这个页面上,重点在于填充有效的日常维护,其中必须包含机器名称、设备图片、机器规格、发布人员,点击提交按钮即可。若没有填充全部的搜索资料,比如设备名称,系统会发送错误的警告,从而导致搜索失败。onsubmit =“return checkForm()”可作为一种有效的校验工具,它可以将数据转换成一种可靠的格式,form表单上的onsubmit=”return checkForm()可以帮助我们ACK这些格式是否已被转换成可靠的格式。
管理员可以通过“日常维护管理”菜单来访问日常维护管理外观,并调用List中的物品信息,将其与请求对象绑定,然后页面跳转到jsp,显示出相关的物品信息,最后点击删除按钮,即可完成物品信息的清理。
日常维护管理流程图如下图所示。

图5-7日常维护管理流程图
日常维护展示界面如下图所示。

图5-8日常维护展示界面
日常维护管理界面如下图所示。

图5-9日常维护管理界面
关键代码如下:

无论什么样的系统,测试都至关重要,因为它们可以帮助我们检查出潜藏的缺陷,从而确保它们的性能和稳定性,避免Bug的出现,并确保它们的功能和性价比达到预期的要求。为了确保系统的安全、高效、可靠,我们将采取三种不同的方法:单元、功能、及应用程序的检验。
通过对用户名和密码的多次输入,本次系统登录功能的测试结果显示,它的反应速度非常快,从而实现了设计的目标。
表6-1 系统登录功能测试用例
| 功能描述 | 用于系统登录 | |
| 测试目的 | 检测登录时的合法性检查 | |
| 测试数据以及操作 | 预期结果 | 实际结果 |
| 输入的用户名和密码带有非法字符 | 提示用户名或者密码错误 | 与预期结果一致 |
| 输入的用户名或者密码为空 | 提示用户名或者密码错误 | 与预期结果一致 |
| 输入的用户名和密码不存在 | 提示用户名或者密码错误 | 与预期结果一致 |
| 输入正确的用户名和密码 | 登录成功 | 与预期结果一致 |
通过对注册功能的测试,我们可以清晰地看到输入的各种数据,并且可以观察到系统的反应,从而证明该功能已经达到了预期的目标。
表6-2 注册功能测试用例
| 功能描述 | 用于用户注册 | |
| 测试目的 | 检测用户注册时的合法性检查 | |
| 测试数据以及操作 | 预期结果 | 实际结果 |
| 输入的手机号不合法 | 提示请输入正确的手机号码 | 与预期结果一致 |
| 输入的字段为空 | 提示必填项不能为空 | 与预期结果一致 |
| 输入的密码少于6位 | 提示密码必须为6-12位 | 与预期结果一致 |
| 输入的密码大于12位 | 提示密码必须为6-12位 | 与预期结果一致 |
通过对日常维护管理功能的测试,我们发现它可以有效地增加、删除、修改和查询信息,并且能够有效地实现预期的目标。此外,我们还可以通过观察系统的反馈来证明,该功能的运行效果良好。
前置条件;用户登录系统。
表6-3 日常维护管理的测试用例
| 功能描述 | 用于日常维护管理 | |
| 测试目的 | 检测日常维护管理时的各种操作的运行情况 | |
| 测试数据以及操作 | 预期结果 | 实际结果 |
| 点击添加日常维护,必填项合法输入,点击保存 | 提示添加成功 | 与预期结果一致 |
| 点击添加日常维护,必填项输入不合法,点击保存 | 提示必填项不能为空 | 与预期结果一致 |
| 点击修改日常维护,必填项修改为空,点击保存 | 提示必填项不能为空 | 与预期结果一致 |
| 点击修改日常维护,必填项输入不合法,点击保存 | 提示必填项不能为空 | 与预期结果一致 |
| 点击删除日常维护,选择日常维护删除 | 提示删除成功 | 与预期结果一致 |
| 点击搜索日常维护,输入存在的日常维护名 | 查找出日常维护 | 与预期结果一致 |
| 点击搜索日常维护,输入不存在的日常维护名 | 不显示日常维护 | 与预期结果一致 |
通过对报装申请管理功能的测试,我们发现它可以有效地实现增加、删除、修改和查询公告信息的操作,并且系统的反应也非常迅速,从而证明了它的设计目标得以实现。
前置条件;用户登录系统。
表6-4 报装申请管理的测试用例
| 功能描述 | 用于报装申请管理 | |
| 测试目的 | 检测报装申请管理时的各种操作的运行情况 | |
| 测试数据以及操作 | 预期结果 | 实际结果 |
| 点击添加报装申请,必填项合法输入,点击保存 | 提示添加成功 | 与预期结果一致 |
| 点击添加报装申请,必填项输入不合法,点击保存 | 提示必填项不能为空 | 与预期结果一致 |
| 点击修改报装申请,必填项修改为空,点击保存 | 提示必填项不能为空 | 与预期结果一致 |
| 点击修改报装申请,必填项输入不合法,点击保存 | 提示必填项不能为空 | 与预期结果一致 |
| 点击删除报装申请,选择报装申请删除 | 提示删除成功 | 与预期结果一致 |
| 点击搜索报装申请,输入存在的报装申请名 | 查找出报装申请 | 与预期结果一致 |
| 点击搜索报装申请,输入不存在的报装申请名 | 不显示报装申请 | 与预期结果一致 |
通过使用阿里云PTS(Performance Testing Service)的高效率性能检测,我们可以有效地评价网络系统的稳定性和安全可靠。该检验需要1个主CPU、1G的存储器、1Mbps的公网宽带以及Centos7.0的控制系统。
在压力检测的过程中,我们采取了2台同步设备,每台设备同步20个用户,同步访问系统的主界面、登录界面、数据查询界面和数据维护界面。当同步设备同步运作40个用户时,数据处理界面的反馈速度高达7s,而且我们检查了服务器的出口速度,发现它的速度高达1381kb/s,这表明我们的设备的带宽已经超过了5bps,这意味着我们的设备的反馈速度和TPS都要大幅提升。经过全面的测试,CPU的利用效果只有8%,这表明了网络的带宽限制是极其糟糕的。
基于微信小程序+SSM的社区直饮水机管理系统是一种创新的解决方案,通过结合微信小程序和SSM框架的优势,实现了社区直饮水机的报装中心、报装申请、安装完成、报修申请、日常维护等功能。该系统具有跨平台、便捷分享、无需下载安装的特点,为用户提供了更加便捷高效的使用体验。
在当前的发展状况下,基于微信小程序+SSM的社区直饮水机管理系统已经取得了一定的成果和应用。然而,仍然存在一些挑战和问题需要解决。例如,如何进一步提升系统的稳定性和可靠性,如何保护用户数据的安全性和隐私,以及如何提供更加智能化的管理和服务等方面。
未来,我们可以通过引入新的技术和方法,进一步完善和拓展基于微信小程序+SSM的社区直饮水机管理系统。首先,可以考虑引入人工智能和大数据分析技术,实现对用户用水习惯和设备运行情况的智能分析和预测,提供个性化的服务和建议。其次,可以加强系统的安全性和隐私保护,采用加密算法和权限管理机制,确保用户数据的安全和可信。此外,还可以进一步优化用户界面和交互体验,提升系统的易用性和用户满意度。
综上所述,基于微信小程序+SSM的社区直饮水机管理系统在未来有着广阔的发展前景。通过不断创新和改进,我们相信这一系统将为社区直饮水机的装机管理提供更加智能化、便捷高效的解决方案,为人们的生活带来更好更便捷的服务。
参考文献
[1]Gatot Y ,Tony Y .Microtremor data and HVSR method of geothermal manifestation of Mt. Telomoyo, Central Java, Indonesia[J].Data in Brief,2023,51
[2]Mohammad F ,Immanuel Y S ,Adi A K , et al.Development of flood hazard index under climate change scenarios in Java Island[J].Progress in Disaster Science,2023,20
[3]尹应荆.JAVA编程语言在计算机软件开发中的应用[J].石河子科技,2023,(05):45-47.
[4]孙磊,宁亚楠,王哲等.微信小程序在新时代“互联网+教育”中的作用与建设[J].黑河学院学报,2023,14(09):102-104.
[5]李行.基于微信小程序的运动数据分析与可视化研究[J].现代信息科技,2023,7(18):55-59.DOI:10.19850/j.cnki.2096-4706.2023.18.011
[6]郑晔.小区直饮水可以放心用吗?[N].宝鸡日报,2023-09-13(008).
[7]胡唯,程子炎.基于物联网和微信小程序的家用节能系统设计与实现[J].长江信息通信,2023,36(08):151-153.
[8]丁晓进,朱晓荣.基于微信小程序的云计算学习平台开发[J].软件导刊,2023,22(09):108-112.
[9]李萌,胡坤宏,阳杰等.构建微信小程序辅助化学实验预习教学模式探索[J].安徽化工,2023,49(03):191-193.
[10]Andre B ,Rocco Z ,Maria B , et al.Functional characterization of SGLT1 using SSM-based electrophysiology: Kinetics of sugar binding and translocation[J].Frontiers in Physiology,2023,141058583-1058583.
[11]张馨尤,柘佩雯.基于感性工学的直饮水机造型设计研究[J].新型工业化,2021,11(12):102-103+106.DOI:10.19335/j.cnki.2095-6649.2021.12.039
[12]张群芳,洪烈城,庄园.2019年深圳市宝安区中小学直饮水卫生状况调查[J].职业卫生与病伤,2021,36(05):277-281.
[13]梁冰洁.基于用户体验的公共直饮水设施设计研究[D].湖北工业大学,2020.DOI:10.27131/d.cnki.ghugc.2020.000844
[14]黄晓媚,黄杰周,关汉坤.佛山市南海区学校、托幼机构直饮水卫生状况和饮用安全情况分析[J].中国初级卫生保健,2018,32(10):53-55.
[15]陈聪,许明佳,王丽华.2016年上海市金山区中小学校饮水设备管理情况调查[J].职业与健康,2018,34(06):839-842.DOI:10.13329/j.cnki.zyyjk.2018.0231
致谢
在此,我要向所有为本论文提供帮助和支持的人们表示衷心的感谢。首先,我要感谢我的导师,他们在整个研究过程中给予了我宝贵的指导和建议。没有他们的专业知识和经验,我无法完成这篇论文。其次,我要感谢我的同学和朋友们,他们在我需要帮助时总是愿意伸出援手。他们与我分享了许多有关我的研究主题的见解和观点,这对我来说非常宝贵。此外,我还要感谢那些参与我的研究的受访者和实验对象。他们的参与和合作使得我的研究能够更加全面和准确。最后,我要感谢我的家人。他们一直支持我追求学术研究的梦想,并在我遇到困难时给予了我无尽的鼓励和支持。没有这些人的帮助和支持,我无法完成这篇论文。再次向他们表示衷心的感谢!
点赞+收藏+关注 →私信领取本源代码、数据库
关注博主下篇更精彩
一键三连!!!
一键三连!!!
一键三连!!!
感谢一键三连!!!

被折叠的 条评论
为什么被折叠?



