摘 要
在当今数字化时代,活动竞赛的组织和管理需要更加高效、便捷的工具。为了满足这一需求,引入了基于 Springboot 的活动竞赛辅助平台。这个平台旨在提供一个一体化的解决方案,帮助学生、教师和管理员更好地参与和管理各种活动与竞赛。
Springboot 作为一个强大的开源框架,为构建现代 Web 应用提供了坚实的基础。通过利用 Springboot 的优势,活动竞赛辅助平台能够实现快速开发、灵活扩展和易于维护的特点。它将为用户提供一个直观、易用的界面,方便他们获取信息、报名参加活动、管理竞赛等。
这个平台的引入将改变传统活动竞赛组织的方式,提高效率,减少繁琐的手动工作。它将为学校、社团和各类组织提供更好的支持,促进活动竞赛的顺利进行,同时也为参与者提供了更多的机会和便利。
系统通过浏览器与服务器进行通信,实现数据的交互与变更。本系统通过科学的管理方式、便捷的服务提高了工作效率,减少了数据存储上的错误和遗漏。活动竞赛辅助平台使用Java语言,采用基于 MVVM模式的springboot技术进行开发,使用 Eclipse 编译器编写,数据方面主要采用的是微软的MySQL关系型数据库来作为数据存储媒介。
关键词:活动竞赛辅助平台;Java语言;springboot技术
An Activity Competition Assistance Platform Based on Springboot
SystemAbstract
In today's digital age, the organization and management of events and competitions require more efficient and convenient tools. To meet this demand, a Springboot based activity and competition assistance platform has been introduced. This platform aims to provide an integrated solution to help students, teachers, and administrators better participate in and manage various activities and competitions.
Springboot, as a powerful open-source framework, provides a solid foundation for building modern web applications. By leveraging the advantages of Springboot, the event and competition assistance platform can achieve fast development, flexible expansion, and easy maintenance. It will provide users with an intuitive and user-friendly interface, making it easy for them to access information, register for events, manage competitions, and more.
The introduction of this platform will change the traditional way of organizing events and competitions, improve efficiency, and reduce tedious manual work. It will provide better support for schools, clubs, and various organizations, promote the smooth progress of activities and competitions, and also provide more opportunities and convenience for participants.
The system communicates with the server through a browser to achieve data exchange and change. This system improves work efficiency and reduces errors and omissions in data storage through scientific management and convenient services. The activity and competition support platform is developed using Java language and Springboot technology based on MVVM pattern. It is written using Eclipse compiler and mainly uses Microsoft's MySQL relational database as the data storage medium.
Keywords: Activity competition auxiliary platform; Java language; Springboot technology
目 录
随着社会的发展和人们生活水平的提高,各种活动竞赛在我们的生活中扮演着越来越重要的角色。然而,活动竞赛的组织和管理面临着许多挑战,如报名管理、赛程安排、成绩统计等。在这样的背景下,基于Spring Boot的活动竞赛辅助平台的设计与实现具有重要的研究背景和意义。
该平台旨在利用Spring Boot的快速开发特性和丰富的生态系统,构建一个全面、高效的活动竞赛辅助平台。通过平台,可以实现活动的在线报名、赛程安排、成绩记录和发布等功能。同时,平台还提供参赛者和组织者的个人信息管理、数据分析和交流互动等功能,以提高活动竞赛的效率和用户体验。
该平台的研究意义主要体现在以下几个方面。首先,通过平台的设计与实现,可以提高活动竞赛的组织和管理效率。传统的活动竞赛管理往往依赖于纸质表格和人工处理,容易出现信息不准确、操作繁琐等问题。而基于Spring Boot的辅助平台可以实现自动化处理和数据管理,提高工作效率并减少人为错误。
基于Spring Boot的活动竞赛辅助平台的设计与实现具有重要的研究背景和意义。该平台通过自动化处理、提高用户体验和推动行业数字化转型,为活动竞赛的组织和管理提供了新的思路和解决方案。这将有助于提高活动竞赛的效率、用户满意度,推动活动竞赛行业的可持续发展。
基于Spring Boot的活动竞赛辅助平台的设计与实现在国内外都受到了一定的关注和研究。以下是国内外研究现状的描述:
国内研究现状:
在国内,随着社会体育和休闲活动的普及,越来越多的研究机构和企业开始关注活动竞赛辅助平台的设计和应用。一些研究致力于开发基于Spring Boot的活动竞赛辅助平台,以提高活动的组织和管理效率。这些平台通常包括活动报名、赛程安排、成绩记录和发布等功能,通过互联网和移动应用程序提供在线服务和用户交互。
国外研究现状:
在国外,活动竞赛辅助平台也引起了广泛的研究兴趣。许多国际知名的体育组织和科研机构致力于开发基于Spring Boot的平台,以满足活动竞赛的需求。这些平台通常采用云计算和大数据技术,通过数据分析和挖掘,为参赛者和组织者提供更准确的信息和个性化的服务。
发展趋势:
未来,活动竞赛辅助平台的发展将呈现以下趋势。首先,平台将注重移动化和用户体验。随着智能手机和移动应用的普及,平台将提供更便捷、灵活的在线报名和参赛管理功能,以满足用户的需求。其次,平台将强调数据分析和个性化服务。通过引入机器学习和推荐算法等技术,平台可以根据参赛者的偏好和行为,提供个性化的比赛推荐和训练建议,提高参赛者的体验和表现。
总之,基于Spring Boot的活动竞赛辅助平台的设计与实现已经受到国内外的关注和研究。未来的发展趋势是移动化、用户体验和数据驱动,通过技术创新为活动竞赛提供更高效、个性化的管理和参与解决方案。这将有助于提升活动竞赛的组织效率、参赛者满意度,推动活动竞赛行业的数字化转型和智能化发展。
第一章是绪论,本文章的开头部分,对本题目的研究背景意义和国内外研究现状等一些做文字性的描述。
第三章是系统分析部分,包括系统总体需求描述、功能性角度分析系统需求、非功能性等各个方面分析系统是否可以实现。
第三章是系统设计部分,本文章的重要部分,提供了系统架构的详细设计和一些主要功能模块的设计说明。
第四章是系统的具体实现,介绍系统的各个模块的具体实现。
第五章在前几章的基础上对系统进行测试和运行。
最后对系统进行了认真的总结,以此对未来有一个新的展望
本次设计基于B/S 模式下,运用Java技术采用的是MySQL数据库和Eclipse实现,总体的可行性共分为以下三个方面。
基于springboot的活动竞赛辅助平台,我们在实现这个系统所采用的技术方案是基于Java语言,SpringBoot框架和MYSQL数据库,在大学的学习中这两门课程都已经学过,而且自己也用这些技术开发过小的项目,在平时的课程设计以及作业也经常用到Java和MYSQL,在技术上实现自己的自主开发是可行的。
在项目上使用的工具大部分都是是当下流行开源免费的,所以在开发前期,开发时用于项目的经费将会大大降低,不会让开发该软件在项目启动期受到经费的影响,所以经济上还是可行的。尽量用最少的花费去满足用户的需求。省下经费用于人工费,以及设备费用。将在无纸化,高效率的道路上越走越远。
本系统实现功能的操作很简单,普通电脑的常见配置就可以运行本软件,并且只要粗通电脑使用的基本常识就可以流畅的使用本软件。电脑具备连接互联网的能力,并且可以正常访问系统,并不需要操作者有什么高超的能力,只需了解业务流程,并且按照专业知识进行正确操作即可,所以活动竞赛辅助平台具备操作可行性。
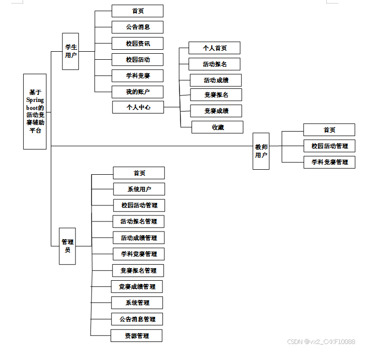
活动竞赛辅助平台分为两大部分:管理员模块、学生用户、教师用户模块。
(一)管理员管理模块:
- 管理员登录:管理员进入到系统登录界面,需要填写正确的登录名、密码、选择权限等信息输入准确无误后登录进入到系统操作界面。管理员的账号是在数据表表中直接设置生成的,不需要进行注册;修改密码:管理员可以随时修改自己进入系统的登录密码,以保证系统的安全性。
- 后台首页:管理员登录后的起始页面,提供整体系统状态的概览和重要信息的展示。
- 系统用户:管理平台的用户,包括学生、教师等用户的注册、认证、权限设置等。
- 校园活动管理:创建、编辑和管理校园内的各种活动,包括活动的详细信息、时间、地点等。
- 活动报名管理:审核和管理学生的活动报名申请,跟踪报名情况。
- 活动成绩管理:记录和管理学生在活动中的成绩和评价,进行统计和分析。
- 学科竟赛管理:组织和管理学科竞赛,包括竞赛的设置、规则制定、题目发布等。
- 竞赛报名管理:处理学生的竞赛报名,确保竞赛的参与人数和资格符合要求。
- 竟赛成绩管理:记录和统计学生在竞赛中的成绩,生成排名和奖励名单。
- 系统管理:管理平台页面上的轮播图,用于展示重要信息或宣传内容。
- 公告消息管理:发布、编辑和管理公告消息,确保学生及时获得相关通知。
- 资源管理):管理校园资讯的内容,包括分类、发布和更新,以提供有价值的信息给学生。
(二)学生用户管理模块:
- 首页:这是平台的起始页面,可能展示一些重要的信息、推荐活动或竞赛,以及用户导航链接。
- 公告消息:学生可以在此处查看学校发布的通知、公告和消息,了解与活动竞赛相关的重要信息。
- 校园资讯:提供校园内的新闻、动态和热点话题,帮助学生了解校园文化和最新事件。
- 校园活动:列出各种校园组织、社团或学校官方举办的活动,学生可以浏览并报名参加感兴趣的活动。
- 学科竞赛:展示各类学科竞赛的信息,包括竞赛的详情、报名时间、比赛规则等,学生可以选择报名参加。
- 我的账户:学生可以查看和管理自己的账户信息,例如个人资料、登录凭据等。
- 个人中心:
● 个人首页:展示学生的个人信息和概要,可能包括头像、姓名、学籍等。
● 活动报名:学生可以在此处报名参加他们感兴趣的活动。
● 活动成绩:查看学生参与活动的成绩和结果,例如比赛排名、获奖情况等。
● 竞赛报名:专门用于学生报名参加学科竞赛的功能。
● 竞赛成绩:显示学生在竞赛中的成绩和排名等信息。
● 收藏:学生可以将感兴趣的活动或竞赛收藏起来,方便随时查看。
- 教师用户管理模块:
- 后台首页:教师登录后的起始页面,提供系统整体概览和重要信息展示。
- 校园活动管理:教师可以创建、编辑和管理校园活动的相关信息,如活动名称、时间、地点、参与人员等。他们可以查看学生的报名情况,并进行相应的审批和管理。
- 学科竞赛管理:负责学科竞赛的组织和管理工作。教师可以设置竞赛的规则、题目、评分标准等,并对学生的竞赛报名进行审核和管理。
活动竞赛辅助平台的安全性、可靠性、性能和可扩展性是其重要的考量因素,它们不仅满足了用户对于功能性的要求,还为用户提供了更多的便利。根据表格3-1,我们可以清楚地看到这一点:
表3-1 活动竞赛辅助平台非功能需求表
| 安全性 | 主要指活动竞赛辅助平台数据库的安装,数据库的使用和密码的设定必须合乎规范。 |
| 可靠性 | 可靠性是指活动竞赛辅助平台能够安装用户的指示进行操作,经过测试,可靠性90%以上。 |
| 性能 | 性能是影响活动竞赛辅助平台占据市场的必要条件,所以性能最好要佳才好。 |
| 可扩展性 | 比如数据库预留多个属性,比如接口的使用等确保了系统的非功能性需求。 |
| 易用性 | 用户只要跟着活动竞赛辅助平台的页面展示内容进行操作,就可以了。 |
| 可维护性 | 活动竞赛辅助平台开发的可维护性是非常重要的,经过测试,可维护性没有问题 |
系统业务流程图,如图所示:

图3-2登录流程图

图3-3添加信息流程图

图3-4注册信息流程图
-
- 系统用例分析
学生用户用例图如下所示。

图3-5普通用户用例图
管理员用例图如下所示。

图3-6管理员用例图
教师用例图如下所示。

图3-7教师用例图
目前B/S体系的系统主要的数据访问方式是:通过浏览器页面用户可以进入系统,系统可以自动对用户向服务器发送的请求进行处理,处理请求是在系统后台中进行的,用户在浏览器页面上进行相应操作,就能够看到服务端传递的处理结果。活动竞赛辅助平台主要分为视图-模型-控制三层架构设计。在视图层中,主要是操作在服务器端向客户端反馈并显示的数据,在模型层中,主要处理相关的业务逻辑、数据整合等,最后的控制层它介于视图和模型之间,主要是调整两层之间的关系,最终落实数据的传递。
系统架构图如下图所示。

图4-1系统架构图
系统设计的目的是分析系统包括的所有功能结构,为开发人员设计开发和实现系统做好准备工作。经过前期的需求调查、分析和整理之后,确定的总体需求主要包括多个模块,分别是:后台首页、系统用户、菜品类型管理、美食菜单管理、美食订单管理、货物仓库管理、货物采购管理、货物销售管理、系统管理(轮播图)、通知公告管理、资源管理(餐饮资讯、资讯分类)。系统整体角色分为三个部分,一是学生用户、二是管理员,三是教师用户,权限分布也是很明显,管理员可以实现对用户的增加以及删除,是最高权限拥有者。
系统功能结构图如下图所示。

图4-2系统功能结构图
根据前面的数据流程图,结合系统的功能模块设计,设计出符合系统的各信息实体。
系统总体ER图如下图所示。

图4-3系统总体ER图
数据库逻辑结构就是将E-R图在数据库中用具体的字段进行描述。用字段和数据类型描述来使对象特征实体化,最后形成具有一定逻辑关系的数据库表结构。活动竞赛辅助平台所需要的部分数据结构表如下表所示。
| 编号 | 名称 | 数据类型 | 长度 | 小数位 | 允许空值 | 主键 | 默认值 | 说明 |
| 1 | token_id | int | 10 | 0 | N | Y | 临时访问牌ID | |
| 2 | token | varchar | 64 | 0 | Y | N | 临时访问牌 | |
| 3 | info | text | 65535 | 0 | Y | N | ||
| 4 | maxage | int | 10 | 0 | N | N | 2 | 最大寿命:默认2小时 |
| 5 | create_time | timestamp | 19 | 0 | N | N | CURRENT_TIMESTAMP | 创建时间: |
| 6 | update_time | timestamp | 19 | 0 | N | N | CURRENT_TIMESTAMP | 更新时间: |
| 7 | user_id | int | 10 | 0 | N | N | 0 | 用户编号: |
| 编号 | 名称 | 数据类型 | 长度 | 小数位 | 允许空值 | 主键 | 默认值 | 说明 |
| 1 | activity_results_id | int | 10 | 0 | N | Y | 活动成绩ID | |
| 2 | activity_name | varchar | 64 | 0 | Y | N | 活动名称 | |
| 3 | activity_type | varchar | 64 | 0 | Y | N | 活动类型 | |
| 4 | activity_time | datetime | 19 | 0 | Y | N | 活动时间 | |
| 5 | event_location | varchar | 64 | 0 | Y | N | 活动地点 | |
| 6 | student_users | int | 10 | 0 | Y | N | 0 | 学生用户 |
| 7 | student_name | varchar | 64 | 0 | Y | N | 学生姓名 | |
| 8 | activity_results | int | 10 | 0 | Y | N | 0 | 活动成绩 |
| 9 | create_time | datetime | 19 | 0 | N | N | CURRENT_TIMESTAMP | 创建时间 |
| 10 | update_time | timestamp | 19 | 0 | N | N | CURRENT_TIMESTAMP | 更新时间 |
| 编号 | 名称 | 数据类型 | 长度 | 小数位 | 允许空值 | 主键 | 默认值 | 说明 |
| 1 | article_id | mediumint | 8 | 0 | N | Y | 文章id:[0,8388607] | |
| 2 | title | varchar | 125 | 0 | N | Y | 标题:[0,125]用于文章和html的title标签中 | |
| 3 | type | varchar | 64 | 0 | N | N | 0 | 文章分类:[0,1000]用来搜索指定类型的文章 |
| 4 | hits | int | 10 | 0 | N | N | 0 | 点击数:[0,1000000000]访问这篇文章的人次 |
| 5 | praise_len | int | 10 | 0 | N | N | 0 | 点赞数 |
| 6 | create_time | timestamp | 19 | 0 | N | N | CURRENT_TIMESTAMP | 创建时间: |
| 7 | update_time | timestamp | 19 | 0 | N | N | CURRENT_TIMESTAMP | 更新时间: |
| 8 | source | varchar | 255 | 0 | Y | N | 来源:[0,255]文章的出处 | |
| 9 | url | varchar | 255 | 0 | Y | N | 来源地址:[0,255]用于跳转到发布该文章的网站 | |
| 10 | tag | varchar | 255 | 0 | Y | N | 标签:[0,255]用于标注文章所属相关内容,多个标签用空格隔开 | |
| 11 | content | longtext | 2147483647 | 0 | Y | N | 正文:文章的主体内容 | |
| 12 | img | varchar | 255 | 0 | Y | N | 封面图 | |
| 13 | description | text | 65535 | 0 | Y | N | 文章描述 |
| 编号 | 名称 | 数据类型 | 长度 | 小数位 | 允许空值 | 主键 | 默认值 | 说明 |
| 1 | type_id | smallint | 5 | 0 | N | Y | 分类ID:[0,10000] | |
| 2 | display | smallint | 5 | 0 | N | N | 100 | 显示顺序:[0,1000]决定分类显示的先后顺序 |
| 3 | name | varchar | 16 | 0 | N | N | 分类名称:[2,16] | |
| 4 | father_id | smallint | 5 | 0 | N | N | 0 | 上级分类ID:[0,32767] |
| 5 | description | varchar | 255 | 0 | Y | N | 描述:[0,255]描述该分类的作用 | |
| 6 | icon | text | 65535 | 0 | Y | N | 分类图标: | |
| 7 | url | varchar | 255 | 0 | Y | N | 外链地址:[0,255]如果该分类是跳转到其他网站的情况下,就在该URL上设置 | |
| 8 | create_time | timestamp | 19 | 0 | N | N | CURRENT_TIMESTAMP | 创建时间: |
| 9 | update_time | timestamp | 19 | 0 | N | N | CURRENT_TIMESTAMP | 更新时间: |
| 编号 | 名称 | 数据类型 | 长度 | 小数位 | 允许空值 | 主键 | 默认值 | 说明 |
| 1 | auth_id | int | 10 | 0 | N | Y | 授权ID: | |
| 2 | user_group | varchar | 64 | 0 | Y | N | 用户组: | |
| 3 | mod_name | varchar | 64 | 0 | Y | N | 模块名: | |
| 4 | table_name | varchar | 64 | 0 | Y | N | 表名: | |
| 5 | page_title | varchar | 255 | 0 | Y | N | 页面标题: | |
| 6 | path | varchar | 255 | 0 | Y | N | 路由路径: | |
| 7 | position | varchar | 32 | 0 | Y | N | 位置: | |
| 8 | mode | varchar | 32 | 0 | N | N | _blank | 跳转方式: |
| 9 | add | tinyint | 3 | 0 | N | N | 1 | 是否可增加: |
| 10 | del | tinyint | 3 | 0 | N | N | 1 | 是否可删除: |
| 11 | set | tinyint | 3 | 0 | N | N | 1 | 是否可修改: |
| 12 | get | tinyint | 3 | 0 | N | N | 1 | 是否可查看: |
| 13 | field_add | text | 65535 | 0 | Y | N | 添加字段: | |
| 14 | field_set | text | 65535 | 0 | Y | N | 修改字段: | |
| 15 | field_get | text | 65535 | 0 | Y | N | 查询字段: | |
| 16 | table_nav_name | varchar | 500 | 0 | Y | N | 跨表导航名称: | |
| 17 | table_nav | varchar | 500 | 0 | Y | N | 跨表导航: | |
| 18 | option | text | 65535 | 0 | Y | N | 配置: | |
| 19 | create_time | timestamp | 19 | 0 | N | N | CURRENT_TIMESTAMP | 创建时间: |
| 20 | update_time | timestamp | 19 | 0 | N | N | CURRENT_TIMESTAMP | 更新时间: |
| 编号 | 名称 | 数据类型 | 长度 | 小数位 | 允许空值 | 主键 | 默认值 | 说明 |
| 1 | campus_activities_id | int | 10 | 0 | N | Y | 校园活动ID | |
| 2 | activity_name | varchar | 64 | 0 | Y | N | 活动名称 | |
| 3 | activity_type | varchar | 64 | 0 | Y | N | 活动类型 | |
| 4 | activity_time | datetime | 19 | 0 | Y | N | 活动时间 | |
| 5 | event_location | varchar | 64 | 0 | Y | N | 活动地点 | |
| 6 | event_cover | varchar | 255 | 0 | Y | N | 活动封面 | |
| 7 | event_introduction | longtext | 2147483647 | 0 | Y | N | 活动简介 | |
| 8 | create_time | datetime | 19 | 0 | N | N | CURRENT_TIMESTAMP | 创建时间 |
| 9 | update_time | timestamp | 19 | 0 | N | N | CURRENT_TIMESTAMP | 更新时间 |
| 编号 | 名称 | 数据类型 | 长度 | 小数位 | 允许空值 | 主键 | 默认值 | 说明 |
| 1 | collect_id | int | 10 | 0 | N | Y | 收藏ID: | |
| 2 | user_id | int | 10 | 0 | N | N | 0 | 收藏人ID: |
| 3 | source_table | varchar | 255 | 0 | Y | N | 来源表: | |
| 4 | source_field | varchar | 255 | 0 | Y | N | 来源字段: | |
| 5 | source_id | int | 10 | 0 | N | N | 0 | 来源ID: |
| 6 | title | varchar | 255 | 0 | Y | N | 标题: | |
| 7 | img | varchar | 255 | 0 | Y | N | 封面: | |
| 8 | create_time | timestamp | 19 | 0 | N | N | CURRENT_TIMESTAMP | 创建时间: |
| 9 | update_time | timestamp | 19 | 0 | N | N | CURRENT_TIMESTAMP | 更新时间: |
| 编号 | 名称 | 数据类型 | 长度 | 小数位 | 允许空值 | 主键 | 默认值 | 说明 |
| 1 | comment_id | int | 10 | 0 | N | Y | 评论ID: | |
| 2 | user_id | int | 10 | 0 | N | N | 0 | 评论人ID: |
| 3 | reply_to_id | int | 10 | 0 | N | N | 0 | 回复评论ID:空为0 |
| 4 | content | longtext | 2147483647 | 0 | Y | N | 内容: | |
| 5 | nickname | varchar | 255 | 0 | Y | N | 昵称: | |
| 6 | avatar | varchar | 255 | 0 | Y | N | 头像地址:[0,255] | |
| 7 | create_time | timestamp | 19 | 0 | N | N | CURRENT_TIMESTAMP | 创建时间: |
| 8 | update_time | timestamp | 19 | 0 | N | N | CURRENT_TIMESTAMP | 更新时间: |
| 9 | source_table | varchar | 255 | 0 | Y | N | 来源表: | |
| 10 | source_field | varchar | 255 | 0 | Y | N | 来源字段: | |
| 11 | source_id | int | 10 | 0 | N | N | 0 | 来源ID: |
表competition_registration (竞赛报名)
| 编号 | 名称 | 数据类型 | 长度 | 小数位 | 允许空值 | 主键 | 默认值 | 说明 |
| 1 | competition_registration_id | int | 10 | 0 | N | Y | 竞赛报名ID | |
| 2 | competition_name | varchar | 64 | 0 | Y | N | 竞赛名称 | |
| 3 | competitive_disciplines | varchar | 64 | 0 | Y | N | 竞赛学科 | |
| 4 | competition_venue | varchar | 64 | 0 | Y | N | 竞赛地点 | |
| 5 | competition_time | datetime | 19 | 0 | Y | N | 竞赛时间 | |
| 6 | entry_requirements | text | 65535 | 0 | Y | N | 参赛要求 | |
| 7 | student_users | int | 10 | 0 | Y | N | 0 | 学生用户 |
| 8 | student_name | varchar | 64 | 0 | Y | N | 学生姓名 | |
| 9 | registration_time | datetime | 19 | 0 | Y | N | 报名时间 | |
| 10 | number_of_applicants | varchar | 64 | 0 | Y | N | 报名人数 | |
| 11 | create_time | datetime | 19 | 0 | N | N | CURRENT_TIMESTAMP | 创建时间 |
| 12 | update_time | timestamp | 19 | 0 | N | N | CURRENT_TIMESTAMP | 更新时间 |
| 编号 | 名称 | 数据类型 | 长度 | 小数位 | 允许空值 | 主键 | 默认值 | 说明 |
| 1 | competition_results_id | int | 10 | 0 | N | Y | 竞赛成绩ID | |
| 2 | competition_name | varchar | 64 | 0 | Y | N | 竞赛名称 | |
| 3 | competitive_disciplines | varchar | 64 | 0 | Y | N | 竞赛学科 | |
| 4 | competition_venue | varchar | 64 | 0 | Y | N | 竞赛地点 | |
| 5 | competition_time | datetime | 19 | 0 | Y | N | 竞赛时间 | |
| 6 | entry_requirements | text | 65535 | 0 | Y | N | 参赛要求 | |
| 7 | student_users | int | 10 | 0 | Y | N | 0 | 学生用户 |
| 8 | student_name | varchar | 64 | 0 | Y | N | 学生姓名 | |
| 9 | competition_results | int | 10 | 0 | Y | N | 0 | 竞赛成绩 |
| 10 | create_time | datetime | 19 | 0 | N | N | CURRENT_TIMESTAMP | 创建时间 |
| 11 | update_time | timestamp | 19 | 0 | N | N | CURRENT_TIMESTAMP | 更新时间 |
| 编号 | 名称 | 数据类型 | 长度 | 小数位 | 允许空值 | 主键 | 默认值 | 说明 |
| 1 | event_registration_id | int | 10 | 0 | N | Y | 活动报名ID | |
| 2 | activity_name | varchar | 64 | 0 | Y | N | 活动名称 | |
| 3 | activity_type | varchar | 64 | 0 | Y | N | 活动类型 | |
| 4 | activity_time | datetime | 19 | 0 | Y | N | 活动时间 | |
| 5 | event_location | varchar | 64 | 0 | Y | N | 活动地点 | |
| 6 | student_users | int | 10 | 0 | Y | N | 0 | 学生用户 |
| 7 | student_name | varchar | 64 | 0 | Y | N | 学生姓名 | |
| 8 | registration_time | datetime | 19 | 0 | Y | N | 报名时间 | |
| 9 | number_of_applicants | varchar | 64 | 0 | Y | N | 报名人数 | |
| 10 | create_time | datetime | 19 | 0 | N | N | CURRENT_TIMESTAMP | 创建时间 |
| 11 | update_time | timestamp | 19 | 0 | N | N | CURRENT_TIMESTAMP | 更新时间 |
| 编号 | 名称 | 数据类型 | 长度 | 小数位 | 允许空值 | 主键 | 默认值 | 说明 |
| 1 | hits_id | int | 10 | 0 | N | Y | 点赞ID: | |
| 2 | user_id | int | 10 | 0 | N | N | 0 | 点赞人: |
| 3 | create_time | timestamp | 19 | 0 | N | N | CURRENT_TIMESTAMP | 创建时间: |
| 4 | update_time | timestamp | 19 | 0 | N | N | CURRENT_TIMESTAMP | 更新时间: |
| 5 | source_table | varchar | 255 | 0 | Y | N | 来源表: | |
| 6 | source_field | varchar | 255 | 0 | Y | N | 来源字段: | |
| 7 | source_id | int | 10 | 0 | N | N | 0 | 来源ID: |
| 编号 | 名称 | 数据类型 | 长度 | 小数位 | 允许空值 | 主键 | 默认值 | 说明 |
| 1 | notice_id | mediumint | 8 | 0 | N | Y | 公告id: | |
| 2 | title | varchar | 125 | 0 | N | N | 标题: | |
| 3 | content | longtext | 2147483647 | 0 | Y | N | 正文: | |
| 4 | create_time | timestamp | 19 | 0 | N | N | CURRENT_TIMESTAMP | 创建时间: |
| 5 | update_time | timestamp | 19 | 0 | N | N | CURRENT_TIMESTAMP | 更新时间: |
| 编号 | 名称 | 数据类型 | 长度 | 小数位 | 允许空值 | 主键 | 默认值 | 说明 |
| 1 | praise_id | int | 10 | 0 | N | Y | 点赞ID: | |
| 2 | user_id | int | 10 | 0 | N | N | 0 | 点赞人: |
| 3 | create_time | timestamp | 19 | 0 | N | N | CURRENT_TIMESTAMP | 创建时间: |
| 4 | update_time | timestamp | 19 | 0 | N | N | CURRENT_TIMESTAMP | 更新时间: |
| 5 | source_table | varchar | 255 | 0 | Y | N | 来源表: | |
| 6 | source_field | varchar | 255 | 0 | Y | N | 来源字段: | |
| 7 | source_id | int | 10 | 0 | N | N | 0 | 来源ID: |
| 8 | status | bit | 1 | 0 | N | N | 1 | 点赞状态:1为点赞,0已取消 |
| 编号 | 名称 | 数据类型 | 长度 | 小数位 | 允许空值 | 主键 | 默认值 | 说明 |
| 1 | sensitive_vocabulary_id | int | 10 | 0 | N | Y | 敏感词汇ID | |
| 2 | sensitive_vocabulary | varchar | 64 | 0 | Y | N | 敏感词汇 | |
| 3 | create_time | datetime | 19 | 0 | N | N | CURRENT_TIMESTAMP | 创建时间 |
| 4 | update_time | timestamp | 19 | 0 | N | N | CURRENT_TIMESTAMP | 更新时间 |
| 编号 | 名称 | 数据类型 | 长度 | 小数位 | 允许空值 | 主键 | 默认值 | 说明 |
| 1 | slides_id | int | 10 | 0 | N | Y | 轮播图ID: | |
| 2 | title | varchar | 64 | 0 | Y | N | 标题: | |
| 3 | content | varchar | 255 | 0 | Y | N | 内容: | |
| 4 | url | varchar | 255 | 0 | Y | N | 链接: | |
| 5 | img | varchar | 255 | 0 | Y | N | 轮播图: | |
| 6 | hits | int | 10 | 0 | N | N | 0 | 点击量: |
| 7 | create_time | timestamp | 19 | 0 | N | N | CURRENT_TIMESTAMP | 创建时间: |
| 8 | update_time | timestamp | 19 | 0 | N | N | CURRENT_TIMESTAMP | 更新时间: |
| 编号 | 名称 | 数据类型 | 长度 | 小数位 | 允许空值 | 主键 | 默认值 | 说明 |
| 1 | student_users_id | int | 10 | 0 | N | Y | 学生用户ID | |
| 2 | student_name | varchar | 64 | 0 | Y | N | 学生姓名 | |
| 3 | student_gender | varchar | 64 | 0 | Y | N | 学生性别 | |
| 4 | student_age | varchar | 64 | 0 | Y | N | 学生年龄 | |
| 5 | examine_state | varchar | 16 | 0 | N | N | 已通过 | 审核状态 |
| 6 | user_id | int | 10 | 0 | N | N | 0 | 用户ID |
| 7 | create_time | datetime | 19 | 0 | N | N | CURRENT_TIMESTAMP | 创建时间 |
| 8 | update_time | timestamp | 19 | 0 | N | N | CURRENT_TIMESTAMP | 更新时间 |
| 编号 | 名称 | 数据类型 | 长度 | 小数位 | 允许空值 | 主键 | 默认值 | 说明 |
| 1 | subject_competitions_id | int | 10 | 0 | N | Y | 学科竞赛ID | |
| 2 | competition_name | varchar | 64 | 0 | Y | N | 竞赛名称 | |
| 3 | competitive_disciplines | varchar | 64 | 0 | Y | N | 竞赛学科 | |
| 4 | competition_venue | varchar | 64 | 0 | Y | N | 竞赛地点 | |
| 5 | competition_time | datetime | 19 | 0 | Y | N | 竞赛时间 | |
| 6 | entry_requirements | text | 65535 | 0 | Y | N | 参赛要求 | |
| 7 | cover_photo | varchar | 255 | 0 | Y | N | 封面图片 | |
| 8 | competition_introduction | longtext | 2147483647 | 0 | Y | N | 竞赛简介 | |
| 9 | create_time | datetime | 19 | 0 | N | N | CURRENT_TIMESTAMP | 创建时间 |
| 10 | update_time | timestamp | 19 | 0 | N | N | CURRENT_TIMESTAMP | 更新时间 |
| 编号 | 名称 | 数据类型 | 长度 | 小数位 | 允许空值 | 主键 | 默认值 | 说明 |
| 1 | teacher_users_id | int | 10 | 0 | N | Y | 教师用户ID | |
| 2 | teachers_name | varchar | 64 | 0 | Y | N | 教师姓名 | |
| 3 | teacher_age | varchar | 64 | 0 | Y | N | 教师年龄 | |
| 4 | teacher_gender | varchar | 64 | 0 | Y | N | 教师性别 | |
| 5 | examine_state | varchar | 16 | 0 | N | N | 已通过 | 审核状态 |
| 6 | user_id | int | 10 | 0 | N | N | 0 | 用户ID |
| 7 | create_time | datetime | 19 | 0 | N | N | CURRENT_TIMESTAMP | 创建时间 |
| 8 | update_time | timestamp | 19 | 0 | N | N | CURRENT_TIMESTAMP | 更新时间 |
| 编号 | 名称 | 数据类型 | 长度 | 小数位 | 允许空值 | 主键 | 默认值 | 说明 |
| 1 | upload_id | int | 10 | 0 | N | Y | 上传ID | |
| 2 | name | varchar | 64 | 0 | Y | N | 文件名 | |
| 3 | path | varchar | 255 | 0 | Y | N | 访问路径 | |
| 4 | file | varchar | 255 | 0 | Y | N | 文件路径 | |
| 5 | display | varchar | 255 | 0 | Y | N | 显示顺序 | |
| 6 | father_id | int | 10 | 0 | Y | N | 0 | 父级ID |
| 7 | dir | varchar | 255 | 0 | Y | N | 文件夹 | |
| 8 | type | varchar | 32 | 0 | Y | N | 文件类型 |
| 编号 | 名称 | 数据类型 | 长度 | 小数位 | 允许空值 | 主键 | 默认值 | 说明 |
| 1 | user_id | mediumint | 8 | 0 | N | Y | 用户ID:[0,8388607]用户获取其他与用户相关的数据 | |
| 2 | state | smallint | 5 | 0 | N | N | 1 | 账户状态:[0,10](1可用|2异常|3已冻结|4已注销) |
| 3 | user_group | varchar | 32 | 0 | Y | N | 所在用户组:[0,32767]决定用户身份和权限 | |
| 4 | login_time | timestamp | 19 | 0 | N | N | CURRENT_TIMESTAMP | 上次登录时间: |
| 5 | phone | varchar | 11 | 0 | Y | N | 手机号码:[0,11]用户的手机号码,用于找回密码时或登录时 | |
| 6 | phone_state | smallint | 5 | 0 | N | N | 0 | 手机认证:[0,1](0未认证|1审核中|2已认证) |
| 7 | username | varchar | 16 | 0 | N | N | 用户名:[0,16]用户登录时所用的账户名称 | |
| 8 | nickname | varchar | 16 | 0 | Y | N | 昵称:[0,16] | |
| 9 | password | varchar | 64 | 0 | N | N | 密码:[0,32]用户登录所需的密码,由6-16位数字或英文组成 | |
| 10 | | varchar | 64 | 0 | Y | N | 邮箱:[0,64]用户的邮箱,用于找回密码时或登录时 | |
| 11 | email_state | smallint | 5 | 0 | N | N | 0 | 邮箱认证:[0,1](0未认证|1审核中|2已认证) |
| 12 | avatar | varchar | 255 | 0 | Y | N | 头像地址:[0,255] | |
| 13 | open_id | varchar | 255 | 0 | Y | N | 针对获取用户信息字段 | |
| 14 | create_time | timestamp | 19 | 0 | N | N | CURRENT_TIMESTAMP | 创建时间: |
| 15 | vip_level | varchar | 255 | 0 | Y | N | 会员等级 | |
| 16 | vip_discount | double | 11 | 2 | Y | N | 0.00 | 会员折扣 |
| 编号 | 名称 | 数据类型 | 长度 | 小数位 | 允许空值 | 主键 | 默认值 | 说明 |
| 1 | group_id | mediumint | 8 | 0 | N | Y | 用户组ID:[0,8388607] | |
| 2 | display | smallint | 5 | 0 | N | N | 100 | 显示顺序:[0,1000] |
| 3 | name | varchar | 16 | 0 | N | N | 名称:[0,16] | |
| 4 | description | varchar | 255 | 0 | Y | N | 描述:[0,255]描述该用户组的特点或权限范围 | |
| 5 | source_table | varchar | 255 | 0 | Y | N | 来源表: | |
| 6 | source_field | varchar | 255 | 0 | Y | N | 来源字段: | |
| 7 | source_id | int | 10 | 0 | N | N | 0 | 来源ID: |
| 8 | register | smallint | 5 | 0 | Y | N | 0 | 注册位置: |
| 9 | create_time | timestamp | 19 | 0 | N | N | CURRENT_TIMESTAMP | 创建时间: |
| 10 | update_time | timestamp | 19 | 0 | N | N | CURRENT_TIMESTAMP | 更新时间: |
- 关键模块的设计与实现
- 注册模块的实现
用户注册:用户输入对应的账号(必须填写)+密码(必须填写)+确认密码(必须填写,而且要与密码一直)+昵称+邮箱+身份+姓名+电话+性别,选择用户身份等等,然后点击“注册”,系统在用户这一数据库中会查询账号是不是存在,两次密码是不是一样,都填写正确就会注册成功,然后再进行登录,如果是之前已经注册过的用户很长时间没有使用,忘记密码,也可以点击“忘记密码”进行找回。用户注册界面如下图所示。

图4-1用户注册界面图
注册代码如下:
public String encryption(String plainText) {
String re_md5 = new String();
try {
MessageDigest md = MessageDigest.getInstance("MD5");
md.update(plainText.getBytes());
byte b[] = md.digest();
int i;
StringBuffer buf = new StringBuffer("");
for (int offset = 0; offset < b.length; offset++) {
i = b[offset];
if (i < 0)
i += 256;
if (i < 16)
buf.append("0");
buf.append(Integer.toHexString(i));
}
re_md5 = buf.toString();
} catch (Exception e) {
e.printStackTrace();
}
return re_md5;
}
-
- 登录模块的实现
用户登录:系统中的前台上注册后的用户是可以通过自己的账户名和密码进行登录的,当用户输入完整的自己的账户名和密码信息并点击“登录”按钮后,将会首先验证输入的有没有空数据,再次验证输入的账户名+密码和数据库中当前保存的用户信息是否一致,只有在一致后将会登录成功并自动跳转到活动竞赛辅助平台的首页中;否则将会提示相应错误信息。用户登录界面如下图所示。

图4-2注册用户登录界面图
登录代码如下:
/**
* 登录
* @param data
* @param httpServletRequest
* @return
*/
@PostMapping("login")
public Map<String, Object> login(@RequestBody Map<String, String> data, HttpServletRequest httpServletRequest) {
log.info("[执行登录接口]");
String username = data.get("username");
String email = data.get("email");
String phone = data.get("phone");
String password = data.get("password");
List resultList = null;
Map<String, String> map = new HashMap<>();
if(username != null && "".equals(username) == false){
map.put("username", username);
resultList = service.selectBaseList(service.select(map, new HashMap<>()));
}
else if(email != null && "".equals(email) == false){
map.put("email", email);
resultList = service.selectBaseList(service.select(map, new HashMap<>()));
}
else if(phone != null && "".equals(phone) == false){
map.put("phone", phone);
resultList = service.selectBaseList(service.select(map, new HashMap<>()));
}else{
return error(30000, "账号或密码不能为空");
}
if (resultList == null || password == null) {
return error(30000, "账号或密码不能为空");
}
//判断是否有这个用户
if (resultList.size()<=0){
return error(30000,"用户不存在");
}
User byUsername = (User) resultList.get(0);
Map<String, String> groupMap = new HashMap<>();
groupMap.put("name",byUsername.getUserGroup());
List groupList = userGroupService.selectBaseList(userGroupService.select(groupMap, new HashMap<>()));
if (groupList.size()<1){
return error(30000,"用户组不存在");
}
UserGroup userGroup = (UserGroup) groupList.get(0);
//查询用户审核状态
if (!StringUtils.isEmpty(userGroup.getSourceTable())){
String res = service.selectExamineState(userGroup.getSourceTable(),byUsername.getUserId());
if (res==null){
return error(30000,"用户不存在");
}
if (!res.equals("已通过")){
return error(30000,"该用户审核未通过");
}
}
//查询用户状态
if (byUsername.getState()!=1){
return error(30000,"用户非可用状态,不能登录");
}
String md5password = service.encryption(password);
if (byUsername.getPassword().equals(md5password)) {
// 存储Token到数据库
AccessToken accessToken = new AccessToken();
accessToken.setToken(UUID.randomUUID().toString().replaceAll("-", ""));
accessToken.setUser_id(byUsername.getUserId());
Duration duration = Duration.ofSeconds(7200L);
redisTemplate.opsForValue().set(accessToken.getToken(), accessToken,duration);
// 返回用户信息
JSONObject user = JSONObject.parseObject(JSONObject.toJSONString(byUsername));
user.put("token", accessToken.getToken());
JSONObject ret = new JSONObject();
ret.put("obj",user);
return success(ret);
} else {
return error(30000, "账号或密码不正确");
}
}
密码修改:用户使用该系统注册完成后,用户对登录密码有修改需求时,系统也可以提供用户修改密码权限。系统中所有的操作者能够变更自己的密码信息,执行该功能首先必须要登入系统,然后选择密码变更选项以后在给定的文本框中填写初始密码和新密码来完成修改密码的操作。在填写的时候,假如两次密码填写存在差异,那么此次密码变更操作失败。密码修改界面如下图所示。

图4-3密码修改界面图
修改密码关键代码如下:
/**
* 修改密码
* @param data
* @param request
* @return
*/
@PostMapping("change_password")
public Map<String, Object> change_password(@RequestBody Map<String, String> data, HttpServletRequest request){
// 根据Token获取UserId
String token = request.getHeader("x-auth-token");
Integer userId = tokenGetUserId(token);
// 根据UserId和旧密码获取用户
Map<String, String> query = new HashMap<>();
String o_password = data.get("o_password");
query.put("user_id" ,String.valueOf(userId));
query.put("password" ,service.encryption(o_password));
int count = service.selectBaseCount(service.count(query, service.readConfig(request)));
if(count > 0){
// 修改密码
Map<String,Object> form = new HashMap<>();
form.put("password",service.encryption(data.get("password")));
service.update(query,service.readConfig(request),form);
return success(1);
}
return error(10000,"密码修改失败!");
}
校园活动:可以查看相关的校园活动内容。校园活动界面如下图所示。

图4-4校园活动界面图
系统用户管理:管理员可以对系统中所有的用户角色进行管控,包含了管理员、学生用户、老师用户这三种角色,如果需要添加新的用户,点击页面中的“添加”按钮根据提示输入上用户信息,点击“提交”以后在对应的用户界面就可以查看到了,可以点击用户后面的“删除”按钮直接删除某一用户。系统用户管理界面如下图所示。

图4-4系统用户管理界面图
学科竞赛管理:管理员当点击“学科竞赛管理”这一菜单的时候,会出现学科竞赛列表和学科竞赛添加这两个子菜单,可以对这两个模块进行增删改查操作。学科竞赛列表和学科竞赛添加如下图所示。

图4-5学科竞赛列表界面图

图4-6学科竞赛添加界面图
管理员当点击“竞赛报名管理”这一菜单的时候,会出现竞赛报名列表这个子菜单,可以对这个模块进行增删改查操作。竞赛报名列表如下图所示。

图4-7竞赛报名界面图
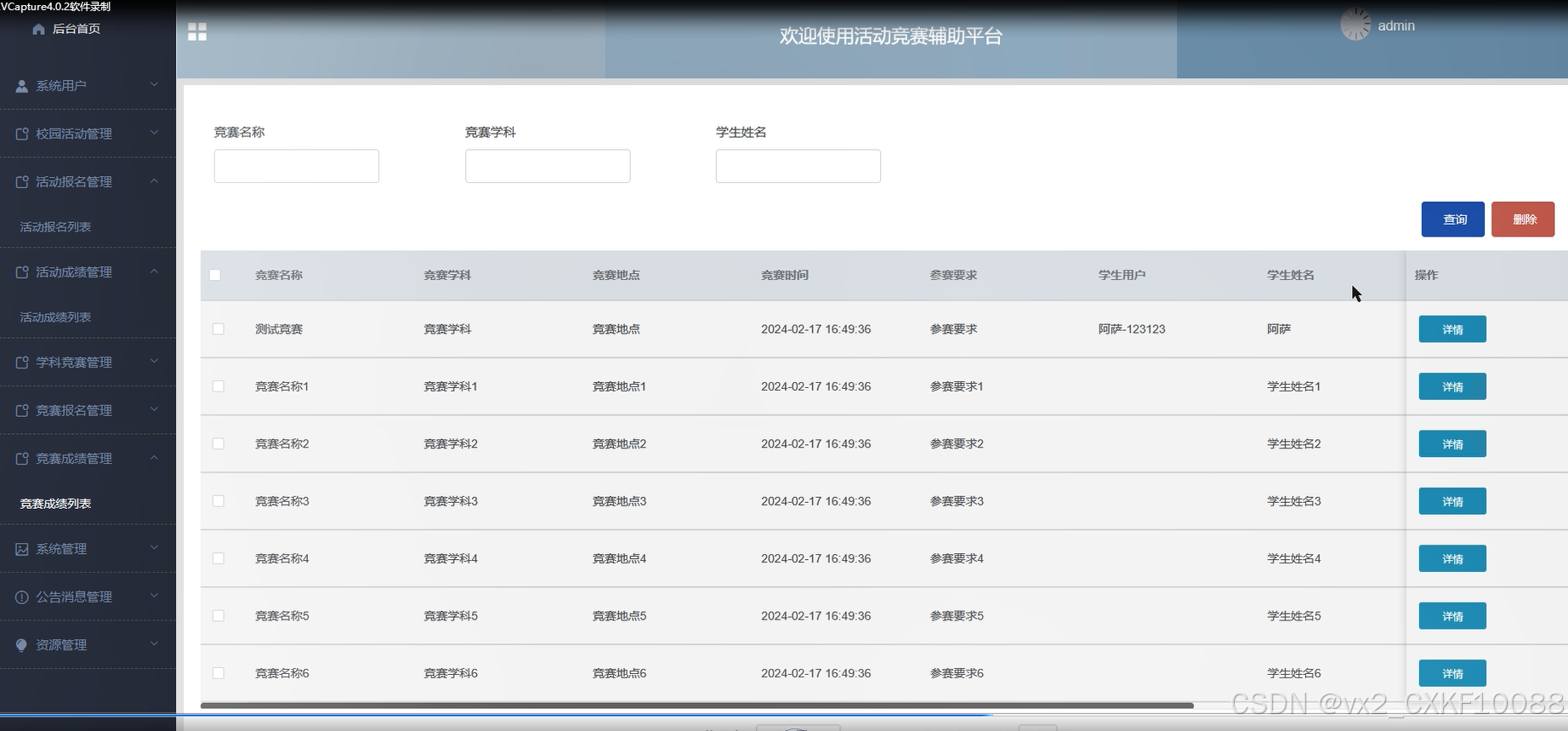
管理员当点击“竞赛成绩管理”这一菜单的时候,会出现竞赛成绩列表这个子菜单,可以对这个模块进行增删改查操作。竞赛成绩列表如下图所示。

图4-8竞赛成绩界面图
系统管理:管理员可以对系统前台展示的轮播图进行增删改查,方便用户进行查看。系统管理界面如下图所示。

图4-9系统管理界面图
通知公告管理:管理员可以对系统前台展示的通知公告进行增删改查,方便用户进行查看。通知公告管理界面如下图所示。

@PostMapping("/add")
@Transactional
public Map<String, Object> add(HttpServletRequest request) throws IOException {
service.insert(service.readBody(request.getReader()));
return success(1);
}
public Map<String, Object> addMap(Map<String,Object> map){
service.insert(map);
return success(1);
}
测试存在于软件开发进程中的最后一个阶段,它可以保证一个软件的开发质量是否符合设计者的初衷,也为程序的正式上线做了最后一道质量检测的工序。软件测试主要是控制各种条件、包括软件输出方式,使用模式和运行环境等,来评估一个系统或应用是否符合设计标准。在软件测试过程中,我们一般刻意的去制造错误和极端条件,不能仅依照正常模式允许,而是多去尝试那些意外的情况。
系统测试包括:用户登录功能测试、校园活动查看功能测试、发布活动成绩、学科竞赛添加、密码修改功能测试,如表5-1、5-2、5-3、5-4、5-5所示:
表5-1 用户登录功能测试表
| 用例名称 | 用户登录系统 |
| 目的 | 测试用户通过正确的用户名和密码可否登录功能 |
| 前提 | 未登录的情况下 |
| 测试流程 | 1) 进入登录页面 2) 输入正确的用户名和密码 |
| 预期结果 | 用户名和密码正确的时候,跳转到登录成功界面,反之则显示错误信息,提示重新输入 |
| 实际结果 | 实际结果与预期结果一致 |
校园活动查看功能测试:
表5-2 校园活动查看功能测试表
| 用例名称 | 校园活动查看 |
| 目的 | 测试校园活动查看功能 |
| 前提 | 用户登录 |
| 测试流程 | 点击校园活动列表 |
| 预期结果 | 可以查看到所有校园活动 |
| 实际结果 | 实际结果与预期结果一致 |
管理员发布活动成绩界面测试:
表5-3 管理员发布活动成绩界面测试表
| 用例名称 | 活动成绩发布测试用例 |
| 目的 | 测试活动成绩发布功能 |
| 前提 | 用户正常登录情况下 |
| 测试流程 | 1)点击教材信息,然后点击发布添加后并填写信息。 2)点击进行提交。 |
| 预期结果 | 提交以后,页面首页会显示新的活动成绩 |
| 实际结果 | 实际结果与预期结果一致 |
学科竞赛添加功能测试:
表5-4学科竞赛添加功能测试表
| 用例名称 | 学科竞赛添加测试 |
| 目的 | 测试学科竞赛添加功能 |
| 前提 | 无 |
| 测试流程 | 1)在搜索框填入添加关键字。 2)点击添加按钮。 |
| 预期结果 | 页面显示包含有添加关键字的学科竞赛 |
| 实际结果 | 实际结果与预期结果一致 |
密码修改功能测试:
表5-5 密码修改功能测试表
| 用例名称 | 密码修改测试用例 |
| 目的 | 测试管理员密码修改功能 |
| 前提 | 管理员用户正常登录情况下 |
| 测试流程 | 1)管理员密码修改并完成填写。 2)点击进行提交。 |
| 预期结果 | 使用新的密码可以登录 |
| 实际结果 | 实际结果与预期结果一致 |
经过对活动竞赛辅助平台的测试,我们已经完成了5大模块的检测,包括用户登录功能测试、校园活动查看功能测试、发布活动成绩、学科竞赛添加、密码修改功能测试,这些功能为后续的推广运营提供了强有力的技术支持。
通过活动竞赛辅助平台的开发,本人巩固了之前学过的知识,如今将平时所学到的知识融合在设计中,在设计过程中,做了很多的准备,首先,在数据库系统的设计过程中,尤其是在数据库的工作原理、工作特点,对其深刻的讨论,与此同时,对于小型站点来说,最好服务器的选择,其次,利用所学的知识点分析所做的系统,并在此基础上设计。
目前本系统已经上线,正在试运行阶段,用户反馈良好,基本完成用户所需,试运行过程中没有出现阻断性问题,有一些不足和小问题也及时予以修正,系统上线后,为了保证数据的安全性,对系统进行了备份操作,系统备份是每两个月备份一次,数据库备份为每周备份一次,系统部署在租赁的云平台服务器中。
本次系统上线成功后,得到了用户的高度认可,但是在功能上和性能上还需做进一步的研究处理,使其有更高的性能和更好的用户体验。
系统在以后的升级过程中,需要解决一系列用户所提出的问题,例如打印过程中如何避免浏览器的兼容性问题,大量用户访问时,如何保持较高的响应速度,在系统今后的升级过程中将着重解决这些安全性问题。
参考文献
[1]Retnaningsih T S ,R.B. S ,Hadiyanto H , et al.The carbon stock potential of the restored mangrove ecosystem of Pasarbanggi, Rembang, Central Java[J].Marine Environmental Research,2024,193106257-.
[2]Peldszus S ,Burger J ,Jurjens J .UMLsecRT: Reactive Security Monitoring of Java Applications With Round-Trip Engineering[J].IEEE Transactions on Software Engineering,2024,50(1):16-47.
[3]Haro D L G C ,Dallongeville S ,Musset T , et al.JDLL: a library to run deep learning models on Java bioimage informatics platforms.[J].Nature methods,2024,21(1):7-8.
[4]Oswald C .Java Basics Using ChatGPT/GPT-4[M].Mercury Learning and Information:2023-12-28.
[5]Diego M ,A. C F .Lightweight precise automatic extraction of exception preconditions in java methods[J].Empirical Software Engineering,2023,29(1):30-30.
[6]Oswald C .Java Basics Using ChatGPT/GPT-4[M].Mercury Learning and Information:2023-12-26.
[7]苏婉怡,揣小龙,刘美瑜等.基于Java技术的实验室管理系统设计与实现[J].无线互联科技,2023,20(23):58-60.
[8]杜朋轩,陈芳,曹梦川.基于Java Web的智慧农业信息采集系统的设计与实现[J].科技资讯,2023,21(23):162-165.DOI:10.16661/j.cnki.1672-3791.2307-5042-8177.
[9]宋晓燕,杨芬.Java程序设计语言的分层教学实践[J].电子技术,2023,52(11):182-183.
[10]都霓凯,解佳慧,蒋杰.基于Spring Boot的竞赛设备共享平台后端开发探析[J].中国设备工程,2023,(14):266-269.
[11]李国栋.基于学科竞赛模式的MPAcc产教融合体系设计研究[J].天津教育,2023,(04):27-30.
[12]杨芳.构筑锻造创新创业人才的竞赛平台[J].中国大学生就业,2022,(23):3-8.DOI:10.20017/j.cnki.1009-0576.2022.23.001.
[13]姚世豪,孙岚岚,杨亚男等.嵌入式STM32仿真实训竞赛平台[J].科技资讯,2022,20(01):44-47.DOI:10.16661/j.cnki.1672-3791.2112-5042-2784.
[14]马艳彬.基于Node.js和Vue框架的竞赛类答题平台管理系统的设计[C]//中国新闻技术工作者联合会.中国新闻技术工作者联合会2021年学术年会论文集.新华社技术局;,2021:6.DOI:10.26914/c.cnkihy.2021.047236.
[15]胡沁涵,王亚男,杨季文等.高校学科竞赛组织管理平台的研究与实现[J].福建电脑,2021,37(09):75-78.DOI:10.16707/j.cnki.fjpc.2021.09.020.
[16]沈哲颖,吴彦文,刘金金等.基于微信小程序的竞赛学习平台设计[J].电脑知识与技术,2021,17(21):87-90.DOI:10.14004/j.cnki.ckt.2021.2088.
[17]电竞赛事SaaS平台[J].成才与就业,2021,(03):40.
[18]王威,蔡欣翔.基于微信小程序的学科竞赛辅助平台设计与实现[J].信息与电脑(理论版),2021,33(05):145-148.
[19]孙艳平.基于电商竞赛平台的高职院校学生实践创新能力调研[J].湖北开放职业学院学报,2021,34(04):3-5.
[20]陈伟钊,莫蓓莘,胡章立等.以教学实验中心为学科竞赛管理平台的教学改革探索[J].实验室研究与探索,2021,40(02):164-167.DOI:10.19927/j.cnki.syyt.2021.02.032.
致 谢
伴随着设计的完成,大学生涯也随之即将结束。大学期间是我最珍惜的时光,大学时光中学会了很多,也成长了很多,这段时光中每一段回忆都刻在脑海中。感谢一起学习,一起成长同学们,和成长过程悉心教导的老师们,非常感激有你们的陪伴。
首先感谢我的指导老师,设计的完成离不开老师的一系列指导。在毕业设计的完成过程中,老师给出了很多中肯的建议,正是由于老师一丝不苟的工作态度,我的设计才能顺利的完成。
最后,感谢在大学生涯中每一位教导我的老师,是你们教给了我丰富的知识,更教会了我遇到问题时,如何去应对并解决。谢谢你们的帮助与支持。
免费领取项目源码,请关注❥点赞收藏并私信博主,谢谢~
5228

被折叠的 条评论
为什么被折叠?



