摘 要
21世纪时信息化的时代,几乎任何一个行业都离不开计算机,将计算机运用于智能景区推荐也是十分常见的。过去使用手工的管理方式对旅游景点进行管理,造成了管理繁琐、难以维护等问题,如今使用计算机对旅游景点的各项基本信息进行管理,比起手工管理来说既方便又简单,而且具有易于管理、搜索速度快、存储量大等多个优点。将其使用在智能景区推荐中,不仅能够提高智能景区推荐中管理员的工作效率,而且可以使智能景区推荐更加科学与规范。在信息化时代的不断冲击下,智能景区推荐与计算机技术的结合,将会是一条提高智能景区推荐水平的捷径。
经过本人的综合考虑,智能景区推荐系统的设计是基于django框架、Mysql数据库、Apache服务器的方式设计,以ZendStudio和Dreamweaver为开发工具,在ZendStudio集成环境下调试并允许,并运用Photoshop技术美化网页,辅之以CSS技术。
该系统实现了智能景区推荐管理内部的各种工作流程计算机管理化,其中包括管理员的系统首页、轮播图、公告消息、资源管理(旅游资讯、资讯分类)系统用户(管理员、普通用户)模块管理(旅游景区、酒店住宿、旅游路线、景区分类、景点数据、酒店数据)等功能。
关键词:django框架;Mysql数据库;Apache服务器
Design and Implementation of an Intelligent Scenic Area Recommendation System
Abstract
In the era of information technology in the 21st century, almost any industry cannot do without computers, and it is also very common to use computers for intelligent scenic spot recommendations. In the past, manual management methods were used to manage tourist attractions, which caused problems such as cumbersome management and difficulty in maintenance. Nowadays, using computers to manage various basic information of tourist attractions is not only convenient and simple compared to manual management, but also has multiple advantages such as easy management, fast search speed, and large storage capacity. Applying it in intelligent scenic spot recommendation can not only improve the work efficiency of administrators in intelligent scenic spot recommendation, but also make intelligent scenic spot recommendation more scientific and standardized. Under the continuous impact of the information age, the combination of intelligent scenic spot recommendation and computer technology will be a shortcut to improve the level of intelligent scenic spot recommendation.
After my comprehensive consideration, the design of the intelligent scenic spot recommendation system is based on the django framework, MySQL database, and Apache server. It uses ZendStudio and Dreamweaver as development tools, debugs and allows in the ZendStudio integrated environment, and uses Photoshop technology to beautify web pages, supplemented by CSS technology.
The system realizes the computerized management of various work processes within the intelligent scenic spot recommendation management, including the administrator's system home page, carousel map, announcement message, resource management (tourism information, information classification) system user (administrator, ordinary user) module management (tourist attraction, hotel accommodation, tourism routes, scenic spot classification, scenic spot data, hotel data) and other functions.
Keywords: django framework; MySQL database; Apache server
目 录
随着经济水平的提高,国内的旅游业发展快速,但是相对来说,国内旅游业发展的程度并不能完全适应经济的发展和人民生活水平提高的需要。因此国内旅游业在国民经济中的地位和作用凸显重要。
但国内旅游产业管理滞后,基础弱,企业效益差,信息化较低。旅游行政管理部门的管理方式些许落后,缺少信息化管理,信息沟通渠道不顺畅等一系列问题。面对挑战和挫折,国内旅游产业必须转变旧观念,勇于创新,打破传统理念,提供各种资源,这样一来使整个行业有了崭新的一幕。同时要加强旅游信息化的建设,不断提高各级管理部门的管理能力和工作效率,简化办事的程序,减少工作的成本,加快信息的传播速度,多做宣传,提高信息的真实性;另一方面通过开展旅游产业来满足游客的需求,提升旅游的服务质量,缩减成本,转变旅游企业传统经营模式,这样做的话不仅提高整个旅游产业的素质,而且提升旅游产业的信息化,优化产业的结构和资源。进而带动许多产业的发展,提高就业机率,对经济的发展有着积极的推动作用。
我国的旅游局要求落实全方位发展中国旅游业的战略目标,其中的重要任务就是要有效利用十年左右的时间,尽最大努力地提高信息技术应用中各方位、各层次的旅游服务水平,将旅游和信息服务相互融合,促进信息化发展。基本上建成了覆盖全国的旅游基础设施和旅游信息数据库平台,追求信息资源的交流与共享,最终形成一个有示范效应的智慧旅游城市,智慧旅游企业。目前,许多城市都在开展智能城市建设。中国的旅游局已经对智慧旅游城市的战略落实了试行方案,初步肯定了国内十八个城市。我国大部分的旅游网站在开发初期,由于缺少对旅游行业和网络运营的全而了解,未能找准切入点,使旅游网站建成之后缺乏特色与“卖点”,往往照搬照抄其它旅游网站的现成模式,成为欧美等网络业发达国家网站的中文翻版,或者是大型网站的缩影。其结果是版而设计相似,内容雷同,重复建设问题严重,既没有形成具有一定规模的经营模式,也没有达到网上促销、预订的高成功率,使整个旅游业电子商务的销售额少得可怜。旅游产品交易的安全性问题是旅游网站发展的瓶颈。是否能够确保在动态、开放的旅游网站上,安全的完成旅游产品的整个交易过程,是旅游者选择网站上购买旅游产品首要考虑的问题之一。而我国大部分旅游网站在线支付手段不健全,缺乏统一的标准体系,在线交易的安全性更是令人担忧。恶意订购、交易出错的现象屡见不鲜,所以,消费者对旅游产品的网上交易信赖度不高。因此,交易不安全问题成为旅游网站发展中最大的障碍。
与国外相比,我国旅游电子商务起步稍晚,1996年才开始出现专业的旅游网站,其后旅游电子商务快速发展,到2000年进入第一个高潮期,但在2001年由于受世界旅游业整体负增长形势的影响,中国的旅游业在这一年经历了一定的困境,增长速度有所下降;2002年中国旅游业又开始整体回升,到2005年Web2.0的刺激下掀起了新的一轮旅游电子商务热,自此又进入了一个新的“加速发展期”。目前,我国具有一定旅游资讯能力的网站已有5000多家。其中专业旅游300余家,主要包括地区性网站、专业网站和门户网站的旅游频道3大类。
超文本传输协议(HTTP)作为协作式与分布式的通信协议,其以万维网交换信息作为前提条件。HTTP为IEIF的国际化标准指标,在制定相关标准与实现内,W3C积极参与其中,同时发挥着不可替代的作用。其能够借助超文本标记语言,将文档在服务器与浏览器之间相互传输。HTML作为构架文档的标记语言,这些文档内将包括有关信息的链接,用户仅需要点击其中一个链接就能够访问多媒体对象与图像,同时获得该链接项所具有的附加信息[1][2]。
HTML是一种制作网页的常用语言,它一般是用于制作静态页面。它的命令是可以体现文字信息、链接信息、图形信息和表格信息等等。现在它被大众普遍接受广泛应用在网络上[3]。
在系统的开发上采用了B/S结构,在B/S结构中,统一采用浏览器,而不需要去开发任何的用户界面,Web浏览器向处理它的Web服务器发送请求,并一步一步地将处理结果返回给客户端。B/S结构主要采用了各种脚本语言和ActiveX技术,降低了系统的开发难度并简化了系统维护以及使用[4]。
B/S结构有如下特点:B/S结构建立在广域网上,不需要专门为其配置硬件环境,比C/S结构的适应范围更强;由于其基于广域网,所以其对安全的控制能力相对较弱;B/S的多种结构要求构造相对独立的函数,这样才能可以更好地重用;B/S结构组成简单,便于对个别构件进行更换,降低了系统的维护成本B/S信息流向与C/S不同,B/S信息流向可变化[5]。
Django是高水准的Python编程语言驱动的一个开源模型.视图,控制器风格的Web应用程序框架,它起源于开源社区。使用这种架构,程序员可以方便、快捷地创建高品质、易维护、数据库驱动的应用程序。这也正是OpenStack的Horizon组件采用这种架构进行设计的主要原因。另外,在Django框架中,还包含许多功能强大的第三方插件,使得Django具有较强的可扩展性。Django 项目源自一个在线新闻 Web 站点,于 2005 年以开源的形式被释放出来。Django 框架的核心组件有:
2.4.1 用于创建模型的对象关系映射;
2.4.2 为最终用户设计较好的管理界面;
2.4.3 URL 设计;
2.4.4 设计者友好的模板语言;
2.4.5 缓存系统。
Django(发音:[`dʒæŋɡəʊ]) 是用python语言写的开源web开发框架(open source web framework),它鼓励快速开发,并遵循MVC设计。Django遵守BSD版权,初次发布于2005年7月, 并于2008年9月发布了第一个正式版本1.0 。
Django 根据比利时的爵士音乐家Django Reinhardt命名,他是一个吉普赛人,主要以演奏吉它为主,还演奏过小提琴等。
由于Django在近年来的迅速发展,应用越来越广泛,被著名IT开发杂志SD Times评选为2013 SD Times 100,位列“API、库和框架”分类第6位,被认为是该领域的佼佼者。
Mysql 经过多次的更新,功能层面已经非常的丰富和完善了,从Mysql4版本到5版本进行了比较大的更新,在商业的实际使用中取得了很好的实际应用效果。最新版本的Mysql支持对信息的压缩,同时还能进行加密能更好的满足对信息安全性的需求。同时经过系统的多次更新,数据库自身的镜像功能也得到了很大的增强,运行的流畅度和易用性方面有了不小的进步,驱动的使用和创建也更加的高效快捷。最大的变动还是进行了空间信息的显示优化,能更加方便的在应用地图上进行坐标的标注和运算。强大的备份功能也保证了用户使用的过程会更加安心,同时支持的Office特性还支持用户的自行安装和使用。在信息的显示形式上也进行了不小的更新,增加了两个非常使用的显示区,一个是信息区,对表格和文字进行了分类处理,界面的显示更加清爽和具体。第二是仪表的信息控件,能在仪表信息区进行信息的显示,同时还能进行多个信息的比对,为用户的实际使用带来了很大的便捷。
针对本文中设计的智能景区推荐系统在实际的实现过程中,最终选择Mysql数据库的主要原因在于在企业的应用系统应用及开发的过程中会存在大量的数据库比较频繁的操作,而且数据的安全性要求也是非常的高。综合这些因素,最终选择安全性系数比较高的Mysql来对智能景区推荐系统后台数据进行存储操作。
开发任何一个系统,都要对其可行性进行分析,对其时间和资源上的限制进行考虑,这样可以减少系统开发的风险。同时,分析之后不仅能够合理的运用人力,还能在各方面资源的消耗上得到节省。下面就对技术、经济和社会三个方面来介绍。
技术可行性主要考虑当前项目所用的技术是否能够符合,在设备上是否能够满足,及各种辅助工具是否提供帮助。本系统用的是python开发语言,调试相对简单,当前的计算机硬件配置也完全能满足开发的需求,因此在技术上是绝对可行的。软件方面:由于软件的开发平台成熟可行,它们速度快、容量大、可靠性能高、价格低,完全能满足系统的需求。采用python编程语言,已无技术上的问题。
系统所采用的ZendStudio开发平台和Mysql后端数据库均为免费开发工具。故开发成本主要集中在后期的推广及系统维护上。相对于成本较高的C/S模式,也是选用了成本较低的B/S模式,所以经济上几乎没任何问题。
本系统是自行开发的系统,以方便高效管理旅游景点为出发点,是具有实际意义的系统,开发的环境软件和用到的数据库也都是开源代码,不存在侵权等问题,所以在社会方面也是可行的。
用户用例图如下所示。
图3-1 用户用例图
管理员用例图如下所示。
图3-1 管理员用例图
通过对用例图的分析和调查,根据本系统的实际需要,从用户角度提出需求功能如下:
1.管理员功能需求:
用户管理模块:管理员查看用户基本信息,并实现对用户信息的增加、删除、修改等功能。
修改登录密码模块:修改管理员用户的登录密码。
景点类型管理模块:管理员查看景点类型,并且添加景点类型数据,也能够删除景点类型数。
景点管理模块:管理员查看景点,并且添加景点数据,也能够删除景点数据。
酒店数据管理模块:根据业务需要,管理员对酒店数据的维护、处理等操作。
景点数据模块:根据业务需要,管理员对景点的数据的维护、处理等操作。
资讯管理模块:管理员查看资讯数据,并且发布资讯数据,编辑资讯数据,删除资讯数据。
2.用户功能需求:
用户注册模块:将用户信息录入数据库,用户利用注册的账号以及密码登录系统,浏览查看各种信息,添加部分信息;
旅游资讯模块:用户查看旅游资讯,可以对资讯进行点赞或收藏。
评论模块:用户评论景点,查看其他对该景点的评论内容。
收藏模块:用户收藏景点,整理个人收藏夹。
个人信息模块:修改信息功能,用户修改个人资料信息,但不能修改账号;密码修改功能,修改登录密码。
景点信息模块:从管理员发布的景点数据中选择需要要查看的景点,进行查看评论、地图等操作。
酒店信息模块:从管理员发布的酒店信息数据中选择要查询的酒店信息进行查看或点赞收藏。
旅游路线模块:从管理员发布的旅游路线数据中选择要查询的旅游路线信息进行查看或点赞收藏。
评判一个系统好坏的一项重要指标就是性能,下面是对此系统的一些性能进行阐述。
1.系统的安全性和稳定性: 智能景区推荐系统在管理权限上有着严格的控制,即想登录此平台进行操作,则必须要有操作权限,没有权限的用户是不可能登录平台查看任何的信息和数据,从而确保了系统的安全性。
2.数据的完整性和准确性:第一个是各项记录信息的完整性,信息记录的内容可以为空;第二个是各项信息数据之间相互联系的准确性;第三个是数据在不同记录信息的一致性
3.用户操作系统简单方便
在系统开发中按照“简单易用”的原则,能够使用户对系统的使用一目了然,既能保证用户使用,同时又能保证维护人员方便维护。
业务流程图不仅能反映出内部业务之间的关系,而且能体现出作业顺序及信息的流动。智能景区推荐系统必须支持整个组织在不同层次上的各种功能,各个功能模块之间又有各种不同相关的信息进行联系,构成了一个有机的整体,根据旅游网站的特点以及结合所面临的实际情况,设计出了系统的业务流程图。
系统的业务流程如下图所示。
图3-1系统业务流程图
在分析了系统的业务流程之后,就要分析系统的数据流,为后面设计系统的数据库做好基础。这里主要利用数据流程图来说明数据流程。数据流程图是一个图示工具,容易理解,容易在开发和用户方之间进行交流,以及在开发组织内部交流。因此数据流程图作为一种模型工具已经广泛使用在软件工程的实践中。
系统的顶层数据流图如下图所示。
图3-2系统数据流图(顶层)
根据系统的业务流程,用户浏览所使用到的数据归纳为输出信息。而用户提交的数据则作为系统的输入数据。相应的,根据系统管理员业务流程,管理员对系统内容的添加、更新和删除等所操作的数据定义为输入信息。
系统的底层数据流图如下图所示。
图3-3系统数据流图(底层)
MVC 是指 Model、View 和 Controller,翻译成中文分别是模型层、视图层和控制层。MVC 模式是一种设计模式,它强制性的把应用程序的输入、输出和处理全部分开,将其分为三个核心部分,这三个部分分别有不同的功能。
图4-1系统架构图
视图层视图是指被用户所看到的并且能够与之进行交互的界面。视图可以向用户展示相关的数据,并接收用户输入的数据,但对用户数据不进行任何实际业务操作处理。
模型层通过控制层来处理视图层传递的数据,同一个模型可以给不同的视图提供数据,也可以被不同的视图重复使用。由于 Model 的主要内容是数据、方法和行为,其也是 MVC 中逻辑最为复杂,代码量最多的部分,其中包含了许多应用中需要用到的业务逻辑,因此模型层的开发也变得尤为重要,后期一般不会对模型层进行大规模改动,也是 MVC 中最稳定的部分。
控制层主要负责视图层和模型层之间的数据传输和处理请求操作。当用户通过视图发送数据和请求时,控制层可以接收请求和数据并决定调用哪些模型、通过模型的哪些操作来处理数据和请求,处理完成后,控制层再将数据返回给相应的视图。
根据对系统的功能进行分析可以总结智能景区推荐系统的具体功能模块包括下面的几个主要的功能模块:该系统主要从两大模块进行设计的,首先就是用户参与操作需要的模块,此外还需要有管理员用到的模块,两者之间不是互相独立的,他们之间有着密切的联系,同数据库表中的数据连接起来进行操作。每个模块访问相同的数据库,但访问的表不同。系统的各个功能模块是根据所收集的资料研究得到的。在以上分析功能的基础上,系统模块分为多个模块。用户含有的功能有首页、公告消息、旅游资讯、个人账户、个人收藏、旅游景区、酒店住宿、旅游路线等,退出登录等功能,管理员含有的功能有修改密码,用户管理、景点管理、景点类型、酒店信息、旅游路线、数据分析等功能。
系统的功能结构图如下图所示。
图4-2系统功能结构图
E-R图一般是由实体、实体的属性与联系三个要素组成的。在规划系统中所使用的数据库实体对象及实体E-R图,则需要通过对系统的需求分析、业务流程设计和系统功能结构来确定的。
总体ER图如下图所示。
图4-3总体ER图
将实体属性模型转换为关系数据库应该遵循以下几个原则:
1.一个实体转换后要对应一个关系。
2.所有的主键必须要定义为非空(not null)。
3.针对二元联系也应该按照一对多、弱对实、一对一和多对多等联系来定义外键。
得到数据库的关系后,设计如下表结构。
表access_token (登陆访问时长)
| 编号 | 名称 | 数据类型 | 长度 | 小数位 | 允许空值 | 主键 | 默认值 | 说明 |
| 1 | token_id | int | 10 | 0 | N | Y | 临时访问牌ID | |
| 2 | token | varchar | 64 | 0 | Y | N | 临时访问牌 | |
| 3 | info | text | 65535 | 0 | Y | N | ||
| 4 | maxage | int | 10 | 0 | N | N | 2 | 最大寿命:默认2小时 |
| 5 | create_time | timestamp | 19 | 0 | N | N | CURRENT_TIMESTAMP | 创建时间: |
| 6 | update_time | timestamp | 19 | 0 | N | N | CURRENT_TIMESTAMP | 更新时间: |
| 7 | user_id | int | 10 | 0 | N | N | 0 | 用户编号: |
| 编号 | 名称 | 数据类型 | 长度 | 小数位 | 允许空值 | 主键 | 默认值 | 说明 |
| 1 | article_id | mediumint | 8 | 0 | N | Y | 文章id:[0,8388607] | |
| 2 | title | varchar | 125 | 0 | N | Y | 标题:[0,125]用于文章和html的title标签中 | |
| 3 | type | varchar | 64 | 0 | N | N | 0 | 文章分类:[0,1000]用来搜索指定类型的文章 |
| 4 | hits | int | 10 | 0 | N | N | 0 | 点击数:[0,1000000000]访问这篇文章的人次 |
| 5 | praise_len | int | 10 | 0 | N | N | 0 | 点赞数 |
| 6 | create_time | timestamp | 19 | 0 | N | N | CURRENT_TIMESTAMP | 创建时间: |
| 7 | update_time | timestamp | 19 | 0 | N | N | CURRENT_TIMESTAMP | 更新时间: |
| 8 | source | varchar | 255 | 0 | Y | N | 来源:[0,255]文章的出处 | |
| 9 | url | varchar | 255 | 0 | Y | N | 来源地址:[0,255]用于跳转到发布该文章的网站 | |
| 10 | tag | varchar | 255 | 0 | Y | N | 标签:[0,255]用于标注文章所属相关内容,多个标签用空格隔开 | |
| 11 | content | longtext | 2147483647 | 0 | Y | N | 正文:文章的主体内容 | |
| 12 | img | varchar | 255 | 0 | Y | N | 封面图 | |
| 13 | description | text | 65535 | 0 | Y | N | 文章描述 |
| 编号 | 名称 | 数据类型 | 长度 | 小数位 | 允许空值 | 主键 | 默认值 | 说明 |
| 1 | type_id | smallint | 5 | 0 | N | Y | 分类ID:[0,10000] | |
| 2 | display | smallint | 5 | 0 | N | N | 100 | 显示顺序:[0,1000]决定分类显示的先后顺序 |
| 3 | name | varchar | 16 | 0 | N | N | 分类名称:[2,16] | |
| 4 | father_id | smallint | 5 | 0 | N | N | 0 | 上级分类ID:[0,32767] |
| 5 | description | varchar | 255 | 0 | Y | N | 描述:[0,255]描述该分类的作用 | |
| 6 | icon | text | 65535 | 0 | Y | N | 分类图标: | |
| 7 | url | varchar | 255 | 0 | Y | N | 外链地址:[0,255]如果该分类是跳转到其他网站的情况下,就在该URL上设置 | |
| 8 | create_time | timestamp | 19 | 0 | N | N | CURRENT_TIMESTAMP | 创建时间: |
| 9 | update_time | timestamp | 19 | 0 | N | N | CURRENT_TIMESTAMP | 更新时间: |
| 编号 | 名称 | 数据类型 | 长度 | 小数位 | 允许空值 | 主键 | 默认值 | 说明 |
| 1 | attraction_data_id | int | 10 | 0 | N | Y | 景点数据ID | |
| 2 | name_of_scenic_spot | varchar | 64 | 0 | Y | N | 景区名称 | |
| 3 | address_of_the_scenic_spot | varchar | 64 | 0 | Y | N | 景区地址 | |
| 4 | introduction | varchar | 64 | 0 | Y | N | 景区简介 | |
| 5 | monthly_sales_quantity | varchar | 64 | 0 | Y | N | 月销数量 | |
| 6 | links_to_scenic_spots | text | 65535 | 0 | Y | N | 景区链接 | |
| 7 | scenic_spot_price | varchar | 64 | 0 | Y | N | 景区价格 | |
| 8 | rating_of_scenic_spots | varchar | 64 | 0 | Y | N | 景区等级 | |
| 9 | scenic_area_heat | varchar | 64 | 0 | Y | N | 景区热度 | |
| 10 | recommend | int | 10 | 0 | N | N | 0 | 智能推荐 |
| 11 | create_time | datetime | 19 | 0 | N | N | CURRENT_TIMESTAMP | 创建时间 |
| 12 | update_time | timestamp | 19 | 0 | N | N | CURRENT_TIMESTAMP | 更新时间 |
| 编号 | 名称 | 数据类型 | 长度 | 小数位 | 允许空值 | 主键 | 默认值 | 说明 |
| 1 | auth_id | int | 10 | 0 | N | Y | 授权ID: | |
| 2 | user_group | varchar | 64 | 0 | Y | N | 用户组: | |
| 3 | mod_name | varchar | 64 | 0 | Y | N | 模块名: | |
| 4 | table_name | varchar | 64 | 0 | Y | N | 表名: | |
| 5 | page_title | varchar | 255 | 0 | Y | N | 页面标题: | |
| 6 | path | varchar | 255 | 0 | Y | N | 路由路径: | |
| 7 | position | varchar | 32 | 0 | Y | N | 位置: | |
| 8 | mode | varchar | 32 | 0 | N | N | _blank | 跳转方式: |
| 9 | add | tinyint | 3 | 0 | N | N | 1 | 是否可增加: |
| 10 | del | tinyint | 3 | 0 | N | N | 1 | 是否可删除: |
| 11 | set | tinyint | 3 | 0 | N | N | 1 | 是否可修改: |
| 12 | get | tinyint | 3 | 0 | N | N | 1 | 是否可查看: |
| 13 | field_add | text | 65535 | 0 | Y | N | 添加字段: | |
| 14 | field_set | text | 65535 | 0 | Y | N | 修改字段: | |
| 15 | field_get | text | 65535 | 0 | Y | N | 查询字段: | |
| 16 | table_nav_name | varchar | 500 | 0 | Y | N | 跨表导航名称: | |
| 17 | table_nav | varchar | 500 | 0 | Y | N | 跨表导航: | |
| 18 | option | text | 65535 | 0 | Y | N | 配置: | |
| 19 | create_time | timestamp | 19 | 0 | N | N | CURRENT_TIMESTAMP | 创建时间: |
| 20 | update_time | timestamp | 19 | 0 | N | N | CURRENT_TIMESTAMP | 更新时间: |
表classification_of_scenic_spots (景区分类)
| 编号 | 名称 | 数据类型 | 长度 | 小数位 | 允许空值 | 主键 | 默认值 | 说明 |
| 1 | classification_of_scenic_spots_id | int | 10 | 0 | N | Y | 景区分类ID | |
| 2 | classification_of_scenic_spots | varchar | 64 | 0 | Y | N | 景区分类 | |
| 3 | recommend | int | 10 | 0 | N | N | 0 | 智能推荐 |
| 4 | create_time | datetime | 19 | 0 | N | N | CURRENT_TIMESTAMP | 创建时间 |
| 5 | update_time | timestamp | 19 | 0 | N | N | CURRENT_TIMESTAMP | 更新时间 |
| 编号 | 名称 | 数据类型 | 长度 | 小数位 | 允许空值 | 主键 | 默认值 | 说明 |
| 1 | collect_id | int | 10 | 0 | N | Y | 收藏ID: | |
| 2 | user_id | int | 10 | 0 | N | N | 0 | 收藏人ID: |
| 3 | source_table | varchar | 255 | 0 | Y | N | 来源表: | |
| 4 | source_field | varchar | 255 | 0 | Y | N | 来源字段: | |
| 5 | source_id | int | 10 | 0 | N | N | 0 | 来源ID: |
| 6 | title | varchar | 255 | 0 | Y | N | 标题: | |
| 7 | img | varchar | 255 | 0 | Y | N | 封面: | |
| 8 | create_time | timestamp | 19 | 0 | N | N | CURRENT_TIMESTAMP | 创建时间: |
| 9 | update_time | timestamp | 19 | 0 | N | N | CURRENT_TIMESTAMP | 更新时间: |
| 编号 | 名称 | 数据类型 | 长度 | 小数位 | 允许空值 | 主键 | 默认值 | 说明 |
| 1 | comment_id | int | 10 | 0 | N | Y | 评论ID: | |
| 2 | user_id | int | 10 | 0 | N | N | 0 | 评论人ID: |
| 3 | reply_to_id | int | 10 | 0 | N | N | 0 | 回复评论ID:空为0 |
| 4 | content | longtext | 2147483647 | 0 | Y | N | 内容: | |
| 5 | nickname | varchar | 255 | 0 | Y | N | 昵称: | |
| 6 | avatar | varchar | 255 | 0 | Y | N | 头像地址:[0,255] | |
| 7 | create_time | timestamp | 19 | 0 | N | N | CURRENT_TIMESTAMP | 创建时间: |
| 8 | update_time | timestamp | 19 | 0 | N | N | CURRENT_TIMESTAMP | 更新时间: |
| 9 | source_table | varchar | 255 | 0 | Y | N | 来源表: | |
| 10 | source_field | varchar | 255 | 0 | Y | N | 来源字段: | |
| 11 | source_id | int | 10 | 0 | N | N | 0 | 来源ID: |
| 编号 | 名称 | 数据类型 | 长度 | 小数位 | 允许空值 | 主键 | 默认值 | 说明 |
| 1 | hits_id | int | 10 | 0 | N | Y | 点赞ID: | |
| 2 | user_id | int | 10 | 0 | N | N | 0 | 点赞人: |
| 3 | create_time | timestamp | 19 | 0 | N | N | CURRENT_TIMESTAMP | 创建时间: |
| 4 | update_time | timestamp | 19 | 0 | N | N | CURRENT_TIMESTAMP | 更新时间: |
| 5 | source_table | varchar | 255 | 0 | Y | N | 来源表: | |
| 6 | source_field | varchar | 255 | 0 | Y | N | 来源字段: | |
| 7 | source_id | int | 10 | 0 | N | N | 0 | 来源ID: |
| 编号 | 名称 | 数据类型 | 长度 | 小数位 | 允许空值 | 主键 | 默认值 | 说明 |
| 1 | hotel_accommodation_id | int | 10 | 0 | N | Y | 酒店住宿ID | |
| 2 | hotel_name | varchar | 64 | 0 | Y | N | 酒店名称 | |
| 3 | hotel_type | varchar | 64 | 0 | Y | N | 酒店类型 | |
| 4 | hotels_address | varchar | 64 | 0 | Y | N | 酒店地址 | |
| 5 | scenic_spot | varchar | 64 | 0 | Y | N | 所在景区 | |
| 6 | per_capita_price | varchar | 64 | 0 | Y | N | 人均价格 | |
| 7 | hotel_description | text | 65535 | 0 | Y | N | 酒店描述 | |
| 8 | hotel_cover | varchar | 255 | 0 | Y | N | 酒店封面 | |
| 9 | hotel_profile | longtext | 2147483647 | 0 | Y | N | 酒店简介 | |
| 10 | praise_len | int | 10 | 0 | N | N | 0 | 点赞数 |
| 11 | recommend | int | 10 | 0 | N | N | 0 | 智能推荐 |
| 12 | create_time | datetime | 19 | 0 | N | N | CURRENT_TIMESTAMP | 创建时间 |
| 13 | update_time | timestamp | 19 | 0 | N | N | CURRENT_TIMESTAMP | 更新时间 |
| 编号 | 名称 | 数据类型 | 长度 | 小数位 | 允许空值 | 主键 | 默认值 | 说明 |
| 1 | hotel_data_id | int | 10 | 0 | N | Y | 酒店数据ID | |
| 2 | hotel_name | varchar | 64 | 0 | Y | N | 酒店名称 | |
| 3 | hotels_address | varchar | 64 | 0 | Y | N | 酒店地址 | |
| 4 | hotel_link | varchar | 64 | 0 | Y | N | 酒店链接 | |
| 5 | hotel_price | varchar | 64 | 0 | Y | N | 酒店价格 | |
| 6 | hotel_stars | varchar | 64 | 0 | Y | N | 酒店星级 | |
| 7 | hotel_rating | varchar | 64 | 0 | Y | N | 酒店评分 | |
| 8 | recommend | int | 10 | 0 | N | N | 0 | 智能推荐 |
| 9 | create_time | datetime | 19 | 0 | N | N | CURRENT_TIMESTAMP | 创建时间 |
| 10 | update_time | timestamp | 19 | 0 | N | N | CURRENT_TIMESTAMP | 更新时间 |
| 编号 | 名称 | 数据类型 | 长度 | 小数位 | 允许空值 | 主键 | 默认值 | 说明 |
| 1 | notice_id | mediumint | 8 | 0 | N | Y | 公告id: | |
| 2 | title | varchar | 125 | 0 | N | N | 标题: | |
| 3 | content | longtext | 2147483647 | 0 | Y | N | 正文: | |
| 4 | create_time | timestamp | 19 | 0 | N | N | CURRENT_TIMESTAMP | 创建时间: |
| 5 | update_time | timestamp | 19 | 0 | N | N | CURRENT_TIMESTAMP | 更新时间: |
| 编号 | 名称 | 数据类型 | 长度 | 小数位 | 允许空值 | 主键 | 默认值 | 说明 |
| 1 | ordinary_users_id | int | 10 | 0 | N | Y | 普通用户ID | |
| 2 | user_name | varchar | 64 | 0 | Y | N | 用户姓名 | |
| 3 | user_gender | varchar | 64 | 0 | Y | N | 用户性别 | |
| 4 | user_age | varchar | 64 | 0 | Y | N | 用户年龄 | |
| 5 | examine_state | varchar | 16 | 0 | N | N | 已通过 | 审核状态 |
| 6 | recommend | int | 10 | 0 | N | N | 0 | 智能推荐 |
| 7 | user_id | int | 10 | 0 | N | N | 0 | 用户ID |
| 8 | create_time | datetime | 19 | 0 | N | N | CURRENT_TIMESTAMP | 创建时间 |
| 9 | update_time | timestamp | 19 | 0 | N | N | CURRENT_TIMESTAMP | 更新时间 |
| 编号 | 名称 | 数据类型 | 长度 | 小数位 | 允许空值 | 主键 | 默认值 | 说明 |
| 1 | praise_id | int | 10 | 0 | N | Y | 点赞ID: | |
| 2 | user_id | int | 10 | 0 | N | N | 0 | 点赞人: |
| 3 | create_time | timestamp | 19 | 0 | N | N | CURRENT_TIMESTAMP | 创建时间: |
| 4 | update_time | timestamp | 19 | 0 | N | N | CURRENT_TIMESTAMP | 更新时间: |
| 5 | source_table | varchar | 255 | 0 | Y | N | 来源表: | |
| 6 | source_field | varchar | 255 | 0 | Y | N | 来源字段: | |
| 7 | source_id | int | 10 | 0 | N | N | 0 | 来源ID: |
| 8 | status | bit | 1 | 0 | N | N | 1 | 点赞状态:1为点赞,0已取消 |
| 编号 | 名称 | 数据类型 | 长度 | 小数位 | 允许空值 | 主键 | 默认值 | 说明 |
| 1 | slides_id | int | 10 | 0 | N | Y | 轮播图ID: | |
| 2 | title | varchar | 64 | 0 | Y | N | 标题: | |
| 3 | content | varchar | 255 | 0 | Y | N | 内容: | |
| 4 | url | varchar | 255 | 0 | Y | N | 链接: | |
| 5 | img | varchar | 255 | 0 | Y | N | 轮播图: | |
| 6 | hits | int | 10 | 0 | N | N | 0 | 点击量: |
| 7 | create_time | timestamp | 19 | 0 | N | N | CURRENT_TIMESTAMP | 创建时间: |
| 8 | update_time | timestamp | 19 | 0 | N | N | CURRENT_TIMESTAMP | 更新时间: |
| 编号 | 名称 | 数据类型 | 长度 | 小数位 | 允许空值 | 主键 | 默认值 | 说明 |
| 1 | tourist_attractions_id | int | 10 | 0 | N | Y | 旅游景区ID | |
| 2 | name_of_scenic_spot | varchar | 64 | 0 | Y | N | 景区名称 | |
| 3 | classification_of_scenic_spots | varchar | 64 | 0 | Y | N | 景区分类 | |
| 4 | address_of_the_scenic_spot | varchar | 64 | 0 | Y | N | 景区地址 | |
| 5 | budget_cost | varchar | 64 | 0 | Y | N | 预算费用 | |
| 6 | recommended_route | text | 65535 | 0 | Y | N | 推荐路线 | |
| 7 | picture_of_scenic_spot | varchar | 255 | 0 | Y | N | 景区图片 | |
| 8 | introduction | longtext | 2147483647 | 0 | Y | N | 景区简介 | |
| 9 | hits | int | 10 | 0 | N | N | 0 | 点击数 |
| 10 | praise_len | int | 10 | 0 | N | N | 0 | 点赞数 |
| 11 | recommend | int | 10 | 0 | N | N | 0 | 智能推荐 |
| 12 | create_time | datetime | 19 | 0 | N | N | CURRENT_TIMESTAMP | 创建时间 |
| 13 | update_time | timestamp | 19 | 0 | N | N | CURRENT_TIMESTAMP | 更新时间 |
| 编号 | 名称 | 数据类型 | 长度 | 小数位 | 允许空值 | 主键 | 默认值 | 说明 |
| 1 | tourist_routes_id | int | 10 | 0 | N | Y | 旅游路线ID | |
| 2 | route_name | varchar | 64 | 0 | Y | N | 路线名称 | |
| 3 | route_type | varchar | 64 | 0 | Y | N | 路线类型 | |
| 4 | route_start | varchar | 64 | 0 | Y | N | 路线起点 | |
| 5 | end_of_route | varchar | 64 | 0 | Y | N | 路线终点 | |
| 6 | tourism_price | varchar | 64 | 0 | Y | N | 旅游价格 | |
| 7 | main_attractions | varchar | 64 | 0 | Y | N | 主要景点 | |
| 8 | cover_photo | varchar | 255 | 0 | Y | N | 封面图片 | |
| 9 | route_details | longtext | 2147483647 | 0 | Y | N | 路线详情 | |
| 10 | praise_len | int | 10 | 0 | N | N | 0 | 点赞数 |
| 11 | recommend | int | 10 | 0 | N | N | 0 | 智能推荐 |
| 12 | create_time | datetime | 19 | 0 | N | N | CURRENT_TIMESTAMP | 创建时间 |
| 13 | update_time | timestamp | 19 | 0 | N | N | CURRENT_TIMESTAMP | 更新时间 |
| 编号 | 名称 | 数据类型 | 长度 | 小数位 | 允许空值 | 主键 | 默认值 | 说明 |
| 1 | upload_id | int | 10 | 0 | N | Y | 上传ID | |
| 2 | name | varchar | 64 | 0 | Y | N | 文件名 | |
| 3 | path | varchar | 255 | 0 | Y | N | 访问路径 | |
| 4 | file | varchar | 255 | 0 | Y | N | 文件路径 | |
| 5 | display | varchar | 255 | 0 | Y | N | 显示顺序 | |
| 6 | father_id | int | 10 | 0 | Y | N | 0 | 父级ID |
| 7 | dir | varchar | 255 | 0 | Y | N | 文件夹 | |
| 8 | type | varchar | 32 | 0 | Y | N | 文件类型 |
| 编号 | 名称 | 数据类型 | 长度 | 小数位 | 允许空值 | 主键 | 默认值 | 说明 |
| 1 | user_id | mediumint | 8 | 0 | N | Y | 用户ID:[0,8388607]用户获取其他与用户相关的数据 | |
| 2 | state | smallint | 5 | 0 | N | N | 1 | 账户状态:[0,10](1可用|2异常|3已冻结|4已注销) |
| 3 | user_group | varchar | 32 | 0 | Y | N | 所在用户组:[0,32767]决定用户身份和权限 | |
| 4 | login_time | timestamp | 19 | 0 | N | N | CURRENT_TIMESTAMP | 上次登录时间: |
| 5 | phone | varchar | 11 | 0 | Y | N | 手机号码:[0,11]用户的手机号码,用于找回密码时或登录时 | |
| 6 | phone_state | smallint | 5 | 0 | N | N | 0 | 手机认证:[0,1](0未认证|1审核中|2已认证) |
| 7 | username | varchar | 16 | 0 | N | N | 用户名:[0,16]用户登录时所用的账户名称 | |
| 8 | nickname | varchar | 16 | 0 | Y | N | 昵称:[0,16] | |
| 9 | password | varchar | 64 | 0 | N | N | 密码:[0,32]用户登录所需的密码,由6-16位数字或英文组成 | |
| 10 | | varchar | 64 | 0 | Y | N | 邮箱:[0,64]用户的邮箱,用于找回密码时或登录时 | |
| 11 | email_state | smallint | 5 | 0 | N | N | 0 | 邮箱认证:[0,1](0未认证|1审核中|2已认证) |
| 12 | avatar | varchar | 255 | 0 | Y | N | 头像地址:[0,255] | |
| 13 | create_time | timestamp | 19 | 0 | N | N | CURRENT_TIMESTAMP | 创建时间: |
| 编号 | 名称 | 数据类型 | 长度 | 小数位 | 允许空值 | 主键 | 默认值 | 说明 |
| 1 | group_id | mediumint | 8 | 0 | N | Y | 用户组ID:[0,8388607] | |
| 2 | display | smallint | 5 | 0 | N | N | 100 | 显示顺序:[0,1000] |
| 3 | name | varchar | 16 | 0 | N | N | 名称:[0,16] | |
| 4 | description | varchar | 255 | 0 | Y | N | 描述:[0,255]描述该用户组的特点或权限范围 | |
| 5 | source_table | varchar | 255 | 0 | Y | N | 来源表: | |
| 6 | source_field | varchar | 255 | 0 | Y | N | 来源字段: | |
| 7 | source_id | int | 10 | 0 | N | N | 0 | 来源ID: |
| 8 | register | smallint | 5 | 0 | Y | N | 0 | 注册位置: |
| 9 | create_time | timestamp | 19 | 0 | N | N | CURRENT_TIMESTAMP | 创建时间: |
| 10 | update_time | timestamp | 19 | 0 | N | N | CURRENT_TIMESTAMP | 更新时间: |
从web系统查询数据的根本的查询步骤:
Step1: 进行检查并且过滤来自用户的系统数据;
Step2: 成立起一个合适的数据库进行连接;
Step3: 进行查询系统数据库;
Step4: 获得查询的结构;
Step5: 把查询的结果展示给用户。
Step6: 数据库连接断开,释放资源。
数据库连接原理如下图所示。
图5-1数据库连接原理
为确保系统安全性,系统操作员只有在登录界面输入正确的用户名、密码、权限以及验证码,单击“登录”按钮后才能够进入本系统的主界面。
用户登录流程图如下所示。
图5-2用户登录流程图
登录界面如下图所示。
图5-3登录界面
用户输入用户名、密码、电话、姓名等必填信息后,点击注册按钮完成用户的注册。
用户注册流程图如下所示。
图5-4用户注册流程图
用户注册界面如下图所示。
图5-5用户注册界面
-
-
- 评论模块的实现
-
用户点击资讯进入评论板,点击评论发布,跳转至评论发布页面,提交评论信息,成功发布评论,管理员管理用户的评论信息。
发表评论流程图如下所示。
图5-6评论流程图
评论界面如图所示。
图5-7评论界面
-
-
- 酒店信息模块的实现
-
用户点击某个酒店信息进入酒店详细页,点击收藏按钮加入个人收藏信息。
酒店信息流程图如下所示。
图5-8酒店信息流程图
酒店信息界面如图所示。
图5-9酒店信息界面
酒店信息管理界面如图所示。
图5-10酒店信息管理界面
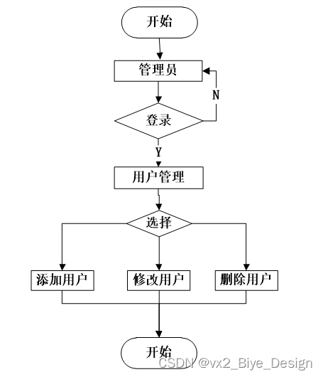
系统用户管理主要是对新用户的添加和旧用户的删除。新用户的添加主要是指添加用户名称并确定其密码;旧用户的删除也是从下拉菜单中找到对应的用户名称将其删除。不论是新用户添加还是旧用户的删除,这个权限只有管理员具有。
用户管理流程图如下所示。
图5-11用户管理流程图
用户管理界面如下图所示。
图5-12用户管理界面
密码修改是对当前登录用户的密码进行修改,在管理员登录页面后右上方也能进行密码修改。
密码修改流程图如下所示。
图5-13密码修改流程图
如果资讯数据的信息需要修改,管理员可以通过查询资讯数据的基本信息来查询资讯数据,查询资讯数据是通过ajax技术来进行查询的,需要传递资讯数据的标题、编号等参数然后在返回到该页面中,可以选中要修改或删除的那条信息,如果选中了超过一条数据,页面会挑一个窗口提醒只能选择一条数,如果没有选中数据会挑一个窗口题型必须选择一条数据。当选择确认修改的时候,后台会根据传过来的id到数据库查询,并将结果返回到修改页面中,可以在修改页面中修改刚刚选中的信息当点击确认的时候from表单会将修改的数据提交到后台并保存到数据库中,就是说如果提交的数据数据库中存在就修改,否则就保存。
资讯数据展示界面如下图所示。
图5-14资讯数据展示界面
资讯数据管理界面如下图所示。

图5-15资讯数据管理界面
-
-
- 旅游景区信息管理模块的实现
-
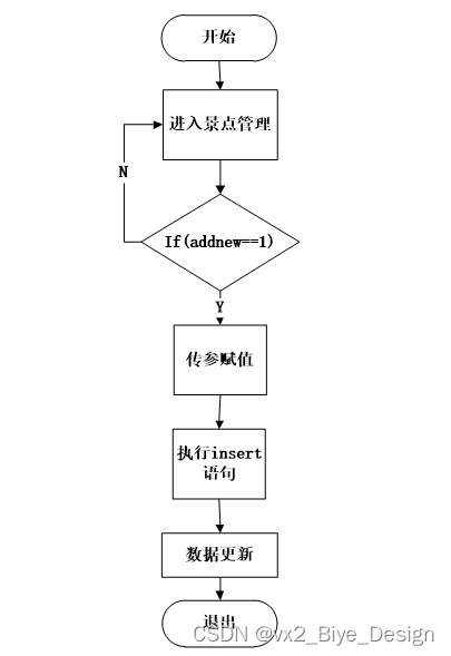
旅游景区信息添加功能主要指对其编号、内容、详情等一些基本信息的添加、删除和修改。旅游景区查询能根据旅游景区编号、内容、详情等多种条件对旅游景区信息进行查询。
旅游景区添加流程图如下所示。
图5-16旅游景区添加流程图
旅游景区添加如下图所示。
图5-17旅游景区添加界面
旅游景区查询界面如下所示。
图5-18旅游景区查询界面
数据信息统计页面
图5-19数据信息统计界面
1、服务器端
操作系统:Windows 7
Web服务器:Apache2.4.7
数据库:Mysql
开发语言:python
2、客户端
浏览器:Internet Explorer10
界面布局:DIV+CSS
分辨率:最佳效果1027*768以上像素
3、开发工具
Dreamweaver
ZendStudio
系统测试是用于检查软件的质量、性能、可靠性等是否符合用户需求。一套严谨的、规范的、完善的测试过程将大大提高软件的质量、可信度、可靠性,降低软件的出错率,降低用户风险系数。通过在计算机上对系统进行测试试验并从中发现此系统中存在的问题和错误然后加以修改,使之更加符合用户需求。
1.测试的目的是通过测试来发现程序在执行过程中的错误的过程。
2.好的测试方案是可以检验出还未被发现的错误的方案。
3.好的测试是发现了到目前为止还未被发现的错误的测试。
4.该系统能够完成旅游景区信息、景点类型、酒店信息、旅游路线、数据分析、系统维护等功能,做到所开发的系统操作简单,尽量使系统操作不受用户对电脑知识水平的限制。
下表是系统登录功能测试用例,检测了用户名和密码的不同的输入情况,观察系统的响应情况。得出该功能达到了设计目标。
表6-1 系统登录功能测试用例
| 功能描述 | 用于系统登录 | |
| 测试目的 | 检测登录时的合法性检查 | |
| 测试数据以及操作 | 预期结果 | 实际结果 |
| 输入的用户名和密码带有非法字符 | 提示用户名或者密码错误 | 与预期结果一致 |
| 输入的用户名或者密码为空 | 提示用户名或者密码错误 | 与预期结果一致 |
| 输入的用户名和密码不存在 | 提示用户名或者密码错误 | 与预期结果一致 |
| 输入正确的用户名和密码 | 登录成功 | 与预期结果一致 |
下表是注册功能测试用例,检测了各种数据的输入情况,观察系统的响应情况。得出该功能达到了设计目标。
表6-2 注册功能测试用例
| 功能描述 | 用于用户注册 | |
| 测试目的 | 检测用户注册时的合法性检查 | |
| 测试数据以及操作 | 预期结果 | 实际结果 |
| 输入的手机号不合法 | 提示请输入正确的手机号码 | 与预期结果一致 |
| 输入的字段为空 | 提示必填项不能为空 | 与预期结果一致 |
| 输入的密码少于6位 | 提示密码必须为6-12位 | 与预期结果一致 |
| 输入的密码大于12位 | 提示密码必须为6-12位 | 与预期结果一致 |
下表是旅游景区功能的测试用例,检测了旅游景区中对景点信息的增加,删除,修改,查询操作是否成功运行。观察系统的响应情况,得出该功能也达到了设计目标,系统运行正确。
前置条件;用户登录系统。
表6-3 旅游景区的测试用例
| 功能描述 | 用于旅游景区 | |
| 测试目的 | 检测旅游景区时的各种操作的运行情况 | |
| 测试数据以及操作 | 预期结果 | 实际结果 |
| 点击添加景区,必填项合法输入,点击保存 | 提示添加成功 | 与预期结果一致 |
| 点击添加景区,必填项输入不合法,点击保存 | 提示必填项不能为空 | 与预期结果一致 |
| 点击修改景区,必填项修改为空,点击保存 | 提示必填项不能为空 | 与预期结果一致 |
| 点击修改景区,必填项输入不合法,点击保存 | 提示必填项不能为空 | 与预期结果一致 |
| 点击删除景区,选择景区删除 | 提示删除成功 | 与预期结果一致 |
| 点击搜索景区,输入存在的景区名 | 查找出景区 | 与预期结果一致 |
| 点击搜索景区,输入不存在的景区名 | 不显示景区 | 与预期结果一致 |
根据以上测试情况,测试结果如下表所示。
表6-1测试结果表
| 测试项目 | 测试结果 |
| 登录测试 | 成功 |
| 修改密码测试 | 成功 |
| 景点数据测试 | 成功 |
| 酒店管理测试 | 成功 |
| 旅游路线管理测试 | 成功 |
| 用户管理测试 | 成功 |
| 旅游景区测试 | 成功 |
| 发布公告管理测试 | 成功 |
| 评论管理测试 | 成功 |
本研究针对智能景区推荐系统地需求建模,数据建模及过程建模分析设计并实现智能景区推荐系统的过程。给出系统应用架构并分析优劣势,通过功能分解图,系统组件图描述功能需求。设计建立了数据库,给出系统关键数据结构的定义。通过类关系图描述组件间的协作关系,给出各个类的定义方法。通过描述每一个类的字段,属性及方法实现智能景区推荐系统的前后端代码。最终给出系统集成整合方法,完成智能景区推荐系统地设计与实现。
在此项目的开发中,先要按照产品经理做出的产品模型铺出大体的页面,并在其中找好页面的逻辑关系,并且中途总结一些页面上的问题重新反馈给产品经理,当静态页面的搭建的大体已经完善时,就需要和负责后台开发的技术开发者联系,来接好前后台的数据接口,可以让后台的信息在前台显示出来,在这个项目实现中,不光明白了前端开发和产品经理的联系,也明白了后台在整个系统中起到了什么作用,因为前后台的连接,用户可以对系统进行操作,可以在输入自己的相关信息后,通过后台加工,完成对数据库的查找、修改、添加,而理解了这些关系与实现的方法后。再去完善整个系统的功能就更加清晰与简单了。此次的项目它涉及了前台与后台系统的搭建,在学校所学的知识基础上,此次的项目,让我对于一个系统的前端开发,以及后台的作用都有了一个更深切的认知。
参考文献
[1]陈嘉发,黄宇靖.django框架在数据可视化的应用[J].福建电脑,2022,38(12):44-48.DOI:10.16707/j.cnki.fjpc.2022.12.009.
[2]邓洁英.Python语言编程在计算机理论教学上的应用研究[J].现代信息科技,2022,6(21):185-187+191.DOI:10.19850/j.cnki.2096-4706.2022.21.045.
[3]谢小红,李文韬.Python语言在高校新闻传播类专业的教学探析[J].电脑知识与技术,2022,18(28):171-173.DOI:10.14004/j.cnki.ckt.2022.1822.
[4]王景.基于Python语言的数据表文件批量处理技术[J].信息技术与信息化,2022(09):66-69.
[5]徐红云,刘欣欣.Python语言程序设计全英文线上教学探索[J].教育教学论坛,2022(38):116-119.
[6]沈翠新.“Python语言及其应用”项目化课程的改革与实践[J].深圳职业技术学院学报,2022,21(05):71-77.DOI:10.13899/j.cnki.szptxb.2022.05.012.
[7]林晓芬.Python语言的Turtle库简介[J].电脑编程技巧与维护,2022(09):40-41+73.DOI:10.16184/j.cnki.comprg.2022.09.014.
[8]聂莉娟,方志伟,赵心宇.Python语言在Web数据挖掘中的应用[J].电子技术与软件工程,2022(17):182-185.
[9]Hu Xi,Song Jialin,Chyr Jacqueline,Wan Jinping,Wang Xiaoyan,Du Jianqiang,Duan Junbo,Zhang Huqin,Zhou Xiaobo,Wu Xiaoming. APAview: A web-based platform for alternative polyadenylation analyses in hematological cancers[J]. Frontiers in Genetics,2022,13.
[10]杜兴.基于django框架Web版的扫脸登录系统研究与实现[J].电子制作,2022,30(12):54-56+87.DOI:10.16589/j.cnki.cn11-3571/tn.2022.12.018.
[11]余晓帆,朱丽青.基于django框架的社交网站数据爬取及分析[J].微型电脑应用,2022,38(03):9-12.
[12]李相霏,韩珂.基于django框架的疫情数据可视化分析[J].计算机时代,2021(12):60-63+68.DOI:10.16644/j.cnki.cn33-1094/tp.2021.12.014.
[13]Uzo Izuchukwu Uchenna,Ugboaja Samuel Gregory,Ugwu Nnaemeka Virginus,Obayi Adaora Angela,Chigbundu Kanu Enyioma,Nnamdi Johnson Ezeora,Okwueze Chisom Nneoma,Anigbogu Kenechukwu,Ihedioha Uchechi Michael. Exploring a Secured Socket Python django Framework in Real Time Communication System[J]. Asian Journal of Research in Computer Science,2021.
[14]胡永乐. 基于django的智能家庭种植系统设计[D].北方民族大学,2021.DOI:10.27754/d.cnki.gbfmz.2021.000198.
[15]薛国鹏,李金忠,刘宇,罗玉盘.基于django和Spring Boot框架的校园点歌平台的设计与实现[J].井冈山大学学报(自然科学版),2020,41(05):49-58.
[16]牛作东,李捍东.基于Python与django工具搭建可高效开发的实用型MVC框架[J].计算机应用与软件,2019,36(07):21-25.
[17]马旭,王淑丽.基于django框架的展示型网站的设计与实现[J].数字技术与应用,2018,36(11):137-138.DOI:10.19695/j.cnki.cn12-1369.2018.11.73.
[18]吕帅.基于Python开源框架django的地震信息网络运维管理系统实现[J].高原地震,2018,30(03):59-63+55.
[19]王沛. 基于django框架的创新创业平台系统的设计与实现[D].山东大学,2018.
[20]曾思亮. 基于django框架的微博用户分类及推荐系统的实现[D].厦门大学,2017.
在此论文完成之际,感谢我的指导老师。在指导老师的网页设计课上,当时我学到了很多东西,这对于我实习过程中也打了一定的基础,而且指导老师对于我的设计也提出许多建议,并予以悉心的指导,对于一些细小的问题都耐心的指导我去完善,授予我写论文的交流消息,时常的鼓励我,另外感谢教导我完善此项目的前端同学,对于这个项目,我是边学习边实现完成的,有许多东西开始并不是很明白,但前端开发的同学非常耐心的引导我去将这个项目完成,在系统的后端开发中,所用到的后台开发技术也时常会给我讲解,助于我更好的将论文完成,在此对帮助到我的同学和一直予以教导的指导老师致以衷心的感谢,祝事业有成。
免费领取项目源码,请关注❥点赞收藏并私信博主,谢谢~
980

被折叠的 条评论
为什么被折叠?



