随着科学技术的飞速发展,社会的方方面面、各行各业都在努力与现代的先进技术接轨,通过科技手段来提高自身的优势,汽车行业当然也不能排除在外。选车可视化系统是以实际运用为开发背景,运用软件工程开发方法,采用Python技术构建的一个管理系统。整个开发过程首先对软件系统进行需求分析,得出系统的主要功能。接着对系统进行总体设计和详细设计。总体设计主要包括系统总体结构设计、系统数据结构设计、系统功能设计和系统安全设计等;详细设计主要包括模块实现的关键代码,系统数据库访问和主要功能模块的具体实现等。最后对系统进行功能测试,并对测试结果进行分析总结,及时改进系统中存在的不足,为以后的系统维护提供了方便,也为今后开发类似系统提供了借鉴和帮助。
本系统采用的数据库是Mysql,使用Flask框架开发。在设计过程中,充分保证了系统代码的良好可读性、实用性、易扩展性、通用性、便于后期维护、操作方便以及页面简洁等特点。
关键词:选车可视化系统;Python;Flask框架;Mysql数据库
Flask vehicle selection visualization system
Abstract
With the rapid development of science and technology, all aspects of society and all walks of life are trying to integrate with modern advanced technology and improve their own advantages through scientific and technological means. Of course, the automobile industry cannot be excluded. The vehicle selection visualization system is a management system based on the actual application, using software engineering development methods and Python technology. In the whole development process, firstly, the requirements of the software system are analyzed, and the main functions of the system are obtained. Then the overall design and detailed design of the system are carried out. The overall design mainly includes the overall system structure design, system data structure design, system function design and system safety design; The detailed design mainly includes the key code of the module implementation, the system database access and the specific implementation of the main function modules. Finally, the function test of the system is carried out, and the test results are analyzed and summarized, so as to improve the deficiencies of the system in time, which provides convenience for future system maintenance, and also provides reference and help for future development of similar systems.
The database used in this system is MySQL, which is developed using the Flask framework. In the design process, the system code is fully guaranteed to be readable, practical, extensible, universal, easy to maintain, easy to operate and concise.
Key words: Vehicle selection visualization system; Python; Flask framework; MySQL database
目 录
网络的快速发展从根本上更改了世界各组织的管理方式,自二十世纪九十年代开始,我国的政府、企事业等单位就设想可以通过互联网系统来进行管理信息。由于以前存在各方面的原因,比如网络普及度低、用户不接受、互联网的相关法律法规也不够完善、开发技术也不够成熟等,阻碍了互联网在各大机构中的发展速度。进入二十一世纪以后,我国经济有了快速的发展,限制机构管理的各个难题逐一被解决,国内各大机构都加入到了电子信息化的管理模式中来。
以往的选车可视化系统相关信息管理都是工作人员手工统计。这种方式不但时效性低,而且需要查找和变更的时候很不方便。随着科学的进步,技术的成熟,计算机信息化也日新月异的发展,社会也已经深刻的认识,计算机功能非常的强大,计算机已经进入了人类社会发展的各个领域,并且发挥着十分重要的作用。本系统利用网络沟通、计算机信息存储管理,有着与传统的方式所无法替代的优点。比如计算检索速度特别快、可靠性特别高、存储容量特别大、保密性特别好、可保存时间特别长、成本特别低等。在工作效率上,能够得到极大地提高,延伸至服务水平也会有好的收获,有了网络,选车可视化系统的各方面的管理更加科学和系统,更加规范和简便。
随着计算机网络的不断渗透,人们的生活与工作、学习的方式也在慢慢发生变化。传统的选车可视化系统相关信息管理方式一般都采取人工的方式,信息的获取、整理、修改、存储等工作还停留在人工阶段。这种方式一方面需要花费大量的人力、物力和金钱,交互起来比较困难,而且会浪费时间另一方面对用户等信息的管理,特别是随着用户数量的递增,查询、修改起来特别困难最后由于用户等其他信息的不断增加,信息的存储也成为了难题。
一些发达国家,网络发展比较快,已经很大程度上完成了从人工到计算机管理的转变。我国计算机应用起步比较晚,而且发展区域不平衡,还有很多地区或单位使用传统的方式进行管理,但是目前计算机发展较快,包括网络也已经普及,很多单位和用户也开始慢慢接触网络管理系统。纵观这些系统主要有以下几个特点:
(1)先进性:实现网络化管理。
(2)通用性:同一行业基本都能使用。
(3)方便性:通过网络就能完成管理工作。
(4)及时性:信息更新及时。
(5)可扩展性:可根据需要进行模块的增加。
(6)安全性:对单位、用户等信息进行加密。
截至如今,互联网已经深入人们的生活,智能手机、笔记本电脑等已经是人们获取信息的主要工具,这是一个沟通无限的时代,因此,利用网络来进行汽车在线销售系统的管理也成为大势所趋,所以,开发一个汽车在线销售系统是必须的。
首先,通过引擎搜索或者查阅相关文献资料,了解了本系统开发的背景以及设计系统的意义所在,收集用户需求信息。其次,在开发工具上,最终确定选用Python平台来设计开发本系统,Mysql作为设计数据库的工具。即利用Python语言实现用户界面,并同数据库连接起来实现完整的通信功能。之后,设计出系统大致的功能模块。主要从方便系统用户和系统管理员的角度进行分析,明确该系统应该具有的功能。最终是测试系统,通过用例测试发现存在的问题并找到解决的方案。利用现有的开发平台,结合自己所学的知识,在老师的指导帮助下来完成该设计,确保系统的可用性、实用性。
本系统前端部分基于MVVM模式进行开发,采用B/S模式,后端部分基于python的Flask框架进行开发。
前端部分:前端框架采用了比较流行的渐进式JavaScript框架Vue.js。使用Vue-Router和Vuex实现动态路由和全局状态管理,Ajax实现前后端通信,Element UI组件库使页面快速成型,项目前端通过栅格布局实现响应式,可适应PC端、平板端、手机端等不同屏幕大小尺寸的完美布局展示。
后端部分:基于python语言以Flask作为开发框架,同时集成Redis,Echarts等相关技术。
Python 是一个高层次的脚本语言结合了解释性、编译性、互动性和面向对象的。Python 的设计,相比其他语言经常使用英文关键字和其他语言的一些标点符号,它具有比其他语言更有特色语法结构,具有很强的可读性。
解释型语言:类似于Python和Perl语言,这意味着开发过程中没有了编译这个环节。
交互式语言:可以在一个 Python 提示符 >>> 后直接执行代码。
面向对象语言:Python支持面向对象的风格或代码封装在对象的编程技术。
Flask是一个轻量级的可定制框架,使用Python语言编写,较其他同类型框架更为灵活、轻便、安全且容易上手。它可以很好地结合MVC模式进行开发,开发人员分工合作,小型团队在短时间内就可以完成功能丰富的中小型网站或Web服务的实现。另外,Flask还有很强的定制性,用户可以根据自己的需求来添加相应的功能,在保持核心功能简单的同时实现功能的丰富与扩展,其强大的插件库可以让用户实现个性化的网站定制,开发出功能强大的网站。
ECharts是一款基于JavaScript的数据可视化图表库,提供直观,生动,可交互,可个性化定制的数据可视化图表。ECharts最初由百度团队开源,并于2018年初捐赠给Apache基金会,成为ASF孵化级项目。2021年1月26日晚,Apache基金会官方宣布ECharts项目正式毕业。1月28日,ECharts 5线上发布会举行。主要功能:ECharts,一个使用 JavaScript 实现的开源可视化库,可以流畅的运行在 PC 和移动设备上,兼容当前绝大部分浏览器(IE8/9/10/11,Chrome,Firefox,Safari等),底层依赖矢量图形库 ZRender,提供直观,交互丰富,可高度个性化定制的数据可视化图表。
Mysql 经过多次的更新,功能层面已经非常的丰富和完善了,从Mysql4版本到5版本进行了比较大的更新,在商业的实际使用中取得了很好的实际应用效果。最新版本的Mysql支持对信息的压缩,同时还能进行加密能更好的满足对信息安全性的需求。同时经过系统的多次更新,数据库自身的镜像功能也得到了很大的增强,运行的流畅度和易用性方面有了不小的进步,驱动的使用和创建也更加的高效快捷。最大的变动还是进行了空间信息的显示优化,能更加方便的在应用地图上进行坐标的标注和运算。强大的备份功能也保证了用户使用的过程会更加安心,同时支持的Office特性还支持用户的自行安装和使用。在信息的显示形式上也进行了不小的更新,增加了两个非常使用的显示区,一个是信息区,对表格和文字进行了分类处理,界面的显示更加清爽和具体。第二是仪表的信息控件,能在仪表信息区进行信息的显示,同时还能进行多个信息的比对,为用户的实际使用带来了很大的便捷[8][9]。
针对本文中设计的选车可视化系统在实际的实现过程中,最终选择Mysql数据库的主要原因在于在企业的应用系统应用及开发的过程中会存在大量的数据库比较频繁的操作,而且数据的安全性要求也是非常的高。综合这些因素,最终选择安全性系数比较高的Mysql来对选车可视化系统后台数据进行存储操作。
数据库管理系统的总体结构图如下图所示。

图2-1 数据库组成结构
B/S架构采取浏览器请求,服务器响应的工作模式。
用户可以通过浏览器去访问Internet上由Web服务器产生的文本、数据、图片、动画、视频点播和声音等信息;
而每一个Web服务器又可以通过各种方式与数据库服务器连接,大量的数据实际存放在数据库服务器中;
从Web服务器上下载程序到本地来执行,在下载过程中若遇到与数据库有关的指令,由Web服务器交给数据库服务器来解释执行,并返回给Web服务器,Web服务器又返回给用户。在这种结构中,将许许多多的网连接到一块,形成一个巨大的网,即全球网。而各个企业可以在此结构的基础上建立自己的Internet。
在 B/S 模式中,用户是通过浏览器针对许多分布于网络上的服务器进行请求访问的,浏览器的请求通过服务器进行处理,并将处理结果以及相应的信息返回给浏览器,其他的数据加工、请求全部都是由Web Server完成的。通过该框架结构以及植入于操作系统内部的浏览器,该结构已经成为了当今软件应用的主流结构模式。

技术性方面,采用当前主流的Python技术进行系统主体框架的搭建,Flask框架结合Echarts可视化大屏,实现前台页面的设计与美观调整,以上技术,均由本人经过系统学习,并且都是在课程设计中实践过的,可以使得开发更加便捷和系统。从技术角度看,这个系统是完全可以实现的。
实用性方面,本次设计的主要任务是在选车可视化系统内方便用户获取综合汽车信息,符合当前用户的需求。从用户角度出发,同时也考虑系统运营成本和人力资源,采用网络上的便捷方式,实现线上业务,使得业务流程更系统,也更方便用户的体验,比较实用。
经济性方面,由于本课题中设计的选车可视化系统的主要目的是为了能够更加方便及快捷的进行信息的查询管理及检索服务,也就是能够可以直接投入使用的信息化软件。系统的主要成本主要是集中在对使用数据后期继续维护及其管理更新这个操作上。但是一旦系统投入到实际的运行及使用之后就能够很好的提高信息查询检索的效率,同时也需要有效的保证查询者的信息方面的安全性,同时这个选车可视化系统所带来的实际应用方面的价值是远远的超过了实际系统进行开发与维护方面的成本,因此,从经济上来说开发这个软件是可行的。
选车可视化系统的功能主要分为用户和管理员,实现首页,网站管理(轮播图,通知公告),人员管理(普通用户、管理员),内容管理(汽车资讯、资讯分类),模块管理(销量数据、汽车信息、品牌销量、车型销量、价格走势、价位销量),个人管理等功能模块。
注册用户的功能如下:
首页,通知公告汽车资讯、个人账户、个人收藏、汽车信息等。
管理员功能如下:
后台首页,网站管理(轮播图,通知公告),人员管理(普通用户、管理员),内容管理(汽车资讯、资讯分类),模块管理(销量数据、汽车信息、品牌销量、车型销量、价格走势、价位销量),个人管理等功能模块。
首先主要考虑的是系统功能软件,在具体设计的环节上,是不是能够较好的满足各类用户的基本功能需求,如果不能较好的满足用户需求,那么这个系统的存在是没有价值的。软件系统的非功能性求分析,从7个方面展开,一个是性能分析,针对系统;一个是安全分析,针对系统,一个是完整度分析,针对系统,一个是可维护分析,针对系统,一个是可扩展性分析,针对系统,一个是适应业务的性能分析。面对选车可视化系统存在的性能、安全、扩展、完整度等7个方面性能综合比对分析后发现,需要相应的非功能性需求分析。
安全性对每一个系统来说都是非常重要的。安全性很好的系统可以保护企业的信息和用户的信息不被窃取。提高系统的安全性不仅是对用户的负责,更是对企业的负责。尤其针对于选车可视化系统来说,必须要有很好的安全性来保障整个系统。
系统具有对使用者有权限控制,针对角色的不通限制使用者的权限,以此来确保系统的安全性。
数据库中的数据是从外界输入的,当数据的输入时,由于种种原因,输入的数据会无效,或者是脏数据。因此,怎样保证输入的数据符合规定,成为了数据库系统,尤其是多用户的关系数据库系统首要关注的问题。
因此,在写入数据库时,要保证数据完整性、正确性和一致性。
对系统的数据流进行分析,系统的使用者分为两类,普通用户,管理员。系统主要对界面信息传送,登录信息的验证,注册信息的接收,用户各种操作的响应做处理。
系统顶层数据流图如下图所示。

图3-1 顶层数据流图
要判断用户是是什么身份,是根据登录的数据来判断后,跳转到对应的功能界面。在系统的内部用户就可以对数据进行操作,数据库中心就可以接收到系统传输的有效数据流来对数据sql语句进行对应操作。
系统可以分为前台和后台两部分,每一种操作后系统都返回操作结果。前台和后台的数据连接主要通过数据库,即分别对数据库做不同的操作。
本选车可视化系统的架构设计主要分为可以3层,主要有Web层,业务层,Model层。其中web层还包括View层和Controller层,Model层包括元数据扩展层和数据访问层。
系统架构如下图所示。

图4-1 系统架构
选车可视化系统总体分为注册用户模块,管理员模块。
两个模块表现上是分别独立存在,但是访问的数据库是一样的。每一个模块的功能都是根据先前完成的需求分析,并查阅相关资料后整理制作的。
综上所述,系统功能结构图如下图所示。

图4-2 系统功能结构图
登录模块:登录模块是进入系统的入口,所有用户必须登录后才能访问系统。登录需要输入用户名和密码,如果多次尝试登录需要输入验证码。登录时需要选择用户的角色,是一般用户还是管理员登录等。登录成功后,会通过数据库获取用户的权限,并跳转至用户的主页面。
管理员管理模块:后台首页,网站管理(轮播图,通知公告),人员管理(普通用户、管理员),内容管理(汽车资讯、资讯分类),模块管理(销量数据、汽车信息、品牌销量、车型销量、价格走势、价位销量),个人管理等功能模块。
从前面可以分析到数据库中最重要的是汽车信息,用户信息,管理员信息。分析可以得到如下数据描述:
用户:用于记录用户的各种信息,包括用户名、密码、基本情况信息等数据项。
管理员:记录管理员的登录信息。包括用户名,密码,权限等数据项。
汽车信息:存储平台内的数据。包括车型、品牌、类型、价格等数据项。
根据前面的数据流程图,结合系统的功能模块设计,设计出符合系统的各信息实体。
系统ER图如下图所示。

图4-3 系统ER图
选车可视化系统所拥有的数据表如下:用户信息表,车位信息表等。
由于数据表较多,只展示系统主要数据表,如下表所示。
-
- 表access_token (登陆访问时长)
| 编号 | 名称 | 数据类型 | 长度 | 小数位 | 允许空值 | 主键 | 默认值 | 说明 |
| 1 | token_id | int | 10 | 0 | N | Y | 临时访问牌ID | |
| 2 | token | varchar | 64 | 0 | Y | N | 临时访问牌 | |
| 3 | info | text | 65535 | 0 | Y | N | ||
| 4 | maxage | int | 10 | 0 | N | N | 2 | 最大寿命:默认2小时 |
| 5 | create_time | timestamp | 19 | 0 | N | N | CURRENT_TIMESTAMP | 创建时间: |
| 6 | update_time | timestamp | 19 | 0 | N | N | CURRENT_TIMESTAMP | 更新时间: |
| 7 | user_id | int | 10 | 0 | N | N | 0 | 用户编号: |
| 编号 | 名称 | 数据类型 | 长度 | 小数位 | 允许空值 | 主键 | 默认值 | 说明 |
| 1 | article_id | mediumint | 8 | 0 | N | Y | 文章id:[0,8388607] | |
| 2 | title | varchar | 125 | 0 | N | Y | 标题:[0,125]用于文章和html的title标签中 | |
| 3 | type | varchar | 64 | 0 | N | N | 0 | 文章分类:[0,1000]用来搜索指定类型的文章 |
| 4 | hits | int | 10 | 0 | N | N | 0 | 点击数:[0,1000000000]访问这篇文章的人次 |
| 5 | praise_len | int | 10 | 0 | N | N | 0 | 点赞数 |
| 6 | create_time | timestamp | 19 | 0 | N | N | CURRENT_TIMESTAMP | 创建时间: |
| 7 | update_time | timestamp | 19 | 0 | N | N | CURRENT_TIMESTAMP | 更新时间: |
| 8 | source | varchar | 255 | 0 | Y | N | 来源:[0,255]文章的出处 | |
| 9 | url | varchar | 255 | 0 | Y | N | 来源地址:[0,255]用于跳转到发布该文章的网站 | |
| 10 | tag | varchar | 255 | 0 | Y | N | 标签:[0,255]用于标注文章所属相关内容,多个标签用空格隔开 | |
| 11 | content | longtext | 2147483647 | 0 | Y | N | 正文:文章的主体内容 | |
| 12 | img | varchar | 255 | 0 | Y | N | 封面图 | |
| 13 | description | text | 65535 | 0 | Y | N | 文章描述 |
| 编号 | 名称 | 数据类型 | 长度 | 小数位 | 允许空值 | 主键 | 默认值 | 说明 |
| 1 | type_id | smallint | 5 | 0 | N | Y | 分类ID:[0,10000] | |
| 2 | display | smallint | 5 | 0 | N | N | 100 | 显示顺序:[0,1000]决定分类显示的先后顺序 |
| 3 | name | varchar | 16 | 0 | N | N | 分类名称:[2,16] | |
| 4 | father_id | smallint | 5 | 0 | N | N | 0 | 上级分类ID:[0,32767] |
| 5 | description | varchar | 255 | 0 | Y | N | 描述:[0,255]描述该分类的作用 | |
| 6 | icon | text | 65535 | 0 | Y | N | 分类图标: | |
| 7 | url | varchar | 255 | 0 | Y | N | 外链地址:[0,255]如果该分类是跳转到其他网站的情况下,就在该URL上设置 | |
| 8 | create_time | timestamp | 19 | 0 | N | N | CURRENT_TIMESTAMP | 创建时间: |
| 9 | update_time | timestamp | 19 | 0 | N | N | CURRENT_TIMESTAMP | 更新时间: |
| 编号 | 名称 | 数据类型 | 长度 | 小数位 | 允许空值 | 主键 | 默认值 | 说明 |
| 1 | auth_id | int | 10 | 0 | N | Y | 授权ID: | |
| 2 | user_group | varchar | 64 | 0 | Y | N | 用户组: | |
| 3 | mod_name | varchar | 64 | 0 | Y | N | 模块名: | |
| 4 | table_name | varchar | 64 | 0 | Y | N | 表名: | |
| 5 | page_title | varchar | 255 | 0 | Y | N | 页面标题: | |
| 6 | path | varchar | 255 | 0 | Y | N | 路由路径: | |
| 7 | position | varchar | 32 | 0 | Y | N | 位置: | |
| 8 | mode | varchar | 32 | 0 | N | N | _blank | 跳转方式: |
| 9 | add | tinyint | 3 | 0 | N | N | 1 | 是否可增加: |
| 10 | del | tinyint | 3 | 0 | N | N | 1 | 是否可删除: |
| 11 | set | tinyint | 3 | 0 | N | N | 1 | 是否可修改: |
| 12 | get | tinyint | 3 | 0 | N | N | 1 | 是否可查看: |
| 13 | field_add | varchar | 500 | 0 | Y | N | 添加字段: | |
| 14 | field_set | varchar | 500 | 0 | Y | N | 修改字段: | |
| 15 | field_get | varchar | 500 | 0 | Y | N | 查询字段: | |
| 16 | table_nav_name | varchar | 500 | 0 | Y | N | 跨表导航名称: | |
| 17 | table_nav | varchar | 500 | 0 | Y | N | 跨表导航: | |
| 18 | option | text | 65535 | 0 | Y | N | 配置: | |
| 19 | create_time | timestamp | 19 | 0 | N | N | CURRENT_TIMESTAMP | 创建时间: |
| 20 | update_time | timestamp | 19 | 0 | N | N | CURRENT_TIMESTAMP | 更新时间: |
| 编号 | 名称 | 数据类型 | 长度 | 小数位 | 允许空值 | 主键 | 默认值 | 说明 |
| 1 | brand_sales_id | int | 10 | 0 | N | Y | 品牌销量ID | |
| 2 | automobile_brand | varchar | 64 | 0 | Y | N | 汽车品牌 | |
| 3 | sales_year | varchar | 64 | 0 | Y | N | 销售年份 | |
| 4 | sales_volumes | int | 10 | 0 | Y | N | 0 | 销售数量 |
| 5 | statistician | varchar | 64 | 0 | Y | N | 统计人员 | |
| 6 | statistical_remarks | varchar | 64 | 0 | Y | N | 统计备注 | |
| 7 | recommend | int | 10 | 0 | N | N | 0 | 智能推荐 |
| 8 | create_time | datetime | 19 | 0 | N | N | CURRENT_TIMESTAMP | 创建时间 |
| 9 | update_time | timestamp | 19 | 0 | N | N | CURRENT_TIMESTAMP | 更新时间 |
| 编号 | 名称 | 数据类型 | 长度 | 小数位 | 允许空值 | 主键 | 默认值 | 说明 |
| 1 | car_information_id | int | 10 | 0 | N | Y | 汽车信息ID | |
| 2 | car_model | varchar | 64 | 0 | Y | N | 汽车车型 | |
| 3 | automobile_brand | varchar | 64 | 0 | Y | N | 汽车品牌 | |
| 4 | guiding_price | int | 10 | 0 | Y | N | 0 | 指导价格 |
| 5 | automobile_country | varchar | 64 | 0 | Y | N | 汽车国别 | |
| 6 | body_structure | varchar | 64 | 0 | Y | N | 车身结构 | |
| 7 | vehicle_type | varchar | 64 | 0 | Y | N | 汽车类型 | |
| 8 | car_pictures | varchar | 255 | 0 | Y | N | 汽车图片 | |
| 9 | car_profile | text | 65535 | 0 | Y | N | 汽车简介 | |
| 10 | hits | int | 10 | 0 | N | N | 0 | 点击数 |
| 11 | praise_len | int | 10 | 0 | N | N | 0 | 点赞数 |
| 12 | recommend | int | 10 | 0 | N | N | 0 | 智能推荐 |
| 13 | create_time | datetime | 19 | 0 | N | N | CURRENT_TIMESTAMP | 创建时间 |
| 14 | update_time | timestamp | 19 | 0 | N | N | CURRENT_TIMESTAMP | 更新时间 |
| 编号 | 名称 | 数据类型 | 长度 | 小数位 | 允许空值 | 主键 | 默认值 | 说明 |
| 1 | collect_id | int | 10 | 0 | N | Y | 收藏ID: | |
| 2 | user_id | int | 10 | 0 | N | N | 0 | 收藏人ID: |
| 3 | source_table | varchar | 255 | 0 | Y | N | 来源表: | |
| 4 | source_field | varchar | 255 | 0 | Y | N | 来源字段: | |
| 5 | source_id | int | 10 | 0 | N | N | 0 | 来源ID: |
| 6 | title | varchar | 255 | 0 | Y | N | 标题: | |
| 7 | img | varchar | 255 | 0 | Y | N | 封面: | |
| 8 | create_time | timestamp | 19 | 0 | N | N | CURRENT_TIMESTAMP | 创建时间: |
| 9 | update_time | timestamp | 19 | 0 | N | N | CURRENT_TIMESTAMP | 更新时间: |
| 编号 | 名称 | 数据类型 | 长度 | 小数位 | 允许空值 | 主键 | 默认值 | 说明 |
| 1 | comment_id | int | 10 | 0 | N | Y | 评论ID: | |
| 2 | user_id | int | 10 | 0 | N | N | 0 | 评论人ID: |
| 3 | reply_to_id | int | 10 | 0 | N | N | 0 | 回复评论ID:空为0 |
| 4 | content | longtext | 2147483647 | 0 | Y | N | 内容: | |
| 5 | nickname | varchar | 255 | 0 | Y | N | 昵称: | |
| 6 | avatar | varchar | 255 | 0 | Y | N | 头像地址:[0,255] | |
| 7 | create_time | timestamp | 19 | 0 | N | N | CURRENT_TIMESTAMP | 创建时间: |
| 8 | update_time | timestamp | 19 | 0 | N | N | CURRENT_TIMESTAMP | 更新时间: |
| 9 | source_table | varchar | 255 | 0 | Y | N | 来源表: | |
| 10 | source_field | varchar | 255 | 0 | Y | N | 来源字段: | |
| 11 | source_id | int | 10 | 0 | N | N | 0 | 来源ID: |
| 编号 | 名称 | 数据类型 | 长度 | 小数位 | 允许空值 | 主键 | 默认值 | 说明 |
| 1 | hits_id | int | 10 | 0 | N | Y | 点赞ID: | |
| 2 | user_id | int | 10 | 0 | N | N | 0 | 点赞人: |
| 3 | create_time | timestamp | 19 | 0 | N | N | CURRENT_TIMESTAMP | 创建时间: |
| 4 | update_time | timestamp | 19 | 0 | N | N | CURRENT_TIMESTAMP | 更新时间: |
| 5 | source_table | varchar | 255 | 0 | Y | N | 来源表: | |
| 6 | source_field | varchar | 255 | 0 | Y | N | 来源字段: | |
| 7 | source_id | int | 10 | 0 | N | N | 0 | 来源ID: |
| 编号 | 名称 | 数据类型 | 长度 | 小数位 | 允许空值 | 主键 | 默认值 | 说明 |
| 1 | model_sales_id | int | 10 | 0 | N | Y | 车型销量ID | |
| 2 | car_model | varchar | 64 | 0 | Y | N | 汽车车型 | |
| 3 | sales_year | varchar | 64 | 0 | Y | N | 销售年份 | |
| 4 | sales_volumes | int | 10 | 0 | Y | N | 0 | 销售数量 |
| 5 | statistician | varchar | 64 | 0 | Y | N | 统计人员 | |
| 6 | statistical_remarks | varchar | 64 | 0 | Y | N | 统计备注 | |
| 7 | recommend | int | 10 | 0 | N | N | 0 | 智能推荐 |
| 8 | create_time | datetime | 19 | 0 | N | N | CURRENT_TIMESTAMP | 创建时间 |
| 9 | update_time | timestamp | 19 | 0 | N | N | CURRENT_TIMESTAMP | 更新时间 |
| 编号 | 名称 | 数据类型 | 长度 | 小数位 | 允许空值 | 主键 | 默认值 | 说明 |
| 1 | notice_id | mediumint | 8 | 0 | N | Y | 公告id: | |
| 2 | title | varchar | 125 | 0 | N | N | 标题: | |
| 3 | content | longtext | 2147483647 | 0 | Y | N | 正文: | |
| 4 | create_time | timestamp | 19 | 0 | N | N | CURRENT_TIMESTAMP | 创建时间: |
| 5 | update_time | timestamp | 19 | 0 | N | N | CURRENT_TIMESTAMP | 更新时间: |
| 编号 | 名称 | 数据类型 | 长度 | 小数位 | 允许空值 | 主键 | 默认值 | 说明 |
| 1 | ordinary_users_id | int | 10 | 0 | N | Y | 普通用户ID | |
| 2 | user_name | varchar | 64 | 0 | Y | N | 用户姓名 | |
| 3 | user_gender | varchar | 64 | 0 | Y | N | 用户性别 | |
| 4 | examine_state | varchar | 16 | 0 | N | N | 已通过 | 审核状态 |
| 5 | recommend | int | 10 | 0 | N | N | 0 | 智能推荐 |
| 6 | user_id | int | 10 | 0 | N | N | 0 | 用户ID |
| 7 | create_time | datetime | 19 | 0 | N | N | CURRENT_TIMESTAMP | 创建时间 |
| 8 | update_time | timestamp | 19 | 0 | N | N | CURRENT_TIMESTAMP | 更新时间 |
| 编号 | 名称 | 数据类型 | 长度 | 小数位 | 允许空值 | 主键 | 默认值 | 说明 |
| 1 | praise_id | int | 10 | 0 | N | Y | 点赞ID: | |
| 2 | user_id | int | 10 | 0 | N | N | 0 | 点赞人: |
| 3 | create_time | timestamp | 19 | 0 | N | N | CURRENT_TIMESTAMP | 创建时间: |
| 4 | update_time | timestamp | 19 | 0 | N | N | CURRENT_TIMESTAMP | 更新时间: |
| 5 | source_table | varchar | 255 | 0 | Y | N | 来源表: | |
| 6 | source_field | varchar | 255 | 0 | Y | N | 来源字段: | |
| 7 | source_id | int | 10 | 0 | N | N | 0 | 来源ID: |
| 8 | status | bit | 1 | 0 | N | N | 1 | 点赞状态:1为点赞,0已取消 |
| 编号 | 名称 | 数据类型 | 长度 | 小数位 | 允许空值 | 主键 | 默认值 | 说明 |
| 1 | price_trend_id | int | 10 | 0 | N | Y | 价格走势ID | |
| 2 | car_model | varchar | 64 | 0 | Y | N | 汽车车型 | |
| 3 | price_year | varchar | 64 | 0 | Y | N | 价格年份 | |
| 4 | car_price | int | 10 | 0 | Y | N | 0 | 汽车价格 |
| 5 | statistician | varchar | 64 | 0 | Y | N | 统计人员 | |
| 6 | statistical_remarks | varchar | 64 | 0 | Y | N | 统计备注 | |
| 7 | recommend | int | 10 | 0 | N | N | 0 | 智能推荐 |
| 8 | create_time | datetime | 19 | 0 | N | N | CURRENT_TIMESTAMP | 创建时间 |
| 9 | update_time | timestamp | 19 | 0 | N | N | CURRENT_TIMESTAMP | 更新时间 |
| 编号 | 名称 | 数据类型 | 长度 | 小数位 | 允许空值 | 主键 | 默认值 | 说明 |
| 1 | sales_data_id | int | 10 | 0 | N | Y | 销量数据ID | |
| 2 | car_ranking | varchar | 64 | 0 | Y | N | 汽车排名 | |
| 3 | car_model | varchar | 64 | 0 | Y | N | 汽车车型 | |
| 4 | automobile_brand | varchar | 64 | 0 | Y | N | 汽车品牌 | |
| 5 | guiding_price | varchar | 64 | 0 | Y | N | 指导价格 | |
| 6 | monthly_sales_volume | varchar | 64 | 0 | Y | N | 月销售量 | |
| 7 | annual_sales | varchar | 64 | 0 | Y | N | 年销售量 | |
| 8 | automobile_country | varchar | 64 | 0 | Y | N | 汽车国别 | |
| 9 | hedge_ratio | varchar | 64 | 0 | Y | N | 保值率 | |
| 10 | body_structure | varchar | 64 | 0 | Y | N | 车身结构 | |
| 11 | automobile_factory | varchar | 64 | 0 | Y | N | 汽车车厂 | |
| 12 | vehicle_type | varchar | 64 | 0 | Y | N | 汽车类型 | |
| 13 | recommend | int | 10 | 0 | N | N | 0 | 智能推荐 |
| 14 | create_time | datetime | 19 | 0 | N | N | CURRENT_TIMESTAMP | 创建时间 |
| 15 | update_time | timestamp | 19 | 0 | N | N | CURRENT_TIMESTAMP | 更新时间 |
| 编号 | 名称 | 数据类型 | 长度 | 小数位 | 允许空值 | 主键 | 默认值 | 说明 |
| 1 | sales_volume_at_price_id | int | 10 | 0 | N | Y | 价位销量ID | |
| 2 | price_grade | varchar | 64 | 0 | Y | N | 价位档次 | |
| 3 | sales_year | varchar | 64 | 0 | Y | N | 销售年份 | |
| 4 | sales_volumes | int | 10 | 0 | Y | N | 0 | 销售数量 |
| 5 | statistician | varchar | 64 | 0 | Y | N | 统计人员 | |
| 6 | statistical_remarks | varchar | 64 | 0 | Y | N | 统计备注 | |
| 7 | recommend | int | 10 | 0 | N | N | 0 | 智能推荐 |
| 8 | create_time | datetime | 19 | 0 | N | N | CURRENT_TIMESTAMP | 创建时间 |
| 9 | update_time | timestamp | 19 | 0 | N | N | CURRENT_TIMESTAMP | 更新时间 |
| 编号 | 名称 | 数据类型 | 长度 | 小数位 | 允许空值 | 主键 | 默认值 | 说明 |
| 1 | slides_id | int | 10 | 0 | N | Y | 轮播图ID: | |
| 2 | title | varchar | 64 | 0 | Y | N | 标题: | |
| 3 | content | varchar | 255 | 0 | Y | N | 内容: | |
| 4 | url | varchar | 255 | 0 | Y | N | 链接: | |
| 5 | img | varchar | 255 | 0 | Y | N | 轮播图: | |
| 6 | hits | int | 10 | 0 | N | N | 0 | 点击量: |
| 7 | create_time | timestamp | 19 | 0 | N | N | CURRENT_TIMESTAMP | 创建时间: |
| 8 | update_time | timestamp | 19 | 0 | N | N | CURRENT_TIMESTAMP | 更新时间: |
| 编号 | 名称 | 数据类型 | 长度 | 小数位 | 允许空值 | 主键 | 默认值 | 说明 |
| 1 | upload_id | int | 10 | 0 | N | Y | 上传ID | |
| 2 | name | varchar | 64 | 0 | Y | N | 文件名 | |
| 3 | path | varchar | 255 | 0 | Y | N | 访问路径 | |
| 4 | file | varchar | 255 | 0 | Y | N | 文件路径 | |
| 5 | display | varchar | 255 | 0 | Y | N | 显示顺序 | |
| 6 | father_id | int | 10 | 0 | Y | N | 0 | 父级ID |
| 7 | dir | varchar | 255 | 0 | Y | N | 文件夹 | |
| 8 | type | varchar | 32 | 0 | Y | N | 文件类型 |
| 编号 | 名称 | 数据类型 | 长度 | 小数位 | 允许空值 | 主键 | 默认值 | 说明 |
| 1 | user_id | mediumint | 8 | 0 | N | Y | 用户ID:[0,8388607]用户获取其他与用户相关的数据 | |
| 2 | state | smallint | 5 | 0 | N | N | 1 | 账户状态:[0,10](1可用|2异常|3已冻结|4已注销) |
| 3 | user_group | varchar | 32 | 0 | Y | N | 所在用户组:[0,32767]决定用户身份和权限 | |
| 4 | login_time | timestamp | 19 | 0 | N | N | CURRENT_TIMESTAMP | 上次登录时间: |
| 5 | phone | varchar | 11 | 0 | Y | N | 手机号码:[0,11]用户的手机号码,用于找回密码时或登录时 | |
| 6 | phone_state | smallint | 5 | 0 | N | N | 0 | 手机认证:[0,1](0未认证|1审核中|2已认证) |
| 7 | username | varchar | 16 | 0 | N | N | 用户名:[0,16]用户登录时所用的账户名称 | |
| 8 | nickname | varchar | 16 | 0 | Y | N | 昵称:[0,16] | |
| 9 | password | varchar | 64 | 0 | N | N | 密码:[0,32]用户登录所需的密码,由6-16位数字或英文组成 | |
| 10 | | varchar | 64 | 0 | Y | N | 邮箱:[0,64]用户的邮箱,用于找回密码时或登录时 | |
| 11 | email_state | smallint | 5 | 0 | N | N | 0 | 邮箱认证:[0,1](0未认证|1审核中|2已认证) |
| 12 | avatar | varchar | 255 | 0 | Y | N | 头像地址:[0,255] | |
| 13 | create_time | timestamp | 19 | 0 | N | N | CURRENT_TIMESTAMP | 创建时间: |
| 编号 | 名称 | 数据类型 | 长度 | 小数位 | 允许空值 | 主键 | 默认值 | 说明 |
| 1 | group_id | mediumint | 8 | 0 | N | Y | 用户组ID:[0,8388607] | |
| 2 | display | smallint | 5 | 0 | N | N | 100 | 显示顺序:[0,1000] |
| 3 | name | varchar | 16 | 0 | N | N | 名称:[0,16] | |
| 4 | description | varchar | 255 | 0 | Y | N | 描述:[0,255]描述该用户组的特点或权限范围 | |
| 5 | source_table | varchar | 255 | 0 | Y | N | 来源表: | |
| 6 | source_field | varchar | 255 | 0 | Y | N | 来源字段: | |
| 7 | source_id | int | 10 | 0 | N | N | 0 | 来源ID: |
| 8 | register | smallint | 5 | 0 | Y | N | 0 | 注册位置: |
| 9 | create_time | timestamp | 19 | 0 | N | N | CURRENT_TIMESTAMP | 创建时间: |
| 10 | update_time | timestamp | 19 | 0 | N | N | CURRENT_TIMESTAMP | 更新时间: |
从B/S架构的原理可知,选车可视化系统的各大模块的实现均需要对数据库的数据进行操作,具体包括查询数据、写入数据、更新数据和删除数据,因此,在开发各功能模块前,首先创建一个名称"conn.Python"的文件,该文件主要用于连接数据,以后对程序需要操作数据时,可能使用语句"<?Python reqiure_once('conn.Python');?>"调用就可以了。
该文件的代码如下:
<?Python
error_reporting(0);
//数据库链接文件
$host='127.0.0.1';//数据库服务器
$user='root';//数据库用户名
$password='';//数据库密码
$database='Pythonxsschsg7555AE10';//数据库名
$conn=@mysql_connect($host,$user,$password) or die('数据库连接失败!');
@mysql_select_db($database) or die('没有找到数据库!');
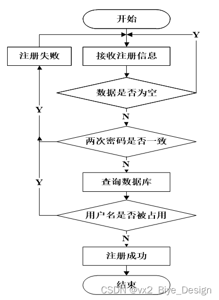
用户在填写数据的时候必须与注册页面上的验证相匹配否则会注册失败,注册页面的表单验证是通过JavaScript进行验证的,用户名的长度必须在5到16之间,邮箱必须带有@符号,密码和密码确认必须相同,你输入的密码,系统会根据你输入密码的强度给出指定的值,电话号码和身份证号码必须要求输入格式与系统要求相符合,当你前台验证通过的时候你点击注册,表单会将你输入的值通过name值传递给后台并保存到数据库中。Ps:物业用户由管理员添加无需注册。
用户注册流程图如下图所示。

图5-1用户注册流程图
注册用户注册界面如下图所示。
图5-2用户注册界面
主要由两部分组成,登录前的登录界面以及登录后的用户功能界面。登录界面,要求用户输入用户名和密码,当用户名和密码其中一个输入为空时,给出提示“用户名,密码不能为空”。获取用户名和密码后到数据库中查找,如果用户名存在,以及对应的密码正确,则登录成功,否则登录失败。登录失败后给出提示,并把焦点停在文本框中。登录成功后将该次会话的全局变量username设置为用户名。登录成功后进入会员的功能模块,主要有系统用户基本信息修改。退出功能是清除全局变量username的值,并跳回到首页。
登录流程图如下图所示。

图5-3登录流程图
用户登录界面如下图所示。
图5-4用户登录界面
-
- 通知公告模块的实现
用户登录成功之后可以查看管理员发布的公告信息,如下图所示:
图5-5通知公告界面
个人账户:用户登录进入个人账户可以对个人资料和密码进行修改操作,如下图所示:
图5-6个人账户界面
图5-7密码修改界面
-
- 汽车资讯模块的实现
注册用户登录系统后,在此页面可以查看推荐的汽车资讯信息,并通过筛选,排序等操作进行汽车资讯信息查询,进入资讯详情界面后可以进行收藏,点赞,评论等操作,过程如下图所示。
图5-8汽车资讯界面
图5-8详情界面
-
- 汽车信息模块的实现
注册用户登录系统后,在此页面可以查看推荐的汽车信息,并通过搜索(汽车类型、关键词、汽车品牌)等操作进行汽车信息的查询,进入汽车信息详情界面后可以看到汽车车型、汽车品牌、汽车国别、指导价格、车身结构、汽车简介等详细信息,过程如下图所示。
图5-9汽车信息界面

图5-10详情界面
-
- 模块管理的实现
管理员在汽车信息这一栏可通过搜索汽车品牌、汽车类型、汽车车型进行查看汽车车型、汽车品牌、汽车国别、指导价格、车身结构、汽车简介等详细信息。并可根据需要进行重置、删除、添加等相应操作,如下图所示。

图5-11汽车信息界面
图5-12添加界面
对任何系统而言,测试都是必不可少的环节,测试可以发现系统存在的很多问题,所有的软件上线之前,都应该进行充足的测试之后才能保证上线后不会Bug频发,或者是功能不满足需求等问题的发生。下面分别从单元测试,功能测试和用例测试来对系统进行测试以保证系统的稳定性和可靠性。
下表是系统登录功能测试用例,检测了用户名和密码的不同的输入情况,观察系统的响应情况。得出该功能达到了设计目标。
表6-1 系统登录功能测试用例
| 功能描述 | 用于系统登录 | |
| 测试目的 | 检测登录时的合法性检查 | |
| 测试数据以及操作 | 预期结果 | 实际结果 |
| 输入的用户名和密码带有非法字符 | 提示用户名或者密码错误 | 与预期结果一致 |
| 输入的用户名或者密码为空 | 提示用户名或者密码错误 | 与预期结果一致 |
| 输入的用户名和密码不存在 | 提示用户名或者密码错误 | 与预期结果一致 |
| 输入正确的用户名和密码 | 登录成功 | 与预期结果一致 |
下表是注册功能测试用例,检测了各种数据的输入情况,观察系统的响应情况。得出该功能达到了设计目标。
表6-2 注册功能测试用例
| 功能描述 | 用于用户注册 | |
| 测试目的 | 检测用户注册时的合法性检查 | |
| 测试数据以及操作 | 预期结果 | 实际结果 |
| 输入的手机号不合法 | 提示请输入正确的手机号码 | 与预期结果一致 |
| 输入的字段为空 | 提示必填项不能为空 | 与预期结果一致 |
| 输入的密码少于6位 | 提示密码必须为6-12位 | 与预期结果一致 |
| 输入的密码大于12位 | 提示密码必须为6-12位 | 与预期结果一致 |
下表是内容管理功能的测试用例,检测了内容管理中对景点信息的增加,删除,修改,查询操作是否成功运行。观察系统的响应情况,得出该功能也达到了设计目标,系统运行正确。
前置条件;用户登录系统。
表6-3 内容管理的测试用例
| 功能描述 | 用于内容管理 | |
| 测试目的 | 检测内容管理时的各种操作的运行情况 | |
| 测试数据以及操作 | 预期结果 | 实际结果 |
| 点击添加资讯信息,必填项合法输入,点击保存 | 提示添加成功 | 与预期结果一致 |
| 点击添加资讯信息,必填项输入不合法,点击保存 | 提示必填项不能为空 | 与预期结果一致 |
| 点击修改资讯信息,必填项修改为空,点击保存 | 提示必填项不能为空 | 与预期结果一致 |
| 点击修改资讯信息,必填项输入不合法,点击保存 | 提示必填项不能为空 | 与预期结果一致 |
| 点击删除资讯信息,选择景点信息删除 | 提示删除成功 | 与预期结果一致 |
| 点击搜索资讯信息,输入存在的景点信息名 | 查找出资讯信息 | 与预期结果一致 |
| 点击搜索资讯信息,输入不存在的景点信息名 | 不显示资讯信息 | 与预期结果一致 |
使用阿里云PTS(Performance Testing Service)性能测试服务对线上系统进行压力测试。线上服务器环境为:1核心CPU,1G内存,1Mbps公网带宽,Centos7.0操作系统。
压测过程中使用了2台并发机器,每台机器20个用户并发,对系统主页,登录,数据查询和数据维护等模块进行并发访问,测试结果是有40个用户并发时,数据管理相关页面的响应时间甚至达到了7s,通过查看服务器出网流量发现已经达到1381kb/s,可以看出服务器的带宽已经达到峰值,如果系统使用5Mbps的带宽,系统的响应时间和TPS将会大大增加。在整个测试的过程中,CPU的使用率占用仅8%,也提现出带宽瓶颈对系统的影响非常严重。
随着计算机互联网技术的迅猛发展,各行各业都已经实现采用计算机相关技术对日益放大的数据进行管理。该课题为设计一个选车可视化系统,主要是为了实现查阅汽车信息、销量数据、品牌销量等需求。
选车可视化系统的开发是以Python编程语言作为基础,在PythonStrom平台上完成编码工作,系统整体为B/S架构,数据库系统使用Mysql。文中详细分析了选车可视化系统的研究背景、研究目的和意义、开发工具和相关技术以及系统需求、系统详细设计和系统测试等等一系列内容。系统实现了选车可视化系统所需的一些基本功能,并通过测试对这些实现的功能进行了完善,进而提高了系统整体的实用性。整个系统的开发过程中大量使用了Python相关的知识以及前端开发使用的html和javascript等,同时涉及到了很多开源框架和组件,例如后台系统中运用的MVVM架构、Freemarker模板引擎等,前端运用的UI框架等。
系统投入运行时,各功能均运行正常。系统的每个界面的操作符合常规逻辑,对使用者来说操作简单,界面友好。整个系统的各个功能设计合理,体现了人性化。
但是由于自己在系统开发过程中对一些用到的相关知识和技术掌握不够牢固,再加上自身开发经验欠缺,因此系统在有些方面的功能还不够完善,考虑的不够全面,因此整个系统还有待日后逐步完善。
参考文献
[1]陈嘉发,黄宇靖.Flask框架在数据可视化的应用[J].福建电脑,2022,38(12):44-48.DOI:10.16707/j.cnki.fjpc.2022.12.009.
[2]杨玉虎,辛剑,李簪.可视化编程在汽车参数化设计中的研究与应用[J].汽车实用技术,2021,46(18):209-212.DOI:10.16638/j.cnki.1671-7988.2021.018.059.
[3]张亚芳, 师资培训 Python语言程序设计培训. 王永庆 主编,大兴教育年鉴,北京出版集团北京出版社,2020,419,年鉴.DOI:10.39059/y.cnki.ydxjy.2021.001732.
[4]Uzo Izuchukwu Uchenna,Ugboaja Samuel Gregory,Ugwu Nnaemeka Virginus,Obayi Adaora Angela,Chigbundu Kanu Enyioma,Nnamdi Johnson Ezeora,Okwueze Chisom Nneoma,Anigbogu Kenechukwu,Ihedioha Uchechi Michael. Exploring a Secured Socket Python Flask Framework in Real Time Communication System[J]. Asian Journal of Research in Computer Science,2021.
[5]陈剑雪. Python程序设计课程思政教学研究[C]//.华南教育信息化研究经验交流会2021论文汇编(三).,2021:93-95.DOI:10.26914/c.cnkihy.2021.000860.
[6]Ravishankar Chityala,Sridevi Pudipeddi. Image Processing and Acquisition using Python[M].CRC Press:2020-09-10.
[7]邹泓维,呼格吉勒,陈舒琦,金露.基于Python工具的汽车电商平台评论分析与可视化方法研究[J].物流科技,2020,43(02):59-63.DOI:10.13714/j.cnki.1002-3100.2020.02.018.
[8]毛婷婷,王向阳,孙海青,袁博.四通道可视化系统在汽车工程中的开发及应用[J].汽车工程师,2020(01):51-54.
[9]王讯韬.轨道车可视化运维管理系统[J].中国高新科技,2019(14):112-113.DOI:10.13535/j.cnki.10-1507/n.2019.14.42.
[10]王学军,胡畅霞,韩艳峰. Python程序设计[M].人民邮电出版社:, 201801.236.
[11]魏朋,何丽娴. 基于Python语言的空间数据处理[C]//.云南省测绘地理信息学会2016年学术年会论文集.,2016:683-688.
[12]闫俊伢,夏玉萍,陈实,荣宏,王文晶. Python编程基础[M].人民邮电出版社:, 201610.293.
[13]唐甜.数据可视化工具助力汽车和消费类产品建模[J].军民两用技术与产品,2016(07):39-40.DOI:10.19385/j.cnki.1009-8119.2016.07.078.
[14]Ravishankar Chityala,Sridevi Pudipeddi. Image Processing and Acquisition using Python[M].CRC Press:2015-09-15.
[15]刘浪,郭江涛,于晓强,宋燕红. Python基础教程[M].人民邮电出版社:, 201509.297.
[16]叶锋.Python最新Web编程框架Flask研究[J].电脑编程技巧与维护,2015(15):27-28.DOI:10.16184/j.cnki.comprg.2015.15.010.
[17]康计良. Python语言的可视化编程环境的设计与实现[D].西安电子科技大学,2012.
[18]应乐. 基于Python语言的MySQL数据库应用层水平分区技术的研究[D].复旦大学,2010.
[19]程瑶,吴振强.移动环境下Flask框架的改进[J].计算机工程与设计,2009,30(04):880-882+896.DOI:10.16208/j.issn1000-7024.2009.04.012.
[20]Haiyue Li,Jianjun Zhang. The construction of online course based on Python Language in cloud computing environment[P]. Proceedings of the 2016 2nd Workshop on Advanced Research and Technology in Industry Applications,2016.
致谢
本次设计历时3个月。在这个毕业设计中,它离不开指导教师的指导,使事情基本顺利。指导老师无论是在毕业设计历经中,还是在论文做完中都给了了我特别大的助益。另1个方面,教师认真负责的工作姿态,谨慎的教学精神厚重的理论水准都使我获益匪浅。他勤恳谨慎的教学育人学习姿态也给我留下了特别特别深的感觉。我从老师那里学到了很多东西。在理论和实践中,我的技能得到了特别大的提高。在此,特向教师表示由衷的感激。
经过对该毕业设计的全部研究和开发,我的系统研发经历了从需求分析到实现详细功能,再到最终测试和维护的特殊进展。让我对系统研发有了更深层次的认识。如今我的动手本领单独处理疑惑的本领也获取到了特别大的演练学习增多,这是这次毕业设计最好的收获。
最后,在整个系统开发过程中,我周围的同学和朋友给了我很多意见,所以我很快就确认了系统的商业思想。在次,我由衷的向他们表示感激。
免费领取项目源码,请关注❥点赞收藏并私信博主,谢谢~
2779

被折叠的 条评论
为什么被折叠?



