目录
本论文基于Spring Boot框架,设计并实现了一个高水平游泳运动员信息管理系统。该系统旨在提供一个全面、高效的管理平台,方便游泳运动员及其教练、俱乐部和管理者进行信息交流、数据管理和训练计划制定。
在系统设计方面,本文采用了分层架构和模块化开发的原则。通过使用Spring Boot框架,实现了系统的快速开发和部署,并集成了常用的技术组件,如Spring MVC、MyBatis等,以提供稳定可靠的系统功能。
系统主要包括以下模块:比赛项目管理、比赛信息管理、参赛报名管理、比赛分组管理、比赛成绩管理、违规信息管理、系统管理(轮播图管理)、公告消息管理、资源管理。
在系统实现方面,本文采用了MySQL数据库作为数据存储的后端,并利用MyBatis框架进行数据访问和操作。同时,前端界面使用了HTML、CSS和JavaScript等技术进行开发,以实现用户友好的交互体验。
通过对该系统的设计与实现,可以有效提升游泳运动员的信息管理效率和训练计划的制定准确性。同时,俱乐部和教练员能够更好地了解运动员的情况,并提供针对性的指导和支持。系统的管理员可以对系统进行全面的管理和监控,保障系统的安全和稳定运行。
关键词:Spring Boot、游泳运动员、信息管理、系统设计
Abstract
This paper designs and implements a high-level swimmer information management system based on the Spring Boot framework. The system aims to provide a comprehensive and efficient management platform that facilitates information exchange, data management, and training plan development among swimmers, their coaches, clubs, and managers.
In terms of system design, this article adopts the principles of layered architecture and modular development. By using the Spring Boot framework, the system has been rapidly developed and deployed, and commonly used technical components such as Spring MVC, MyBatis, etc. have been integrated to provide stable and reliable system functionality.
The system mainly includes the following modules: competition project management, competition information management, competition registration management, competition grouping management, competition result management, violation information management, system management (carousel management), announcement message management, and resource management.
In terms of system implementation, this article uses MySQL database as the backend for data storage and utilizes the MyBatis framework for data access and operation. Meanwhile, the front-end interface is developed using technologies such as HTML, CSS, and JavaScript to achieve a user-friendly interactive experience.
By designing and implementing this system, the efficiency of information management and the accuracy of training plan formulation for swimmers can be effectively improved. At the same time, clubs and coaches can better understand the situation of athletes and provide targeted guidance and support. The system administrator can comprehensively manage and monitor the system, ensuring its security and stable operation.
Keywords: Spring Boot, swimmer, information management, system design
1 绪论
1.1 选题背景与意义
在现代社会,游泳作为一项重要的体育运动,越来越受到人们的关注和参与。高水平游泳运动员的培养和管理成为许多俱乐部和组织的重要任务。然而,传统的手工管理方式已经无法满足对于高水平游泳运动员信息管理的需求。因此,设计并实现一个基于Spring Boot的高水平游泳运动员信息管理系统具有重要的实践意义。
通过引入信息管理系统,可以实现游泳运动员的注册、登录和个人信息管理等功能,简化了信息的查询和更新过程,提高了管理效率。管理员可以通过后台管理系统进行系统用户、比赛项目、比赛信息、参赛报名、比赛分组、比赛成绩、违规信息等内容的管理,使得管理工作更加高效。系统中的公告消息和游泳资讯模块能够方便地向游泳运动员提供最新的消息和资讯,包括比赛信息、赛事安排、技术指导等。同时,游泳运动员也可以通过个人中心模块进行参赛报名、查看比赛分组、记录比赛成绩等,实现信息共享和交流。
通过系统的设计与实现,游泳运动员能够更加便捷地进行登陆注册、查看首页内容、阅读公告消息、获取游泳资讯、报名参赛、管理个人信息等操作,提升了管理体验。管理员通过后台管理系统,可以方便地进行轮播图管理、公告消息管理、资源管理等操作,提高了管理效率和灵活性。
通过系统的辅助,游泳运动员能够更好地管理个人信息、掌握比赛信息、参与比赛报名和分组等,从而提高自身的竞技水平。管理员能够更加科学地管理和指导比赛项目、比赛信息、参赛报名、比赛分组等,为游泳运动员提供优质的竞技环境和支持。
综上所述,基于Spring Boot的高水平游泳运动员信息管理系统的设计与实现对于提升游泳运动员管理效率、促进信息共享与交流、改善管理体验以及提升竞技水平具有重要的背景和意义。
目前基于Spring Boot的高水平游泳运动员信息管理系统的设计与实现已经引起了广泛的研究兴趣。以下是当前的研究现状:
(1)系统需求分析与功能设计: 许多研究人员关注系统的需求分析和功能设计,以确保系统能够满足游泳运动员信息管理的实际需求。他们通过对用户需求的调研和分析,设计出合理且功能完善的系统模块。
(2)数据库设计与管理: 数据库设计是系统设计中的重要一环。研究人员关注如何建立适当的数据库结构来存储和管理游泳运动员的信息。他们使用关系型数据库或非关系型数据库,并利用数据库管理工具进行数据的增删改查操作。
(3)用户界面设计与体验优化: 研究人员致力于提供友好且易于使用的用户界面,以便用户可以方便地浏览和管理游泳运动员的信息。他们考虑到不同用户群体的需求,并通过用户体验优化来提升系统的易用性和用户满意度。
(4)系统性能优化与安全性保障: 高水平游泳运动员信息管理系统需要处理大量的数据和复杂的计算任务。研究人员关注系统的性能优化,通过合理的算法设计和技术手段提升系统的响应速度和并发处理能力。同时,他们也重视系统的安全性保障,采取措施防止数据泄露、非法访问等安全问题。
(5)系统集成与拓展性: 研究人员关注系统的集成问题,如何与其他相关系统进行数据交互和信息共享。他们还关注系统的拓展性,如何方便地添加新功能模块或扩展现有模块,以适应不断变化的需求。
(6)实际应用与评估: 部分研究人员已经将其设计与实现的高水平游泳运动员信息管理系统应用于实际场景中,并进行了评估和改进。他们通过用户反馈和性能测试等方式,验证系统的实用性和有效性,并提出改进建议。
总体而言,基于Spring Boot的高水平游泳运动员信息管理系统的设计与实现已经取得了一定的研究进展,但仍有待进一步的研究和完善。未来的研究可以从系统可扩展性、智能化分析等方面展开,以提升系统的功能和性能。
论文将分层次经行编排,除去论文摘要致谢文献参考部分,正文部分还会对系统需求做出分析,以及阐述大体的设计和实现的功能,最后罗列部分调测记录,论文主要架构如下:
第一章:引言。第一章主要介绍了课题研究的背景和意义,系统开发的研究现状和本文的研究内容与主要工作。
第二章:系统需求分析。主要从系统的用户、功能等方面进行需求分析。
第三章:系统设计。主要对系统框架、系统功能模块、数据库进行功能设计。
第四章:系统实现。主要介绍了系统框架搭建、系统界面的实现。
第五章:系统测试。主要对系统的部分界面进行测试并对主要功能进行测试
2系统分析
系统分析是开发一个项目的先决条件,通过系统分析可以很好的了解系统的主体用户的基本需求情况,同时这也是项目的开发的原因。进而对系统开发进行可行性分析,通常包括技术可行性、经济可行性等,可行性分析同时也是从项目整体角度进行的分析。然后就是对项目的具体需求进行分析,分析的手段一般都是通过用户的用例图来实现。接下来会进行详细的介绍。
2.1 可行性分析
经济可行性在此仅代表平台的运维成本,开发成本不在此考虑。
目前该模式下的相关系统的数量日益增多,信息管理系统的平民化、普及化使用户人数呈上升趋势,当用户人数庞大了,运维成本可以由广告费进行填补,包括开发成本。
所以经济可行性没有问题。
(2)操作可行性:
此次项目设计参考了几个该模式下系统的开发案例,对他们的操作界面分析,将众多案例结合在一起,突出以人为本简化操作,所以具有基本计算机知识的人都会操作本项目。
因此操作可行性也没有问题。
(3)技术可行性:
技术可行性指的是对于搭建框架的可行性,以及有更优秀的技术出现时系统的技术更新换代的纳新性如何,开发时间成本费用比如何。
现有的JAVA语言能够迎合所有系统的搭建。开发这个高水平游泳运动员信息管理系统的时候我采用了JAVA+SpringBoot用以运行整体程序。
综上所述技术可行性也没有问题。
2.2.1系统开发流程
基于springboot的高水平游泳运动员信息管理系统开发时,首先进行需求分析,进而对系统进行总体的设计规划,设计系统功能模块,数据库的选择等,本系统的开发流程如图2-1所示。

图2-1系统开发流程图
2.2.2 用户登录流程
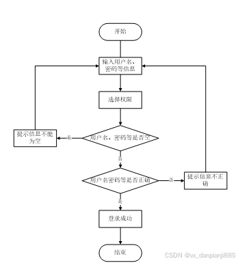
为了保证系统的安全性,要使用本系统对系统信息进行管理,必须先登陆到系统中。如图2-2所示。

图2-2 登录流程图
2.2.3 系统操作流程
用户打开并进入系统后,会先显示登录界面,输入正确的用户名和密码,系统自动检测信息,若信息无误,则用户会进入系统功能界面,进行操作,否则会提示错误无法登录,操作流程如图2-3所示。

图2-3 系统操作流程图
2.2.4 添加信息流程
管理员可以对游泳资讯、比赛信息等进行信息的添加,用户可以对自己权限内的信息进行添加,输入信息后,系统会自行验证输入的信息和数据,若信息正确,会将其添加到数据库内,若信息有误,则会提示重新输入信息,添加信息流程如图2-4所示。

图2-4 添加信息流程图
2.2.5 修改信息流程
管理员可以对游泳资讯、比赛信息等进行的修改,用户可以对自己权限内的信息进行修改,首先进入修改信息界面,输入修改信息数据,系统进行数据的判断验证,修改信息合法则修改成功,信息更新至数据库,信息不合法则修改失败,重新输入。修改信息流程图如图2-5所示。

图2-5 修改信息流程图
2.2.6 删除信息流程
管理员可以对游泳资讯、比赛信息等进行信息的删除,对要删除的信息进行选中后,点击删除按钮,系统会询问是否确定,若点击确定,则系统会删除掉选中的信息,并在数据库内对信息进行删除,删除信息流程图如图2-6所示。

图2-6 删除信息流程图
2.3 系统功能分析
按照基于springboot的高水平游泳运动员信息管理系统的角色,系统划分为了运动员用户模块和管理员模块这两大部分。
登陆注册: 运动员可以通过注册账户和登录系统来使用系统的各项功能。
首页: 运动员登录后进入个人首页,显示最新的公告消息、比赛信息等内容,并提供快速导航入口。
公告消息: 运动员可以查看系统发布的公告消息,包括比赛通知、规则变更等信息。
游泳资讯: 运动员可以浏览系统提供的游泳相关资讯,了解行业动态和技术知识。
比赛信息: 运动员可以查看即将举行的比赛信息,包括比赛时间、地点、项目等详细信息。
我的账户: 运动员可以查看自己的账户信息,包括个人资料、参赛记录、成绩等。
个人中心: 运动员可以在个人中心进行以下操作:
个人首页:展示个人的基本信息和参赛成绩。
参赛报名:运动员可以报名参加即将举行的比赛。
比赛分组:查看自己所属的比赛分组信息。
比赛成绩:查看自己的比赛成绩,并与其他选手进行对比。
违规信息:查看自己的违规记录和处理情况。
收藏:收藏感兴趣的游泳资讯和比赛信息。
2.管理员角色:
后台首页: 管理员登录后进入后台首页,显示系统的数据统计和操作快捷入口。
系统用户: 管理员可以管理系统的用户,包括添加、修改、删除用户的权限和角色。
比赛项目管理: 管理员可以管理比赛的项目信息,包括添加、修改、删除比赛项目。
比赛信息管理: 管理员可以发布和管理比赛的详细信息,包括比赛时间、地点、参赛资格等。
参赛报名管理: 管理员可以管理运动员的参赛报名情况,包括审核报名申请、确认参赛资格等。
比赛分组管理: 管理员可以进行比赛的分组管理,根据不同标准将参赛选手划分到不同的分组中。
比赛成绩管理: 管理员可以录入和管理比赛的成绩信息,包括更新成绩、计算排名等。
违规信息管理: 管理员可以处理和管理运动员的违规记录,包括查看违规详情、处罚措施等。
系统管理: 管理员可以管理系统的配置信息,如轮播图管理,设置系统的轮播图内容和显示顺序。
公告消息管理: 管理员可以发布和管理系统的公告消息,包括编辑、删除公告内容。
资源管理: 管理员可以管理游泳资讯和资讯分类,包括添加、编辑、删除资讯和分类。
以上是基于Spring Boot的高水平游泳运动员信息管理系统的功能需求分析,通过这些功能,系统可以满足运动员和管理员在信息管理方面的需要。
基于springboot的高水平游泳运动员信息管理系统的非功能性需求比如系统的安全性怎么样,可靠性怎么样,性能怎么样,可拓展性怎么样等。具体可以表示在如下2-1表格中:
表2-1基于springboot的高水平游泳运动员信息管理系统非功能需求表
| 安全性 | 主要指基于springboot的高水平游泳运动员信息管理系统数据库的安装,数据库的使用和密码的设定必须合乎规范。 |
| 可靠性 | 可靠性是指基于springboot的高水平游泳运动员信息管理系统能够安装用户的指示进行操作,经过测试,可靠性90%以上。 |
| 性能 | 性能是影响基于springboot的高水平游泳运动员信息管理系统占据市场的必要条件,所以性能最好要佳才好。 |
| 可扩展性 | 比如数据库预留多个属性,比如接口的使用等确保了系统的非功能性需求。 |
| 易用性 | 用户只要跟着基于springboot的高水平游泳运动员信息管理系统的页面展示内容进行操作,就可以了。 |
| 可维护性 | 基于springboot的高水平游泳运动员信息管理系统开发的可维护性是非常重要的,经过测试,可维护性没有问题 |
2.4 系统用例分析
通过2.3功能的分析,得出了系统的用例图:
运动员用户角色用例如图2-7所示。

图2-7运动员用户角色用例图
管理员是维护整个基于springboot的高水平游泳运动员信息管理系统中所有数据信息的。管理员角色用例如图2-8所示。

图2-8基于springboot的高水平游泳运动员信息管理系统管理员角色用例图
本章主要通过对基于springboot的高水平游泳运动员信息管理系统的可行性分析、流程分析、功能需求分析、系统用例分析,确定整个系统要实现的功能。同时也为系统的代码实现和测试提供了标准。
3 系统总体设计
3.1 系统架构设计
本系统从架构上分为三层:表现层(UI)、业务逻辑层(BLL)以及数据层(DL)。

图3-1系统架构设计图
表现层(UI):又称UI层,主要完成本系统的UI交互功能,一个良好的UI可以打打提高用户的用户体验,增强用户使用本系统时的舒适度。UI的界面设计也要适应不同版本的高水平游泳运动员信息管理系统以及不同尺寸的分辨率,以做到良好的兼容性。UI交互功能要求合理,用户进行交互操作时必须要得到与之相符的交互结果,这就要求表现层要与业务逻辑层进行良好的对接。
业务逻辑层(BLL):主要完成本系统的数据处理功能。用户从表现层传输过来的数据经过业务逻辑层进行处理交付给数据层,系统从数据层读取的数据经过业务逻辑层进行处理交付给表现层。
数据层(DL):由于本系统的数据是放在服务端的mysql数据库中,因此本属于服务层的部分可以直接整合在业务逻辑层中,所以数据层中只有数据库,其主要完成本系统的数据存储和管理功能。
3.2 系统功能模块设计
在上一章节中主要对系统的功能性需求和非功能性需求进行分析,并且根据需求分析了本系统中的用例。那么接下来就要开始对本系统的架构、主要功能和数据库开始进行设计。基于springboot的高水平游泳运动员信息管理系统根据前面章节的需求分析得出,其总体设计模块图如图3-2所示。

图3-2系统功能模块图
数据库设计一般包括需求分析、概念模型设计、数据库表建立三大过程,其中需求分析前面章节已经阐述,概念模型设计有概念模型和逻辑结构设计两部分。
3.3.1 数据库概念结构设计
下面是整个基于springboot的高水平游泳运动员信息管理系统中主要的数据库表总E-R实体关系图。

图3-3 基于springboot的高水平游泳运动员信息管理系统总E-R关系图
通过上一小节中基于springboot的高水平游泳运动员信息管理系统中总E-R关系图上得出一共需要创建很多个数据表。在此我主要罗列几个主要的数据库表结构设计。
| 编号 | 名称 | 数据类型 | 长度 | 小数位 | 允许空值 | 主键 | 默认值 | 说明 |
| 1 | token_id | int | 10 | 0 | N | Y | 临时访问牌ID | |
| 2 | token | varchar | 64 | 0 | Y | N | 临时访问牌 | |
| 3 | info | text | 65535 | 0 | Y | N | ||
| 4 | maxage | int | 10 | 0 | N | N | 2 | 最大寿命:默认2小时 |
| 5 | create_time | timestamp | 19 | 0 | N | N | CURRENT_TIMESTAMP | 创建时间: |
| 6 | update_time | timestamp | 19 | 0 | N | N | CURRENT_TIMESTAMP | 更新时间: |
| 7 | user_id | int | 10 | 0 | N | N | 0 | 用户编号: |
| 编号 | 名称 | 数据类型 | 长度 | 小数位 | 允许空值 | 主键 | 默认值 | 说明 |
| 1 | article_id | mediumint | 8 | 0 | N | Y | 文章id:[0,8388607] | |
| 2 | title | varchar | 125 | 0 | N | Y | 标题:[0,125]用于文章和html的title标签中 | |
| 3 | type | varchar | 64 | 0 | N | N | 0 | 文章分类:[0,1000]用来搜索指定类型的文章 |
| 4 | hits | int | 10 | 0 | N | N | 0 | 点击数:[0,1000000000]访问这篇文章的人次 |
| 5 | praise_len | int | 10 | 0 | N | N | 0 | 点赞数 |
| 6 | create_time | timestamp | 19 | 0 | N | N | CURRENT_TIMESTAMP | 创建时间: |
| 7 | update_time | timestamp | 19 | 0 | N | N | CURRENT_TIMESTAMP | 更新时间: |
| 8 | source | varchar | 255 | 0 | Y | N | 来源:[0,255]文章的出处 | |
| 9 | url | varchar | 255 | 0 | Y | N | 来源地址:[0,255]用于跳转到发布该文章的网站 | |
| 10 | tag | varchar | 255 | 0 | Y | N | 标签:[0,255]用于标注文章所属相关内容,多个标签用空格隔开 | |
| 11 | content | longtext | 2147483647 | 0 | Y | N | 正文:文章的主体内容 | |
| 12 | img | varchar | 255 | 0 | Y | N | 封面图 | |
| 13 | description | text | 65535 | 0 | Y | N | 文章描述 |
| 编号 | 名称 | 数据类型 | 长度 | 小数位 | 允许空值 | 主键 | 默认值 | 说明 |
| 1 | type_id | smallint | 5 | 0 | N | Y | 分类ID:[0,10000] | |
| 2 | display | smallint | 5 | 0 | N | N | 100 | 显示顺序:[0,1000]决定分类显示的先后顺序 |
| 3 | name | varchar | 16 | 0 | N | N | 分类名称:[2,16] | |
| 4 | father_id | smallint | 5 | 0 | N | N | 0 | 上级分类ID:[0,32767] |
| 5 | description | varchar | 255 | 0 | Y | N | 描述:[0,255]描述该分类的作用 | |
| 6 | icon | text | 65535 | 0 | Y | N | 分类图标: | |
| 7 | url | varchar | 255 | 0 | Y | N | 外链地址:[0,255]如果该分类是跳转到其他网站的情况下,就在该URL上设置 | |
| 8 | create_time | timestamp | 19 | 0 | N | N | CURRENT_TIMESTAMP | 创建时间: |
| 9 | update_time | timestamp | 19 | 0 | N | N | CURRENT_TIMESTAMP | 更新时间: |
| 编号 | 名称 | 数据类型 | 长度 | 小数位 | 允许空值 | 主键 | 默认值 | 说明 |
| 1 | athlete_id | int | 10 | 0 | N | Y | 运动员ID | |
| 2 | athlete_name | varchar | 64 | 0 | Y | N | 运动员姓名 | |
| 3 | athlete_gender | varchar | 64 | 0 | Y | N | 运动员性别 | |
| 4 | athlete_age | varchar | 64 | 0 | Y | N | 运动员年龄 | |
| 5 | sports_level | varchar | 64 | 0 | Y | N | 运动等级 | |
| 6 | representative_unit | varchar | 64 | 0 | Y | N | 代表单位 | |
| 7 | examine_state | varchar | 16 | 0 | N | N | 已通过 | 审核状态 |
| 8 | user_id | int | 10 | 0 | N | N | 0 | 用户ID |
| 9 | create_time | datetime | 19 | 0 | N | N | CURRENT_TIMESTAMP | 创建时间 |
| 10 | update_time | timestamp | 19 | 0 | N | N | CURRENT_TIMESTAMP | 更新时间 |
| 编号 | 名称 | 数据类型 | 长度 | 小数位 | 允许空值 | 主键 | 默认值 | 说明 |
| 1 | auth_id | int | 10 | 0 | N | Y | 授权ID: | |
| 2 | user_group | varchar | 64 | 0 | Y | N | 用户组: | |
| 3 | mod_name | varchar | 64 | 0 | Y | N | 模块名: | |
| 4 | table_name | varchar | 64 | 0 | Y | N | 表名: | |
| 5 | page_title | varchar | 255 | 0 | Y | N | 页面标题: | |
| 6 | path | varchar | 255 | 0 | Y | N | 路由路径: | |
| 7 | position | varchar | 32 | 0 | Y | N | 位置: | |
| 8 | mode | varchar | 32 | 0 | N | N | _blank | 跳转方式: |
| 9 | add | tinyint | 3 | 0 | N | N | 1 | 是否可增加: |
| 10 | del | tinyint | 3 | 0 | N | N | 1 | 是否可删除: |
| 11 | set | tinyint | 3 | 0 | N | N | 1 | 是否可修改: |
| 12 | get | tinyint | 3 | 0 | N | N | 1 | 是否可查看: |
| 13 | field_add | text | 65535 | 0 | Y | N | 添加字段: | |
| 14 | field_set | text | 65535 | 0 | Y | N | 修改字段: | |
| 15 | field_get | text | 65535 | 0 | Y | N | 查询字段: | |
| 16 | table_nav_name | varchar | 500 | 0 | Y | N | 跨表导航名称: | |
| 17 | table_nav | varchar | 500 | 0 | Y | N | 跨表导航: | |
| 18 | option | text | 65535 | 0 | Y | N | 配置: | |
| 19 | create_time | timestamp | 19 | 0 | N | N | CURRENT_TIMESTAMP | 创建时间: |
| 20 | update_time | timestamp | 19 | 0 | N | N | CURRENT_TIMESTAMP | 更新时间: |
| 编号 | 名称 | 数据类型 | 长度 | 小数位 | 允许空值 | 主键 | 默认值 | 说明 |
| 1 | collect_id | int | 10 | 0 | N | Y | 收藏ID: | |
| 2 | user_id | int | 10 | 0 | N | N | 0 | 收藏人ID: |
| 3 | source_table | varchar | 255 | 0 | Y | N | 来源表: | |
| 4 | source_field | varchar | 255 | 0 | Y | N | 来源字段: | |
| 5 | source_id | int | 10 | 0 | N | N | 0 | 来源ID: |
| 6 | title | varchar | 255 | 0 | Y | N | 标题: | |
| 7 | img | varchar | 255 | 0 | Y | N | 封面: | |
| 8 | create_time | timestamp | 19 | 0 | N | N | CURRENT_TIMESTAMP | 创建时间: |
| 9 | update_time | timestamp | 19 | 0 | N | N | CURRENT_TIMESTAMP | 更新时间: |
| 编号 | 名称 | 数据类型 | 长度 | 小数位 | 允许空值 | 主键 | 默认值 | 说明 |
| 1 | comment_id | int | 10 | 0 | N | Y | 评论ID: | |
| 2 | user_id | int | 10 | 0 | N | N | 0 | 评论人ID: |
| 3 | reply_to_id | int | 10 | 0 | N | N | 0 | 回复评论ID:空为0 |
| 4 | content | longtext | 2147483647 | 0 | Y | N | 内容: | |
| 5 | nickname | varchar | 255 | 0 | Y | N | 昵称: | |
| 6 | avatar | varchar | 255 | 0 | Y | N | 头像地址:[0,255] | |
| 7 | create_time | timestamp | 19 | 0 | N | N | CURRENT_TIMESTAMP | 创建时间: |
| 8 | update_time | timestamp | 19 | 0 | N | N | CURRENT_TIMESTAMP | 更新时间: |
| 9 | source_table | varchar | 255 | 0 | Y | N | 来源表: | |
| 10 | source_field | varchar | 255 | 0 | Y | N | 来源字段: | |
| 11 | source_id | int | 10 | 0 | N | N | 0 | 来源ID: |
| 编号 | 名称 | 数据类型 | 长度 | 小数位 | 允许空值 | 主键 | 默认值 | 说明 |
| 1 | competition_events_id | int | 10 | 0 | N | Y | 比赛项目ID | |
| 2 | competition_events | varchar | 64 | 0 | Y | N | 比赛项目 | |
| 3 | create_time | datetime | 19 | 0 | N | N | CURRENT_TIMESTAMP | 创建时间 |
| 4 | update_time | timestamp | 19 | 0 | N | N | CURRENT_TIMESTAMP | 更新时间 |
| 编号 | 名称 | 数据类型 | 长度 | 小数位 | 允许空值 | 主键 | 默认值 | 说明 |
| 1 | competition_grouping_id | int | 10 | 0 | N | Y | 比赛分组ID | |
| 2 | competition_name | varchar | 64 | 0 | Y | N | 比赛名称 | |
| 3 | competition_events | varchar | 64 | 0 | Y | N | 比赛项目 | |
| 4 | competition_time | date | 10 | 0 | Y | N | 比赛时间 | |
| 5 | competition_venue | varchar | 64 | 0 | Y | N | 比赛地点 | |
| 6 | athlete | int | 10 | 0 | Y | N | 0 | 运动员 |
| 7 | athlete_name | varchar | 64 | 0 | Y | N | 运动员姓名 | |
| 8 | sports_level | varchar | 64 | 0 | Y | N | 运动等级 | |
| 9 | representative_unit | varchar | 64 | 0 | Y | N | 代表单位 | |
| 10 | competition_grouping | varchar | 64 | 0 | Y | N | 比赛分组 | |
| 11 | create_time | datetime | 19 | 0 | N | N | CURRENT_TIMESTAMP | 创建时间 |
| 12 | update_time | timestamp | 19 | 0 | N | N | CURRENT_TIMESTAMP | 更新时间 |
表competition_information (比赛信息)
| 编号 | 名称 | 数据类型 | 长度 | 小数位 | 允许空值 | 主键 | 默认值 | 说明 |
| 1 | competition_information_id | int | 10 | 0 | N | Y | 比赛信息ID | |
| 2 | competition_name | varchar | 64 | 0 | Y | N | 比赛名称 | |
| 3 | competition_events | varchar | 64 | 0 | Y | N | 比赛项目 | |
| 4 | competition_time | date | 10 | 0 | Y | N | 比赛时间 | |
| 5 | competition_venue | varchar | 64 | 0 | Y | N | 比赛地点 | |
| 6 | entry_requirements | varchar | 64 | 0 | Y | N | 参赛要求 | |
| 7 | cover_photo | varchar | 255 | 0 | Y | N | 封面图片 | |
| 8 | competition_introduction | longtext | 2147483647 | 0 | Y | N | 比赛简介 | |
| 9 | create_time | datetime | 19 | 0 | N | N | CURRENT_TIMESTAMP | 创建时间 |
| 10 | update_time | timestamp | 19 | 0 | N | N | CURRENT_TIMESTAMP | 更新时间 |
| 编号 | 名称 | 数据类型 | 长度 | 小数位 | 允许空值 | 主键 | 默认值 | 说明 |
| 1 | competition_results_id | int | 10 | 0 | N | Y | 比赛成绩ID | |
| 2 | competition_name | varchar | 64 | 0 | Y | N | 比赛名称 | |
| 3 | competition_events | varchar | 64 | 0 | Y | N | 比赛项目 | |
| 4 | competition_time | date | 10 | 0 | Y | N | 比赛时间 | |
| 5 | competition_venue | varchar | 64 | 0 | Y | N | 比赛地点 | |
| 6 | athlete | int | 10 | 0 | Y | N | 0 | 运动员 |
| 7 | athlete_name | varchar | 64 | 0 | Y | N | 运动员姓名 | |
| 8 | sports_level | varchar | 64 | 0 | Y | N | 运动等级 | |
| 9 | representative_unit | varchar | 64 | 0 | Y | N | 代表单位 | |
| 10 | competition_results | int | 10 | 0 | Y | N | 0 | 比赛成绩 |
| 11 | breaking_records | varchar | 64 | 0 | Y | N | 破纪录 | |
| 12 | flat_record | varchar | 64 | 0 | Y | N | 平记录 | |
| 13 | qrcode_img | varchar | 255 | 0 | N | N | 二维码图片 | |
| 14 | qrcode_title | varchar | 64 | 0 | N | N | 二维码标题 | |
| 15 | create_time | datetime | 19 | 0 | N | N | CURRENT_TIMESTAMP | 创建时间 |
| 16 | update_time | timestamp | 19 | 0 | N | N | CURRENT_TIMESTAMP | 更新时间 |
| 编号 | 名称 | 数据类型 | 长度 | 小数位 | 允许空值 | 主键 | 默认值 | 说明 |
| 1 | hits_id | int | 10 | 0 | N | Y | 点赞ID: | |
| 2 | user_id | int | 10 | 0 | N | N | 0 | 点赞人: |
| 3 | create_time | timestamp | 19 | 0 | N | N | CURRENT_TIMESTAMP | 创建时间: |
| 4 | update_time | timestamp | 19 | 0 | N | N | CURRENT_TIMESTAMP | 更新时间: |
| 5 | source_table | varchar | 255 | 0 | Y | N | 来源表: | |
| 6 | source_field | varchar | 255 | 0 | Y | N | 来源字段: | |
| 7 | source_id | int | 10 | 0 | N | N | 0 | 来源ID: |
| 编号 | 名称 | 数据类型 | 长度 | 小数位 | 允许空值 | 主键 | 默认值 | 说明 |
| 1 | notice_id | mediumint | 8 | 0 | N | Y | 公告id: | |
| 2 | title | varchar | 125 | 0 | N | N | 标题: | |
| 3 | content | longtext | 2147483647 | 0 | Y | N | 正文: | |
| 4 | create_time | timestamp | 19 | 0 | N | N | CURRENT_TIMESTAMP | 创建时间: |
| 5 | update_time | timestamp | 19 | 0 | N | N | CURRENT_TIMESTAMP | 更新时间: |
| 编号 | 名称 | 数据类型 | 长度 | 小数位 | 允许空值 | 主键 | 默认值 | 说明 |
| 1 | praise_id | int | 10 | 0 | N | Y | 点赞ID: | |
| 2 | user_id | int | 10 | 0 | N | N | 0 | 点赞人: |
| 3 | create_time | timestamp | 19 | 0 | N | N | CURRENT_TIMESTAMP | 创建时间: |
| 4 | update_time | timestamp | 19 | 0 | N | N | CURRENT_TIMESTAMP | 更新时间: |
| 5 | source_table | varchar | 255 | 0 | Y | N | 来源表: | |
| 6 | source_field | varchar | 255 | 0 | Y | N | 来源字段: | |
| 7 | source_id | int | 10 | 0 | N | N | 0 | 来源ID: |
| 8 | status | bit | 1 | 0 | N | N | 1 | 点赞状态:1为点赞,0已取消 |
表registration_for_competition (参赛报名)
| 编号 | 名称 | 数据类型 | 长度 | 小数位 | 允许空值 | 主键 | 默认值 | 说明 |
| 1 | registration_for_competition_id | int | 10 | 0 | N | Y | 参赛报名ID | |
| 2 | competition_name | varchar | 64 | 0 | Y | N | 比赛名称 | |
| 3 | competition_events | varchar | 64 | 0 | Y | N | 比赛项目 | |
| 4 | competition_time | date | 10 | 0 | Y | N | 比赛时间 | |
| 5 | competition_venue | varchar | 64 | 0 | Y | N | 比赛地点 | |
| 6 | entry_requirements | varchar | 64 | 0 | Y | N | 参赛要求 | |
| 7 | athlete | int | 10 | 0 | Y | N | 0 | 运动员 |
| 8 | athlete_name | varchar | 64 | 0 | Y | N | 运动员姓名 | |
| 9 | sports_level | varchar | 64 | 0 | Y | N | 运动等级 | |
| 10 | representative_unit | varchar | 64 | 0 | Y | N | 代表单位 | |
| 11 | registration_time | datetime | 19 | 0 | Y | N | 报名时间 | |
| 12 | create_time | datetime | 19 | 0 | N | N | CURRENT_TIMESTAMP | 创建时间 |
| 13 | update_time | timestamp | 19 | 0 | N | N | CURRENT_TIMESTAMP | 更新时间 |
| 编号 | 名称 | 数据类型 | 长度 | 小数位 | 允许空值 | 主键 | 默认值 | 说明 |
| 1 | sensitive_vocabulary_id | int | 10 | 0 | N | Y | 敏感词汇ID | |
| 2 | sensitive_vocabulary | varchar | 64 | 0 | Y | N | 敏感词汇 | |
| 3 | create_time | datetime | 19 | 0 | N | N | CURRENT_TIMESTAMP | 创建时间 |
| 4 | update_time | timestamp | 19 | 0 | N | N | CURRENT_TIMESTAMP | 更新时间 |
| 编号 | 名称 | 数据类型 | 长度 | 小数位 | 允许空值 | 主键 | 默认值 | 说明 |
| 1 | slides_id | int | 10 | 0 | N | Y | 轮播图ID: | |
| 2 | title | varchar | 64 | 0 | Y | N | 标题: | |
| 3 | content | varchar | 255 | 0 | Y | N | 内容: | |
| 4 | url | varchar | 255 | 0 | Y | N | 链接: | |
| 5 | img | varchar | 255 | 0 | Y | N | 轮播图: | |
| 6 | hits | int | 10 | 0 | N | N | 0 | 点击量: |
| 7 | create_time | timestamp | 19 | 0 | N | N | CURRENT_TIMESTAMP | 创建时间: |
| 8 | update_time | timestamp | 19 | 0 | N | N | CURRENT_TIMESTAMP | 更新时间: |
| 编号 | 名称 | 数据类型 | 长度 | 小数位 | 允许空值 | 主键 | 默认值 | 说明 |
| 1 | upload_id | int | 10 | 0 | N | Y | 上传ID | |
| 2 | name | varchar | 64 | 0 | Y | N | 文件名 | |
| 3 | path | varchar | 255 | 0 | Y | N | 访问路径 | |
| 4 | file | varchar | 255 | 0 | Y | N | 文件路径 | |
| 5 | display | varchar | 255 | 0 | Y | N | 显示顺序 | |
| 6 | father_id | int | 10 | 0 | Y | N | 0 | 父级ID |
| 7 | dir | varchar | 255 | 0 | Y | N | 文件夹 | |
| 8 | type | varchar | 32 | 0 | Y | N | 文件类型 |
| 编号 | 名称 | 数据类型 | 长度 | 小数位 | 允许空值 | 主键 | 默认值 | 说明 |
| 1 | user_id | mediumint | 8 | 0 | N | Y | 用户ID:[0,8388607]用户获取其他与用户相关的数据 | |
| 2 | state | smallint | 5 | 0 | N | N | 1 | 账户状态:[0,10](1可用|2异常|3已冻结|4已注销) |
| 3 | user_group | varchar | 32 | 0 | Y | N | 所在用户组:[0,32767]决定用户身份和权限 | |
| 4 | login_time | timestamp | 19 | 0 | N | N | CURRENT_TIMESTAMP | 上次登录时间: |
| 5 | phone | varchar | 11 | 0 | Y | N | 手机号码:[0,11]用户的手机号码,用于找回密码时或登录时 | |
| 6 | phone_state | smallint | 5 | 0 | N | N | 0 | 手机认证:[0,1](0未认证|1审核中|2已认证) |
| 7 | username | varchar | 16 | 0 | N | N | 用户名:[0,16]用户登录时所用的账户名称 | |
| 8 | nickname | varchar | 16 | 0 | Y | N | 昵称:[0,16] | |
| 9 | password | varchar | 64 | 0 | N | N | 密码:[0,32]用户登录所需的密码,由6-16位数字或英文组成 | |
| 10 | | varchar | 64 | 0 | Y | N | 邮箱:[0,64]用户的邮箱,用于找回密码时或登录时 | |
| 11 | email_state | smallint | 5 | 0 | N | N | 0 | 邮箱认证:[0,1](0未认证|1审核中|2已认证) |
| 12 | avatar | varchar | 255 | 0 | Y | N | 头像地址:[0,255] | |
| 13 | open_id | varchar | 255 | 0 | Y | N | 针对获取用户信息字段 | |
| 14 | create_time | timestamp | 19 | 0 | N | N | CURRENT_TIMESTAMP | 创建时间: |
| 15 | vip_level | varchar | 255 | 0 | Y | N | 会员等级 | |
| 16 | vip_discount | double | 11 | 2 | Y | N | 0.00 | 会员折扣 |
| 编号 | 名称 | 数据类型 | 长度 | 小数位 | 允许空值 | 主键 | 默认值 | 说明 |
| 1 | group_id | mediumint | 8 | 0 | N | Y | 用户组ID:[0,8388607] | |
| 2 | display | smallint | 5 | 0 | N | N | 100 | 显示顺序:[0,1000] |
| 3 | name | varchar | 16 | 0 | N | N | 名称:[0,16] | |
| 4 | description | varchar | 255 | 0 | Y | N | 描述:[0,255]描述该用户组的特点或权限范围 | |
| 5 | source_table | varchar | 255 | 0 | Y | N | 来源表: | |
| 6 | source_field | varchar | 255 | 0 | Y | N | 来源字段: | |
| 7 | source_id | int | 10 | 0 | N | N | 0 | 来源ID: |
| 8 | register | smallint | 5 | 0 | Y | N | 0 | 注册位置: |
| 9 | create_time | timestamp | 19 | 0 | N | N | CURRENT_TIMESTAMP | 创建时间: |
| 10 | update_time | timestamp | 19 | 0 | N | N | CURRENT_TIMESTAMP | 更新时间: |
| 编号 | 名称 | 数据类型 | 长度 | 小数位 | 允许空值 | 主键 | 默认值 | 说明 |
| 1 | violation_information_id | int | 10 | 0 | N | Y | 违规信息ID | |
| 2 | competition_name | varchar | 64 | 0 | Y | N | 比赛名称 | |
| 3 | competition_events | varchar | 64 | 0 | Y | N | 比赛项目 | |
| 4 | competition_time | date | 10 | 0 | Y | N | 比赛时间 | |
| 5 | competition_venue | varchar | 64 | 0 | Y | N | 比赛地点 | |
| 6 | athlete | int | 10 | 0 | Y | N | 0 | 运动员 |
| 7 | athlete_name | varchar | 64 | 0 | Y | N | 运动员姓名 | |
| 8 | sports_level | varchar | 64 | 0 | Y | N | 运动等级 | |
| 9 | representative_unit | varchar | 64 | 0 | Y | N | 代表单位 | |
| 10 | violation_type | varchar | 64 | 0 | Y | N | 违规类型 | |
| 11 | create_time | datetime | 19 | 0 | N | N | CURRENT_TIMESTAMP | 创建时间 |
| 12 | update_time | timestamp | 19 | 0 | N | N | CURRENT_TIMESTAMP | 更新时间 |
整个基于springboot的高水平游泳运动员信息管理系统的需求分析主要对系统总体架构以及功能模块的设计,通过建立E-R模型和数据库逻辑系统设计完成了数据库系统设计。
4系统关键模块设计与实现
基于springboot的高水平游泳运动员信息管理系统的详细设计与实现主要是根据前面的需求分析和总体设计来设计页面并实现业务逻辑。主要从界面实现、业务逻辑实现这两部分进行介绍。
4.1前台用户功能模块
4.1.1 首页界面
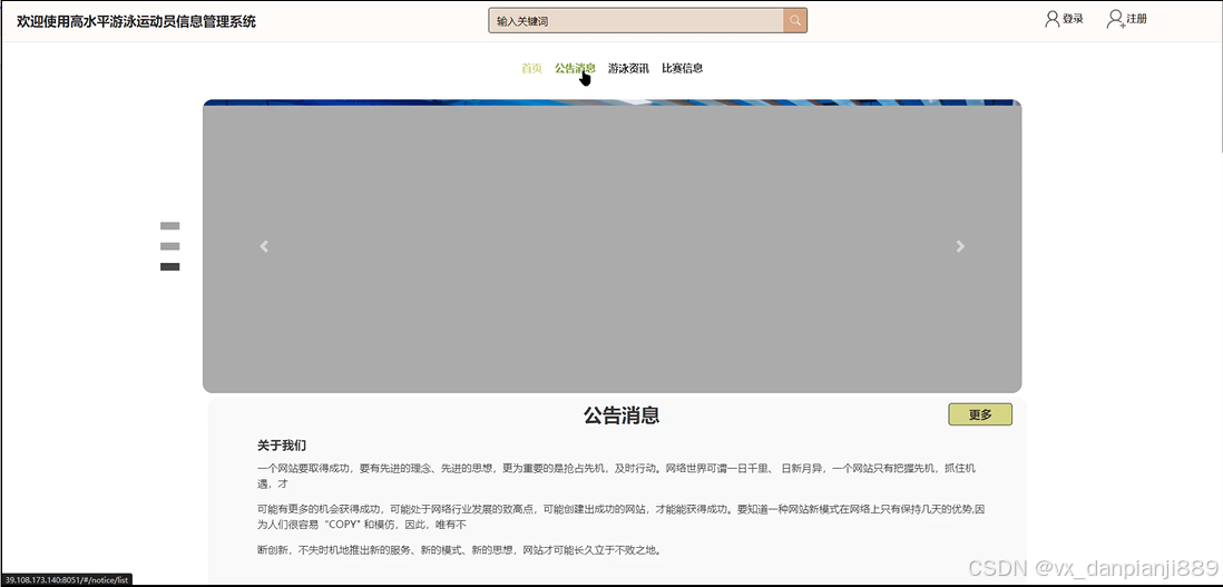
当进入基于springboot的高水平游泳运动员信息管理系统的时候,首先映入眼帘的是系统的导航栏,其主界面展示如下图4-1所示。
图4-1 首页界面图
4.1.2 用户登录界面
基于springboot的高水平游泳运动员信息管理系统中的注册后的用户是可以通过自己的账户名和密码进行登录的,当用户输入完整的自己的账户名和密码信息并点击“登录”按钮后,将会首先验证输入的有没有空数据,再次验证输入的账户名+密码和数据库中当前保存的用户信息是否一致,只有在一致后将会登录成功并自动跳转到基于springboot的高水平游泳运动员信息管理系统的首页中;否则将会提示相应错误信息,用户登录界面如下图4-2所示。
图4-2用户登录界面图
4.1.3 游泳资讯界面
当用户点击“游泳资讯”后,可以查看系统发布的游泳资讯列表,点击任意资讯可以进入资讯详情界面,用户可以查看、点赞、收藏、评论等。界面如下图4-3所示。
图4-3游泳资讯详情界面图
4.1.4 比赛信息界面
当用户点击“比赛信息”后,可以查看系统发布的所有比赛信息,在详情页面可以进行查看、报名、收藏、评论等操作,页面如图4-4所示。
图4-4 比赛信息详情界面图
4.1.5 报名界面
用户在比赛信息详情页面点击“报名”即可进入提交报名信息页面,填写相关信息后点击提交即可完成报名,界面如下图所示。
图4-5报名界面图
当用户点击“个人中心”后,运动员用户可以在个人中心查看参赛报名信息、比赛分组信息、比赛成绩、违规信息、收藏等。界面如下图所示。
图4-6个人中心界面图
4.2后台管理员功能模块
4.2.1 系统用户管理界面
基于springboot的高水平游泳运动员信息管理系统中的管理人员是可以对注册的运动员用户进行管理的,也可以对管理员进行管控。界面如下图4-7所示。
图4-7用户管理界面图
4.2.2 系统管理界面
管理员点击“系统管理”这一菜单会显示轮播图这一个子菜单,管理员可以对前台展示的轮播图进行设置,界面如下图4-8所示。
图4-8系统管理界面图
4.2.3 比赛信息管理界面
管理员点击“比赛信息管理”菜单,可以添加、查看、管理比赛信息。界面如下图所示。
图4-9比赛信息管理界面图
4.2.4 资源管理界面
当管理员点击“资源管理”这一菜单的时候,会出现游泳资讯+资讯分类这两个子菜单,可以对这两个模块进行增删改查操作。资源管理界面如下图所示。
图4-10资源管理界面图
4.2.5 通知公告管理界面
管理员点击“通知公告管理”这个菜单,可以对系统中的通知和公告进行管理,包括通知和公告的编辑、删除等操作。通知公告管理界面如下图所示。
图4-11通知公告管理界面图
5系统测试
系统开发到了最后一个阶段那就是系统测试,系统测试对软件的开发其实是非常有必要的。因为没什么系统一经开发出来就可能会尽善尽美,再厉害的系统开发工程师也会在系统开发的时候出现纰漏,系统测试能够较好的改正一些bug,为后期系统的维护性提供很好的支持。通过系统测试,开发人员也可以建立自己对系统的信心,为后期的系统版本的跟新提供支持。
5.2 系统测试用例
系统测试包括:用户登录功能测试、游泳资讯展示功能测试、游泳资讯添加、游泳资讯搜索、密码修改功能测试,如表5-1、5-2、5-3、5-4、5-5所示:
表5-1 用户登录功能测试表
| 用例名称 | 用户登录系统 |
| 目的 | 测试用户通过正确的用户名和密码可否登录功能 |
| 前提 | 未登录的情况下 |
| 测试流程 | 1) 进入登录页面 2) 输入正确的用户名和密码 |
| 预期结果 | 用户名和密码正确的时候,跳转到登录成功界面,反之则显示错误信息,提示重新输入 |
| 实际结果 | 实际结果与预期结果一致 |
游泳资讯查看功能测试:
表5-2游泳资讯查看功能测试表
| 用例名称 | 游泳资讯查看 |
| 目的 | 测试游泳资讯查看功能 |
| 前提 | 用户登录 |
| 测试流程 | 点击游泳资讯列表 |
| 预期结果 | 可以查看到所有游泳资讯 |
| 实际结果 | 实际结果与预期结果一致 |
管理员添加游泳资讯界面测试:
表5-3 管理员添加游泳资讯界面测试表
| 用例名称 | 游泳资讯添加测试用例 |
| 目的 | 测试游泳资讯添加功能 |
| 前提 | 管理员正常登录情况下 |
| 测试流程 | 1)管理员点击游泳资讯管理,然后点击游泳资讯添加,点击添加后并填写信息。 2)点击进行提交。 |
| 预期结果 | 提交以后,页面首页会显示新的游泳资讯 |
| 实际结果 | 实际结果与预期结果一致 |
游泳资讯搜索功能测试:
表5-4游泳资讯搜索功能测试表
| 用例名称 | 游泳资讯搜索测试 |
| 目的 | 测试游泳资讯搜索功能 |
| 前提 | 无 |
| 测试流程 | 1)在搜索框填入搜索关键字。 2)点击搜索按钮。 |
| 预期结果 | 页面显示包含有搜索关键字的游泳资讯 |
| 实际结果 | 实际结果与预期结果一致 |
密码修改功能测试:
表5-5 密码修改功能测试表
| 用例名称 | 密码修改测试用例 |
| 目的 | 测试管理员密码修改功能 |
| 前提 | 管理员用户正常登录情况下 |
| 测试流程 | 1)管理员密码修改并完成填写。 2)点击进行提交。 |
| 预期结果 | 使用新的密码可以登录 |
| 实际结果 | 实际结果与预期结果一致 |
5.3 系统测试结果
通过编写基于springboot的高水平游泳运动员信息管理系统的测试用例,已经检测完毕用户登录模块、游泳资讯查看模块、游泳资讯添加模块、游泳资讯搜索模块、密码修改功能测试,通过这5大模块为基于springboot的高水平游泳运动员信息管理系统的后期推广运营提供了强力的技术支撑。
结论
至此,基于springboot的高水平游泳运动员信息管理系统已经结束,在开发前做了许多的准备,在本系统的设计和开发过程中阅览和学习了许多文献资料,从中我也收获了很多宝贵的方法和设计思路,对系统的开发也起到了很重要的作用,系统的开发技术选用的都是自己比较熟悉的,比如VUE、JAVA语言、MYSQL,这些技术都是在以前的学习中学到了,其中许多的设计思路和方法都是在以前不断地学习中摸索出来的经验,其实对于我们来说工作量还是比较大的,但是正是由于之前的积累与准备,才能顺利的完成这个项目,由此看来,积累经验跟做好准备是十分重要的事情。
当然在该系统的设计与实现的过程中也离不开老师以及同学们的帮助,正是因为他们的指导与帮助,我才能够成功的在预期内完成了这个系统。同时在这个过程当中我也收获了很多东西,此系统也有需要改进的地方,但是由于专业知识的浅薄,并不能做到十分完美,希望以后有机会可以让其真正的投入到使用之中。
[1]田斌.基于SSM框架的宠物医院系统设计[J].无线互联科技,2023,20(14):69-71.
[2]戈俊,王莉莉.基于XML的简易运动员信息管理系统的设计与实现研究[J].体育科技文献通报,2023,31(05):231-234.DOI:10.19379/j.cnki.issn.1005-0256.2023.05.061.
[3]Imran M N ,Kanwal A ,Zhiyun Z , et al.SSM: Stylometric and semantic similarity oriented multimodal fake news detection[J].Journal of King Saud University - Computer and Information Sciences,2023,35(5):
[4]程书玲.基于SSM框架的健康管理系统的设计及实现[J].黑龙江科学,2023,14(08):140-143.
[5]张浩.SSM框架在Web应用开发中的设计与实现研究[J].电脑知识与技术,2023,19(08):52-54.DOI:10.14004/j.cnki.ckt.2023.0353.
[6]Badenes O R ,Navarro G V,Carrubi B D.How to choose the most suitable ERP for an SME: the ERP-SSM methodological proposal[J].International Journal of Technoentrepreneurship,2023,4(4):259-276.
[7]戴施伟,周凌珉,郑一泓.基于SSM框架和RabbitMQ技术的OJ系统的设计与实现[J].计算机时代,2022,(10):81-84+88.DOI:10.16644/j.cnki.cn33-1094/tp.2022.10.020.
[8]阮眩龙,张汉权,韦贵凡等.基于SSM框架的奖学金评定管理系统设计[J].电脑编程技巧与维护,2022,(08):106-109.DOI:10.16184/j.cnki.comprg.2022.08.025.
[9]Hongying Z .A Study on the Design of English Speaking Examination System Based on SSM Framework[J].Journal of Sensors,2022,2022
[10]宋锦华.基于SSM框架的在线教育平台设计与实现[J].电脑编程技巧与维护,2022,(05):27-29.DOI:10.16184/j.cnki.comprg.2022.05.048.
[11]樊云.基于云计算的运动训练管理系统设计[J].电子设计工程,2022,30(08):128-132.DOI:10.14022/j.issn1674-6236.2022.08.027.
[12]霍波,黄毅,蒋量等.冬季运动项目训练智能管理系统[J].实验技术与管理,2022,39(01):6-11+29.DOI:10.16791/j.cnki.sjg.2022.01.002.
[13]王江霖,黄彩霞,樊旭龙.基于SSM框架的网络资源共享平台的研究与实现[J].电脑知识与技术,2021,17(28):76-78.DOI:10.14004/j.cnki.ckt.2021.2999.
[14]强力,李灶娥,魏丹丹等.SSM框架下的果蔬信息管理系统设计[J].福建电脑,2021,37(09):99-101.DOI:10.16707/j.cnki.fjpc.2021.09.027.
[15]王柏炜.我国优秀残奥冰球运动员体能测评信息管理系统的设计与实现[D].南京体育学院,2021.DOI:10.27247/d.cnki.gnjtc.2021.000076.
[16]杜振中.高校运动信息管理系统在计算机视域下的设计与实现研究[J].现代电子技术,2020,43(24):105-109.DOI:10.16652/j.issn.1004-373x.2020.24.027.
[17]樊云.基于Web技术的体育运动教学管理系统设计[J].微型电脑应用,2020,36(05):50-52.
[18]张嘉焰.基于Beego框架的运动处方管理系统的设计与实现[D].华中科技大学,2020.DOI:10.27157/d.cnki.ghzku.2020.004196.
[19]袁俊杰.网络信息采集技术在北京冬奥会重点运动员成绩管理系统中的应用[C]//中国体育科学学会.第十一届全国体育科学大会论文摘要汇编.国家体育总局体育信息中心;,2019:2.DOI:10.26914/c.cnkihy.2019.031503.
[20]周洪韬.基于Andriod的体育运动训练信息管理系统设计[J].微型电脑应用,2019,35(08):140-142.
转眼间,大学生用户活便已经接近尾声,人面对着离别与结束,总是充满着不舍与茫然,我亦如此,仍记得那年秋天,我迫不及待的提前一天到了学校,面对学校巍峨的大门,我心里充满了期待:这里,就是我新生活的起点吗?那天,阳光明媚,学校的欢迎仪式很热烈,我面对着一个个对着我微笑的同学,仿佛一缕缕阳光透过胸口照进了我心里,同时,在那天我认识可爱的室友,我们携手共同度过了这难忘的两年。如今,我望着这篇论文的致谢,不禁又要问自己:现在,我们就要说再见了吗?
感慨莫名,不知所言。遥想当初刚来学校的时候,心里总是想着工科学校会过于板正,会缺乏一些柔情,当时心里甚至有一点点排斥,但是随着我对学校的慢慢认识与了解,我才认识到了她的美丽,她的柔情,并且慢慢的喜欢上了这个校园,但是时间太快了,快到我还没有好好体会她的美丽便要离开了,但是她带给我的回忆,永远不会离开我,也许真正离开那天我的眼里会满含泪水,我不是因为难过,我只是想将她的样子映在我的泪水里,刻在我的心里。最后,感谢我的老师们,是你们教授了我们知识与做人的道理;感谢我的室友们,是你们陪伴了我如此之久;感谢每位关心与支持我的人。
少年,追风赶月莫停留,平荒尽处是春山。
免费领取项目源码,请关注❥点赞收藏并私信博主,谢谢~

被折叠的 条评论
为什么被折叠?



