摘 要
信息化社会内需要与之针对性的信息获取途径,但是途径的扩展基本上为人们所努力的方向,由于站在的角度存在偏差,人们经常能够获得不同类型信息,这也是技术最为难以攻克的课题。针对民宿信息管理系统等问题,对民宿管理系统进行研究分析,然后开发设计出民宿管理系统以解决问题。
民宿管理系统主要功能模块包括用户管理、通知公告、客户信息、房间信息、入住信息等,采取面对对象的开发模式进行软件的开发和硬体的架设,能很好的满足实际使用的需求,完善了对应的软体架设以及程序编码的工作,采取MySQL作为后台数据的主要存储单元,采用SSM框架进行业务系统的编码及其开发,实现了本系统的全部功能。本次报告,首先分析了研究的背景、作用、意义,为研究工作的合理性打下了基础。针对民宿管理系统的各项需求以及技术问题进行分析,证明了系统的必要性和技术可行性,然后对设计系统需要使用的技术软件以及设计思想做了基本的介绍,最后来实现民宿管理系统和部署运行使用它。
关键词:民宿管理系统;SSM;MySQL框架数据库
Abstract
In the information-based society, we need the specific information access, but the expansion of access is basically the direction that people strive for. Because of the deviation of the angle from which people stand, people can often get different types of information, this is also the most difficult technology to overcome the problem. Aiming at the problems of information management system, this paper studies and analyzes the management system, and then designs the management system to solve the problems.
The main function modules of the management system include user management, notice announcement, customer information, room information, check-in information, etc. , can well meet the needs of actual use, perfect the corresponding software architecture and program coding work, take MySQL as the main storage unit of background data, the SSM framework is used to encode and develop the business system, and all the functions of the system are realized. This report, first of all, analyzes the background, role and significance of the study, and lays a foundation for the rationality of the research work. Based on the analysis of the requirements and technical problems of the management system of residential quarters, the necessity and technical feasibility of the system are proved, finally, to implement the hostel management system and deployment run using it.
Key words:Residential management system; SSM; mysql Framework Database
目录
4.9 用户管理模块 32
结论 38
1 绪论
1.1 课题背景及意义
网络的快速发展从根本上更改了世界各组织的管理方式,自二十世纪九十年代开始,我国的政府、企事业等单位就设想可以通过互联网系统来进行管理信息。由于以前存在各方面的原因,比如网络普及度低、用户不接受、互联网的相关法律法规也不够完善、开发技术也不够成熟等,阻碍了互联网在各大机构中的发展速度。进入二十一世纪以后,我国经济有了快速的发展,限制机构管理的各个难题逐一被解决,国内各大机构都加入到了电子信息化的管理模式中来。
以往的民宿管理系统相关信息管理,都是工作人员手工统计。这种方式不但时效性低,而且需要查找和变更的时候很不方便。随着科学的进步,技术的成熟,计算机信息化也日新月异的发展,社会也已经深刻的认识,计算机功能非常的强大,计算机已经进入了人类社会发展的各个领域,并且发挥着十分重要的作用。本系统利用网络沟通、计算机信息存储管理,有着与传统的方式所无法替代的优点。比如计算检索速度特别快、可靠性特别高、存储容量特别大、保密性特别好、可保存时间特别长、成本特别低等。在工作效率上,能够得到极大地提高,延伸至服务水平也会有好的收获,有了网络,民宿管理系统的各方面的管理更加科学和系统,更加规范和简便。
1.2国内外研究现状
随着计算机网络的不断渗透,人们的生活与工作、学习的方式也在慢慢发生变化。传统的用户相关信息管理方式一般都采取人工的方式,信息的获取、整理、修改、存储等工作还停留在人工阶段。这种方式一方面需要花费大量的人力、物力和金钱,交互起来比较困难,而且会浪费时间:另一方面对用户等信息的管理,特别是随着用户数量的递增,查询、修改起来特别困难:最后由于用户等其他信息的不断增加,信息的存储也成为了难题。
一些发达国家,网络发展比较快,已经很大程度上完成了从人工到计算机管理的转变。我国计算机应用起步比较晚,而且发展区域不平衡,还有很多地区或单位使用传统的方式进行管理,但是目前计算机发展较快,包括网络也已经普及,很多单位和用户也开始慢慢接触网络管理系统。纵观这些系统主要有以下几个特点:
(1)先进性:实现网络化管理。
(2)通用性:同一行业基本都能使用。
(3)方便性:通过网络就能完成管理工作。
(4)及时性:信息更新及时。
(5)可扩展性:可根据需要进行模块的增加。
(6)安全性:对单位、用户等信息进行加密。
截至如今,互联网已经深入人们的生活,智能手机、笔记本电脑等已经是人们获取信息.的主要工具,这是一个沟通无限的时代,因此,利用网络来进行在线民宿信息管理系统的管理也成为大势所趋,所以,开发一个民宿管理系统是必须的。
1.3相关技术介绍
本系统前端部分基于MVVM模式进行开发,采用B/S模式,后端部分基于Java的ssm框架进行开发。
前端部分:前端框架采用了比较流行的渐进式JavaScript框架Vue.js。使用Vue-Router和Vuex实现动态路由和全局状态管理,Ajax实现前后端通信,Element UI组件库使页面快速成型,项目前端通过栅格布局实现响应式,可适应PC端、平板端、手机端等不同屏幕大小尺寸的完美布局展示。
后端部分:采用ssm作为开发框架,同时集成MyBatis、Redis等相关技术。
1.4 SSM框架介绍
SSM(Spring+SpringMVC+MyBatis)框架集由Spring、MyBatis两个开源框架整合而成(SpringMVC是Spring中的部分内容)。常作为数据源较简单的web项目的框架。
1.6.1 Spring
Spring就像是整个项目中装配bean的大工厂,在配置文件中可以指定使用特定的参数去调用实体类的构造方法来实例化对象。也可以称之为项目中的粘合剂。
Spring的核心思想是IoC(控制反转),即不再需要程序员去显式地`new`一个对象,而是让Spring框架帮你来完成这一切。
1.6.2 SpringMVC
SpringMVC在项目中拦截用户请求,它的核心Servlet即DispatcherServlet承担中介或是前台这样的职责,将用户请求通过HandlerMapping去匹配Controller,Controller就是具体对应请求所执行的操作。SpringMVC相当于SSH框架中struts。
1.6.3 mybatis
mybatis是对jdbc的封装,它让数据库底层操作变的透明。mybatis的操作都是围绕一个sqlSessionFactory实例展开的。mybatis通过配置文件关联到各实体类的Mapper文件,Mapper文件中配置了每个类对数据库所需进行的sql语句映射。在每次与数据库交互时,通过sqlSessionFactory拿到一个sqlSession,再执行sql命令。
页面发送请求给控制器,控制器调用业务层处理逻辑,逻辑层向持久层发送请求,持久层与数据库交互,后将结果返回给业务层,业务层将处理逻辑发送给控制器,控制器再调用视图展现数据。

1.5 MySQL数据库
科技的进步,给日常带来许多便利:教室的投影器用到了虚拟成像技术,数码相机用到了光电检测技术,比如超市货物进出库的记录需要一个信息仓库。这个信息仓库就是数据库,而这次的超市商品管理系统也需要这项技术的支持。
用MySQL这个软件,是因为它能接受多个使用者访问,而且里面存在Archive等。它会先把数据进行分类,然后分别保存在表里,这样的特别操作就会提高数据管理系统自身的速度,让数据库能被灵活运用。MySQL的代码是公开的,而且允许别人二次编译升级。这个特点能够降低使用者的成本,再搭配合适的软件后形成一个良好的网站系统。虽然它有缺点,但是综合各方面来说,它是使用者的主流运用的对象。
1.6 B/S结构
B/S(Browser/Server)比前身架构更为省事的架构。它借助Web server完成数据的传递交流。只需要下载浏览器作为客户端,那么工作就达到“瘦身”效果, 不需要考虑不停装软件的问题。
1.7 SSM框架各层关系
DAO层、Service层这两个层次都可以单独开发,互相的耦合度很低,完全可以独立进行,这样的一种模式在开发大项目的过程中尤其有优势。
Controller,View层因为耦合度比较高,因而要结合在一起开发,但是也可以看作一个整体独立于前两个层进行开发。这样,在层与层之前只需要知道接口的定义,调用接口即可完成所需要的逻辑单元应用,一切显得非常清晰简单。
2 民宿管理系统分析
通过了解对民宿管理系统的真实需求后,将民宿管理系统所需要的角色划分整理成了管理员和员工用户。
从开发工具来看,由于民宿管理系统是基于ssm的,因此有很多开发工具都可以进行开发,这些功能强大的开发工具可以给我来设计民宿管理系统带来非常大的方便。
从民宿管理系统的本身技术来说,对于我来开发一个民宿管理系统这个毕设是不费事的。民宿管理系统的开发可以简单的分为前台端、后台端开发以及数据库开发。其中的大部分技术难点在我上学时已经使用过了,同时网络上很多技术点可以让我来借鉴。后台管理使用ssm架构开发,数据库使用mysql,页面上使用javascript脚本,因此为我在开发民宿信息管理系统这个毕设上省去了很多多余代码,这给我的毕设项目编写带来了极大的便利。综上所述,从技术层面来看开发民宿信息管理系统是可行的。
从用户体验来看,市面上很多被广泛使用的系统案例可以让我来参考,因此我可以综合它们的页面交互设计的优点,基于我的毕设项目特点来进行改版,最后达到令用户满意的页面交互体验。综上所述,从技术层面来看开发民宿管理系统是可行的。
从民宿管理系统的开发成本来看,民宿管理系统的设计和开发都是我自己完成的,没有其他成本上的开销。
从民宿管理系统的维护成本来看,民宿管理系统的开发遵循一套完整的代码编写规范,并且民宿管理系统的结构设计非常灵活,遵循高内聚低耦合的原则,因此易于维护和迭代开发。
在民宿管理系统上线之后,上线前期我会根据真实需求来调查,对使用我开发的民宿管理系统来制定一套符合的使用费。系统运行稳定后我会将推广范围到其他的校园当中,其他校园可以使用我的民宿管理系统,只需要缴纳一点点的定金,我会给他们引入广告投资和自营业务。
综合以上的分析,民宿管理系统所带来的经济效益将会带来极大的收益。并且随着我的推广,来使用我开发的民宿信息管理系统的市场将越来越大,民宿管理系统带来的利润也就越来越多。因此,从经济层面来看开发民宿管理系统的是可行的。
民宿管理系统从角色上划分为了员用户以及管理员两种角色。
1、管理员用户角色:
登录:管理员的账号是在数据表表中直接设置生成的,不需要进行注册;
个人资料:个人信息,修改密码等操作。
用户管理:管理员可以新增查询和删除员工信息等操作。
通知公告:管理员可以发布,删除通知公告等操作。
客户信息:管理员可以新增,删除,查询客户信息等操作。
房间信息:管理员可以新增房间信息,查看放假状态,房间位置等操作。
类型管理:管理员可以新增房间类型,更新时间,删除房间类型等操作。
入住信息:管理员可以查询房间的入住时间,入住客户姓名,入住天数,点击退房操作。
退房信息:管理员可以查看退房记录,退房时间等操作。
工作安排:管理员可以查看员工安排工作的进度,删除和新增员工安排工作等操作。
反馈信息:管理员可以回复员工的反馈内容。
个人资料:员工可以编辑自己的个人信息以及修改密码等操作。
通知公告:员工可查看公告内容,发布人信息等操作。
工作安排:员工可查看安排的工作内容,提交工作进度等操作。
反馈信息:可以发布反馈信息内容。
2.2.2 非功能性分析
民宿管理系统的非功能性需求比如民宿管理系统的安全性怎么样,可靠性怎么样,性能怎么样,可拓展性怎么样等。具体可以表示在如下2-1表格中:
表2-1民宿管理系统非功能需求表
| 安全性 | 主要指民宿管理系统数据库的安装,数据库的使用和密码的设定必须合乎规范。 |
| 可靠性 | 可靠性是指民宿管理系统能够安装用户的指示进行操作,经过测试,可靠性90%以上。 |
| 性能 | 性能是影响民宿管理系统占据市场的必要条件,所以性能最好要佳才好。 |
| 可扩展性 | 比如数据库预留多个属性,比如接口的使用等确保了系统的非功能性需求。 |
| 易用性 | 用户只要跟着民宿管理系统的页面展示内容进行操作,就可以了。 |
| 可维护性 | 民宿信息管理系统开发的可维护性是非常重要的,经过测试,可维护性没有问题 |
2.3 系统用例分析
根据上一节功能分析,可以得出系统的用例,员工用户角色用例如图2.1所示。

图2.1 民宿管理系统中员工角色用例图
管理员角色用例如图2.2所示。

图2.2 民宿管理系统管理员角色用例图
3 民宿管理系统总体设计
根据第二章中民宿管理系统的功能分析可知,民宿管理系统中整体功能模块图如图3.1所示,

图3.1 民宿管理系统功能模块图
3.3.1 数据库概念结构设计
下面是整个民宿管理系统中主要的数据库表总E-R实体关系图。
图3.2 民宿管理系统总E-R关系图
3.2.2 数据库表设计
数据库表是设计和实现系统的一个重要基础。以下列出了该管理系统几个重要的数据库表。
表access_token (登陆访问时长)
| 名称 | 数据类型 | 长度 | 小数位 | 允许空值 | 主键 | 默认值 | 说明 | |
| 1 | token_id | int | 10 | 0 | N | Y | 临时访问牌ID | |
| 2 | token | varchar | 64 | 0 | Y | N | 临时访问牌 | |
| 3 | info | text | 65535 | 0 | Y | N | ||
| 4 | maxage | int | 10 | 0 | N | N | 2 | 最大寿命:默认2小时 |
| 5 | create_time | timestamp | 19 | 0 | N | N | CURRENT_TIMESTAMP | 创建时间: |
| 6 | update_time | timestamp | 19 | 0 | N | N | CURRENT_TIMESTAMP | 更新时间: |
| 7 | user_id | int | 10 | 0 | N | N | 0 | 用户编号: |
表auth (用户权限管理)
| 名称 | 数据类型 | 长度 | 小数位 | 允许空值 | 主键 | 默认值 | 说明 | |
| 1 | auth_id | int | 10 | 0 | N | Y | 授权ID: | |
| 2 | user_group | varchar | 64 | 0 | Y | N | 用户组: | |
| 3 | mod_name | varchar | 64 | 0 | Y | N | 模块名: | |
| 4 | table_name | varchar | 64 | 0 | Y | N | 表名: | |
| 5 | page_title | varchar | 255 | 0 | Y | N | 页面标题: | |
| 6 | path | varchar | 255 | 0 | Y | N | 路由路径: | |
| 7 | position | varchar | 32 | 0 | Y | N | 位置: | |
| 8 | mode | varchar | 32 | 0 | N | N | _blank | 跳转方式: |
| 9 | add | tinyint | 3 | 0 | N | N | 1 | 是否可增加: |
| 10 | del | tinyint | 3 | 0 | N | N | 1 | 是否可删除: |
| 11 | set | tinyint | 3 | 0 | N | N | 1 | 是否可修改: |
| 12 | get | tinyint | 3 | 0 | N | N | 1 | 是否可查看: |
| 13 | field_add | text | 65535 | 0 | Y | N | 添加字段: | |
| 14 | field_set | text | 65535 | 0 | Y | N | 修改字段: | |
| 15 | field_get | text | 65535 | 0 | Y | N | 查询字段: | |
| 16 | table_nav_name | varchar | 500 | 0 | Y | N | 跨表导航名称: | |
| 17 | table_nav | varchar | 500 | 0 | Y | N | 跨表导航: | |
| 18 | option | text | 65535 | 0 | Y | N | 配置: | |
| 19 | create_time | timestamp | 19 | 0 | N | N | CURRENT_TIMESTAMP | 创建时间: |
| 20 | update_time | timestamp | 19 | 0 | N | N | CURRENT_TIMESTAMP | 更新时间: |
表check_in_information (入住信息)
| 名称 | 数据类型 | 长度 | 小数位 | 允许空值 | 主键 | 默认值 | 说明 | |
| 1 | check_in_information_id | int | 10 | 0 | N | Y | 入住信息ID | |
| 2 | room_name | varchar | 64 | 0 | Y | N | 房间名称 | |
| 3 | room_type | varchar | 64 | 0 | Y | N | 房间类型 | |
| 4 | customer_name | varchar | 64 | 0 | Y | N | 客户姓名 | |
| 5 | customer_phone | varchar | 64 | 0 | Y | N | 客户电话 | |
| 6 | id_number | varchar | 64 | 0 | Y | N | 身份证号 | |
| 7 | check_in_time | datetime | 19 | 0 | Y | N | 入住时间 | |
| 8 | days_in | varchar | 64 | 0 | Y | N | 入住天数 | |
| 9 | check_in_notes | text | 65535 | 0 | Y | N | 入住备注 | |
| 10 | recommend | int | 10 | 0 | N | N | 0 | 智能推荐 |
| 11 | create_time | datetime | 19 | 0 | N | N | CURRENT_TIMESTAMP | 创建时间 |
| 12 | update_time | timestamp | 19 | 0 | N | N | CURRENT_TIMESTAMP | 更新时间 |
表check_out_information (退房信息)
| 名称 | 数据类型 | 长度 | 小数位 | 允许空值 | 主键 | 默认值 | 说明 | |
| 1 | check_out_information_id | int | 10 | 0 | N | Y | 退房信息ID | |
| 2 | room_name | varchar | 64 | 0 | Y | N | 房间名称 | |
| 3 | room_type | varchar | 64 | 0 | Y | N | 房间类型 | |
| 4 | customer_name | varchar | 64 | 0 | Y | N | 客户姓名 | |
| 5 | customer_phone | varchar | 64 | 0 | Y | N | 客户电话 | |
| 6 | id_number | varchar | 64 | 0 | Y | N | 身份证号 | |
| 7 | check_in_time | datetime | 19 | 0 | Y | N | 入住时间 | |
| 8 | check_out_time | datetime | 19 | 0 | Y | N | 退房时间 | |
| 9 | check_out_notes | text | 65535 | 0 | Y | N | 退房备注 | |
| 10 | recommend | int | 10 | 0 | N | N | 0 | 智能推荐 |
| 11 | create_time | datetime | 19 | 0 | N | N | CURRENT_TIMESTAMP | 创建时间 |
| 12 | update_time | timestamp | 19 | 0 | N | N | CURRENT_TIMESTAMP | 更新时间 |
表customer_information (客户信息)
| 名称 | 数据类型 | 长度 | 小数位 | 允许空值 | 主键 | 默认值 | 说明 | |
| 1 | customer_information_id | int | 10 | 0 | N | Y | 客户信息ID | |
| 2 | customer_number | varchar | 64 | 0 | Y | N | 客户编号 | |
| 3 | customer_name | varchar | 64 | 0 | Y | N | 客户名称 | |
| 4 | customer_phone | varchar | 64 | 0 | Y | N | 客户电话 | |
| 5 | id_number | varchar | 64 | 0 | Y | N | 身份证号 | |
| 6 | customer_address | text | 65535 | 0 | Y | N | 客户住址 | |
| 7 | customer_introduction | text | 65535 | 0 | Y | N | 客户介绍 | |
| 8 | recommend | int | 10 | 0 | N | N | 0 | 智能推荐 |
| 9 | create_time | datetime | 19 | 0 | N | N | CURRENT_TIMESTAMP | 创建时间 |
| 10 | update_time | timestamp | 19 | 0 | N | N | CURRENT_TIMESTAMP | 更新时间 |
表employee_users (员工用户)
| 名称 | 数据类型 | 长度 | 小数位 | 允许空值 | 主键 | 默认值 | 说明 | |
| 1 | employee_users_id | int | 10 | 0 | N | Y | 员工用户ID | |
| 2 | employee_name | varchar | 64 | 0 | Y | N | 员工姓名 | |
| 3 | employee_gender | varchar | 64 | 0 | Y | N | 员工性别 | |
| 4 | employee_id | varchar | 64 | 0 | N | N | 员工工号 | |
| 5 | examine_state | varchar | 16 | 0 | N | N | 已通过 | 审核状态 |
| 6 | recommend | int | 10 | 0 | N | N | 0 | 智能推荐 |
| 7 | user_id | int | 10 | 0 | N | N | 0 | 用户ID |
| 8 | create_time | datetime | 19 | 0 | N | N | CURRENT_TIMESTAMP | 创建时间 |
| 9 | update_time | timestamp | 19 | 0 | N | N | CURRENT_TIMESTAMP | 更新时间 |
表feedback_information (反馈信息)
| 名称 | 数据类型 | 长度 | 小数位 | 允许空值 | 主键 | 默认值 | 说明 | |
| 1 | feedback_information_id | int | 10 | 0 | N | Y | 反馈信息ID | |
| 2 | title_name | varchar | 64 | 0 | Y | N | 标题名称 | |
| 3 | employee_users | int | 10 | 0 | Y | N | 0 | 员工用户 |
| 4 | employee_name | varchar | 64 | 0 | Y | N | 员工姓名 | |
| 5 | employee_id | varchar | 64 | 0 | Y | N | 员工工号 | |
| 6 | feedback_content | text | 65535 | 0 | Y | N | 反馈内容 | |
| 7 | reply_content | text | 65535 | 0 | Y | N | 回复内容 | |
| 8 | recommend | int | 10 | 0 | N | N | 0 | 智能推荐 |
| 9 | create_time | datetime | 19 | 0 | N | N | CURRENT_TIMESTAMP | 创建时间 |
| 10 | update_time | timestamp | 19 | 0 | N | N | CURRENT_TIMESTAMP | 更新时间 |
)表notice_announcement (通知公告)
| 名称 | 数据类型 | 长度 | 小数位 | 允许空值 | 主键 | 默认值 | 说明 | |
| 1 | notice_announcement_id | int | 10 | 0 | N | Y | 通知公告ID | |
| 2 | announcement_no | varchar | 64 | 0 | Y | N | 公告编号 | |
| 3 | announcement_title | varchar | 64 | 0 | Y | N | 公告标题 | |
| 4 | publisher | varchar | 64 | 0 | Y | N | 发布人 | |
| 5 | release_date | date | 10 | 0 | Y | N | 发布日期 | |
| 6 | announcement_content | text | 65535 | 0 | Y | N | 公告内容 | |
| 7 | recommend | int | 10 | 0 | N | N | 0 | 智能推荐 |
| 8 | create_time | datetime | 19 | 0 | N | N | CURRENT_TIMESTAMP | 创建时间 |
| 9 | update_time | timestamp | 19 | 0 | N | N | CURRENT_TIMESTAMP | 更新时间 |
表room_information (房间信息)
| 名称 | 数据类型 | 长度 | 小数位 | 允许空值 | 主键 | 默认值 | 说明 | |
| 1 | room_information_id | int | 10 | 0 | N | Y | 房间信息ID | |
| 2 | room_name | varchar | 64 | 0 | Y | N | 房间名称 | |
| 3 | room_type | varchar | 64 | 0 | Y | N | 房间类型 | |
| 4 | room_status | varchar | 64 | 0 | Y | N | 房间状态 | |
| 5 | room_picture | varchar | 255 | 0 | Y | N | 房间图片 | |
| 6 | room_location | varchar | 64 | 0 | Y | N | 房间位置 | |
| 7 | room_introduction | text | 65535 | 0 | Y | N | 房间介绍 | |
| 8 | recommend | int | 10 | 0 | N | N | 0 | 智能推荐 |
| 9 | create_time | datetime | 19 | 0 | N | N | CURRENT_TIMESTAMP | 创建时间 |
| 10 | update_time | timestamp | 19 | 0 | N | N | CURRENT_TIMESTAMP | 更新时间 |
表type_management (类型管理)
| 名称 | 数据类型 | 长度 | 小数位 | 允许空值 | 主键 | 默认值 | 说明 | |
| 1 | type_management_id | int | 10 | 0 | N | Y | 类型管理ID | |
| 2 | room_type | varchar | 64 | 0 | Y | N | 房间类型 | |
| 3 | type_description | text | 65535 | 0 | Y | N | 类型描述 | |
| 4 | recommend | int | 10 | 0 | N | N | 0 | 智能推荐 |
| 5 | create_time | datetime | 19 | 0 | N | N | CURRENT_TIMESTAMP | 创建时间 |
| 6 | update_time | timestamp | 19 | 0 | N | N | CURRENT_TIMESTAMP | 更新时间 |
表user (用户账户:用于保存用户登录信息)
| 名称 | 数据类型 | 长度 | 小数位 | 允许空值 | 主键 | 默认值 | 说明 | |
| 1 | user_id | mediumint | 8 | 0 | N | Y | 用户ID:[0,8388607]用户获取其他与用户相关的数据 | |
| 2 | state | smallint | 5 | 0 | N | N | 1 | 账户状态:[0,10](1可用|2异常|3已冻结|4已注销) |
| 3 | user_group | varchar | 32 | 0 | Y | N | 所在用户组:[0,32767]决定用户身份和权限 | |
| 4 | login_time | timestamp | 19 | 0 | N | N | CURRENT_TIMESTAMP | 上次登录时间: |
| 5 | phone | varchar | 11 | 0 | Y | N | 手机号码:[0,11]用户的手机号码,用于找回密码时或登录时 | |
| 6 | phone_state | smallint | 5 | 0 | N | N | 0 | 手机认证:[0,1](0未认证|1审核中|2已认证) |
| 7 | username | varchar | 16 | 0 | N | N | 用户名:[0,16]用户登录时所用的账户名称 | |
| 8 | nickname | varchar | 16 | 0 | Y | N | 昵称:[0,16] | |
| 9 | password | varchar | 64 | 0 | N | N | 密码:[0,32]用户登录所需的密码,由6-16位数字或英文组成 | |
| 10 | | varchar | 64 | 0 | Y | N | 邮箱:[0,64]用户的邮箱,用于找回密码时或登录时 | |
| 11 | email_state | smallint | 5 | 0 | N | N | 0 | 邮箱认证:[0,1](0未认证|1审核中|2已认证) |
| 12 | avatar | varchar | 255 | 0 | Y | N | 头像地址:[0,255] | |
| 13 | create_time | timestamp | 19 | 0 | N | N | CURRENT_TIMESTAMP | 创建时间: |
表work_arrangement (工作安排)
| 名称 | 数据类型 | 长度 | 小数位 | 允许空值 | 主键 | 默认值 | 说明 | |
| 1 | work_arrangement_id | int | 10 | 0 | N | Y | 工作安排ID | |
| 2 | title_name | varchar | 64 | 0 | Y | N | 标题名称 | |
| 3 | employee_users | int | 10 | 0 | Y | N | 0 | 员工用户 |
| 4 | employee_name | varchar | 64 | 0 | Y | N | 员工姓名 | |
| 5 | employee_id | varchar | 64 | 0 | Y | N | 员工工号 | |
| 6 | job_content | text | 65535 | 0 | Y | N | 工作内容 | |
| 7 | work_progress | varchar | 64 | 0 | Y | N | 工作进度 | |
| 8 | progress_description | text | 65535 | 0 | Y | N | 进度描述 | |
| 9 | recommend | int | 10 | 0 | N | N | 0 | 智能推荐 |
| 10 | create_time | datetime | 19 | 0 | N | N | CURRENT_TIMESTAMP | 创建时间 |
| 11 | update_time | timestamp | 19 | 0 | N | N | CURRENT_TIMESTAMP | 更新时间 |
4 民宿管理系统设计与实现
民宿管理系统的详细设计与实现主要是根据前面的民宿管理系统的需求分析和民宿管理系统的总体设计来设计页面并实现业务逻辑。主要从民宿管理系统界面实现、业务逻辑实现这两部分进行介绍。
4.1 系统首页页面
当进入民宿管理系统的时候,首先映入眼帘的是系统的导航栏,系统内容其主界面展示如下图4.1所示。

图4.1首页界面图
不是民宿管理系统中正式用户的是可以在线进行注册的,如果你没有本民宿管理系统的账号的话,添加“注册”,当填写上自己的账号+密码+确认密码+昵称+邮箱+手机号等后再点击“注册”按钮后将会先验证输入的有没有空数据,再次验证密码和确认密码是否是一样的,最后验证输入的账户名和数据库表中已经注册的账户名是否重复,只有都验证没问题后即可用户注册成功。注册界面实现了用户的注册,其注册界面展示如下图4。2所示。

图4.2 注册界面图
注册逻辑代码如下:
/**
* 注册
* @param user
* @return
*/
@PostMapping("register")
public Map<String, Object> signUp(@RequestBody User user) {
// 查询用户
Map<String, String> query = new HashMap<>();
query.put("username",user.getUsername());
List list = service.select(query, new HashMap<>()).getResultList();
if (list.size()>0){
return error(30000, "用户已存在");
}
user.setUserId(null);
user.setPassword(service.encryption(user.getPassword()));
service.save(user);
return success(1);
}
/**
* 用户ID:[0,8388607]用户获取其他与用户相关的数据
*/
@Id
@GeneratedValue(strategy = GenerationType.IDENTITY)
@Column(name = "user_id")
private Integer userId;
/**
* 账户状态:[0,10](1可用|2异常|3已冻结|4已注销)
*/
@Basic
@Column(name = "state")
private Integer state;
/**
* 所在用户组:[0,32767]决定用户身份和权限
*/
@Basic
@Column(name = "user_group")
private String userGroup;
/**
* 上次登录时间:
*/
@Basic
@Column(name = "login_time")
private Timestamp loginTime;
/**
* 手机号码:[0,11]用户的手机号码,用于找回密码时或登录时
*/
@Basic
@Column(name = "phone")
private String phone;
/**
* 手机认证:[0,1](0未认证|1审核中|2已认证)
*/
@Basic
@Column(name = "phone_state")
private Integer phoneState;
/**
* 用户名:[0,16]用户登录时所用的账户名称
*/
@Basic
@Column(name = "username")
private String username;
/**
* 昵称:[0,16]
*/
@Basic
@Column(name = "nickname")
private String nickname;
/**
* 密码:[0,32]用户登录所需的密码,由6-16位数字或英文组成
*/
@Basic
@Column(name = "password")
private String password;
/**
* 邮箱:[0,64]用户的邮箱,用于找回密码时或登录时
*/
@Basic
@Column(name = "email")
private String email;
/**
* 邮箱认证:[0,1](0未认证|1审核中|2已认证)
*/
@Basic
@Column(name = "email_state")
private Integer emailState;
/**
* 头像地址:[0,255]
*/
@Basic
@Column(name = "avatar")
private String avatar;
/**
* 创建时间:
*/
@Basic
@Column(name = "create_time")
@JsonFormat(pattern = "yyyy-MM-dd HH:mm:ss")
private Timestamp createTime;
@Basic
@Transient
private String code;
}
民宿信息管理系统中的前台上注册后的用户是可以通过自己的账户名和密码进行登录的,当用户输入完整的自己的账户名和密码信息并点击“登录”按钮后,将会首先验证输入的有没有空数据,再次验证输入的账户名+密码和数据库中当前保存的用户信息是否一致,只有在一致后将会登录成功并自动跳转到民宿信息管理系统的首页中;否则将会提示相应错误信息,用户登录界面如下图4.3所示。

图4.3 登录界面图
登录的逻辑代码如下所示。
/**
* 登录
* @param data
* @param httpServletRequest
* @return
*/
@PostMapping("login")
public Map<String, Object> login(@RequestBody Map<String, String> data, HttpServletRequest httpServletRequest) {
log.info("[执行登录接口]");
String username = data.get("username");
String email = data.get("email");
String phone = data.get("phone");
String password = data.get("password");
List resultList = null;
Map<String, String> map = new HashMap<>();
if(username != null && "".equals(username) == false){
map.put("username", username);
resultList = service.select(map, new HashMap<>()).getResultList();
}
else if(email != null && "".equals(email) == false){
map.put("email", email);
resultList = service.select(map, new HashMap<>()).getResultList();
}
else if(phone != null && "".equals(phone) == false){
map.put("phone", phone);
resultList = service.select(map, new HashMap<>()).getResultList();
}else{
return error(30000, "账号或密码不能为空");
}
if (resultList == null || password == null) {
return error(30000, "账号或密码不能为空");
}
//判断是否有这个用户
if (resultList.size()<=0){
return error(30000,"用户不存在");
}
User byUsername = (User) resultList.get(0);
Map<String, String> groupMap = new HashMap<>();
groupMap.put("name",byUsername.getUserGroup());
List groupList = userGroupService.select(groupMap, new HashMap<>()).getResultList();
if (groupList.size()<1){
return error(30000,"用户组不存在");
}
UserGroup userGroup = (UserGroup) groupList.get(0);
//查询用户审核状态
if (!StringUtils.isEmpty(userGroup.getSourceTable())){
String sql = "select examine_state from "+ userGroup.getSourceTable() +" WHERE user_id = " + byUsername.getUserId();
String res = String.valueOf(service.runCountSql(sql).getSingleResult());
if (res==null){
return error(30000,"用户不存在");
}
if (!res.equals("已通过")){
return error(30000,"该用户审核未通过");
}
}
//查询用户状态
if (byUsername.getState()!=1){
return error(30000,"用户非可用状态,不能登录");
}
String md5password = service.encryption(password);
if (byUsername.getPassword().equals(md5password)) {
// 存储Token到数据库
AccessToken accessToken = new AccessToken();
accessToken.setToken(UUID.randomUUID().toString().replaceAll("-", ""));
accessToken.setUser_id(byUsername.getUserId());
tokenService.save(accessToken);
// 返回用户信息
JSONObject user = JSONObject.parseObject(JSONObject.toJSONString(byUsername));
user.put("token", accessToken.getToken());
JSONObject ret = new JSONObject();
ret.put("obj",user);
return success(ret);
} else {
return error(30000, "账号或密码不正确");
}
}
当点击导航栏上的“通知公告”的时候,就会进入对应的界面查看公告信息,通知公告界面如下图4.4所示。

图4.4 通知公告界面图
当管理员点击民宿管理系统中导航栏上的“客户信息”后将会进入到该列表的界面,然后选择想要看的客户信息,点击进入到详细界面,可以进行新增,查询,删除操作,客户信息界面如下图4.5所示。

图4.5 客户信息管理界面图
管理员可以查看房间信息,在查询,点击“房间信息”这一按钮以后会跳转到民宿所有的房间信息的界面,根据提示填写好房间的信息,在导航栏里,可以进行新增,查询,删除操作功能,房间信息管理页面如图4.6所示。

图4.6房间信息管理界面图
@PostMapping("/add")
@Transactional
public Map<String, Object> add(HttpServletRequest request) throws IOException {
service.insert(service.readBody(request.getReader()));
return success(1);
}
@Transactional
public Map<String, Object> addMap(Map<String,Object> map){
service.insert(map);
return success(1);
}
public Map<String,Object> readBody(BufferedReader reader){
BufferedReader br = null;
StringBuilder sb = new StringBuilder("");
try{
br = reader;
String str;
while ((str = br.readLine()) != null){
sb.append(str);
}
br.close();
String json = sb.toString();
return JSONObject.parseObject(json, Map.class);
}catch (IOException e){
e.printStackTrace();
}finally{
if (null != br){
try{
br.close();
}catch (IOException e){
e.printStackTrace();
}
}
}
return null;
}
public void insert(Map<String,Object> body){
StringBuffer sql = new StringBuffer("INSERT INTO ");
sql.append("`").append(table).append("`").append(" (");
for (Map.Entry<String,Object> entry:body.entrySet()){
sql.append("`"+humpToLine(entry.getKey())+"`").append(",");
}
sql.deleteCharAt(sql.length()-1);
sql.append(") VALUES (");
for (Map.Entry<String,Object> entry:body.entrySet()){
Object value = entry.getValue();
if (value instanceof String){
sql.append("'").append(entry.getValue()).append("'").append(",");
}else {
sql.append(entry.getValue()).append(",");
}
}
sql.deleteCharAt(sql.length() - 1);
sql.append(")");
log.info("[{}] - 插入操作:{}",table,sql);
Query query = runCountSql(sql.toString());
query.executeUpdate();
}
4.7 修改密码界面
用户使用该民宿管理系统注册完成后,用户对登录密码有修改需求时,系统也可以提供用户修改密码权限。系统中所有的操作者能够变更自己的密码信息,执行该功能首先必须要登入系统,然后选择密码变更选项以后在给定的文本框中填写初始密码和新密码来完成修改密码的操作。在填写的时候,假如两次密码填写存在差异,那么此次密码变更操作失败,下面的图片展示的就是该板块对应的工作面。修改密码界面如下图4.7所示。

图4.7 添加修改密码界面图
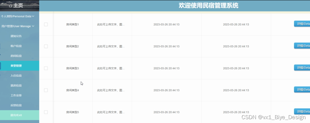
4.8 类型管理模块
类型管理主要管理员是对民宿房间类型所属的分类进行管控。
界面如下图4.8所示。

图4.8类型管理界面图
4.9用户管理模块
民宿管理系统中的管理员在“用户管理”这一菜单是中可以对注册的员工用户进行新增删除等管控。界面如下图4.9所示。

图4.9用户管理界面图
用户管理界面逻辑代码如下:
@RequestMapping(value = {"/avg_group", "/avg"})
public Map<String, Object> avg(HttpServletRequest request) {
Query count = service.avg(service.readQuery(request), service.readConfig(request));
return success(count.getResultList());
}
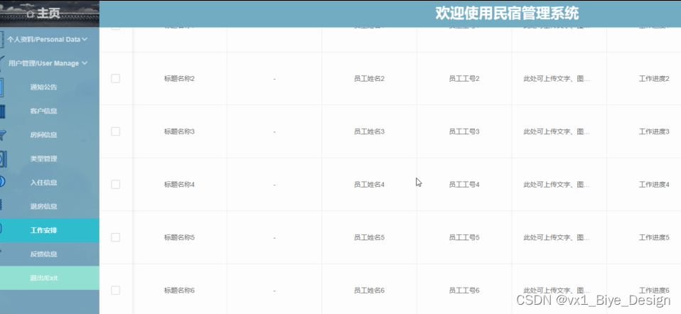
4.10工作安排管理界面
民宿管理系统中的管理人员在“工作安排”这一菜单下是可以对员工工作安排,查看进度,添加工作安排进行操作的,其管理界面如下图4.10所示。

图4.10 工作安排管理界面图
工作安排管理关键代码如下:
@RequestMapping("/get_list")
public Map<String, Object> getList(HttpServletRequest request) {
Map<String, Object> map = service.selectToPage(service.readQuery(request), service.readConfig(request));
return success(map);
5民宿管理系统测试
民宿管理系统测试是为了检验软件是否达到设计要求,是否存在错误,通过测试的方法来检查民宿管理系统,以便发现民宿管理系统中的错误。测试工作是保证民宿息管理系统质量的关键。
问题1:数据库无法添加中文。
解决过程:重新创建数据库,将库的编码格式改为utf8。
效果:能在新库的表中添加中文。
问题2:控制台报错前台与后台参数不一致
解决过程:检查代码,找到报错参数完成修改,继续报错,服务器移除项目重新运行。
效果:重启项目不再报错。
问题3:报错No bean named 'sysLogServiceImpl' available找不到名为sysLogServiceImpl的bean的对象。
解决过程:询问导师报错原因,发现错误原因是未添加注解@Service,需要在在impl实现类的外面添加@Service注解。
效果:重新debug项目无报错。
问题4:启动项目时报错:Mapped Statements collection does not contain value for
解决过程:网上搜索解决办法,出错可能的原因有多个,经过努力排查,错误原因是mapper映射地址有误。在mybatis-config里重新配置地址。
效果:项目启动正常
系统测试包括:用户登录功能测试、房间信息功能测试、员工信息添加、房间类型搜索、密码修改功能测试,如表5-1、5-2、5-3、5-4、5-5所示:
用户登录功能测试:
表5-1 用户登录功能测试表
| 用例名称 | 用户登录系统 |
| 目的 | 测试用户通过正确的用户名和密码可否登录功能 |
| 前提 | 未登录的情况下 |
| 测试流程 | 1) 进入登录页面 2) 输入正确的用户名和密码 |
| 预期结果 | 用户名和密码正确的时候,跳转到登录成功界面,反之则显示错误信息,提示重新输入 |
| 实际结果 | 实际结果与预期结果一致 |
房间信息查看功能测试:
表5-2 房间信息查看功能测试表
| 用例名称 | 房间信息查看 |
| 目的 | 测试房间信息查看功能 |
| 前提 | 用户登录 |
| 测试流程 | 点击房间信息息列表 |
| 预期结果 | 可以查看到所有房间信息 |
| 实际结果 | 实际结果与预期结果一致 |
员工信息添加界面测试:
表5-3 员工信息添加界面测试表
| 用例名称 | 员工信息添加发布测试用例 |
| 目的 | 测试员工信息添加发布功能 |
| 前提 | 管理员正常登录情况下 |
| 测试流程 | 1)管理员点击员工信息管理就,然后点击添加后并填写信息。 2)点击进行提交。 |
| 预期结果 | 提交以后,页面首页会显示新的员工信息 |
| 实际结果 | 实际结果与预期结果一致 |
房间类型搜索功能测试:
表5-4房间类型搜索功能测试表
| 用例名称 | 房间类型搜索测试 |
| 目的 | 测试房间类型搜索功能 |
| 前提 | 无 |
| 测试流程 | 1)在搜索框填入搜索关键字。 2)点击搜索按钮。 |
| 预期结果 | 页面显示包含有搜索关键字的房间类型 |
| 实际结果 | 实际结果与预期结果一致 |
密码修改功能测试:
表5-5 密码修改功能测试表
| 用例名称 | 密码修改测试用例 |
| 目的 | 测试管理员密码修改功能 |
| 前提 | 管理员用户正常登录情况下 |
| 测试流程 | 1)管理员密码修改并完成填写。 2)点击进行提交。 |
| 预期结果 | 使用新的密码可以登录 |
| 实际结果 | 实际结果与预期结果一致 |
5.3 系统测试结果
通过编写民宿管理系统的测试用例,已经检测完毕用户登录模块、房间信息功能测试模块、员工信息添加模块、房间类型搜索模块、密码修改功能测试,通过这5大模块为民宿管理系统的后期推广运营提供了强力的技术支撑。
结论
至此,民宿管理系统已经结束,在开发前做了许多的准备,在本系统的设计和开发过程中阅览和学习了许多文献资料,从中我也收获了很多宝贵的方法和设计思路,对系统的开发也起到了很重要的作用,系统的开发技术选用的都是自己比较熟悉的,比如ssm、MYSQL,这些技术都是在以前的学习中学到了,其中许多的设计思路和方法都是在以前不断地学习中摸索出来的经验,其实对于我们来说工作量还是比较大的,但是正是由于之前的积累与准备,才能顺利的完成这个项目,由此看来,积累经验跟做好准备是十分重要的事情。
当然在该系统的设计与实现的过程中也离不开老师以及同学们的帮助,正是因为他们的指导与帮助,我才能够成功的在预期内完成了这个系统。同时在这个过程当中我也收获了很多东西,此系统也有需要改进的地方,但是由于专业知识的浅薄,并不能做到十分完美,希望以后有机会可以让其真正的投入到使用之中。
参考文献
[1]杨一帆.服务于MySQL数据库的在线监测系统设计[J].自动化技术与应用,2022,41(10):179-182.DOI:10.20033/j.1003-7241.(2022)10-0179-04.
[2]林佳一.混合式教学在高职MySQL数据库课程的实践研究[J].电脑知识与技术,2022,18(26):133-135.DOI:10.14004/j.cnki.ckt.2022.1737.
[3]李罡,周正茂. 基于Java技术实现内存键值数据管理的方法及其装置[P]. 北京市:CN114840498B,2022-09-13.
[4]林易康, 基于Java的web应用程序控制管理软件. 湖北省,武汉东湖学院,2021-10-01.
[5]朱启峰. 一种可有效防尘的民宿房态管理系统智能门锁[P]. 江苏省:CN214303315U,2021-09-28.
[6]程力.计算机网络数据库的安全管理技术分析[J].网络安全技术与应用,2022(12):46-48.
[7]何学东,高永梅,何强,曹更新,何其伟,凌刚.数据库形式标准的现状分析与应用研究[J].中国标准化,2022(23):81-86.
[8]孙开元.数据库版权保护问题研究[J].科学咨询(教育科研),2022(11):27-29.
[9]陈钊.SSM框架在Web应用开发中的设计与实现研究[J].电脑知识与技术,2021,17(10):226-227.
[10]邱丹萍.Web开发中SSM框架的分析[J].电脑知识与技术,2020,16(17):.
[6]孙乐康.基于SSM框架的智能Web系统研发[J].决策探索(中),2019(05):93.
[11]He Xinbin,Bai Yongbin,Yue Lisen,Wang Haixiao,Liu Yi. Design and Implementation of Information System Based on Java Technology Platform[J]. Journal of Physics: Conference Series,2021,2033(1).
[12]高而泰,董靖雯,樊毅华,陈君,何东寅,吴鸿腾,俞秀娟. 民宿入住信息处理、管理方法及系统[P]. 北京市:CN112541840A,2021-03-23.
[13]Qu Xiaona. Application of Java Technology in Dynamic Web Database Technology[J]. Journal of Physics: Conference Series,2021,1744(4).
[14]Tian Ming Huang. Design and Implementation of App System for Legal Consulting Based on JAVA Technology[J]. Procedia Computer Science,2020,166(C).
[15]王立娟.基于智能门锁的民宿管理平台的研发方案[J].电子测试,2019(11):96-97+78.DOI:10.16520/j.cnki.1000-8519.2019.11.037.
致 谢
时间过的很快,不知不觉,在大学的学习生活即将结束。毕业之际,我真诚地向帮助过我的老师、家人、同学、朋友们表达感谢。首先要感谢的是我的母校。感谢母校给了我美好的生活和优越的学习环境,使我能学到了很多知识,也不断的变得优秀;感谢家人在这四年期间一直给与我的爱和无条件的支持,让我没有后顾之忧地完成学业;感谢软件学院的任课老师们给我鼓励和认可,让我有信心去做好每一件事情;感谢同学们的帮助,让我的大学生活更有意义。在此次毕业设计的实现过程中, 我得到了老师们的耐心指导让我顺利完成了该设计。从最初的选题和开题开始,老师就给予我很多帮助,他们认真负责的态度、丰富的民宿经验让我学到了很多。
同时也要感谢我敬爱的班主任和实训课程的老师,他们在各个方面都教给了我丰富的经验,在面对各种困难时如何处理。因为今年的特殊性,老师们不仅在学习中给我以精心的指导,同时还在其它方面给予我观关怀,指导老师不辞辛苦的为大家录制视频和一遍遍讲解让我心怀感激之情。在此,我真诚的感恩、感谢我的指导赛事门票们。
还要感谢实习期间不厌其烦教导我鼓励我的技术师傅,他指导了我各个方面的技巧,尤其是编程方面,迄今我的很多技巧和编写规范都有赖于他的指导、纠正。
最后还要特别感谢身边的各位同学们,一直支持鼓励我,无论何时何种境况。我很荣幸获得同学们的帮助,也很开心能够和大家共度大学四年的时光。
最后的最后,再次发自肺腑的感谢所有帮助过我的人。
免费领取项目源码,请关注❥点赞收藏并私信博主,谢谢~
本文围绕民宿管理系统展开,分析了开发背景与意义,采用MVVM模式、B/S模式,前端用Vue.js,后端基于Java的SSM框架,以MySQL为数据库。介绍了系统各模块设计与实现,还进行了系统测试,解决了调试问题,为系统推广运营提供技术支撑。
1205

被折叠的 条评论
为什么被折叠?



