摘 要
21世纪时信息化的时代,几乎任何一个行业都离不开计算机,将计算机运用于校车管理也是十分常见的。过去使用手工的管理方式对校车进行管理,造成了管理繁琐、难以维护等问题,如今使用计算机对校车的各项基本信息进行管理,比起手工管理来说既方便又简单,而且具有易于管理、搜索速度快、存储量大等多个优点。将其使用在校车管理中,不仅能够提高校车管理中管理员的工作效率,而且可以使校车管理更加科学与规范。在信息化时代的不断冲击下,校车管理与计算机技术的结合,将会是一条提高校车管理水平的捷径。
经过本人的综合考虑,校车管理系统的设计是基于Python技术、MySQL数据库、Apache服务器的方式设计,以Pycharm和Dreamweaver为开发工具,在Pycharm集成环境下调试并允许,并运用Photoshop技术美化网页,辅之以CSS技术。
该系统实现了校车管理内部的各种工作流程计算机管理化,其中包括管理员的系统首页、个人资料、公共管理(轮播图、公告通知)用户管理(管理员、学生用户、家长用户、司机用户)信息管理(新闻资讯、资讯分类)等功能,以及用户的修改密码、个人资料修改、校车信息、预约申请、取消预约、校车申请等功能。
关键词:Python技术;MySQL数据库;Apache服务器
Design and implementation of django+
school bus management system
Abstract
The 21st century is an era of information technology. Almost any industry can not do without computers. It is also very common to apply computers to school bus management. In the past, the school bus was managed by manual management, which caused problems such as cumbersome management and difficult maintenance. Now, using computers to manage the basic information of the school bus is not only convenient and simple compared with manual management, but also has many advantages such as easy management, fast search speed and large storage. Using it in school bus management can not only improve the work efficiency of administrators in school bus management, but also make school bus management more scientific and standardized. Under the constant impact of the information age, the combination of school bus management and computer technology will be a shortcut to improve the level of school bus management.
After my comprehensive consideration, the design of the school bus management system is based on Python technology, MySQL database and Apache server. With Pytharm and Dreamweaver as development tools, the system is debugged and allowed under Pytharm integrated environment, and the website is beautified with Photoshop technology, supplemented by CSS technology.
The system realizes the computerized management of various work processes within the school bus management, including the administrator's system home page, personal data, public management (broadcast map, announcement notice), user management (administrator, student user, parent user, driver user), information management (news information, information classification) and other functions, as well as the user's password modification, personal data modification, school bus information, reservation application, cancellation of reservation School bus application and other functions.
Key words: Python technology; MySQL database; Apache server
目 录
高校校车管理系统的开发,其目的是要解决在当前信息化时代中落后的管理方式不能适应现代化社会发展的问题。信息化的管理其优点不但体现在极大的提高工作效率,也在明显减少办公成本的开支。其主要的意义在以下几点:
(1)规范化管理
非信息化管理中缺点是常常带有个人的随意性,资源的申请、领导审批、信息格式、数据收集、数据保存的受个人影响较大。而信息化的管理恰恰是避免了这些问题,它能提供清晰的资源申请、审批流程,能有固定的信息格式,并且信息保存方式,保存时效方面都是非常优秀的。
(2)提高工作效率
信息化管理的特点就是效率高,可以不受时间和空间的限制,在网络普及的时代,基本可以做到随时随地进行办公,所有操作可以通过网络完成,极大的提高了工作的效率。
(3)节省资源,保护环境
无纸化办公室是信息管理系统的特征,它的出现节省了大量的纸张,同时也节省了很多人力物力,再现在提倡低碳办公室的时代是极具代表性的一种低碳环保方式。
Walert.Tkeunvena早在1970 年将信息化管理系统定义为:“以口头或书面的形式,在合适的时间向经理、职业以及外界人员提供过去的、现在的、预测未来的有关企业内部及其环境的信息,以帮助他们进行决策”。此定义已经充分反映出信息化管理系统在企业管理中的重要作用。
早在2013年,教育部就已经提出要对中小学的校车进行信息化的管理,要求省级和市级教育行政部门要加强所管辖县的督促检查,建立健全信息报送和督办机制回。但是,目前还没有政府部门要求对高校校车的信息化管理,而高校是人才培养.基地,是先进科技发展的先锋,在管理上更应该要体现其先进性。然而在很多高校现在的校车管理模式还停留在二十世纪的纸质化办公,从而使校车管理中遇到信息不及时、管理模式单一的情况。因此,运用信息管理系统管理高校校车很有必要"”。基于B/S结构( Browser/Server,浏览器/服务器模式)模式的信息管理系统是随着Internet 技术的兴起而广泛应用于各个行业。它是C/S结构的一种改进。B/S的用户操作界面通过万维网浏览器就能实现对数据的操作,其数据核心集中在服务器"。客户端是浏览器,这样极大的简化了系统的开发及日常维护,对客户端的更是只要求安装浏览器即可实现数据的交互,是现在信息系统的主流,而本文正是选择此模式进行系统功能的研究实现。
本文的主要工作是研究如何将计算机和信息管理进行有机结合,从而利用Python语言以及MySQL数据库技术在Dreamweaver中实现了系统的功能模块,切实的开发出一套贴近校车管理的实际,有效管理校车的系统。
论文结构如下:
第一章绪论:主要对校车管理系统的开发背景,研究现状,目的,及意义进行了分析。
第二章开发技术及软件:主要把系统开发工具进行介绍,另外讲解开发系统所用到的一些特殊功能技术。
第三章系统分析:主要是对校车管理系统进行需求分析,以及对其数据流程与功能进行分析。
第四章系统设计:主要根据系统需求对系统的设计进行介绍,以及对数据的开发与功能模块设计的过程。
第五章系统实现:本章主要结合系统界面截图,介绍了系统各个功能实现的结果。
第六章系统测试:本章系统进行功能模块的测试,撰写测试用例,确保系统各大功能准确无误。
第七章总结与展望:对整个论文的研究内容进行总结,概括整个论文的特点,指出不足之处,为下步深究指明方向。
本系统前端部分基于MVVM模式进行开发,采用B/S模式,后端部分基于python的Django框架进行开发。
前端部分:前端框架采用了比较流行的渐进式JavaScript框架Vue.js。使用Vue-Router和Vuex实现动态路由和全局状态管理,Ajax实现前后端通信,Element UI组件库使页面快速成型,项目前端通过栅格布局实现响应式,可适应PC端、平板端、手机端等不同屏幕大小尺寸的完美布局展示。
后端部分:采用Django作为开发框架,同时集成Redis等相关技术。
HTML是一种制作网页的常用语言,它一般是用于制作静态页面。它的命令是可以体现文字信息、链接信息、图形信息和表格信息等等。现在它被大众普遍接受广泛应用在网络上[3]。
在系统的开发上采用了B/S结构,在B/S结构中,统一采用浏览器,而不需要去开发任何的用户界面,Web浏览器向处理它的Web服务器发送请求,并一步一步地将处理结果返回给客户端。B/S结构主要采用了各种脚本语言和ActiveX技术,降低了系统的开发难度并简化了系统维护以及使用[4]。
B/S结构有如下特点:B/S结构建立在广域网上,不需要专门为其配置硬件环境,比C/S结构的适应范围更强;由于其基于广域网,所以其对安全的控制能力相对较弱;B/S的多种结构要求构造相对独立的函数,这样才能可以更好地重用;B/S结构组成简单,便于对个别构件进行更换,降低了系统的维护成本B/S信息流向与C/S不同,B/S信息流向可变化[5]。
(1)Python 结合 C、Java、Perl 以及自创的新语法形成了自己独特的语法[6]。
(2)Python可以更快速的执行动态网页,当然这只是相对于CGI或者Perl来说,Python可以在HTML文档中嵌入程序,而且去执行,另外Python能够实现CGI的所有功能,因此说明Python具有很强大的功能。
(3)大部分当下流行的数据库和操作系统Python语言都能够支持。
(4)Python语言的最重要特点就是可以让C、C++进行扩展[7]。
MySQL 经过多次的更新,功能层面已经非常的丰富和完善了,从MySQL4版本到5版本进行了比较大的更新,在商业的实际使用中取得了很好的实际应用效果。最新版本的MySQL支持对信息的压缩,同时还能进行加密能更好的满足对信息安全性的需求。同时经过系统的多次更新,数据库自身的镜像功能也得到了很大的增强,运行的流畅度和易用性方面有了不小的进步,驱动的使用和创建也更加的高效快捷。最大的变动还是进行了空间信息的显示优化,能更加方便的在应用地图上进行坐标的标注和运算。强大的备份功能也保证了用户使用的过程会更加安心,同时支持的Office特性还支持用户的自行安装和使用。在信息的显示形式上也进行了不小的更新,增加了两个非常使用的显示区,一个是信息区,对表格和文字进行了分类处理,界面的显示更加清爽和具体。第二是仪表的信息控件,能在仪表信息区进行信息的显示,同时还能进行多个信息的比对,为用户的实际使用带来了很大的便捷[8][9]。
针对本文中设计的校车管理系统在实际的实现过程中,最终选择MySQL数据库的主要原因在于在企业的应用系统应用及开发的过程中会存在大量的数据库比较频繁的操作,而且数据的安全性要求也是非常的高。综合这些因素,最终选择安全性系数比较高的MySQL来对校车管理系统后台数据进行存储操作[10][11]。
Apache是开发源代码,使用者可根据个人习惯、系统的需求对Apache进行配置;另外对于系统的发布和运行是非常简单的[10],开发人员只需要在开发工具中导入Apache,服务器的配置就算完成了;这是非常适合Python程序的。对于程序人员开发程序经常可能会遇到乱码的问题,而使用Apache作为服务器,只需要在Apache的安装目录下找到配置文件夹conf下的服务器配置文件server.xml,打开后改动端口号为8080的接收环节与请求处理环节的连接器Connector为相对应的编码,运行项目后,就不会出现中文乱码问题。本系统的设计和实现编码使用的是UTF-8,所以需要在端口号为8080的连接器中设置编URIEncoding="UTF-8"[12] [13]。
开发任何一个系统,都要对其可行性进行分析,对其时间和资源上的限制进行考虑,这样可以减少系统开发的风险。同时,分析之后不仅能够合理的运用人力,还能在各方面资源的消耗上得到节省。下面就对技术、经济和社会三个方面来介绍。
技术可行性主要考虑当前项目所用的技术是否能够符合,在设备上是否能够满足,及各种辅助工具是否提供帮助。本系统用的是Python开发语言,调试相对简单,当前的计算机硬件配置也完全能满足开发的需求,因此在技术上是绝对可行的。软件方面:由于软件的开发平台成熟可行,它们速度快、容量大、可靠性能高、价格低,完全能满足系统的需求。采用Python编程语言,已无技术上的问题。
系统所采用的Pycharm开发平台和MySQL后端数据库均为免费开发工具。故开发成本主要集中在后期的推广及系统维护上。相对于成本较高的C/S模式,也是选用了成本较低的B/S模式,所以经济上几乎没任何问题。
本系统是自行开发的系统,以方便高效管理校车为出发点,是具有实际意义的系统,开发的环境软件和用到的数据库也都是开源代码,不存在侵权等问题,所以在社会方面也是可行的。
司机用例图如下所示。

图3-1 司机用例图
管理员用例图如下所示。

图3-2 管理员用例图
学生用例图如下所示。

图3-1 学生用例图
家长用例图如下所示。

图3-2 家长用例图
通过对用例图的分析和调查,根据本系统的实际需要,从用户角度提出需求功能如下:
1.管理员功能需求:
用户管理模块:管理员查看用户基本信息,并实现对用户信息的增加、删除、修改等功能。
修改登录密码模块:修改管理员用户的登录密码。
校车申请管理模块:管理员查看司机的提交的校车申请内容,可对其审核、修改。
校车信息管理模块:管理员查看校车信息,并且添加校车数据,也能够删除校车数据。
校车预约管理模块:根据业务需要,管理员对校车预约的审核、处理、维护等操作。
取消预约管理模块:根据业务需要,管理员对取消预约记录的审核、处理、维护等操作。
新闻管理模块:管理员查看新闻数据,并且发布新闻数据,编辑新闻数据,删除新闻数据。
2.学生/家长功能需求:
用户注册模块:将用户信息录入数据库,用户利用注册的账号以及密码登录系统,浏览查看各种信息,添加部分信息;
校车预约模块:从管理员发布的校车信息选择要预约校车信息,管理员审核。
取消预约模块:用户取消预约,管理员审核。
个人信息模块:修改信息功能,用户修改个人资料信息,但不能修改账号;密码修改功能,修改登录密码。
评判一个系统好坏的一项重要指标就是性能,下面是对此系统的一些性能进行阐述。
1.系统的安全性和稳定性: 校车管理系统在管理权限上有着严格的控制,即想登录此平台进行操作,则必须要有操作权限,没有权限的用户是不可能登录平台查看任何的信息和数据,从而确保了系统的安全性。
2.数据的完整性和准确性:第一个是各项记录信息的完整性,信息记录的内容可以为空;第二个是各项信息数据之间相互联系的准确性;第三个是数据在不同记录信息的一致性
3.用户操作系统简单方便
在系统开发中按照“简单易用”的原则,能够使用户对系统的使用一目了然,既能保证用户使用,同时又能保证维护人员方便维护。
在分析了系统的业务流程之后,就要分析系统的数据流,为后面设计系统的数据库做好基础。这里主要利用数据流程图来说明数据流程。数据流程图是一个图示工具,容易理解,容易在开发和用户方之间进行交流,以及在开发组织内部交流。因此数据流程图作为一种模型工具已经广泛使用在软件工程的实践中。
系统的顶层数据流图如下图所示。

图3-2系统数据流图(顶层)
根据系统的业务流程,用户浏览所使用到的数据归纳为输出信息。而用户提交的数据则作为系统的输入数据。相应的,根据系统管理员业务流程,管理员对系统内容的添加、更新和删除等所操作的数据定义为输入信息。
系统的底层数据流图如下图所示。

图3-3系统数据流图(底层)
MVC 是指 Model、View 和 Controller,翻译成中文分别是模型层、视图层和控制层。MVC 模式是一种设计模式,它强制性的把应用程序的输入、输出和处理全部分开,将其分为三个核心部分,这三个部分分别有不同的功能。

图4-1系统架构图
视图层视图是指被用户所看到的并且能够与之进行交互的界面。视图可以向用户展示相关的数据,并接收用户输入的数据,但对用户数据不进行任何实际业务操作处理。
模型层通过控制层来处理视图层传递的数据,同一个模型可以给不同的视图提供数据,也可以被不同的视图重复使用。由于 Model 的主要内容是数据、方法和行为,其也是 MVC 中逻辑最为复杂,代码量最多的部分,其中包含了许多应用中需要用到的业务逻辑,因此模型层的开发也变得尤为重要,后期一般不会对模型层进行大规模改动,也是 MVC 中最稳定的部分。
控制层主要负责视图层和模型层之间的数据传输和处理请求操作。当用户通过视图发送数据和请求时,控制层可以接收请求和数据并决定调用哪些模型、通过模型的哪些操作来处理数据和请求,处理完成后,控制层再将数据返回给相应的视图。
根据对系统的功能进行分析可以总结校车管理系统的具体功能模块包括下面的几个主要的功能模块:该系统主要从两大模块进行设计的,首先就是用户参与操作需要的模块,此外还需要有管理员用到的模块,两者之间不是互相独立的,他们之间有着密切的联系,同数据库表中的数据连接起来进行操作。每个模块访问相同的数据库,但访问的表不同。系统的各个功能模块是根据所收集的资料研究得到的。在以上分析功能的基础上,系统模块分为多个模块。用户含有的功能有注册,登录,首页、个人资料、预约申请、取消预约等,退出登录等功能,管理员含有的功能有首页、个人资料、公共管理(轮播图、公告通知)用户管理(管理员、学生用户、家长用户、司机用户)信息管理(新闻资讯、资讯分类)校车信息、预约申请、取消预约、校车申请管理等功能。
系统的功能结构图如下图所示。

图4-2系统功能结构图
E-R图一般是由实体、实体的属性与联系三个要素组成的。在规划系统中所使用的数据库实体对象及实体E-R图,则需要通过对系统的需求分析、业务流程设计和系统功能结构来确定的。
总体ER图如下图所示。

图4-3总体ER图
将实体属性模型转换为关系数据库应该遵循以下几个原则:
1.一个实体转换后要对应一个关系。
2.所有的主键必须要定义为非空(not null)。
3.针对二元联系也应该按照一对多、弱对实、一对一和多对多等联系来定义外键。
得到数据库的关系后,设计如下表结构。
表access_token (登陆访问时长)
| 编号 | 名称 | 数据类型 | 长度 | 小数位 | 允许空值 | 主键 | 默认值 | 说明 |
| 1 | token_id | int | 10 | 0 | N | Y | 临时访问牌ID | |
| 2 | token | varchar | 64 | 0 | Y | N | 临时访问牌 | |
| 3 | info | text | 65535 | 0 | Y | N | ||
| 4 | maxage | int | 10 | 0 | N | N | 2 | 最大寿命:默认2小时 |
| 5 | create_time | timestamp | 19 | 0 | N | N | CURRENT_TIMESTAMP | 创建时间: |
| 6 | update_time | timestamp | 19 | 0 | N | N | CURRENT_TIMESTAMP | 更新时间: |
| 7 | user_id | int | 10 | 0 | N | N | 0 | 用户编号: |
表appointment_application (预约申请)
| 编号 | 名称 | 数据类型 | 长度 | 小数位 | 允许空值 | 主键 | 默认值 | 说明 |
| 1 | appointment_application_id | int | 10 | 0 | N | Y | 预约申请ID | |
| 2 | school_bus_model | varchar | 64 | 0 | Y | N | 校车型号 | |
| 3 | school_bus_license_plate | varchar | 64 | 0 | Y | N | 校车车牌 | |
| 4 | school_bus_type | varchar | 64 | 0 | Y | N | 校车类型 | |
| 5 | appointment_status | varchar | 64 | 0 | Y | N | 预约状态 | |
| 6 | appointment_of_students | int | 10 | 0 | Y | N | 0 | 预约学生 |
| 7 | time_of_appointment | datetime | 19 | 0 | Y | N | 预约时间 | |
| 8 | appointment_remarks | text | 65535 | 0 | Y | N | 预约备注 | |
| 9 | recommend | int | 10 | 0 | N | N | 0 | 智能推荐 |
| 10 | create_time | datetime | 19 | 0 | N | N | CURRENT_TIMESTAMP | 创建时间 |
| 11 | update_time | timestamp | 19 | 0 | N | N | CURRENT_TIMESTAMP | 更新时间 |
| 编号 | 名称 | 数据类型 | 长度 | 小数位 | 允许空值 | 主键 | 默认值 | 说明 |
| 1 | article_id | mediumint | 8 | 0 | N | Y | 文章id:[0,8388607] | |
| 2 | title | varchar | 125 | 0 | N | Y | 标题:[0,125]用于文章和html的title标签中 | |
| 3 | type | varchar | 64 | 0 | N | N | 0 | 文章分类:[0,1000]用来搜索指定类型的文章 |
| 4 | hits | int | 10 | 0 | N | N | 0 | 点击数:[0,1000000000]访问这篇文章的人次 |
| 5 | praise_len | int | 10 | 0 | N | N | 0 | 点赞数 |
| 6 | create_time | timestamp | 19 | 0 | N | N | CURRENT_TIMESTAMP | 创建时间: |
| 7 | update_time | timestamp | 19 | 0 | N | N | CURRENT_TIMESTAMP | 更新时间: |
| 8 | source | varchar | 255 | 0 | Y | N | 来源:[0,255]文章的出处 | |
| 9 | url | varchar | 255 | 0 | Y | N | 来源地址:[0,255]用于跳转到发布该文章的网站 | |
| 10 | tag | varchar | 255 | 0 | Y | N | 标签:[0,255]用于标注文章所属相关内容,多个标签用空格隔开 | |
| 11 | content | longtext | 2147483647 | 0 | Y | N | 正文:文章的主体内容 | |
| 12 | img | varchar | 255 | 0 | Y | N | 封面图 | |
| 13 | description | text | 65535 | 0 | Y | N | 文章描述 |
| 编号 | 名称 | 数据类型 | 长度 | 小数位 | 允许空值 | 主键 | 默认值 | 说明 |
| 1 | type_id | smallint | 5 | 0 | N | Y | 分类ID:[0,10000] | |
| 2 | display | smallint | 5 | 0 | N | N | 100 | 显示顺序:[0,1000]决定分类显示的先后顺序 |
| 3 | name | varchar | 16 | 0 | N | N | 分类名称:[2,16] | |
| 4 | father_id | smallint | 5 | 0 | N | N | 0 | 上级分类ID:[0,32767] |
| 5 | description | varchar | 255 | 0 | Y | N | 描述:[0,255]描述该分类的作用 | |
| 6 | icon | text | 65535 | 0 | Y | N | 分类图标: | |
| 7 | url | varchar | 255 | 0 | Y | N | 外链地址:[0,255]如果该分类是跳转到其他网站的情况下,就在该URL上设置 | |
| 8 | create_time | timestamp | 19 | 0 | N | N | CURRENT_TIMESTAMP | 创建时间: |
| 9 | update_time | timestamp | 19 | 0 | N | N | CURRENT_TIMESTAMP | 更新时间: |
| 编号 | 名称 | 数据类型 | 长度 | 小数位 | 允许空值 | 主键 | 默认值 | 说明 |
| 1 | auth_id | int | 10 | 0 | N | Y | 授权ID: | |
| 2 | user_group | varchar | 64 | 0 | Y | N | 用户组: | |
| 3 | mod_name | varchar | 64 | 0 | Y | N | 模块名: | |
| 4 | table_name | varchar | 64 | 0 | Y | N | 表名: | |
| 5 | page_title | varchar | 255 | 0 | Y | N | 页面标题: | |
| 6 | path | varchar | 255 | 0 | Y | N | 路由路径: | |
| 7 | position | varchar | 32 | 0 | Y | N | 位置: | |
| 8 | mode | varchar | 32 | 0 | N | N | _blank | 跳转方式: |
| 9 | add | tinyint | 3 | 0 | N | N | 1 | 是否可增加: |
| 10 | del | tinyint | 3 | 0 | N | N | 1 | 是否可删除: |
| 11 | set | tinyint | 3 | 0 | N | N | 1 | 是否可修改: |
| 12 | get | tinyint | 3 | 0 | N | N | 1 | 是否可查看: |
| 13 | field_add | text | 65535 | 0 | Y | N | 添加字段: | |
| 14 | field_set | text | 65535 | 0 | Y | N | 修改字段: | |
| 15 | field_get | text | 65535 | 0 | Y | N | 查询字段: | |
| 16 | table_nav_name | varchar | 500 | 0 | Y | N | 跨表导航名称: | |
| 17 | table_nav | varchar | 500 | 0 | Y | N | 跨表导航: | |
| 18 | option | text | 65535 | 0 | Y | N | 配置: | |
| 19 | create_time | timestamp | 19 | 0 | N | N | CURRENT_TIMESTAMP | 创建时间: |
| 20 | update_time | timestamp | 19 | 0 | N | N | CURRENT_TIMESTAMP | 更新时间: |
| 编号 | 名称 | 数据类型 | 长度 | 小数位 | 允许空值 | 主键 | 默认值 | 说明 |
| 1 | cancel_reservation_id | int | 10 | 0 | N | Y | 取消预约ID | |
| 2 | school_bus_model | varchar | 64 | 0 | Y | N | 校车型号 | |
| 3 | school_bus_license_plate | varchar | 64 | 0 | Y | N | 校车车牌 | |
| 4 | school_bus_type | varchar | 64 | 0 | Y | N | 校车类型 | |
| 5 | cancel_status | varchar | 64 | 0 | Y | N | 取消状态 | |
| 6 | appointment_of_students | int | 10 | 0 | Y | N | 0 | 预约学生 |
| 7 | cancel_time | date | 10 | 0 | Y | N | 取消时间 | |
| 8 | reason_for_cancellation | text | 65535 | 0 | Y | N | 取消原因 | |
| 9 | recommend | int | 10 | 0 | N | N | 0 | 智能推荐 |
| 10 | create_time | datetime | 19 | 0 | N | N | CURRENT_TIMESTAMP | 创建时间 |
| 11 | update_time | timestamp | 19 | 0 | N | N | CURRENT_TIMESTAMP | 更新时间 |
| 编号 | 名称 | 数据类型 | 长度 | 小数位 | 允许空值 | 主键 | 默认值 | 说明 |
| 1 | collect_id | int | 10 | 0 | N | Y | 收藏ID: | |
| 2 | user_id | int | 10 | 0 | N | N | 0 | 收藏人ID: |
| 3 | source_table | varchar | 255 | 0 | Y | N | 来源表: | |
| 4 | source_field | varchar | 255 | 0 | Y | N | 来源字段: | |
| 5 | source_id | int | 10 | 0 | N | N | 0 | 来源ID: |
| 6 | title | varchar | 255 | 0 | Y | N | 标题: | |
| 7 | img | varchar | 255 | 0 | Y | N | 封面: | |
| 8 | create_time | timestamp | 19 | 0 | N | N | CURRENT_TIMESTAMP | 创建时间: |
| 9 | update_time | timestamp | 19 | 0 | N | N | CURRENT_TIMESTAMP | 更新时间: |
| 编号 | 名称 | 数据类型 | 长度 | 小数位 | 允许空值 | 主键 | 默认值 | 说明 |
| 1 | comment_id | int | 10 | 0 | N | Y | 评论ID: | |
| 2 | user_id | int | 10 | 0 | N | N | 0 | 评论人ID: |
| 3 | reply_to_id | int | 10 | 0 | N | N | 0 | 回复评论ID:空为0 |
| 4 | content | longtext | 2147483647 | 0 | Y | N | 内容: | |
| 5 | nickname | varchar | 255 | 0 | Y | N | 昵称: | |
| 6 | avatar | varchar | 255 | 0 | Y | N | 头像地址:[0,255] | |
| 7 | create_time | timestamp | 19 | 0 | N | N | CURRENT_TIMESTAMP | 创建时间: |
| 8 | update_time | timestamp | 19 | 0 | N | N | CURRENT_TIMESTAMP | 更新时间: |
| 9 | source_table | varchar | 255 | 0 | Y | N | 来源表: | |
| 10 | source_field | varchar | 255 | 0 | Y | N | 来源字段: | |
| 11 | source_id | int | 10 | 0 | N | N | 0 | 来源ID: |
| 编号 | 名称 | 数据类型 | 长度 | 小数位 | 允许空值 | 主键 | 默认值 | 说明 |
| 1 | driver_user_id | int | 10 | 0 | N | Y | 司机用户ID | |
| 2 | user_name | varchar | 64 | 0 | Y | N | 用户姓名 | |
| 3 | user_gender | varchar | 64 | 0 | Y | N | 用户性别 | |
| 4 | user_age | int | 10 | 0 | Y | N | 0 | 用户年龄 |
| 5 | users_driving_experience | varchar | 64 | 0 | Y | N | 用户驾龄 | |
| 6 | examine_state | varchar | 16 | 0 | N | N | 已通过 | 审核状态 |
| 7 | recommend | int | 10 | 0 | N | N | 0 | 智能推荐 |
| 8 | user_id | int | 10 | 0 | N | N | 0 | 用户ID |
| 9 | create_time | datetime | 19 | 0 | N | N | CURRENT_TIMESTAMP | 创建时间 |
| 10 | update_time | timestamp | 19 | 0 | N | N | CURRENT_TIMESTAMP | 更新时间 |
| 编号 | 名称 | 数据类型 | 长度 | 小数位 | 允许空值 | 主键 | 默认值 | 说明 |
| 1 | hits_id | int | 10 | 0 | N | Y | 点赞ID: | |
| 2 | user_id | int | 10 | 0 | N | N | 0 | 点赞人: |
| 3 | create_time | timestamp | 19 | 0 | N | N | CURRENT_TIMESTAMP | 创建时间: |
| 4 | update_time | timestamp | 19 | 0 | N | N | CURRENT_TIMESTAMP | 更新时间: |
| 5 | source_table | varchar | 255 | 0 | Y | N | 来源表: | |
| 6 | source_field | varchar | 255 | 0 | Y | N | 来源字段: | |
| 7 | source_id | int | 10 | 0 | N | N | 0 | 来源ID: |
| 编号 | 名称 | 数据类型 | 长度 | 小数位 | 允许空值 | 主键 | 默认值 | 说明 |
| 1 | notice_id | mediumint | 8 | 0 | N | Y | 公告id: | |
| 2 | title | varchar | 125 | 0 | N | N | 标题: | |
| 3 | content | longtext | 2147483647 | 0 | Y | N | 正文: | |
| 4 | create_time | timestamp | 19 | 0 | N | N | CURRENT_TIMESTAMP | 创建时间: |
| 5 | update_time | timestamp | 19 | 0 | N | N | CURRENT_TIMESTAMP | 更新时间: |
| 编号 | 名称 | 数据类型 | 长度 | 小数位 | 允许空值 | 主键 | 默认值 | 说明 |
| 1 | parent_user_id | int | 10 | 0 | N | Y | 家长用户ID | |
| 2 | user_name | varchar | 64 | 0 | Y | N | 用户姓名 | |
| 3 | user_identity | varchar | 64 | 0 | Y | N | 用户身份 | |
| 4 | user_age | int | 10 | 0 | Y | N | 0 | 用户年龄 |
| 5 | examine_state | varchar | 16 | 0 | N | N | 已通过 | 审核状态 |
| 6 | recommend | int | 10 | 0 | N | N | 0 | 智能推荐 |
| 7 | user_id | int | 10 | 0 | N | N | 0 | 用户ID |
| 8 | create_time | datetime | 19 | 0 | N | N | CURRENT_TIMESTAMP | 创建时间 |
| 9 | update_time | timestamp | 19 | 0 | N | N | CURRENT_TIMESTAMP | 更新时间 |
| 编号 | 名称 | 数据类型 | 长度 | 小数位 | 允许空值 | 主键 | 默认值 | 说明 |
| 1 | praise_id | int | 10 | 0 | N | Y | 点赞ID: | |
| 2 | user_id | int | 10 | 0 | N | N | 0 | 点赞人: |
| 3 | create_time | timestamp | 19 | 0 | N | N | CURRENT_TIMESTAMP | 创建时间: |
| 4 | update_time | timestamp | 19 | 0 | N | N | CURRENT_TIMESTAMP | 更新时间: |
| 5 | source_table | varchar | 255 | 0 | Y | N | 来源表: | |
| 6 | source_field | varchar | 255 | 0 | Y | N | 来源字段: | |
| 7 | source_id | int | 10 | 0 | N | N | 0 | 来源ID: |
| 8 | status | bit | 1 | 0 | N | N | 1 | 点赞状态:1为点赞,0已取消 |
表school_bus_application (校车申请)
| 编号 | 名称 | 数据类型 | 长度 | 小数位 | 允许空值 | 主键 | 默认值 | 说明 |
| 1 | school_bus_application_id | int | 10 | 0 | N | Y | 校车申请ID | |
| 2 | school_bus_license_plate | varchar | 64 | 0 | Y | N | 校车车牌 | |
| 3 | application_user | int | 10 | 0 | Y | N | 0 | 申请用户 |
| 4 | application_time | date | 10 | 0 | Y | N | 申请时间 | |
| 5 | contact_information | varchar | 64 | 0 | Y | N | 联系方式 | |
| 6 | application_remarks | varchar | 64 | 0 | Y | N | 申请备注 | |
| 7 | examine_state | varchar | 16 | 0 | N | N | 未审核 | 审核状态 |
| 8 | examine_reply | varchar | 16 | 0 | Y | N | 审核回复 | |
| 9 | recommend | int | 10 | 0 | N | N | 0 | 智能推荐 |
| 10 | create_time | datetime | 19 | 0 | N | N | CURRENT_TIMESTAMP | 创建时间 |
| 11 | update_time | timestamp | 19 | 0 | N | N | CURRENT_TIMESTAMP | 更新时间 |
表school_bus_information (校车信息)
| 编号 | 名称 | 数据类型 | 长度 | 小数位 | 允许空值 | 主键 | 默认值 | 说明 |
| 1 | school_bus_information_id | int | 10 | 0 | N | Y | 校车信息ID | |
| 2 | school_bus_brand | varchar | 64 | 0 | Y | N | 校车品牌 | |
| 3 | school_bus_driver | int | 10 | 0 | Y | N | 0 | 校车司机 |
| 4 | school_bus_model | varchar | 64 | 0 | Y | N | 校车型号 | |
| 5 | school_bus_license_plate | varchar | 64 | 0 | Y | N | 校车车牌 | |
| 6 | school_bus_type | varchar | 64 | 0 | Y | N | 校车类型 | |
| 7 | cover_photo | varchar | 255 | 0 | Y | N | 封面图片 | |
| 8 | number_of_passengers | varchar | 64 | 0 | Y | N | 乘坐人数 | |
| 9 | school_bus_status | varchar | 64 | 0 | Y | N | 校车状态 | |
| 10 | school_bus_details | text | 65535 | 0 | Y | N | 校车详情 | |
| 11 | hits | int | 10 | 0 | N | N | 0 | 点击数 |
| 12 | praise_len | int | 10 | 0 | N | N | 0 | 点赞数 |
| 13 | recommend | int | 10 | 0 | N | N | 0 | 智能推荐 |
| 14 | create_time | datetime | 19 | 0 | N | N | CURRENT_TIMESTAMP | 创建时间 |
| 15 | update_time | timestamp | 19 | 0 | N | N | CURRENT_TIMESTAMP | 更新时间 |
| 编号 | 名称 | 数据类型 | 长度 | 小数位 | 允许空值 | 主键 | 默认值 | 说明 |
| 1 | slides_id | int | 10 | 0 | N | Y | 轮播图ID: | |
| 2 | title | varchar | 64 | 0 | Y | N | 标题: | |
| 3 | content | varchar | 255 | 0 | Y | N | 内容: | |
| 4 | url | varchar | 255 | 0 | Y | N | 链接: | |
| 5 | img | varchar | 255 | 0 | Y | N | 轮播图: | |
| 6 | hits | int | 10 | 0 | N | N | 0 | 点击量: |
| 7 | create_time | timestamp | 19 | 0 | N | N | CURRENT_TIMESTAMP | 创建时间: |
| 8 | update_time | timestamp | 19 | 0 | N | N | CURRENT_TIMESTAMP | 更新时间: |
| 编号 | 名称 | 数据类型 | 长度 | 小数位 | 允许空值 | 主键 | 默认值 | 说明 |
| 1 | student_users_id | int | 10 | 0 | N | Y | 学生用户ID | |
| 2 | student_name | varchar | 64 | 0 | Y | N | 学生姓名 | |
| 3 | student_gender | varchar | 64 | 0 | Y | N | 学生性别 | |
| 4 | student_age | varchar | 64 | 0 | Y | N | 学生年龄 | |
| 5 | parent_user | int | 10 | 0 | Y | N | 0 | 家长用户 |
| 6 | examine_state | varchar | 16 | 0 | N | N | 已通过 | 审核状态 |
| 7 | recommend | int | 10 | 0 | N | N | 0 | 智能推荐 |
| 8 | user_id | int | 10 | 0 | N | N | 0 | 用户ID |
| 9 | create_time | datetime | 19 | 0 | N | N | CURRENT_TIMESTAMP | 创建时间 |
| 10 | update_time | timestamp | 19 | 0 | N | N | CURRENT_TIMESTAMP | 更新时间 |
| 编号 | 名称 | 数据类型 | 长度 | 小数位 | 允许空值 | 主键 | 默认值 | 说明 |
| 1 | upload_id | int | 10 | 0 | N | Y | 上传ID | |
| 2 | name | varchar | 64 | 0 | Y | N | 文件名 | |
| 3 | path | varchar | 255 | 0 | Y | N | 访问路径 | |
| 4 | file | varchar | 255 | 0 | Y | N | 文件路径 | |
| 5 | display | varchar | 255 | 0 | Y | N | 显示顺序 | |
| 6 | father_id | int | 10 | 0 | Y | N | 0 | 父级ID |
| 7 | dir | varchar | 255 | 0 | Y | N | 文件夹 | |
| 8 | type | varchar | 32 | 0 | Y | N | 文件类型 |
| 编号 | 名称 | 数据类型 | 长度 | 小数位 | 允许空值 | 主键 | 默认值 | 说明 |
| 1 | user_id | mediumint | 8 | 0 | N | Y | 用户ID:[0,8388607]用户获取其他与用户相关的数据 | |
| 2 | state | smallint | 5 | 0 | N | N | 1 | 账户状态:[0,10](1可用|2异常|3已冻结|4已注销) |
| 3 | user_group | varchar | 32 | 0 | Y | N | 所在用户组:[0,32767]决定用户身份和权限 | |
| 4 | login_time | timestamp | 19 | 0 | N | N | CURRENT_TIMESTAMP | 上次登录时间: |
| 5 | phone | varchar | 11 | 0 | Y | N | 手机号码:[0,11]用户的手机号码,用于找回密码时或登录时 | |
| 6 | phone_state | smallint | 5 | 0 | N | N | 0 | 手机认证:[0,1](0未认证|1审核中|2已认证) |
| 7 | username | varchar | 16 | 0 | N | N | 用户名:[0,16]用户登录时所用的账户名称 | |
| 8 | nickname | varchar | 16 | 0 | Y | N | 昵称:[0,16] | |
| 9 | password | varchar | 64 | 0 | N | N | 密码:[0,32]用户登录所需的密码,由6-16位数字或英文组成 | |
| 10 | | varchar | 64 | 0 | Y | N | 邮箱:[0,64]用户的邮箱,用于找回密码时或登录时 | |
| 11 | email_state | smallint | 5 | 0 | N | N | 0 | 邮箱认证:[0,1](0未认证|1审核中|2已认证) |
| 12 | avatar | varchar | 255 | 0 | Y | N | 头像地址:[0,255] | |
| 13 | create_time | timestamp | 19 | 0 | N | N | CURRENT_TIMESTAMP | 创建时间: |
| 编号 | 名称 | 数据类型 | 长度 | 小数位 | 允许空值 | 主键 | 默认值 | 说明 |
| 1 | group_id | mediumint | 8 | 0 | N | Y | 用户组ID:[0,8388607] | |
| 2 | display | smallint | 5 | 0 | N | N | 100 | 显示顺序:[0,1000] |
| 3 | name | varchar | 16 | 0 | N | N | 名称:[0,16] | |
| 4 | description | varchar | 255 | 0 | Y | N | 描述:[0,255]描述该用户组的特点或权限范围 | |
| 5 | source_table | varchar | 255 | 0 | Y | N | 来源表: | |
| 6 | source_field | varchar | 255 | 0 | Y | N | 来源字段: | |
| 7 | source_id | int | 10 | 0 | N | N | 0 | 来源ID: |
| 8 | register | smallint | 5 | 0 | Y | N | 0 | 注册位置: |
| 9 | create_time | timestamp | 19 | 0 | N | N | CURRENT_TIMESTAMP | 创建时间: |
| 10 | update_time | timestamp | 19 | 0 | N | N | CURRENT_TIMESTAMP | 更新时间: |
从web系统查询数据的根本的查询步骤:
Step1: 进行检查并且过滤来自用户的系统数据;
Step2: 成立起一个合适的数据库进行连接;
Step3: 进行查询系统数据库;
Step4: 获得查询的结构;
Step5: 把查询的结果展示给用户。
Step6: 数据库连接断开,释放资源。
数据库连接原理如下图所示。

图5-1数据库连接原理
为确保系统安全性,系统操作员只有在登录界面输入正确的用户名、密码、权限以及验证码,单击“登录”按钮后才能够进入本系统的主界面。
用户登录流程图如下所示。

图5-2用户登录流程图
登录界面如下图所示。

图5-3登录界面
用户输入用户名、密码、电话、姓名等必填信息后,点击注册按钮完成用户的注册。
用户注册流程图如下所示。

图5-5用户注册流程图
用户注册界面如下图所示。

图5-5用户注册界面
-
-
- 预约申请模块的实现
-
用户点击预约按钮进入预约申请界面,点击预约提交,跳转至预约发布页面,提交预约信息,成功发布预约信息,管理员管理用户的预约信息。
预约申请流程图如下所示。

图5-6预约申请流程图
预约申请界面如图所示。

图5-7发表留言界面
预约申请管理界面如图所示。

图5-8预约申请管理界面
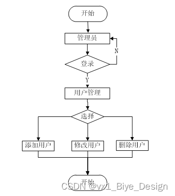
系统用户管理主要是对新用户的添加和旧用户的删除。新用户的添加主要是指添加用户名称并确定其密码;旧用户的删除也是从下拉菜单中找到对应的用户名称将其删除。不论是新用户添加还是旧用户的删除,这个权限只有管理员具有。
用户管理流程图如下所示。

图5-9用户管理流程图
用户管理界面如下图所示。

图5-10用户管理界面
密码修改是对当前登录用户的密码进行修改,在管理员登录页面后右上方也能进行密码修改。
密码修改流程图如下所示。

图5-11密码修改流程图
密码修改界面如图所示。

图5-12修改密码界面
如果公告数据的信息需要修改,管理员可以通过查询公告数据的基本信息来查询公告数据,查询公告数据是通过ajax技术来进行查询的,需要传递公告数据的标题、编号等参数然后在返回到该页面中,可以选中要修改或删除的那条信息,如果选中了超过一条数据,页面会挑一个窗口提醒只能选择一条数,如果没有选中数据会挑一个窗口题型必须选择一条数据。当选择确认修改的时候,后台会根据传过来的id到数据库查询,并将结果返回到修改页面中,可以在修改页面中修改刚刚选中的信息当点击确认的时候from表单会将修改的数据提交到后台并保存到数据库中,就是说如果提交的数据数据库中存在就修改,否则就保存。
公告数据展示界面如下图所示。

图5-13公告数据展示界面
公告数据管理界面如下图所示。

图5-14公告数据管理界面
-
-
- 校车管理模块的实现
-
校车信息添加功能主要指对其编号、内容、详情等一些基本信息的添加、删除和修改。校车查询能根据校车编号、内容、详情等多种条件对校车信息进行查询。
校车添加流程图如下所示。

图5-15校车添加流程图
校车添加如下图所示。

图5-16校车添加界面
校车查询界面如下所示。

图5-17校车查询界面
1、服务器端
操作系统:Windows 7
Web服务器:Apache2.4.7
数据库:MySQL
开发语言:Python
2、客户端
浏览器:Internet Explorer10
界面布局:DIV+CSS
分辨率:最佳效果1027*768以上像素
3、开发工具
Dreamweaver
Pycharm
系统测试是用于检查软件的质量、性能、可靠性等是否符合用户需求。一套严谨的、规范的、完善的测试过程将大大提高软件的质量、可信度、可靠性,降低软件的出错率,降低用户风险系数。通过在计算机上对系统进行测试试验并从中发现此系统中存在的问题和错误然后加以修改,使之更加符合用户需求。
1.测试的目的是通过测试来发现程序在执行过程中的错误的过程。
2.好的测试方案是可以检验出还未被发现的错误的方案。
3.好的测试是发现了到目前为止还未被发现的错误的测试。
4.该系统能够完成校车信息、预约申请、取消预约、校车申请等功能,做到所开发的系统操作简单,尽量使系统操作不受用户对电脑知识水平的限制。
下表是系统登录功能测试用例,检测了用户名和密码的不同的输入情况,观察系统的响应情况。得出该功能达到了设计目标。
表6-1 系统登录功能测试用例
| 功能描述 | 用于系统登录 | |
| 测试目的 | 检测登录时的合法性检查 | |
| 测试数据以及操作 | 预期结果 | 实际结果 |
| 输入的用户名和密码带有非法字符 | 提示用户名或者密码错误 | 与预期结果一致 |
| 输入的用户名或者密码为空 | 提示用户名或者密码错误 | 与预期结果一致 |
| 输入的用户名和密码不存在 | 提示用户名或者密码错误 | 与预期结果一致 |
| 输入正确的用户名和密码 | 登录成功 | 与预期结果一致 |
下表是注册功能测试用例,检测了各种数据的输入情况,观察系统的响应情况。得出该功能达到了设计目标。
表6-2 注册功能测试用例
| 功能描述 | 用于用户注册 | |
| 测试目的 | 检测用户注册时的合法性检查 | |
| 测试数据以及操作 | 预期结果 | 实际结果 |
| 输入的手机号不合法 | 提示请输入正确的手机号码 | 与预期结果一致 |
| 输入的字段为空 | 提示必填项不能为空 | 与预期结果一致 |
| 输入的密码少于6位 | 提示密码必须为6-12位 | 与预期结果一致 |
| 输入的密码大于12位 | 提示密码必须为6-12位 | 与预期结果一致 |
下表是校车管理功能的测试用例,检测了校车管理中对校车信息的增加,删除,修改,查询操作是否成功运行。观察系统的响应情况,得出该功能也达到了设计目标,系统运行正确。
前置条件;用户登录系统。
表6-3 校车管理的测试用例
| 功能描述 | 用于校车管理 | |
| 测试目的 | 检测校车管理时的各种操作的运行情况 | |
| 测试数据以及操作 | 预期结果 | 实际结果 |
| 点击添加校车,必填项合法输入,点击保存 | 提示添加成功 | 与预期结果一致 |
| 点击添加校车,必填项输入不合法,点击保存 | 提示必填项不能为空 | 与预期结果一致 |
| 点击修改校车,必填项修改为空,点击保存 | 提示必填项不能为空 | 与预期结果一致 |
| 点击修改校车,必填项输入不合法,点击保存 | 提示必填项不能为空 | 与预期结果一致 |
| 点击删除校车,选择校车删除 | 提示删除成功 | 与预期结果一致 |
| 点击搜索校车,输入存在的校车名 | 查找出校车 | 与预期结果一致 |
| 点击搜索校车,输入不存在的校车名 | 不显示校车 | 与预期结果一致 |
根据以上测试情况,测试结果如下表所示。
表6-1测试结果表
| 测试项目 | 测试结果 |
| 登录测试 | 成功 |
| 修改密码测试 | 成功 |
| 资讯测试 | 成功 |
| 校车信息管理测试 | 成功 |
| 校车申请缴费测试 | 成功 |
| 用户管理测试 | 成功 |
| 校车预约管理测试 | 成功 |
本研究针对校车管理系统地需求建模,数据建模及过程建模分析设计并实现校车管理系统的过程。给出系统应用架构并分析优劣势,通过功能分解图,系统组件图描述功能需求。设计建立了数据库,给出系统关键数据结构的定义。通过类关系图描述组件间的协作关系,给出各个类的定义方法。通过描述每一个类的字段,属性及方法实现校车管理系统的前后端代码。最终给出系统集成整合方法,完成校车管理系统地设计与实现。
在此项目的开发中,先要按照产品经理做出的产品模型铺出大体的页面,并在其中找好页面的逻辑关系,并且中途总结一些页面上的问题重新反馈给产品经理,当静态页面的搭建的大体已经完善时,就需要和负责后台开发的技术开发者联系,来接好前后台的数据接口,可以让后台的信息在前台显示出来,在这个项目实现中,不光明白了前端开发和产品经理的联系,也明白了后台在整个系统中起到了什么作用,因为前后台的连接,用户可以对系统进行操作,可以在输入自己的相关信息后,通过后台加工,完成对数据库的查找、修改、添加,而理解了这些关系与实现的方法后。再去完善整个系统的功能就更加清晰与简单了。此次的项目它涉及了前台与后台系统的搭建,在学校所学的知识基础上,此次的项目,让我对于一个系统的前端开发,以及后台的作用都有了一个更深切的认知。
参考文献
[1]龚晓丽,田倍齐,高媛,何云,李宜珈.基于微信公众平台的固原气象微网站的设计与实现[J].农业与技术,2020,40(08):106-107.
[2]邢彤彤,覃蕊,高峰.基于PHP+MySQL技术的农家乐推广网络系统开发与实现[J].计算机产品与流通,2020(05):52.
[3]乐蓓.高性能电子商务网站前端设计理念研究[J].计算机产品与流通,2020(05):95.
[4]董辉,韩林贝,董浩,袁登鹏,李华昌.基于Web的手套机工业物联网平台设计与开发[J].计算机测量与控制,2020,28(04):200-204.
[5]路志红.电力网络视频网站版权风险管理信息系统的设计[J].变压器,2020,57(04):93.
[6]杨晶晶.网站管理系统中数据库设计的应用[J].福建茶叶,2020,42(04):39.
[7]张欢,姜在新.基于不同人群的农产品电商界面设计研究[J].轻纺工业与技术,2020,49(04):114-115.
[8]杨毅,林圣基,周元春,陈建国.基于智能手机与WEB平台的微课移动教学系统设计与实践[J].自动化技术与应用,2020,39(04):182-185.
[9]柴畅.跨境电商平台中美购物网站店铺主页的跨文化比较[J].电子商务,2020(04):33-34+36.
[10]陈猛.基于Java的购物网站设计与开发[J].农家参谋,2020(08):200.
[11]袁莹静,陈婷,陈龙,周芷仪,谢鹏辉.基于Web的二手车交易系统的设计与实现[J].软件,2020,41(04):195-199.
[12]周宇轩,朱科旭,杨知涵,唐诗钰,褚永彬.基于HTML5的“慢游”旅游Web App设计与实现[J].电脑与信息技术,2020,28(02):47-50.
[13]王昭.基于用户体验的中国扇文化推广类网站的设计研究——以“京扇子”品牌官方网站设计为例[J].设计,2020,33(07):28-31.
[14]肖文娟,王加胜.基于Vue和Spring Boot的校园记录管理Web App的设计与实现[J].计算机应用与软件,2020,37(04):25-30+88.
[15]邬洪波.基于PHP技术的视频点播网站设计[J].集成电路应用,2020,37(04):68-69.
[16]GietzeltMatthias,KarmenChristian,Knaup-GregoriPetra,GanzingerMatthias.vivaGen-asurvivaldatasetgeneratorforsoftwaretesting.[J].BMCbioinformatics,2020,21(1).
[17]LeeBo-Young,ParkJunChul,KimMin-Sub,ChoiBeom-Soon,KimDuck-Hyun,LimJong-Sung,YumSeungshic,HwangUn-Ki,NahGyoungJu,LeeJae-Seong.ThegenomeoftheJavamedaka(Oryziasjavanicus):Potentialforitsuseinmarinemolecularecotoxicology.[J].Marinepollutionbulletin,2020,154.
[18].Mathematics;ResearchersfromDiponegoroUniversityDescribeResearchinMathematics(AnalysisofPriorityScaleforWatershedReforestationUsingTrapezoidalFuzzyVIKORMethod:ACaseStudyinSemarang,CentralJavaIndonesia)[J].JournalofMathematics,2020.
[19]AgustinaRina,NadiyaKhairun,AndiniElA,SetianingsihAinanurA,SadariskarAriniA,PrafiantiniErfi,WirawanFadila,KaryadiElvina,RautManojK.Associationsofmealpatterning,dietaryqualityanddiversitywithanemiaandoverweight-obesityamongIndonesianschool-goingadolescentgirlsinWestJava.[J].PloSone,2020,15(4).
[20].InternationalBusinessMachinesCorporation;PatentIssuedforSharingAJavaVirtualMachine(USPTO10,623,242)[J].InternetBusinessNewsweekly,2020.
致谢
在此论文完成之际,感谢我的指导老师。在指导老师的网页设计课上,当时我学到了很多东西,这对于我实习过程中也打了一定的基础,而且指导老师对于我的设计也提出许多建议,并予以悉心的指导,对于一些细小的问题都耐心的指导我去完善,授予我写论文的心得,时常的鼓励我,另外感谢教导我完善此项目的前端同学,对于这个项目,我是边学习边实现完成的,有许多东西开始并不是很明白,但前端开发的同学非常耐心的引导我去将这个项目完成,在系统的后端开发中,所用到的后台开发技术也时常会给我讲解,助于我更好的将论文完成,在此对帮助到我的同学和一直予以教导的指导老师致以衷心的感谢,祝事业有成。
免费领取项目源码,请关注❥点赞收藏并私信博主,谢谢~
本文介绍了校车管理系统的设计与实现。该系统基于Python技术、MySQL数据库和Apache服务器,采用B/S结构,前端用Vue.js,后端用Django框架。实现了管理员和用户的多种功能,经测试达到设计目标,提高了校车管理效率和规范性。
981

被折叠的 条评论
为什么被折叠?



