摘 要
随着科学技术的飞速发展,社会的方方面面、各行各业都在努力与现代的先进技术接轨,通过科技手段来提高自身的优势,社区当然也不例外。璃月社区常态化核酸采集点部署系统是以实际运用为开发背景,运用软件工程原理和开发方法,采用Java技术构建的一个管理系统。整个开发过程首先对软件系统进行需求分析,得出系统的主要功能。接着对系统进行总体设计和详细设计。总体设计主要包括系统功能设计、系统总体结构设计、系统数据结构设计和系统安全设计等;详细设计主要包括系统数据库访问的实现,主要功能模块的具体实现,模块实现关键代码等。最后对系统进行功能测试,并对测试结果进行分析总结,得出系统中存在的不足及需要改进的地方,为以后的系统维护提供了方便,同时也为今后开发类似系统提供了借鉴和帮助。
本系统使用Java技术开发,SpringBoot框架,采用的数据库是Mysql。在设计过程中,充分保证了系统代码的良好可读性、实用性、易扩展性、通用性、便于后期维护、操作方便以及页面简洁等特点。
关键词:常态化核酸采集点部署系统,Java,SpringBoot,Mysql
Deployment System for Normalized Nucleic Acid Collection Points in Springboot Liyue Community
ABSTRACT
With the rapid development of science and technology, all aspects of society and all walks of life are striving to integrate with modern advanced technology and improve their own advantages through scientific and technological means. Communities are no exception, of course. The deployment system for the normalized nucleic acid collection point in Liyue Community is a management system built using Java technology, using software engineering principles and development methods, with practical application as the development background. The entire development process begins with a requirements analysis of the software system to obtain the main functions of the system. Then, the overall design and detailed design of the system are carried out. The overall design mainly includes system function design, system overall structure design, system data structure design, and system security design; The detailed design mainly includes the implementation of system database access, the specific implementation of main functional modules, and the key code for module implementation. Finally, a functional test of the system was conducted, and the test results were analyzed and summarized to identify the shortcomings and areas for improvement in the system, which provided convenience for future system maintenance, and also provided reference and assistance for future development of similar systems.
This system is developed using Java technology, the SpringBoot framework, and the database used is MySQL. During the design process, the system code has been fully guaranteed to have good readability, practicality, scalability, versatility, ease of later maintenance, easy operation, and concise pages.
Key words: Normalized nucleic acid collection point deployment system, Java, SpringBoot, MySQL
目 录
第1章 绪论
1.1背景及意义
网络的快速发展从根本上更改了世界各组织的管理方式,自二十世纪九十年代开始,我国的政府、企事业等单位就设想可以通过互联网系统来进行管理信息。由于以前存在各方面的原因,比如设计复杂使用不便、相关法律法规不够完善、开发技术也不够成熟等,阻碍了互联网在各大企事业单位中的发展速度。进入二十一世纪以后,我国经济有了快速的发展,限制企事业单位管理的各个难题逐一被解决,国内各大企事业单位都加入到了电子信息化的管理模式中来。
以往社区的相关信息管理,都是工作人员手工统计。这种方式不但时效性低,而且需要查找和变更的时候存在诸多不便。随着科学的进步,技术的成熟,计算机信息化也日新月异的发展,社会也已经深刻的认识,计算机功能非常的强大,计算机已经进入了人类社会发展的各个领域,并且发挥着十分重要的作用。本系统利用网络沟通、计算机信息存储管理,有着与传统的方式所无法替代的优点。比如计算检索速度特别快、可靠性特别高、存储容量特别大、保密性特别好、可保存时间特别长、成本特别低等。在工作效率上,能够得到极大地提高,延伸至服务水平也会有好的收获,有了网络,社区各方面的管理更加科学和系统,更加规范和简便。
本系统主要是借助常态化核酸采集点部署系统,方便用户查找核酸采集点。该系统通过和数据库管理系统软件协作来满足用户的需求,能够有效的解决获取信息便捷化、全面化的问题,提高效率。
1.2 国内外研究概况
目前,国内外社区信息管理采取的方式主要有:一,纯人工管理;二,利用一些建立在过时的系统底板上的系统进行管理。这两种方法目前看来有很大弊端:前者由于管理人员文化程度不一,可能在信息处理过程中出现记录丢失、信息传达有误等问题,同时人工文件难以保存,档案记录容易损坏或者丢失;后者在一定程度上满足了信息处理和保存的问题,但由于系统陈旧,存在信息泄露的风险。在当今现代化社会,任何社区都需要一个建立在新型系统上的管理系统以规范社区本身的运营管理,提高管理水平、工作效率,实现利益的最大化。
1.3 研究的内容
目前许多人仍将传统的单机设备作为信息管理的主要工具,而网络技术的应用只是起到辅助作用。在对网络工具的认知程度上,较为传统的office软件等仍是人们使用的主要工具,而面向各个专门行业的管理系统的信息管理软件仍然缺乏群众基础。本选题则旨在通过标签分类管理等方式,实现首页、轮播图、公告栏管理、资源管理(新闻列表、新闻分类)、系统用户(管理员、居民用户、医护人员)、模块管理(采集地点、志愿管理、社区活动、报名管理、物资信息、入库记录、出库记录、核酸预约、核酸结果)等功能。
第2章 相关技术
2.1开发技术
本系统前端框架采用了比较流行的渐进式JavaScript框架Vue.js。使用Vue-Router和Vuex实现动态路由和全局状态管理,Ajax实现前后端通信,Element UI组件库使页面快速成型。后端部分:采用SpringBoot作为开发框架,同时集成MyBatis、Redis等相关技术。
2.2 Java简介
Java主要采用CORBA技术和安全模型,可以在互联网应用的数据保护。它还提供了对EJB(Enterprise JavaBeans)的全面支持,Java servlet API,JSP(Java server pages),和XML技术。Java语言是一种面向对象的语言,它通过提供最基本的方法来完成指定的任务,开发者只需要知道一些概念就能够编写出一些应用程序。Java程序相对较小,其代码能够在小机器上运行。Java是一种计算机编程语言,具有封装、继承和多态性三个主要特性,广泛应用于企业Web应用程序开发和移动应用程序开发。
Java语言和一般编译器以及直译的区别在于,Java首先将源代码转换为字节码,然后将其转换为JVM的可执行文件,JVM可以在各种不同的JVM上运行。因此,实现了它的跨平台特性。虽然这使得Java在早期非常缓慢,但是随着Java的开发,它已经得到了改进。
2.3 MVVM模式
MVVM是Model-View-ViewModel的简写。它本质上就是MVC 的改进版。MVVM 就是将其中的View 的状态和行为抽象化,让我们将视图 UI 和业务逻辑分开。当然这些事 ViewModel 已经帮我们做了,它可以取出 Model 的数据同时帮忙处理 View 中由于需要展示内容而涉及的业务逻辑。微软的WPF带来了新的技术体验,如Silverlight、音频、视频、3D、动画……,这导致了软件UI层更加细节化、可定制化。同时,在技术层面,WPF也带来了 诸如Binding、Dependency Property、Routed Events、Command、DataTemplate、ControlTemplate等新特性。MVVM(Model-View-ViewModel)框架的由来便是MVP(Model-View-Presenter)模式与WPF结合的应用方式时发展演变过来的一种新型架构框架。它立足于原有MVP框架并且把WPF的新特性糅合进去,以应对客户日益复杂的需求变化。
2.4 B/S结构
B/S(Browser/Server)比前身架构更为省事的架构。它借助Web server完成数据的传递交流。只需要下载浏览器作为客户端,那么工作就达到“瘦身”效果, 不需要考虑不停装软件的问题。
2.5 MySQL数据库
Mysql的语言是非结构化的,用户可以在数据上进行工作。MySQL因为其速度、可靠性和适应性而备受关注。大多数人都认为在不需要事务化处理的情况下,MySQL是管理内容最好的选择。并且因为Mysql的语言和结构比较简单,但是功能和存储信息量很强大,所以得到了普遍的应用。
Mysql数据库在编程过程中的作用是很广泛的,为用户进行数据查询带来了方便。Mysql数据库的应用因其灵活性强,功能强大,所以在实现某功能时只需要一小段代码,而不像其他程序需要编写大段代码。总体来说,Mysql数据库的语言相对要简洁很多。
数据流程分析主要就是数据存储的储藏室,它是在计算机上进行的,而不是现实中的储藏室。数据的存放是按固定格式,而不是无序的,其定义就是:长期有固定格式,可以共享的存储在计算机存储器上。数据库管理主要是数据存储、修改和增加以及数据表的建立。为了保证系统数据的正常运行,一些有能力的处理者可以进行管理而不需要专业的人来处理。数据表的建立,可以对数据表中的数据进行调整,数据的重新组合及重新构造,保证数据的安全性。介于数据库的功能强大等特点,本系统的开发主要应用了Mysql进行对数据的管理。
2.6 SpringBoot框架
Spring框架是Java平台上的一种开源应用框架,提供具有控制反转特性的容器。尽管Spring框架自身对编程模型没有限制,但其在Java应用中的频繁使用让它备受青睐,以至于后来让它作为EJB(EnterpriseJavaBeans)模型的补充,甚至是替补。Spring框架为开发提供了一系列的解决方案,比如利用控制反转的核心特性,并通过依赖注入实现控制反转来实现管理对象生命周期容器化,利用面向切面编程进行声明式的事务管理,整合多种持久化技术管理数据访问,提供大量优秀的Web框架方便开发等等。Spring框架具有控制反转(IOC)特性,IOC旨在方便项目维护和测试,它提供了一种通过Java的反射机制对Java对象进行统一的配置和管理的方法。Spring框架利用容器管理对象的生命周期,容器可以通过扫描XML文件或类上特定Java注解来配置对象,开发者可以通过依赖查找或依赖注入来获得对象。Spring框架具有面向切面编程(AOP)框架,SpringAOP框架基于代理模式,同时运行时可配置;AOP框架主要针对模块之间的交叉关注点进行模块化。Spring框架的AOP框架仅提供基本的AOP特性,虽无法与AspectJ框架相比,但通过与AspectJ的集成,也可以满足基本需求。Spring框架下的事务管理、远程访问等功能均可以通过使用SpringAOP技术实现。Spring的事务管理框架为Java平台带来了一种抽象机制,使本地和全局事务以及嵌套事务能够与保存点一起工作,并且几乎可以在Java平台的任何环境中工作。Spring集成多种事务模板,系统可以通过事务模板、XML或Java注解进行事务配置,并且事务框架集成了消息传递和缓存等功能。Spring的数据访问框架解决了开发人员在应用程序中使用数据库时遇到的常见困难。它不仅对Java:JDBC、iBATS/MyBATIs、Hibernate、Java数据对象(JDO)、ApacheOJB和ApacheCayne等所有流行的数据访问框架中提供支持,同时还可以与Spring的事务管理一起使用,为数据访问提供了灵活的抽象。Spring框架最初是没有打算构建一个自己的WebMVC框架,其开发人员在开发过程中认为现有的StrutsWeb框架的呈现层和请求处理层之间以及请求处理层和模型之间的分离不够,于是创建了SpringMVC。
第3章 系统分析
3.1 需求分析
璃月社区常态化核酸采集点部署系统主要是借助信息管理系统,方便用户查询、预约核酸采集等信息,更好存储所有数据信息及快速方便的检索功能。对系统的各个模块是通过许多今天的发达系统做出合理的分析来确定考虑用户的可操作性,遵循开发的系统优化的原则,经过全面的调查和研究。
系统所要实现的功能分析,对于现在网络方便的管理,系统要实现用户可以直接在平台上进行查看所有数据信息,根据需求可以进行在线添加,删除或修改信息,这样既能节省时间,不用再像传统的方式耽误时间,真的很难去满足用户的各种需求。所以常态化核酸采集点部署系统的开发不仅仅是能满足用户的需求,还能提高管理员的工作效率,减少原有不必要的工作量。
3.2 系统可行性分析
3.2.1技术可行性
该系统在Windows操作系统中进行开发,并且目前PC机的性能已经可以胜任普通网站的web服务器。系统开发所使用的技术也都是自身所具有的,也是当下广泛应用的技术之一。
系统的开发环境和配置都是可以自行安装的,系统使用JSP开发工具,使用比较成熟的Mysql数据库进行对系统前台及后台的数据交互,根据技术语言对数据库,结合需求进行修改维护,可以使得网站运行更具有稳定性和安全性,从而完成实现网站的开发。
(1)硬件可行性分析
常态化核酸采集点部署系统及信息分析的设计对于所使用的计算机没有什么硬性的要求,计算机只要可以正常的使用进行代码的编写及页面设计就可行,主要是对于服务器有些要求,对于平台搭建完成要上传的服务器是有一定的要求的,服务器必须选择安全性比较高的,然后就是在打开网站必须顺畅,不能停顿太长时间;性价比高;安全性高。
(2)软件可行性分析
开发整个系统使用的是云计算,流量的可扩展性和基于流量的智能调整云计算的优点就是流量的可扩展性和基于流量的智能调整,保障系统的安全及数据信息的及时备份。
因此,我们从两个方面进行了可行性研究,可以看出系统的开发没有问题。
3.2.2经济可行性
在常态化核酸采集点部署系统开发之前所做的市场调研及相关的管理系统,都是没有任何费用的,都是通过开发者自己的努力,所有的工作的都是自己亲力亲为,在碰到自己比较难以解决的问题,大多是通过同学和指导老师的帮助进行相关信息的解决,所以对于常态化核酸采集点部署系统的开发在经济上是完全可行的,没有任何费用支出的。
使用比较成熟的技术,系统是基于JSP的开发,采用Mysql数据库。所以系统在开发人力、财力要求不高,具有经济可行性。
3.2.3操作可行性
可操作性主要是对常态化核酸采集点部署系统设计完成后,用户的使用体验度,以及管理员可以通过系统随时管理相关的数据信息,并且对于管理员,居民用户,医护人员三个用户角色,都可以简单明了的进入到自己的系统界面,通过界面导航菜单可以简单明了地操作功能模块,方便用户信息的操作需求和管理员管理数据信息,对于系统的操作,不需要专业人员都可以直接进行功能模块的操作管理,所以在系统的可操作性是完全可以的。本系统的操作使用的也是界面窗口进行登录,所以操作人员只要会简单的电脑操作就完全可以的。
3.3 项目设计目标与原则
1、关于常态化核酸采集点部署系统的基本要求
(1)功能要求:首页、轮播图、公告栏管理、资源管理(新闻列表、新闻分类)、系统用户(管理员、居民用户、医护人员)、模块管理(采集地点、志愿管理、社区活动、报名管理、物资信息、入库记录、出库记录、核酸预约、核酸结果)等功能模块。
(2)性能:在不同操作系统上均能无差错实现在不同类型的用户登入相应界面后能不出差错、方便地进行预期操作。
(3)安全与保密要求:用户都必须通过身份验证才能进入系统,并且用户的权限也需要根据用户的类型进行限定。
(4)环境要求:支持多种平台,可在Windows系列、Vista系统等多种操作系统下使用。
2、开发目标
常态化核酸采集点部署系统的主要开发目标如下:
(1)实现管理系统信息关系的系统化、规范化和自动化;
(2)减少维护人员的工作量以及实现用户对信息的控制和管理。
(3)方便查询信息及管理信息等;
(4)通过网络操作,改善处理问题的效率,提高操作人员利用率;
(5)考虑到用户多样性特点,要求界面简单,操作简便。
3、设计原则
本系统采用Java技术,Mysql数据库开发,充分保证了系统稳定性、完整性。
常态化核酸采集点部署系统的设计与实现的设计思想如下:
- 操作简单方便、系统界面安全良、简单明了的页面布局、方便查询相关信息。
2、即时可见:对常态化核酸采集点部署系统信息的处理将可以实时查询到,从而实现“即时发布、即时见效”的系统功能。
3、功能的完善性:拥有首页、轮播图、公告栏管理、资源管理(新闻列表、新闻分类)、系统用户(管理员、居民用户、医护人员)、模块管理(采集地点、志愿管理、社区活动、报名管理、物资信息、入库记录、出库记录、核酸预约、核酸结果)等模块的修改维护操作。
3.4系统流程分析
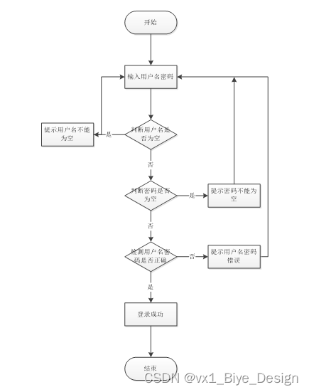
3.4.1操作流程

图3-1登录流程图
3.4.2添加信息流程
添加信息流程图,如图所示:

图3-2添加信息流程图
3.4.3删除信息流程
删除信息流程图,如图所示:

图3-3删除信息流程图
第4章 系统设计
4.1 系统体系结构
本系统选择B/S结构(Browser/Server,浏览器/服务器结构)和基于Web服务两种模式。适合在互联网上进行操作,只要用户能连网,任何时间、任何地点都可以进行系统的操作使用。系统工作原理图如图4-1所示:

图4-1 系统工作原理图
4.2系统结构设计
整个系统是由多个功能模块组合而成的,要将所有的功能模块都一一列举出来,然后进行逐个的功能设计,使得每一个模块都有相对应的功能设计,然后进行系统整体的设计。
本系统结构图如图4-2所示。

图4-2 系统功能结构图
4.3开发流程设计
系统流程的分析是通过调查系统所涉及问题的识别、可行性、可操作性、系统分析处理能力等具体环节来调节、整理系统的设计方案以确保系统能达到理想的状态。这些操作都要从注册、登录处着眼进行一系列的流程测试保证数据库的完整,从而把控系统所涉及信息管理的安全、保证信息输入、输出正常转换。然后,通过实际操作完成流程图的绘制工作。
常态化核酸采集点部署系统的开发对管理模块和系统使用的数据库进行分析,编写代码,系统测试,如图4-4所示。

图4-4开发系统流程图
4.4 数据库设计原则
学习编程,我们都知道数据库设计是基于需要设计的系统功能,我们需要建立一个数据库关系模型,用于存储数据信息,这样当我们在程序中时,就没有必要为程序页面添加数据,从而提高系统的效率。数据库存储了很多信息,可以说是信息管理系统的核心和基础,数据库还提供了添加、删除、修改和检查,使系统能够快速找到自己想要的信息,而不是在程序代码中找到。数据库中信息表的每个部分根据一定的关系精确地组合,排列和组合成数据表。
通过常态化核酸采集点部署系统的功能进行规划分成几个实体信息,实体信息将通过ER图进行说明,本系统的主要实体图如下:
管理员信息属性图如图4-5所示。

图4-5 管理员信息实体属性图
系统的E-R图如下图所示:

图4-6系统E-R图
4.5 数据表
将数据库概念设计的E-R图转换为关系数据库。在关系数据库中,数据关系由数据表组成,但是表的结构表现在表的字段上。
表access_token (登陆访问时长)
| 编号 | 名称 | 数据类型 | 长度 | 小数位 | 允许空值 | 主键 | 默认值 | 说明 |
| 1 | token_id | int | 10 | 0 | N | Y | 临时访问牌ID | |
| 2 | token | varchar | 64 | 0 | Y | N | 临时访问牌 | |
| 3 | info | text | 65535 | 0 | Y | N | ||
| 4 | maxage | int | 10 | 0 | N | N | 2 | 最大寿命:默认2小时 |
| 5 | create_time | timestamp | 19 | 0 | N | N | CURRENT_TIMESTAMP | 创建时间: |
| 6 | update_time | timestamp | 19 | 0 | N | N | CURRENT_TIMESTAMP | 更新时间: |
| 7 | user_id | int | 10 | 0 | N | N | 0 | 用户编号: |
表article (文章:用于内容管理系统的文章)
| 编号 | 名称 | 数据类型 | 长度 | 小数位 | 允许空值 | 主键 | 默认值 | 说明 |
| 1 | article_id | mediumint | 8 | 0 | N | Y | 文章id:[0,8388607] | |
| 2 | title | varchar | 125 | 0 | N | Y | 标题:[0,125]用于文章和html的title标签中 | |
| 3 | type | varchar | 64 | 0 | N | N | 0 | 文章分类:[0,1000]用来搜索指定类型的文章 |
| 4 | hits | int | 10 | 0 | N | N | 0 | 点击数:[0,1000000000]访问这篇文章的人次 |
| 5 | praise_len | int | 10 | 0 | N | N | 0 | 点赞数 |
| 6 | create_time | timestamp | 19 | 0 | N | N | CURRENT_TIMESTAMP | 创建时间: |
| 7 | update_time | timestamp | 19 | 0 | N | N | CURRENT_TIMESTAMP | 更新时间: |
| 8 | source | varchar | 255 | 0 | Y | N | 来源:[0,255]文章的出处 | |
| 9 | url | varchar | 255 | 0 | Y | N | 来源地址:[0,255]用于跳转到发布该文章的网站 | |
| 10 | tag | varchar | 255 | 0 | Y | N | 标签:[0,255]用于标注文章所属相关内容,多个标签用空格隔开 | |
| 11 | content | longtext | 2147483647 | 0 | Y | N | 正文:文章的主体内容 | |
| 12 | img | varchar | 255 | 0 | Y | N | 封面图 | |
| 13 | description | text | 65535 | 0 | Y | N | 文章描述 |
表article_type (文章分类)
| 编号 | 名称 | 数据类型 | 长度 | 小数位 | 允许空值 | 主键 | 默认值 | 说明 |
| 1 | type_id | smallint | 5 | 0 | N | Y | 分类ID:[0,10000] | |
| 2 | display | smallint | 5 | 0 | N | N | 100 | 显示顺序:[0,1000]决定分类显示的先后顺序 |
| 3 | name | varchar | 16 | 0 | N | N | 分类名称:[2,16] | |
| 4 | father_id | smallint | 5 | 0 | N | N | 0 | 上级分类ID:[0,32767] |
| 5 | description | varchar | 255 | 0 | Y | N | 描述:[0,255]描述该分类的作用 | |
| 6 | icon | text | 65535 | 0 | Y | N | 分类图标: | |
| 7 | url | varchar | 255 | 0 | Y | N | 外链地址:[0,255]如果该分类是跳转到其他网站的情况下,就在该URL上设置 | |
| 8 | create_time | timestamp | 19 | 0 | N | N | CURRENT_TIMESTAMP | 创建时间: |
| 9 | update_time | timestamp | 19 | 0 | N | N | CURRENT_TIMESTAMP | 更新时间: |
表auth (用户权限管理)
| 编号 | 名称 | 数据类型 | 长度 | 小数位 | 允许空值 | 主键 | 默认值 | 说明 |
| 1 | auth_id | int | 10 | 0 | N | Y | 授权ID: | |
| 2 | user_group | varchar | 64 | 0 | Y | N | 用户组: | |
| 3 | mod_name | varchar | 64 | 0 | Y | N | 模块名: | |
| 4 | table_name | varchar | 64 | 0 | Y | N | 表名: | |
| 5 | page_title | varchar | 255 | 0 | Y | N | 页面标题: | |
| 6 | path | varchar | 255 | 0 | Y | N | 路由路径: | |
| 7 | position | varchar | 32 | 0 | Y | N | 位置: | |
| 8 | mode | varchar | 32 | 0 | N | N | _blank | 跳转方式: |
| 9 | add | tinyint | 3 | 0 | N | N | 1 | 是否可增加: |
| 10 | del | tinyint | 3 | 0 | N | N | 1 | 是否可删除: |
| 11 | set | tinyint | 3 | 0 | N | N | 1 | 是否可修改: |
| 12 | get | tinyint | 3 | 0 | N | N | 1 | 是否可查看: |
| 13 | field_add | text | 65535 | 0 | Y | N | 添加字段: | |
| 14 | field_set | text | 65535 | 0 | Y | N | 修改字段: | |
| 15 | field_get | text | 65535 | 0 | Y | N | 查询字段: | |
| 16 | table_nav_name | varchar | 500 | 0 | Y | N | 跨表导航名称: | |
| 17 | table_nav | varchar | 500 | 0 | Y | N | 跨表导航: | |
| 18 | option | text | 65535 | 0 | Y | N | 配置: | |
| 19 | create_time | timestamp | 19 | 0 | N | N | CURRENT_TIMESTAMP | 创建时间: |
| 20 | update_time | timestamp | 19 | 0 | N | N | CURRENT_TIMESTAMP | 更新时间: |
表collect (收藏)
| 编号 | 名称 | 数据类型 | 长度 | 小数位 | 允许空值 | 主键 | 默认值 | 说明 |
| 1 | collect_id | int | 10 | 0 | N | Y | 收藏ID: | |
| 2 | user_id | int | 10 | 0 | N | N | 0 | 收藏人ID: |
| 3 | source_table | varchar | 255 | 0 | Y | N | 来源表: | |
| 4 | source_field | varchar | 255 | 0 | Y | N | 来源字段: | |
| 5 | source_id | int | 10 | 0 | N | N | 0 | 来源ID: |
| 6 | title | varchar | 255 | 0 | Y | N | 标题: | |
| 7 | img | varchar | 255 | 0 | Y | N | 封面: | |
| 8 | create_time | timestamp | 19 | 0 | N | N | CURRENT_TIMESTAMP | 创建时间: |
| 9 | update_time | timestamp | 19 | 0 | N | N | CURRENT_TIMESTAMP | 更新时间: |
表collection_location (采集地点)
| 编号 | 名称 | 数据类型 | 长度 | 小数位 | 允许空值 | 主键 | 默认值 | 说明 |
| 1 | collection_location_id | int | 10 | 0 | N | Y | 采集地点ID | |
| 2 | location_name | varchar | 64 | 0 | Y | N | 地点名称 | |
| 3 | acquisition_time | date | 10 | 0 | Y | N | 采集时间 | |
| 4 | medical_staff | int | 10 | 0 | Y | N | 0 | 医护人员 |
| 5 | volunteer_users | int | 10 | 0 | Y | N | 0 | 志愿用户 |
| 6 | location | varchar | 64 | 0 | Y | N | 地点位置 | |
| 7 | recommend | int | 10 | 0 | N | N | 0 | 智能推荐 |
| 8 | create_time | datetime | 19 | 0 | N | N | CURRENT_TIMESTAMP | 创建时间 |
| 9 | update_time | timestamp | 19 | 0 | N | N | CURRENT_TIMESTAMP | 更新时间 |
表comment (评论)
| 编号 | 名称 | 数据类型 | 长度 | 小数位 | 允许空值 | 主键 | 默认值 | 说明 |
| 1 | comment_id | int | 10 | 0 | N | Y | 评论ID: | |
| 2 | user_id | int | 10 | 0 | N | N | 0 | 评论人ID: |
| 3 | reply_to_id | int | 10 | 0 | N | N | 0 | 回复评论ID:空为0 |
| 4 | content | longtext | 2147483647 | 0 | Y | N | 内容: | |
| 5 | nickname | varchar | 255 | 0 | Y | N | 昵称: | |
| 6 | avatar | varchar | 255 | 0 | Y | N | 头像地址:[0,255] | |
| 7 | create_time | timestamp | 19 | 0 | N | N | CURRENT_TIMESTAMP | 创建时间: |
| 8 | update_time | timestamp | 19 | 0 | N | N | CURRENT_TIMESTAMP | 更新时间: |
| 9 | source_table | varchar | 255 | 0 | Y | N | 来源表: | |
| 10 | source_field | varchar | 255 | 0 | Y | N | 来源字段: | |
| 11 | source_id | int | 10 | 0 | N | N | 0 | 来源ID: |
表community_activities (社区活动)
| 编号 | 名称 | 数据类型 | 长度 | 小数位 | 允许空值 | 主键 | 默认值 | 说明 |
| 1 | community_activities_id | int | 10 | 0 | N | Y | 社区活动ID | |
| 2 | activity_no | varchar | 64 | 0 | N | N | 活动编号 | |
| 3 | activity_name | varchar | 64 | 0 | Y | N | 活动名称 | |
| 4 | activity_time | date | 10 | 0 | Y | N | 活动时间 | |
| 5 | venue | varchar | 64 | 0 | Y | N | 活动地点 | |
| 6 | activity_cover | varchar | 255 | 0 | Y | N | 活动封面 | |
| 7 | event_details | longtext | 2147483647 | 0 | Y | N | 活动详情 | |
| 8 | hits | int | 10 | 0 | N | N | 0 | 点击数 |
| 9 | praise_len | int | 10 | 0 | N | N | 0 | 点赞数 |
| 10 | recommend | int | 10 | 0 | N | N | 0 | 智能推荐 |
| 11 | create_time | datetime | 19 | 0 | N | N | CURRENT_TIMESTAMP | 创建时间 |
| 12 | update_time | timestamp | 19 | 0 | N | N | CURRENT_TIMESTAMP | 更新时间 |
表delivery_record (出库记录)
| 编号 | 名称 | 数据类型 | 长度 | 小数位 | 允许空值 | 主键 | 默认值 | 说明 |
| 1 | delivery_record_id | int | 10 | 0 | N | Y | 出库记录ID | |
| 2 | item_no | varchar | 64 | 0 | Y | N | 物资编号 | |
| 3 | item_name | varchar | 64 | 0 | Y | N | 物资名称 | |
| 4 | material_type | varchar | 64 | 0 | Y | N | 物资类型 | |
| 5 | operational_medical_care | int | 10 | 0 | Y | N | 0 | 操作医护 |
| 6 | quantity | int | 10 | 0 | Y | N | 0 | 数量 |
| 7 | delivery_date | date | 10 | 0 | Y | N | 出库日期 | |
| 8 | recommend | int | 10 | 0 | N | N | 0 | 智能推荐 |
| 9 | create_time | datetime | 19 | 0 | N | N | CURRENT_TIMESTAMP | 创建时间 |
| 10 | update_time | timestamp | 19 | 0 | N | N | CURRENT_TIMESTAMP | 更新时间 |
表enrollment_management (报名管理)
| 编号 | 名称 | 数据类型 | 长度 | 小数位 | 允许空值 | 主键 | 默认值 | 说明 |
| 1 | enrollment_management_id | int | 10 | 0 | N | Y | 报名管理ID | |
| 2 | activity_no | varchar | 64 | 0 | Y | N | 活动编号 | |
| 3 | activity_name | varchar | 64 | 0 | Y | N | 活动名称 | |
| 4 | activity_time | date | 10 | 0 | Y | N | 活动时间 | |
| 5 | venue | varchar | 64 | 0 | Y | N | 活动地点 | |
| 6 | registered_residents | int | 10 | 0 | Y | N | 0 | 报名居民 |
| 7 | contact_number | varchar | 16 | 0 | Y | N | 联系电话 | |
| 8 | examine_state | varchar | 16 | 0 | N | N | 未审核 | 审核状态 |
| 9 | examine_reply | varchar | 16 | 0 | Y | N | 审核回复 | |
| 10 | recommend | int | 10 | 0 | N | N | 0 | 智能推荐 |
| 11 | create_time | datetime | 19 | 0 | N | N | CURRENT_TIMESTAMP | 创建时间 |
| 12 | update_time | timestamp | 19 | 0 | N | N | CURRENT_TIMESTAMP | 更新时间 |
表hits (用户点击)
| 编号 | 名称 | 数据类型 | 长度 | 小数位 | 允许空值 | 主键 | 默认值 | 说明 |
| 1 | hits_id | int | 10 | 0 | N | Y | 点赞ID: | |
| 2 | user_id | int | 10 | 0 | N | N | 0 | 点赞人: |
| 3 | create_time | timestamp | 19 | 0 | N | N | CURRENT_TIMESTAMP | 创建时间: |
| 4 | update_time | timestamp | 19 | 0 | N | N | CURRENT_TIMESTAMP | 更新时间: |
| 5 | source_table | varchar | 255 | 0 | Y | N | 来源表: | |
| 6 | source_field | varchar | 255 | 0 | Y | N | 来源字段: | |
| 7 | source_id | int | 10 | 0 | N | N | 0 | 来源ID: |
表material_information (物资信息)
| 编号 | 名称 | 数据类型 | 长度 | 小数位 | 允许空值 | 主键 | 默认值 | 说明 |
| 1 | material_information_id | int | 10 | 0 | N | Y | 物资信息ID | |
| 2 | item_no | varchar | 64 | 0 | N | N | 物资编号 | |
| 3 | item_name | varchar | 64 | 0 | Y | N | 物资名称 | |
| 4 | material_type | varchar | 64 | 0 | Y | N | 物资类型 | |
| 5 | material_quantity | int | 10 | 0 | Y | N | 0 | 物资数量 |
| 6 | remarks | varchar | 64 | 0 | Y | N | 备注信息 | |
| 7 | recommend | int | 10 | 0 | N | N | 0 | 智能推荐 |
| 8 | create_time | datetime | 19 | 0 | N | N | CURRENT_TIMESTAMP | 创建时间 |
| 9 | update_time | timestamp | 19 | 0 | N | N | CURRENT_TIMESTAMP | 更新时间 |
表medical_staff (医护人员)
| 编号 | 名称 | 数据类型 | 长度 | 小数位 | 允许空值 | 主键 | 默认值 | 说明 |
| 1 | medical_staff_id | int | 10 | 0 | N | Y | 医护人员ID | |
| 2 | job_number | varchar | 64 | 0 | N | N | 工号 | |
| 3 | full_name | varchar | 64 | 0 | Y | N | 姓名 | |
| 4 | gender | varchar | 64 | 0 | Y | N | 性别 | |
| 5 | affiliated_hospital | varchar | 64 | 0 | Y | N | 所属医院 | |
| 6 | examine_state | varchar | 16 | 0 | N | N | 已通过 | 审核状态 |
| 7 | recommend | int | 10 | 0 | N | N | 0 | 智能推荐 |
| 8 | user_id | int | 10 | 0 | N | N | 0 | 用户ID |
| 9 | create_time | datetime | 19 | 0 | N | N | CURRENT_TIMESTAMP | 创建时间 |
| 10 | update_time | timestamp | 19 | 0 | N | N | CURRENT_TIMESTAMP | 更新时间 |
表notice (公告)
| 编号 | 名称 | 数据类型 | 长度 | 小数位 | 允许空值 | 主键 | 默认值 | 说明 |
| 1 | notice_id | mediumint | 8 | 0 | N | Y | 公告id: | |
| 2 | title | varchar | 125 | 0 | N | N | 标题: | |
| 3 | content | longtext | 2147483647 | 0 | Y | N | 正文: | |
| 4 | create_time | timestamp | 19 | 0 | N | N | CURRENT_TIMESTAMP | 创建时间: |
| 5 | update_time | timestamp | 19 | 0 | N | N | CURRENT_TIMESTAMP | 更新时间: |
表nucleic_acid_reservation (核酸预约)
| 编号 | 名称 | 数据类型 | 长度 | 小数位 | 允许空值 | 主键 | 默认值 | 说明 |
| 1 | nucleic_acid_reservation_id | int | 10 | 0 | N | Y | 核酸预约ID | |
| 2 | location_name | varchar | 64 | 0 | Y | N | 地点名称 | |
| 3 | acquisition_time | date | 10 | 0 | Y | N | 采集时间 | |
| 4 | medical_staff | int | 10 | 0 | Y | N | 0 | 医护人员 |
| 5 | appointment_of_residents | int | 10 | 0 | Y | N | 0 | 预约居民 |
| 6 | contact_number | varchar | 64 | 0 | Y | N | 联系电话 | |
| 7 | examine_state | varchar | 16 | 0 | N | N | 未审核 | 审核状态 |
| 8 | examine_reply | varchar | 16 | 0 | Y | N | 审核回复 | |
| 9 | recommend | int | 10 | 0 | N | N | 0 | 智能推荐 |
| 10 | create_time | datetime | 19 | 0 | N | N | CURRENT_TIMESTAMP | 创建时间 |
| 11 | update_time | timestamp | 19 | 0 | N | N | CURRENT_TIMESTAMP | 更新时间 |
表nucleic_acid_results (核酸结果)
| 编号 | 名称 | 数据类型 | 长度 | 小数位 | 允许空值 | 主键 | 默认值 | 说明 |
| 1 | nucleic_acid_results_id | int | 10 | 0 | N | Y | 核酸结果ID | |
| 2 | location_name | varchar | 64 | 0 | Y | N | 地点名称 | |
| 3 | acquisition_time | date | 10 | 0 | Y | N | 采集时间 | |
| 4 | medical_staff | int | 10 | 0 | Y | N | 0 | 医护人员 |
| 5 | appointment_of_residents | int | 10 | 0 | Y | N | 0 | 预约居民 |
| 6 | contact_number | varchar | 64 | 0 | Y | N | 联系电话 | |
| 7 | nucleic_acid_state | varchar | 64 | 0 | Y | N | 核酸状态 | |
| 8 | recommend | int | 10 | 0 | N | N | 0 | 智能推荐 |
| 9 | create_time | datetime | 19 | 0 | N | N | CURRENT_TIMESTAMP | 创建时间 |
| 10 | update_time | timestamp | 19 | 0 | N | N | CURRENT_TIMESTAMP | 更新时间 |
表praise (点赞)
| 编号 | 名称 | 数据类型 | 长度 | 小数位 | 允许空值 | 主键 | 默认值 | 说明 |
| 1 | praise_id | int | 10 | 0 | N | Y | 点赞ID: | |
| 2 | user_id | int | 10 | 0 | N | N | 0 | 点赞人: |
| 3 | create_time | timestamp | 19 | 0 | N | N | CURRENT_TIMESTAMP | 创建时间: |
| 4 | update_time | timestamp | 19 | 0 | N | N | CURRENT_TIMESTAMP | 更新时间: |
| 5 | source_table | varchar | 255 | 0 | Y | N | 来源表: | |
| 6 | source_field | varchar | 255 | 0 | Y | N | 来源字段: | |
| 7 | source_id | int | 10 | 0 | N | N | 0 | 来源ID: |
| 8 | status | bit | 1 | 0 | N | N | 1 | 点赞状态:1为点赞,0已取消 |
表resident_users (居民用户)
| 编号 | 名称 | 数据类型 | 长度 | 小数位 | 允许空值 | 主键 | 默认值 | 说明 |
| 1 | resident_users_id | int | 10 | 0 | N | Y | 居民用户ID | |
| 2 | full_name | varchar | 64 | 0 | Y | N | 姓名 | |
| 3 | age | varchar | 64 | 0 | Y | N | 年龄 | |
| 4 | gender | varchar | 64 | 0 | Y | N | 性别 | |
| 5 | id | varchar | 64 | 0 | Y | N | 身份证 | |
| 6 | examine_state | varchar | 16 | 0 | N | N | 已通过 | 审核状态 |
| 7 | recommend | int | 10 | 0 | N | N | 0 | 智能推荐 |
| 8 | user_id | int | 10 | 0 | N | N | 0 | 用户ID |
| 9 | create_time | datetime | 19 | 0 | N | N | CURRENT_TIMESTAMP | 创建时间 |
| 10 | update_time | timestamp | 19 | 0 | N | N | CURRENT_TIMESTAMP | 更新时间 |
表slides (轮播图)
| 编号 | 名称 | 数据类型 | 长度 | 小数位 | 允许空值 | 主键 | 默认值 | 说明 |
| 1 | slides_id | int | 10 | 0 | N | Y | 轮播图ID: | |
| 2 | title | varchar | 64 | 0 | Y | N | 标题: | |
| 3 | content | varchar | 255 | 0 | Y | N | 内容: | |
| 4 | url | varchar | 255 | 0 | Y | N | 链接: | |
| 5 | img | varchar | 255 | 0 | Y | N | 轮播图: | |
| 6 | hits | int | 10 | 0 | N | N | 0 | 点击量: |
| 7 | create_time | timestamp | 19 | 0 | N | N | CURRENT_TIMESTAMP | 创建时间: |
| 8 | update_time | timestamp | 19 | 0 | N | N | CURRENT_TIMESTAMP | 更新时间: |
表upload (文件上传)
| 编号 | 名称 | 数据类型 | 长度 | 小数位 | 允许空值 | 主键 | 默认值 | 说明 |
| 1 | upload_id | int | 10 | 0 | N | Y | 上传ID | |
| 2 | name | varchar | 64 | 0 | Y | N | 文件名 | |
| 3 | path | varchar | 255 | 0 | Y | N | 访问路径 | |
| 4 | file | varchar | 255 | 0 | Y | N | 文件路径 | |
| 5 | display | varchar | 255 | 0 | Y | N | 显示顺序 | |
| 6 | father_id | int | 10 | 0 | Y | N | 0 | 父级ID |
| 7 | dir | varchar | 255 | 0 | Y | N | 文件夹 | |
| 8 | type | varchar | 32 | 0 | Y | N | 文件类型 |
表user (用户账户:用于保存用户登录信息)
| 编号 | 名称 | 数据类型 | 长度 | 小数位 | 允许空值 | 主键 | 默认值 | 说明 |
| 1 | user_id | mediumint | 8 | 0 | N | Y | 用户ID:[0,8388607]用户获取其他与用户相关的数据 | |
| 2 | state | smallint | 5 | 0 | N | N | 1 | 账户状态:[0,10](1可用|2异常|3已冻结|4已注销) |
| 3 | user_group | varchar | 32 | 0 | Y | N | 所在用户组:[0,32767]决定用户身份和权限 | |
| 4 | login_time | timestamp | 19 | 0 | N | N | CURRENT_TIMESTAMP | 上次登录时间: |
| 5 | phone | varchar | 11 | 0 | Y | N | 手机号码:[0,11]用户的手机号码,用于找回密码时或登录时 | |
| 6 | phone_state | smallint | 5 | 0 | N | N | 0 | 手机认证:[0,1](0未认证|1审核中|2已认证) |
| 7 | username | varchar | 16 | 0 | N | N | 用户名:[0,16]用户登录时所用的账户名称 | |
| 8 | nickname | varchar | 16 | 0 | Y | N | 昵称:[0,16] | |
| 9 | password | varchar | 64 | 0 | N | N | 密码:[0,32]用户登录所需的密码,由6-16位数字或英文组成 | |
| 10 | | varchar | 64 | 0 | Y | N | 邮箱:[0,64]用户的邮箱,用于找回密码时或登录时 | |
| 11 | email_state | smallint | 5 | 0 | N | N | 0 | 邮箱认证:[0,1](0未认证|1审核中|2已认证) |
| 12 | avatar | varchar | 255 | 0 | Y | N | 头像地址:[0,255] | |
| 13 | create_time | timestamp | 19 | 0 | N | N | CURRENT_TIMESTAMP | 创建时间: |
表user_group (用户组:用于用户前端身份和鉴权)
| 编号 | 名称 | 数据类型 | 长度 | 小数位 | 允许空值 | 主键 | 默认值 | 说明 |
| 1 | group_id | mediumint | 8 | 0 | N | Y | 用户组ID:[0,8388607] | |
| 2 | display | smallint | 5 | 0 | N | N | 100 | 显示顺序:[0,1000] |
| 3 | name | varchar | 16 | 0 | N | N | 名称:[0,16] | |
| 4 | description | varchar | 255 | 0 | Y | N | 描述:[0,255]描述该用户组的特点或权限范围 | |
| 5 | source_table | varchar | 255 | 0 | Y | N | 来源表: | |
| 6 | source_field | varchar | 255 | 0 | Y | N | 来源字段: | |
| 7 | source_id | int | 10 | 0 | N | N | 0 | 来源ID: |
| 8 | register | smallint | 5 | 0 | Y | N | 0 | 注册位置: |
| 9 | create_time | timestamp | 19 | 0 | N | N | CURRENT_TIMESTAMP | 创建时间: |
| 10 | update_time | timestamp | 19 | 0 | N | N | CURRENT_TIMESTAMP | 更新时间: |
表volunteer_management (志愿管理)
| 编号 | 名称 | 数据类型 | 长度 | 小数位 | 允许空值 | 主键 | 默认值 | 说明 |
| 1 | volunteer_management_id | int | 10 | 0 | N | Y | 志愿管理ID | |
| 2 | resident_users | int | 10 | 0 | Y | N | 0 | 居民用户 |
| 3 | full_name | varchar | 64 | 0 | Y | N | 姓名 | |
| 4 | age | varchar | 64 | 0 | Y | N | 年龄 | |
| 5 | gender | varchar | 64 | 0 | Y | N | 性别 | |
| 6 | id | varchar | 64 | 0 | Y | N | 身份证 | |
| 7 | application_date | date | 10 | 0 | Y | N | 申请日期 | |
| 8 | reason_for_application | text | 65535 | 0 | Y | N | 申请原因 | |
| 9 | service_duration | varchar | 64 | 0 | Y | N | 服务时长 | |
| 10 | examine_state | varchar | 16 | 0 | N | N | 未审核 | 审核状态 |
| 11 | examine_reply | varchar | 16 | 0 | Y | N | 审核回复 | |
| 12 | recommend | int | 10 | 0 | N | N | 0 | 智能推荐 |
| 13 | create_time | datetime | 19 | 0 | N | N | CURRENT_TIMESTAMP | 创建时间 |
| 14 | update_time | timestamp | 19 | 0 | N | N | CURRENT_TIMESTAMP | 更新时间 |
表warehousing_records (入库记录)
| 编号 | 名称 | 数据类型 | 长度 | 小数位 | 允许空值 | 主键 | 默认值 | 说明 |
| 1 | warehousing_records_id | int | 10 | 0 | N | Y | 入库记录ID | |
| 2 | item_no | varchar | 64 | 0 | Y | N | 物资编号 | |
| 3 | item_name | varchar | 64 | 0 | Y | N | 物资名称 | |
| 4 | material_type | varchar | 64 | 0 | Y | N | 物资类型 | |
| 5 | donating_residents | int | 10 | 0 | Y | N | 0 | 捐赠居民 |
| 6 | quantity | int | 10 | 0 | Y | N | 0 | 数量 |
| 7 | donation_date | date | 10 | 0 | Y | N | 捐赠日期 | |
| 8 | recommend | int | 10 | 0 | N | N | 0 | 智能推荐 |
| 9 | create_time | datetime | 19 | 0 | N | N | CURRENT_TIMESTAMP | 创建时间 |
| 10 | update_time | timestamp | 19 | 0 | N | N | CURRENT_TIMESTAMP | 更新时间 |
第5章 系统详细设计
5.1管理员功能模块
管理员登录常态化核酸采集点部署系统,在登录页面输入用户名、密码、图片验证等进行登录,如下图所示。

图5-1管理员登录界面图
管理员进入系统后台可以查看:后台首页、轮播图、公告栏管理、资源管理(新闻列表、新闻分类)、系统用户(管理员、居民用户、医护人员)、模块管理(采集地点、志愿管理、社区活动、报名管理、物资信息、入库记录、出库记录、核酸预约、核酸结果)等功能模块,还可进行相应的操作,如下图所示。

图5-2管理员功能界面图
系统用户,在此页面可以查看用户信息,还可在该页面对用户进行重置、添加和删除等操作。如下图所示。

图5-3用户管理界面图

图5-4医护人员添加界面图
采集地点:可以查看采集时间、医护人员、地点位置、创建时间等信息。可以进行查询、删除、添加等操作,如下图所示。

图5-5采集地点管理界面图
志愿管理:可以查看居民用户、姓名、年龄、身份证、申请日期等信息。可以进行查询、重置、删除、添加等操作,如下图所示。

图5-6志愿管理界面图
轮播图:可以对轮播图进行查询、重置、删除、添加等操作,如下图所示。

图5-7轮播图管理界面图
公告栏:可以在公告栏管理里查看标题、创建时间等进行查询、重置、删除、添加等操作,如下图所示。

图5-8公告栏管理界面图
5.2居民用户功能模块
居民用户登录常态化核酸采集点部署系统,需先注册,在登录页面输入用户名、密码进行登录,如下图所示。

图5-9居民用户注册界面图

图5-10居民用户登录界面图
进入系统可以查看:首页、公告栏、新闻资讯、采集地点、志愿申请、社区活动、物资信息、工作安排、志愿管理、报名管理、捐赠记录、核酸预约、核算结果等功能模块,还可进行相应的操作,如下图所示。

图5-11居民用户功能界面图
公告栏:可以查看公告信息并进行收藏,评论等操作,如下图所示。

图5-12公告栏界面图
新闻资讯:可以查看资讯信息。如下图所示。

图5-13新闻资讯界面图
核酸预约:可以查看进行核酸预约。如下图所示。

图5-14核酸预约界面图
核酸结果:可以查看核酸结果信息。如下图所示。

图5-15核酸结果界面图
5.3医护人员功能模块
医护人员登录常态化核酸采集点部署系统,可以查看:后台首页、工作安排、出库记录、核酸预约、核算结果等功能模块,还可进行相应的操作,如下图所示。

图5-16医护人员功能界面图
工作安排:可以设置医生的排班信息,如下图所示。

图5-17排班界面图
出库记录:可以对处理。如下图所示。

图5-18出库记录界面图
核酸预约:可以处理核酸预约信息。如下图所示。

图5-19核酸预约界面图
核酸结果:可以处理核酸结果信息。如下图所示。

图5-20核酸结果界面图
第6章 系统测试
6.1系统测试的目的
程序设计不能保证没有错误,这是一个开发过程,在错误或错误的过程中都是难以避免的。虽然这是不可避免的,但我们不能使这些错误始终存在于系统中,错误可能会造成无法估量的后果,如系统崩溃,安全信息泄露,系统无法正常启动等,为了避免这些问题,我们需要测试程序,再测试过程中发现问题,并纠正它们,从而使系统更长时间稳定成熟。本章的作用是发现这些问题,并对其进行修改,虽然耗时费力,但对于长期使用而言是非常重要和必要系统的开发。
软件在设计后必须进行测试,调试过程中使用的方法是软件测试方法。在开发新软件时,系统测试是检查软件是否合格的关键步骤,以及是否符合设计目标的参考。测试主要是查看软件中数据的准确性,正确的操作与否,以及操作的结果,还有哪些方面需要改进。
常态化核酸采集点部署系统的实现,对于系统中功能模块的实现及操作都必须通过测试进行来评判系统是否可以准确的实现。在常态化核酸采集点部署系统正式上传使用之前必须做的一步就是系统测试,对于测试发现的错误及时修改处理,保证系统准确无误的供给用户使用。
6.2系统测试方法
在对常态化核酸采集点部署系统进行测试的时候在找到问题的情况下必须在第一时间找到解决问题的办法,不要存在侥幸的心理,这样才能让常态化核酸采集点部署系统开发的质量可以过关,并且开发的周期会大大缩短,还有就是在测试时,不要出现重复性的错误,遇到一个错误问题,要将整个常态化核酸采集点部署系统开发所牵扯的该问题都必须一一解决,提高常态化核酸采集点部署系统平台的安全性、稳定性。
白盒测试与黑盒测试是测试中比较常用的两种方法。
①结构测试俗称白盒测试:这种测试是在对程序的处理过程与结构都有详尽谅解的前提下,顺从程序内部的逻辑而完成的系统测试,以确定系统中所有的通路都能够遵照设计要求正常工作,不出现任何偏差。
②功能测试又成黑盒测试:主要是针对程序功能能够按照设计正常实现的一种检测,在程序接口处进行,检测程序手法数据是否正常,与外部信息的交换是否完整。
6.3功能测试
用户登录测试:
| 模块名称 | 测试用例 | 预期结果 | 实际结果 | 是否通过 |
| 登录模块 | 用户名:admin 密码:123 | 弹出错误提示,提示密码错误 | 弹出错误提示,提示密码错误 | 通过 |
| 登录模块 | 用户名:123 密码:admin | 弹出错误提示,提示用户名错误 | 弹出错误提示,提示用户名错误 | 通过 |
| 登录模块 | 用户名:admin 密码:admin | 管理员登录成功 | 管理员登录成功 | 通过 |
修改密码测试:
| 模块名称 | 测试用例 | 预期结果 | 实际结果 | 是否通过 |
| 修改密码模块 | 原密码:666 新密码:123 确认密码:123 | 弹出错误提示,提示原密码错误 | 弹出错误提示,提示原密码错误 | 通过 |
| 修改密码模块 | 原密码:admin 新密码:123 确认密码:333 | 弹出错误提示,提示确认密码不一致 | 弹出错误提示,提示确认密码不一致 | 通过 |
| 修改密码模块 | 原密码:admin 新密码:123 确认密码:123 | 密码修改成功 | 密码修改成功 | 通过 |
通过对功能的测试,常态化核酸采集点部署系统的基本功能都是可行的,不管是系统里面的功能,还是界面的设计都是可值得推广宣传的。
此时项目已经完成,即使实施的时间不是很长,但是这个过程中需要准备很长的一段时间去对系统设计开发所相关技术进行学习。在学习的过程中,我逐渐认识得到了我自身存在的一些不足。对于一些控制是必要的应用技能,能够理解,整个过程中仅仅是一个掌握了常用的性能和控制方法,我觉得挺容易的。从该系统中,系统的分析和设计的调查数据,并且已经经历了几个月,并努力几个月,该系统已经完成。很显然,该系统仍有很多不成熟的地方,在系统设计过程中有许多技术缺陷存在。在设计的过程中也涉及到了很多自己无法解决的问题,主要通过咨询老师解决这些问题,对于毕业设计的圆满完成,需要感谢老师们的指导。系统的开发环境和配置都是可以自行安装的,系统使用Java开发工具,使用比较成熟的Mysql数据库进行对系统前台及后台的数据交互,根据技术语言对数据库,结合需求进行修改维护,可以使得系统运行更具有稳定性和安全性,从而完成实现系统的开发。
回顾毕业设计的整个过程,既付出汗水也收获了很多。虽然经历了各种各样的困难,自己的不断研究探索,系统的实现仍有不足之处。
在以后的学习及工作中,我仍然继续学习计算机方面的技术,让我在后期的平台开发中可以更好更快的实现需求功能。我相信我可以让更多的好工作,做出更大的贡献。
璃月社区常态化核酸采集点部署系统的完成,如何实现的更好,其中付出的努力是很大的,这段时光将会终身难忘。
首先要感谢我的指导老师,谢谢您在设计和论文中给我的指导。在您的细心指导下我才能快速的掌握系统的相关功能,在您的大力帮助下我才能将课本上的知识与自己的项目结合,真正的做到学以致用。感谢您经常牺牲自己的休息时间,利用其丰富的教学和项目经验对我进行指导。
感谢所有教过我的老师,为我倾注了大量的心血,正是你们的谆谆教诲、严谨教学才使我能顺利的完成学业,再此向你们表示深深的感谢。
感谢我的同学们,对我的大力支持及帮助,正是你们不断的帮助、鼓励,给我带来了极大的动力,最终系统可以顺利的运行。我们在交流、谈论的这段时间,将是我未来的财富,我要深深地感谢你们!
毕业在即,在今后的工作和生活中,我会铭记师长们的教诲、同学们的帮助,继续不懈努力和追求,来报答所有支持和帮助过我的人!
参考文献
[1]银莉,杜啸楠. 基于SpringBoot和Vue的社区服务平台设计与实现[J]. 电子技术,2022,51(12):182-183.
[2]Yu Yang. Design and Implementation of Student Information Management System Based on Springboot[J]. Advances in Computer, Signals and Systems,2022,6(6).
[3]赵梓皓,崔应留,葛晨,沈盈之,雷妤婷. 基于SpringBoot的社区防控管理系统的设计与实现[J]. 软件,2022,43(10):154-159.
[4]焦宇,李民,王欢,余开朝. 基于MySQL性能调优的推荐系统优化设计[J]. 软件导刊,2022,21(09):108-112.
[5]欧阳桂秀. 基于Java和MySQL的数据库管理系统的设计与实现[J]. 信息记录材料,2022,23(09):240-242.
[6]王景. 基于MySQL的数据库查询性能优化技术研究[J]. 电脑与电信,2022,(06):90-93.
[7]王南. Java编程在计算机应用软件中的应用特征与技术研究[J]. 信息记录材料,2022,23(04):130-132.
[8]王曼维,杨荻,李岩,及松洁. 基于SpringBoot框架的智慧医疗问诊系统设计与实现[J]. 中国医学装备,2022,19(03):133-136.
[9]曹嵩彭,王鹏宇. 浅析Java语言在软件开发中的应用[J]. 信息记录材料,2022,23(03):114-116.
[10]喻佳,吴丹新. 基于SpringBoot的Web快速开发框架[J]. 电脑编程技巧与维护,2021,(09):31-33.
[11]黄泓彰,王辰尹,王伟楠. 基于Springboot的高校智能排课系统的设计与实现[J]. 电脑知识与技术,2021,17(26):59-62+81.
[12]Guanhong Chen,Jiangming Xu. Design and implementation of efficient Learning platform based on SpringBoot Framework[J]. Journal of Electronics and Information Science,2020,6(1).
[13]Jian Chen,Chen Jian,Pan Hailan. Design of Man Hour Management Information System on SpringBoot Framework[J]. Journal of Physics: Conference Series,2020,1646(1).
[14]熊永平. 基于SpringBoot框架应用开发技术的分析与研究[J]. 电脑知识与技术,2019,15(36):76-77.
[15]. Design and Implementation of Loan Management System using ISI Server, PhP and MySql[J]. International Journal of Recent Technology and Engineering,2019,8(4).
[16]Kan Ji,Xiaojun Chen,Aoming Qin,Jia Liu,Jinmei Wu. Design and Implementation of Teaching Quality Evaluation System Based on SpringBoot[A]. 西南石油大学(Southwest Petroleum University).第七届计算与信息科学国际学术会议论文集[C].西南石油大学(Southwest Petroleum University):西南石油大学计算机科学学院,2019:444-452.
[17]M.M.Kamruzzaman. Design and Implementation of Loan Management System using ISI Server, PhP and MySql[J]. International Journal of Recent Technology and Engineering (IJRTE),2019,8(4).
[18]Shufan Liu,Ximei Li,Peng Sun. Design and Implementation of Communication Base Station Survey System based on Springboot[A]. 香港新世纪文化出版社(Hongkong New Century Cultural Publishing House).2018年智慧教育与人工智能发展学术会议论文集(第一部分)[C].香港新世纪文化出版社(Hongkong New Century Cultural Publishing House):香港新世纪文化出版社有限公司,2018:34-36.
免费领取项目源码,请关注❥点赞收藏并私信博主,谢谢~
132

被折叠的 条评论
为什么被折叠?



