近日,易趋凭借系统的成熟性、稳定性、灵活性、易用性,以及丰富的实施经验,与上海理想信息产业(集团)有限公司(天翼云科技有限公司旗下的子公司)签约,助力天翼云项目管理能力水平实现全面提升,共同搭建数字化项目管理平台。

一、签约背景
天翼云科技有限公司(以下简称天翼云)是中国电信的全资子公司,上海理想信息产业(集团)有限公司是天翼云与中国电信共同控股的子公司,是上海市投资规模较大的信息技术企业之一。
天翼云是一家科技型、平台型、服务型公司,以“云网融合、安全可信、专享定制”三大优势向客户提供公有云、私有云、专属云、混合云、边缘云、全栈云服务,满足政府机构、大中小企业数字化转型需求。作为全球领先的云服务商,天翼云秉承央企使命,致力于成为数字经济主力军,投身科技强国伟大事业,为用户提供安全、普惠云服务。
随着IT云化进程的不断加速,天翼云项目发现传统的研发管理模式中普遍存在的一些问题:
- 项目全生命周期过程标准化不系统、不完整;
- 项目过程与数据依赖EXCEL、WORD等办公文件进行管理;
- 项目相关部门对于各类表单、记录不能协同;
- 数据离散,及时性、准确性较差,且重复记录与统计占用了大量的人力,且沟通存在障碍,效率低下;
- 项目过程文档、数据不完整、不准确,版本管理混乱......
传统的管理模式已经无法满足当前与未来的精细化项目管控的需求,天翼云项目因此对管理进行了全盘优化,并希望借助专业的项目管理软件将最新的管理思想落地,以实现项目管理的精准控制、标准化、规范化和简洁化的目标。
“经过调查、比对和体验,天翼云最终与易趋达成合作,由上海理想代表其进行签约,上海理想与易趋共同助力天翼云项目管理体系落地。”
二、需求关注项
该项目与易趋达成合作关系,重点关注了易趋项目管理软件以下几个功能:
1. 提案管理
易趋提案模块可以为企业级项目管理提供一个组织级项目报备的空间。在易趋提案模块中,项目经理(或者项目负责人)可以以年度为基准做项目计划:预测来年计划启动的项目及其项目的规模、预算、项目可达到的收益等,并提出提案申请,PMO或者高层管理根据年度企业战略对申请项目进行评估决定提案申请通过或者驳回,提案申请通过后,方可创建和启动项目。
在易趋提案概况中,管理决策层可以对年度项目提案进行概览,包括项目状态分布、类型分布、提案提出趋势分析、提案部门排名分析,管理层可以站在年度战略规划的角度对所有项目提案进行审批,决定项目是否进行。

图1:易趋提案概况视图模拟数据,非天翼云项目后台
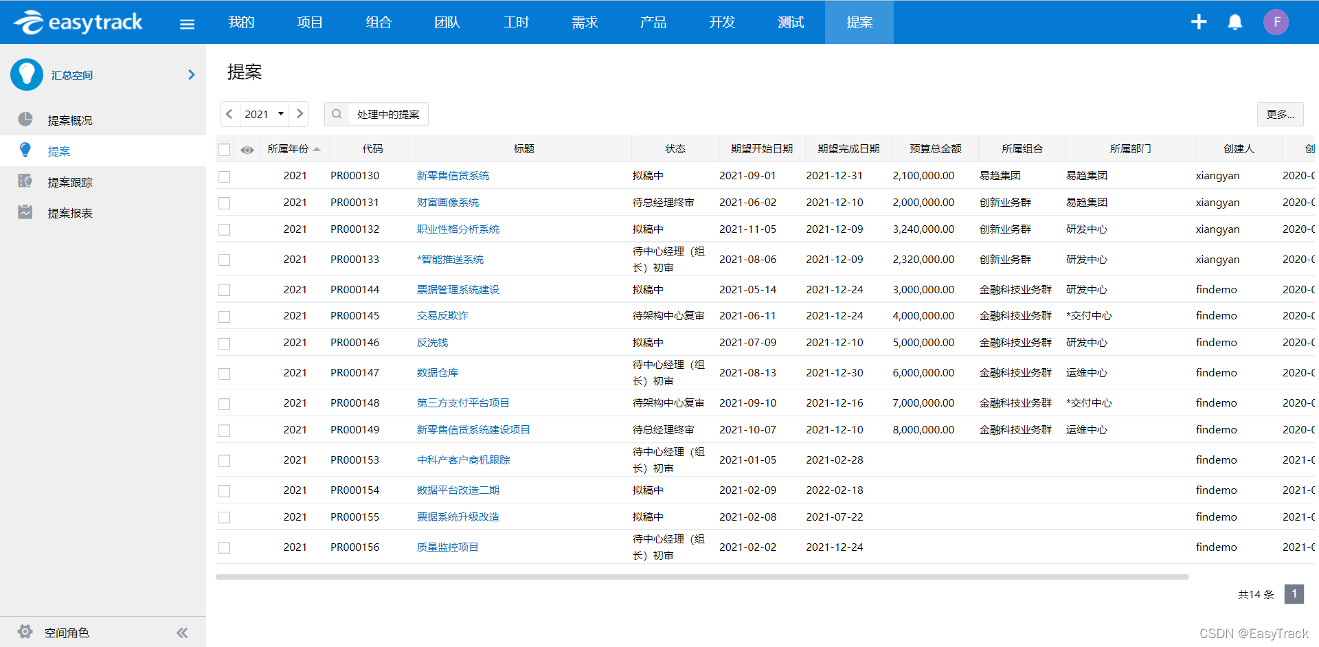
在易趋提案列表中,管理决策层可以对年度项目提案可以进行详细查看,包括提案状态、期望日期、预算金额、所属组合、部门等,还可以进行提案跟踪,系统可以自动生成提案报表。
图2:易趋提案列表视图模拟数据,非天翼云项目后台
2. 项目计划
天翼云项目对易趋在项目资源和进度管理的精细化程度方面尤为关注,主要体现在易趋项目计划中。易趋项目计划有4种视图支持项目经理进行进度监控,包括项目分解视图、甘特图、关键路径以及资源计划,还可以与MS Project完美结合,制定计划更加快捷。
如图3,项目计划甘特图视图中,可以定义任务分解结构,设置任务依赖关系,系统还可以自动计算任务时间。支持自上而下和自下而上的任务计划方式,还支持任务进度跟踪和提醒,实现对项目进度的有效管理,多快好省地完成项目任务。
图3:易趋管理计划甘特图视图模拟数据,非天翼云项目后台
如图4,项目计划资源计划视图中,可以实现对项目资源分配情况的掌控。预览不同资源类型工时、所属部门和不同周期内的资源利用工时计划。项目经理从资源分配的角度对项目进度进行把控,根据项目和资源实际情况申请或释放资源,提高资源利用率,推进项目进度。

图4:易趋管理计划资源计划视图模拟数据,非天翼云项目后台
3. 工时管理
易趋的工时管理,主要体现在执行层对任务工时的反馈上,项目成员可以根据管理要求进行工时汇报,比如以周为周期对工时进行反馈,展示成员每个工作日在不同任务上所花的具体工时,系统可以生成任务和周期两个维度的工时报告供管理层分析。易趋系统还支持对该周期中项目计划的导入,项目成员直接填报对应工时,方便快捷。
图5:易趋系统工时填报视图模拟数据,非天翼云项目后台
三、交流体验反馈
除了对产品的功能关注外,在双方团队的高频交流中,天翼云项目还被易趋以下的优势所吸引:
①强大的功能架构
易趋平台功能强大,可以满足公司的战略规划管理、项目组合管理监控和分析、组织资源规划的需求,在调研的项目管理软件中,易趋与企业级项目管理的需求最为契合。
②简洁大方的界面设计、功能布局贴合业务场景
易趋有着专业的管理思想和强大的功能,但是其界面简洁清新,操作起来也很便捷,在交互设计上提供了很好的用户体验。
四、价值预估
预期引进易趋PPM将能够为天翼云项目的管理活动带来以下价值提升:
①实现项目管理工作的流程化、规范化、系统化和全过程的可视化;
②统一管理企业人员资源,提高人员利用率,实现资源价值最大化;
③提高数据的准确性和透明度,为管理层决策提供数据信息;
④精细化管理财务,控成本、增收益,实现投资收益最大化;
⑤减少手工劳动,降低管理成本,提升管理效率;
⑥统一管理项目,统筹项目资源,统一管理项目资产;
⑦建立高效率的信息沟通机制,提高工作效率,加强项目管理力度。

易趋与天翼云达成合作,通过引入专业项目管理软件优化项目管控流程,实现项目管理的精准控制、标准化及简洁化,解决传统管理模式中存在的问题。
4464

被折叠的 条评论
为什么被折叠?



