温馨提示:文末有 优快云 平台官方提供的学长联系方式的名片!
温馨提示:文末有 优快云 平台官方提供的学长联系方式的名片!
温馨提示:文末有 优快云 平台官方提供的学长联系方式的名片!
信息安全/网络安全 大模型、大数据、深度学习领域中科院硕士在读,所有源码均一手开发!
感兴趣的可以先收藏起来,还有大家在毕设选题,项目以及论文编写等相关问题都可以给我留言咨询,希望帮助更多的人
介绍资料
以下是一篇关于《Django+Vue.js高考推荐系统与高考数据可视化》的开题报告框架及内容示例,供参考:
开题报告
题目:基于Django与Vue.js的高考推荐系统及数据可视化平台设计与实现
一、研究背景与意义
- 背景
- 高考作为中国教育体系的核心环节,考生在志愿填报时面临信息不对称、决策难度大的问题。
- 传统志愿填报依赖人工查询和经验判断,缺乏智能化、个性化的推荐支持。
- 教育数据(如分数线、院校排名、专业就业率等)呈现爆炸式增长,但缺乏高效的可视化工具辅助分析。
- 意义
- 技术价值:结合后端Django(高效率Web框架)与前端Vue.js(响应式组件化开发),构建全栈式高考推荐系统。
- 应用价值:通过算法推荐匹配考生分数与院校专业,提供可视化数据看板,降低志愿填报风险。
- 社会价值:推动教育公平,帮助偏远地区考生获取优质信息资源。
二、国内外研究现状
- 国内研究现状
- 现有高考志愿系统多以静态数据展示为主(如阳光高考网),缺乏动态推荐与交互功能。
- 部分平台引入简单算法(如线性加权评分),但未充分利用机器学习模型优化推荐精度。
- 国外研究现状
- 欧美国家大学申请系统(如Common App)侧重流程管理,较少涉及分数匹配推荐。
- 可视化技术广泛应用于教育数据分析(如Tableau、Power BI),但未深度集成至志愿推荐场景。
- 现存问题
- 数据孤岛:院校、专业、就业数据分散,缺乏整合平台。
- 推荐单一:现有系统未考虑考生兴趣、职业规划等多维度因素。
- 交互性差:缺乏直观的可视化工具辅助决策。
三、研究目标与内容
- 研究目标
- 设计并实现一个基于Django+Vue.js的高考推荐系统,提供个性化志愿推荐与数据可视化服务。
- 研究内容
- 系统架构设计
- 后端:Django框架搭建RESTful API,集成MySQL数据库存储考生、院校、专业数据。
- 前端:Vue.js实现动态交互界面,结合ECharts实现数据可视化。
- 核心功能模块
- 用户画像模块:采集考生分数、兴趣、地域偏好等数据。
- 智能推荐模块:基于协同过滤或内容推荐算法(如余弦相似度)生成志愿排序。
- 数据可视化模块:展示历年分数线趋势、院校对比、专业就业率等图表。
- 关键技术实现
- Django的ORM模型与数据库优化。
- Vue.js组件化开发与状态管理(Vuex)。
- ECharts与D3.js的图表动态渲染。
- 系统架构设计
四、研究方法与技术路线
- 研究方法
- 需求分析法:调研考生、家长、教师的实际需求。
- 系统设计法:采用MVC架构分层开发。
- 算法优化法:通过A/B测试对比不同推荐算法效果。
- 技术路线
mermaidgraph TDA[数据采集] --> B[数据清洗与预处理]B --> C[存储至MySQL数据库]C --> D[Django后端API开发]D --> E[Vue.js前端页面渲染]E --> F[ECharts可视化展示]F --> G[用户交互与反馈优化]
五、预期成果与创新点
- 预期成果
- 完成一个可运行的高考推荐与可视化系统,支持用户注册、数据查询、志愿推荐、图表导出等功能。
- 创新点
- 技术融合:首次将Django+Vue.js全栈架构应用于高考场景。
- 多维推荐:结合分数、兴趣、就业前景的混合推荐模型。
- 动态可视化:实现交互式数据看板,支持实时筛选与对比分析。
六、进度安排
| 阶段 | 时间 | 任务 |
|---|---|---|
| 需求分析 | 第1-2周 | 调研用户需求,完成PRD文档 |
| 系统设计 | 第3-4周 | 数据库设计、API接口定义 |
| 开发实现 | 第5-10周 | 前后端联调、算法集成 |
| 测试优化 | 第11-12周 | 压力测试、用户体验优化 |
| 论文撰写 | 第13-14周 | 完成开题报告与毕业论文 |
七、参考文献
- 李明. 基于协同过滤的高考志愿推荐系统研究[J]. 计算机应用, 2021.
- Django官方文档. Django documentation | Django documentation | Django
- Vue.js权威指南. Evan You著, 2020.
- 张华. 教育数据可视化技术与应用[M]. 清华大学出版社, 2019.
八、指导教师意见
(待填写)
备注:
- 可根据实际需求调整技术栈(如替换为React或Flask)。
- 数据来源需注明合法性(如教育部公开数据、爬虫合规性声明)。
- 推荐算法部分可进一步扩展为深度学习模型(如神经网络评分预测)。
希望以上内容对您的开题报告撰写有所帮助!
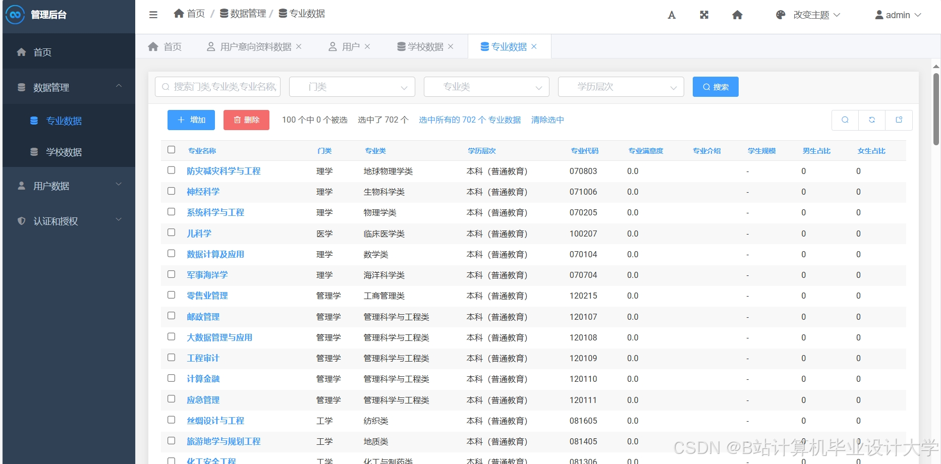
运行截图
推荐项目
上万套Java、Python、大数据、机器学习、深度学习等高级选题(源码+lw+部署文档+讲解等)
项目案例










优势
1-项目均为博主学习开发自研,适合新手入门和学习使用
2-所有源码均一手开发,不是模版!不容易跟班里人重复!

🍅✌感兴趣的可以先收藏起来,点赞关注不迷路,想学习更多项目可以查看主页,大家在毕设选题,项目代码以及论文编写等相关问题都可以给我留言咨询,希望可以帮助同学们顺利毕业!🍅✌
源码获取方式
🍅由于篇幅限制,获取完整文章或源码、代做项目的,拉到文章底部即可看到个人联系方式。🍅
点赞、收藏、关注,不迷路,下方查看👇🏻获取联系方式👇🏻


















825

被折叠的 条评论
为什么被折叠?



