温馨提示:文末有 优快云 平台官方提供的学长联系方式的名片!
温馨提示:文末有 优快云 平台官方提供的学长联系方式的名片!
温馨提示:文末有 优快云 平台官方提供的学长联系方式的名片!
信息安全/网络安全 大模型、大数据、深度学习领域中科院硕士在读,所有源码均一手开发!
感兴趣的可以先收藏起来,还有大家在毕设选题,项目以及论文编写等相关问题都可以给我留言咨询,希望帮助更多的人
介绍资料
以下是一篇关于《Hadoop+Spark房价预测系统与房源推荐系统》的任务书模板,内容涵盖任务目标、分工、技术要求及进度安排等,供参考:
任务书
项目名称:基于Hadoop与Spark的房价预测系统及房源推荐系统开发
一、任务背景与目标
- 背景
- 房地产行业数据规模庞大且维度复杂,传统分析方法难以高效处理海量数据并挖掘潜在价值。
- 用户对房价预测精准性与房源推荐个性化需求日益增长,需结合大数据技术构建智能化系统。
- 目标
- 设计并实现一个基于Hadoop+Spark的分布式系统,完成房价预测与房源推荐两大核心功能。
- 提升数据处理效率、预测准确率及推荐个性化程度,满足房地产平台实际应用需求。
二、任务内容与分工
1. 数据采集与预处理模块
- 负责人:数据组
- 任务:
- 爬取多源房地产数据(历史房价、区域经济指标、用户行为日志等)。
- 使用Hadoop HDFS存储结构化与非结构化数据。
- 利用Spark进行数据清洗(去重、缺失值处理)与特征工程(特征提取、归一化)。
2. 房价预测模型开发模块
- 负责人:算法组
- 任务:
- 基于Spark MLlib实现机器学习模型(如XGBoost、随机森林)训练与调优。
- 结合时间序列分析(Prophet)与特征融合技术提升预测精度。
- 对比不同模型性能,输出误差分析报告(MAE、RMSE等指标)。
3. 房源推荐系统开发模块
- 负责人:推荐组
- 任务:
- 构建用户画像(基于Spark分析用户浏览、收藏、交易行为)。
- 实现混合推荐算法(协同过滤+内容推荐),利用ALS优化矩阵分解。
- 通过Spark Streaming实现实时推荐更新,解决冷启动问题。
4. 系统集成与可视化模块
- 负责人:开发组
- 任务:
- 集成Hadoop、Spark与前端框架(如ECharts、D3.js)。
- 开发Web界面展示房价预测结果与个性化推荐列表。
- 部署系统至集群环境,进行压力测试与性能优化。
三、技术要求
- 基础设施
- 集群环境:Hadoop 3.x + Spark 3.x,配置HDFS与YARN资源管理。
- 开发语言:Scala/Python(Spark编程)、Java(后端服务)、HTML/CSS/JavaScript(前端)。
- 算法要求
- 房价预测:支持至少3种机器学习模型对比,误差率≤12%。
- 房源推荐:点击率(CTR)提升≥15%,推荐响应时间≤500ms。
- 数据要求
- 数据规模:≥10万条房源记录,≥1TB原始数据存储。
- 数据更新频率:支持每日增量数据同步。
四、进度计划
| 阶段 | 时间 | 里程碑 |
|---|---|---|
| 需求分析 | 第1-2周 | 完成数据源调研与系统功能定义,输出需求规格说明书。 |
| 环境搭建 | 第3-4周 | 部署Hadoop+Spark集群,验证基础组件通信与资源调度。 |
| 数据准备 | 第5-6周 | 完成数据采集、清洗与特征工程,生成训练集与测试集。 |
| 模型开发 | 第7-10周 | 实现房价预测与推荐算法,完成模型调优与基准测试。 |
| 系统集成 | 第11-12周 | 集成各模块,开发前端界面,进行联调与性能优化。 |
| 测试验收 | 第13-14周 | 完成功能测试、压力测试与用户验收,输出最终报告。 |
五、交付成果
- 系统代码:完整可运行的Hadoop+Spark项目源码(GitHub仓库链接)。
- 技术文档:
- 《系统设计说明书》(含架构图、数据库设计)
- 《算法实现报告》(含模型对比与优化细节)
- 《用户操作手册》(含部署指南与接口说明)
- 测试报告:性能测试数据与用户反馈分析。
- 论文/专利:至少1篇核心期刊论文或1项软件著作权申请材料。
六、验收标准
- 功能完整性:系统需实现房价预测、房源推荐、数据可视化等核心功能。
- 性能指标:
- 集群吞吐量:≥10万条/小时数据处理能力。
- 推荐准确率:Top-10推荐命中率≥60%。
- 文档规范性:技术文档需符合行业标准,代码注释覆盖率≥30%。
七、备注
- 项目风险:数据隐私合规性需重点关注,推荐算法需避免过度个性化导致的“信息茧房”。
- 扩展性:预留接口支持未来接入深度学习模型(如TensorFlow on Spark)或迁移至云平台(EMR、Dataproc)。
任务书签署
项目负责人:__________
日期:__________
可根据实际项目需求调整分工、技术细节或时间节点。
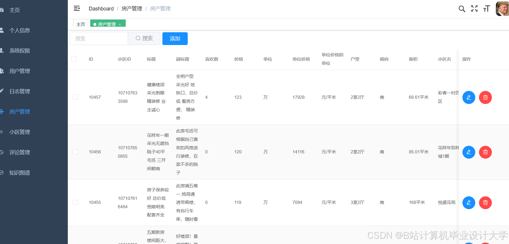
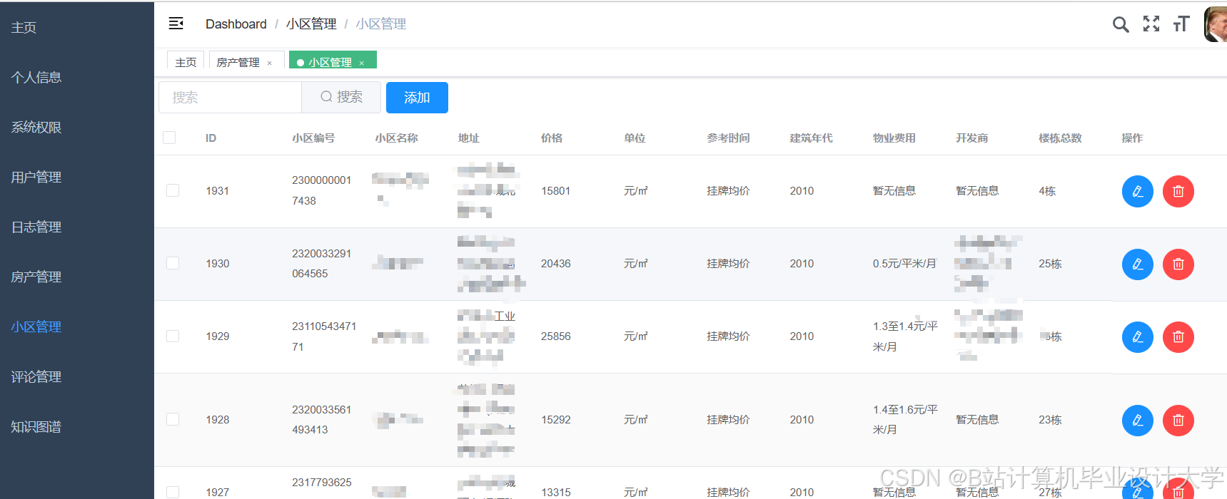
运行截图
推荐项目
上万套Java、Python、大数据、机器学习、深度学习等高级选题(源码+lw+部署文档+讲解等)
项目案例










优势
1-项目均为博主学习开发自研,适合新手入门和学习使用
2-所有源码均一手开发,不是模版!不容易跟班里人重复!

🍅✌感兴趣的可以先收藏起来,点赞关注不迷路,想学习更多项目可以查看主页,大家在毕设选题,项目代码以及论文编写等相关问题都可以给我留言咨询,希望可以帮助同学们顺利毕业!🍅✌
源码获取方式
🍅由于篇幅限制,获取完整文章或源码、代做项目的,拉到文章底部即可看到个人联系方式。🍅
点赞、收藏、关注,不迷路,下方查看👇🏻获取联系方式👇🏻















416

被折叠的 条评论
为什么被折叠?



