温馨提示:文末有 优快云 平台官方提供的学长联系方式的名片!
温馨提示:文末有 优快云 平台官方提供的学长联系方式的名片!
温馨提示:文末有 优快云 平台官方提供的学长联系方式的名片!
信息安全/网络安全 大模型、大数据、深度学习领域中科院硕士在读,所有源码均一手开发!
感兴趣的可以先收藏起来,还有大家在毕设选题,项目以及论文编写等相关问题都可以给我留言咨询,希望帮助更多的人
介绍资料
《Hadoop + Spark 房价预测系统》任务书
一、项目基本信息
- 项目名称:Hadoop + Spark 房价预测系统
- 项目负责人:[姓名]
- 项目组成员:[成员 1 姓名]、[成员 2 姓名]……
- 项目起止时间:[开始日期]-[结束日期]
- 项目背景:随着房地产市场的发展,房价波动受多种因素影响,准确预测房价对购房者、开发商和投资者意义重大。大数据技术为房价预测提供了丰富的数据和强大的计算能力。Hadoop 和 Spark 作为主流大数据框架,结合使用可高效处理海量房地产数据,构建房价预测系统具有实际应用价值。
二、项目目标
- 数据目标
- 收集涵盖多个城市、不同区域、多种类型房地产的丰富数据,包括房屋基本信息(面积、户型、楼层等)、地理位置信息(周边设施、交通情况等)、市场交易信息(历史成交价格、成交量等)以及宏观经济数据(GDP、利率等),构建全面、准确的房价预测数据集。
- 对采集到的数据进行有效清洗和预处理,去除噪声数据、缺失值和异常值,确保数据质量,为后续分析和预测提供可靠基础。
- 模型目标
- 研究并选择适合房价预测的机器学习和深度学习模型,如线性回归、决策树、随机森林、支持向量机、神经网络等,利用 Spark MLlib 等库实现这些模型。
- 通过交叉验证、网格搜索等方法对模型参数进行优化,提高模型的预测准确性和泛化能力,使预测误差控制在合理范围内。
- 系统目标
- 设计并开发一个基于 Hadoop 和 Spark 的房价预测系统,具备友好的用户界面,方便用户输入查询条件(如房屋特征、地理位置等)并获取房价预测结果。
- 实现系统的分布式计算和存储功能,确保系统能够高效处理大规模数据,具备良好的可扩展性和稳定性,满足实际应用中的高并发需求。
三、项目任务分解
(一)数据采集与预处理组
- 数据采集
- 确定数据来源,包括房地产交易网站、政府公开数据平台、第三方数据提供商等。
- 使用 Python 编写数据采集脚本,利用爬虫技术从不同数据源获取房地产相关数据,并定期更新数据。
- 负责数据的初步存储,将采集到的数据存储到 Hadoop 的 HDFS 中,确保数据的安全性和可访问性。
- 数据预处理
- 使用 Spark 的 RDD 和 DataFrame API 对采集到的数据进行清洗,去除重复数据、缺失值和异常值。
- 进行数据转换和标准化处理,将不同格式和单位的数据统一为适合模型分析的格式。
- 开展特征工程,包括特征选择、特征构造和特征变换,提取对房价预测有重要影响的特征,降低数据维度,提高模型训练效率。
(二)模型研究与训练组
- 模型研究
- 调研和分析常见的房价预测模型,了解其原理、优缺点和适用场景。
- 根据数据特点和项目需求,选择合适的模型进行深入研究,确定模型的参数范围和优化方向。
- 模型训练与优化
- 利用 Spark MLlib 库实现选定的房价预测模型,编写模型训练代码。
- 采用交叉验证和网格搜索等方法对模型参数进行优化,通过不断调整参数组合,寻找最优的模型参数。
- 比较不同模型的预测性能,使用均方误差(MSE)、平均绝对误差(MAE)、决定系数(R²)等指标评估模型的准确性,选择最优的房价预测模型。
(三)系统开发与部署组
- 系统设计
- 设计房价预测系统的总体架构,包括数据存储层、数据处理层、模型训练层和预测服务层,明确各层的功能和交互方式。
- 设计系统的用户界面,确定界面的布局、功能和交互流程,确保用户能够方便地使用系统。
- 系统开发
- 使用 Java 或 Scala 开发系统的后端服务,利用 Spring Boot 框架实现系统的业务逻辑和数据处理功能。
- 使用 HTML、CSS 和 JavaScript 开发系统的前端界面,采用 Vue.js 或 React.js 等前端框架提高用户体验。
- 实现系统与 Hadoop 和 Spark 集群的集成,确保系统能够调用集群的计算资源进行数据处理和模型训练。
- 系统部署
- 将开发完成的系统部署到 Hadoop 和 Spark 集群上,配置相关的运行环境和参数。
- 进行系统的集成测试和联调,确保系统各模块之间能够正常通信和协作。
(四)测试与评估组
- 功能测试
- 制定系统的功能测试计划,明确测试用例和测试方法。
- 对系统的各项功能进行测试,包括数据输入、模型训练、房价预测、结果展示等功能,确保系统功能符合需求规格说明书的要求。
- 记录测试过程中发现的问题,并及时反馈给开发人员进行修复。
- 性能测试
- 设计性能测试方案,模拟不同规模的数据和并发用户场景。
- 使用 JMeter 等工具对系统进行性能测试,评估系统在不同负载下的响应时间、吞吐量和资源利用率等指标。
- 根据性能测试结果,对系统进行优化和调整,提高系统的性能和稳定性。
- 模型评估
- 使用独立的测试数据集对训练好的房价预测模型进行评估,计算模型的预测误差和准确性指标。
- 与传统房价预测方法进行比较,分析本系统所采用模型的优势和不足。
- 根据模型评估结果,对模型进行进一步的优化和改进。
四、项目进度安排
(一)第一阶段(第 1 - 2 个月):项目启动与需求分析
- 成立项目小组,明确各成员的职责和分工。
- 开展市场调研和需求分析,了解用户对房价预测系统的功能和性能需求。
- 制定项目计划和任务书,确定项目的目标、任务、进度安排和资源需求。
(二)第二阶段(第 3 - 4 个月):数据采集与预处理
- 完成数据采集脚本的编写和测试,开始从不同数据源采集房地产相关数据。
- 对采集到的数据进行初步清洗和存储,建立数据仓库。
- 开展数据预处理工作,包括数据清洗、转换、标准化和特征工程等。
(三)第三阶段(第 5 - 6 个月):模型研究与训练
- 研究和分析常见的房价预测模型,选择合适的模型进行深入研究。
- 利用 Spark MLlib 库实现选定的模型,并进行模型训练和参数优化。
- 比较不同模型的预测性能,选择最优的房价预测模型。
(四)第四阶段(第 7 - 8 个月):系统开发与部署
- 完成系统的总体设计和详细设计,确定系统的架构和模块划分。
- 开展系统的开发工作,包括后端服务开发、前端界面开发和系统集成。
- 将系统部署到 Hadoop 和 Spark 集群上,进行系统的集成测试和联调。
(五)第五阶段(第 9 - 10 个月):测试与评估
- 制定系统的测试计划,开展功能测试、性能测试和模型评估工作。
- 记录测试过程中发现的问题,并及时进行修复和优化。
- 根据测试和评估结果,对系统进行进一步的完善和改进。
(六)第六阶段(第 11 - 12 个月):项目验收与总结
- 整理项目文档,包括需求规格说明书、设计文档、测试报告等。
- 组织项目验收,向相关部门和用户展示系统的功能和性能。
- 对项目进行总结和反思,分析项目中的经验教训,为后续项目提供参考。
五、项目资源需求
- 硬件资源:需要配备一定数量的服务器,用于搭建 Hadoop 和 Spark 集群,满足系统的分布式计算和存储需求。同时,还需要配备开发工作站,用于项目开发和测试。
- 软件资源:需要安装 Hadoop、Spark、Spring Boot、Vue.js 或 React.js 等相关软件和开发工具,以及 JMeter 等测试工具。
- 人力资源:项目需要具备大数据技术、机器学习、软件开发等方面专业知识和技能的人员参与,包括数据采集与预处理人员、模型研究与训练人员、系统开发与部署人员、测试与评估人员等。
六、项目风险管理
- 数据风险:数据来源可能不稳定,导致数据采集不及时或不完整;数据质量可能存在问题,影响模型的预测准确性。应对措施:建立多个数据源备份机制,定期检查数据质量,对异常数据进行及时处理。
- 技术风险:Hadoop 和 Spark 等大数据技术较为复杂,可能出现技术难题和兼容性问题;模型训练过程中可能出现过拟合或欠拟合现象。应对措施:加强技术培训和学习,及时解决技术难题;采用正则化、交叉验证等方法防止模型过拟合和欠拟合。
- 进度风险:项目可能因各种原因导致进度延迟,如任务分配不合理、人员变动等。应对措施:制定详细的项目进度计划,加强项目进度监控和管理,及时调整任务分配和资源投入。
- 安全风险:系统中存储了大量的房地产数据,可能存在数据泄露和安全漏洞的风险。应对措施:加强系统的安全防护,采用加密技术对数据进行加密存储和传输,定期进行安全漏洞扫描和修复。
七、项目成果交付
- 系统软件:交付基于 Hadoop 和 Spark 的房价预测系统软件,包括系统的源代码、安装包和部署文档。
- 数据集:交付构建好的房价预测数据集,包括原始数据和预处理后的数据。
- 模型文件:交付训练好的房价预测模型文件,以及模型的评估报告和优化方案。
- 项目文档:交付项目相关的文档,包括需求规格说明书、设计文档、测试报告、用户手册等。
项目负责人(签字):__________________
日期:______年____月____日
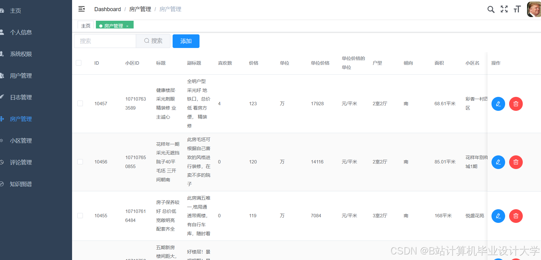
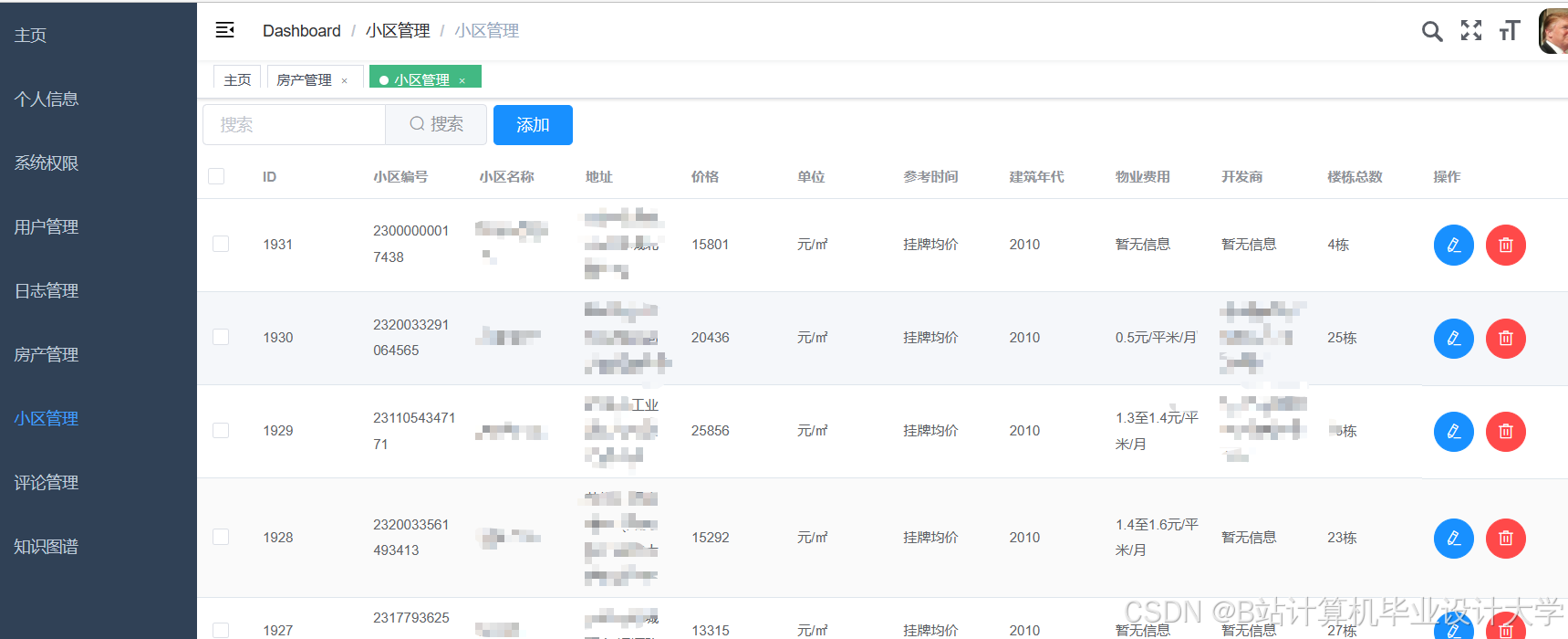
运行截图
推荐项目
上万套Java、Python、大数据、机器学习、深度学习等高级选题(源码+lw+部署文档+讲解等)
项目案例










优势
1-项目均为博主学习开发自研,适合新手入门和学习使用
2-所有源码均一手开发,不是模版!不容易跟班里人重复!

🍅✌感兴趣的可以先收藏起来,点赞关注不迷路,想学习更多项目可以查看主页,大家在毕设选题,项目代码以及论文编写等相关问题都可以给我留言咨询,希望可以帮助同学们顺利毕业!🍅✌
源码获取方式
🍅由于篇幅限制,获取完整文章或源码、代做项目的,拉到文章底部即可看到个人联系方式。🍅
点赞、收藏、关注,不迷路,下方查看👇🏻获取联系方式👇🏻



















424

被折叠的 条评论
为什么被折叠?



