温馨提示:文末有 优快云 平台官方提供的学长联系方式的名片!
温馨提示:文末有 优快云 平台官方提供的学长联系方式的名片!
温馨提示:文末有 优快云 平台官方提供的学长联系方式的名片!
信息安全/网络安全 大模型、大数据、深度学习领域中科院硕士在读,所有源码均一手开发!
感兴趣的可以先收藏起来,还有大家在毕设选题,项目以及论文编写等相关问题都可以给我留言咨询,希望帮助更多的人
介绍资料
《Hadoop + Spark 房价预测系统与房源推荐系统》任务书
一、项目基本信息
(一)项目名称
Hadoop + Spark 房价预测系统与房源推荐系统
(二)项目背景
随着房地产市场的不断发展,房产信息量急剧增加。消费者在海量房源中筛选合适房源以及房地产企业对房价精准预测和合理推荐房源的需求日益凸显。Hadoop 作为分布式存储和处理海量数据的框架,Spark 以其内存计算和快速迭代能力在数据处理中表现出色,将两者结合应用于房价预测和房源推荐系统,能有效提升数据处理效率和系统性能,满足市场实际需求。
(三)项目目标
- 构建基于 Hadoop 和 Spark 的大数据处理平台,实现海量房产数据的存储、管理和高效处理。
- 开发准确的房价预测模型,利用历史房产数据和多种影响因素,对未来房价进行合理预测。
- 设计并实现个性化的房源推荐系统,根据用户偏好、预算等信息,为用户精准推荐符合需求的房源。
- 对系统进行性能测试和优化,确保系统在高并发、大数据量的情况下稳定运行,并具有良好的用户体验。
二、项目成员及职责
(一)项目负责人
[姓名],负责项目的整体规划、协调和进度把控,与导师保持密切沟通,及时解决项目中出现的问题。
(二)开发人员
- [姓名 1]:负责 Hadoop 和 Spark 集群的搭建、配置和维护,确保数据存储和处理环境的稳定运行。
- [姓名 2]:进行数据采集和预处理工作,包括编写爬虫程序、清洗和转换数据,为后续的模型训练和推荐系统提供高质量的数据。
- [姓名 3]:研究和实现房价预测算法,基于 Spark 框架进行模型训练和优化,评估算法的性能和准确性。
- [姓名 4]:设计房源推荐算法,结合用户行为数据和房源信息,实现个性化的房源推荐功能,并进行系统的前端开发和界面设计。
(三)测试人员
[姓名],负责制定测试计划,对系统进行功能测试、性能测试和兼容性测试,及时发现并反馈系统中的问题,协助开发人员进行修复和优化。
三、项目任务及时间安排
(一)需求分析与规划阶段(第 1 - 2 周)
- 任务内容
- 与房地产企业、购房者等相关人员进行沟通,了解他们对房价预测和房源推荐系统的需求和期望。
- 分析市场上现有的类似系统,总结其优点和不足,为项目的设计提供参考。
- 制定项目的整体规划和时间安排,明确各个阶段的任务和目标。
- 时间节点:第 2 周结束前完成需求分析报告和项目规划文档。
- 交付成果:需求分析报告、项目规划文档。
(二)环境搭建与数据采集阶段(第 3 - 6 周)
- Hadoop 和 Spark 集群搭建
- 任务内容:在服务器上安装和配置 Hadoop 和 Spark 集群,包括 HDFS、YARN、Spark 等组件的安装和调试,确保集群能够正常运行。
- 时间节点:第 4 周结束前完成集群搭建。
- 交付成果:Hadoop 和 Spark 集群搭建文档,包括集群配置信息、运行状态截图等。
- 数据采集
- 任务内容:使用 Python 的 Scrapy 框架编写爬虫程序,从房地产网站、政府数据平台等采集房产数据,包括房源信息、交易记录、宏观经济数据等。
- 时间节点:第 6 周结束前完成数据采集工作。
- 交付成果:采集到的原始数据文件、爬虫程序代码。
(三)数据预处理与存储阶段(第 7 - 10 周)
- 数据清洗与转换
- 任务内容:对采集到的数据进行清洗,处理缺失值、异常值等问题,将数据转换为适合后续分析和建模的格式。
- 时间节点:第 8 周结束前完成数据清洗和转换。
- 交付成果:清洗后的数据文件、数据清洗和转换的代码。
- 数据存储
- 任务内容:将预处理后的数据存储到 HDFS 中,设计合理的数据存储结构,采用 Hive 或 HBase 进行数据管理。
- 时间节点:第 10 周结束前完成数据存储工作。
- 交付成果:数据存储方案文档、数据存储在 HDFS 中的截图或相关文件。
(四)房价预测模型构建阶段(第 11 - 16 周)
- 算法研究与选择
- 任务内容:研究常用的房价预测算法,如线性回归、决策树、神经网络等,分析其优缺点,结合项目需求选择合适的算法。
- 时间节点:第 12 周结束前完成算法研究和选择。
- 交付成果:算法研究报告、选择的算法说明文档。
- 模型训练与优化
- 任务内容:基于 Spark 框架,使用历史房产数据对所选算法进行模型训练,通过交叉验证等方法优化模型参数,提高模型的预测准确性。
- 时间节点:第 16 周结束前完成模型训练和优化。
- 交付成果:模型训练代码、模型优化过程记录、训练好的模型文件。
(五)房源推荐系统设计阶段(第 17 - 22 周)
- 推荐算法设计
- 任务内容:分析用户的需求和偏好,提取影响房源推荐的关键因素,如地理位置、价格、户型等,设计基于内容的推荐和协同过滤推荐相结合的房源推荐算法。
- 时间节点:第 18 周结束前完成推荐算法设计。
- 交付成果:推荐算法设计文档、算法流程图。
- 推荐功能实现
- 任务内容:利用 Spark Streaming 实现实时房源推荐,当用户的行为数据或房源信息发生变化时,能够及时调整推荐结果。同时,进行系统的前端开发和界面设计,为用户提供友好的操作界面。
- 时间节点:第 22 周结束前完成推荐功能实现。
- 交付成果:推荐功能代码、前端界面设计文档、系统界面截图。
(六)系统测试与优化阶段(第 23 - 26 周)
- 测试计划制定
- 任务内容:制定详细的测试计划,包括功能测试、性能测试、兼容性测试等内容,明确测试用例和测试方法。
- 时间节点:第 23 周结束前完成测试计划制定。
- 交付成果:测试计划文档。
- 系统测试
- 任务内容:按照测试计划对系统进行全面测试,记录测试过程中发现的问题,并及时反馈给开发人员进行修复。
- 时间节点:第 24 周结束前完成系统测试。
- 交付成果:测试报告、问题修复记录。
- 系统优化
- 任务内容:根据测试结果对系统进行性能优化,采用缓存技术、并行计算等手段提高系统的响应速度和处理能力,确保系统在高并发情况下能够稳定运行。
- 时间节点:第 26 周结束前完成系统优化。
- 交付成果:系统优化方案、优化后的系统性能测试报告。
(七)项目验收与总结阶段(第 27 - 28 周)
- 项目验收
- 任务内容:整理项目文档,包括需求分析报告、设计文档、测试报告等,向导师和相关人员进行项目演示和验收,确保项目达到预期目标。
- 时间节点:第 27 周结束前完成项目验收。
- 交付成果:项目验收报告。
- 项目总结
- 任务内容:对项目进行全面总结,分析项目中的优点和不足,提出改进建议和未来发展方向,撰写项目总结报告。
- 时间节点:第 28 周结束前完成项目总结。
- 交付成果:项目总结报告。
四、项目质量要求
(一)数据质量
采集的数据应准确、完整、及时,数据清洗和转换过程应规范,确保处理后的数据质量符合后续分析和建模的要求。
(二)算法性能
房价预测模型和房源推荐算法应具有较高的准确性和稳定性,能够在合理的时间内完成计算任务,满足实际应用的需求。
(三)系统性能
系统应具有良好的可扩展性、稳定性和高并发处理能力,在高并发、大数据量的情况下能够稳定运行,响应时间应符合用户的使用体验要求。
(四)文档质量
项目文档应内容完整、格式规范、逻辑清晰,能够准确反映项目的各个阶段和成果,为项目的维护和升级提供有力支持。
五、项目资源需求
(一)硬件资源
服务器若干台,用于搭建 Hadoop 和 Spark 集群,确保集群具有足够的计算能力和存储容量。
(二)软件资源
Hadoop、Spark、Python、Java 等开发环境和工具,以及相关的数据库管理系统和前端开发框架。
(三)人力资源
项目团队成员应具备大数据处理、机器学习、软件开发等方面的专业知识和技能,能够按时、高质量地完成项目任务。
六、项目风险管理
(一)技术风险
可能面临 Hadoop 和 Spark 集群搭建困难、算法实现不理想等技术问题。应对措施:提前进行技术调研和预研,组织团队成员进行技术培训和学习,及时寻求外部技术支持。
(二)数据风险
数据采集可能受到网站反爬虫机制的影响,数据质量可能存在不足。应对措施:优化爬虫程序,采用多种数据采集方式;加强数据清洗和预处理工作,对数据质量进行严格把控。
(三)时间风险
项目进度可能受到各种因素的影响,导致任务延期。应对措施:制定详细的项目计划,合理安排任务和时间节点,加强项目进度监控和管理,及时调整计划以应对突发情况。
项目负责人:[姓名]
日期:[具体日期]
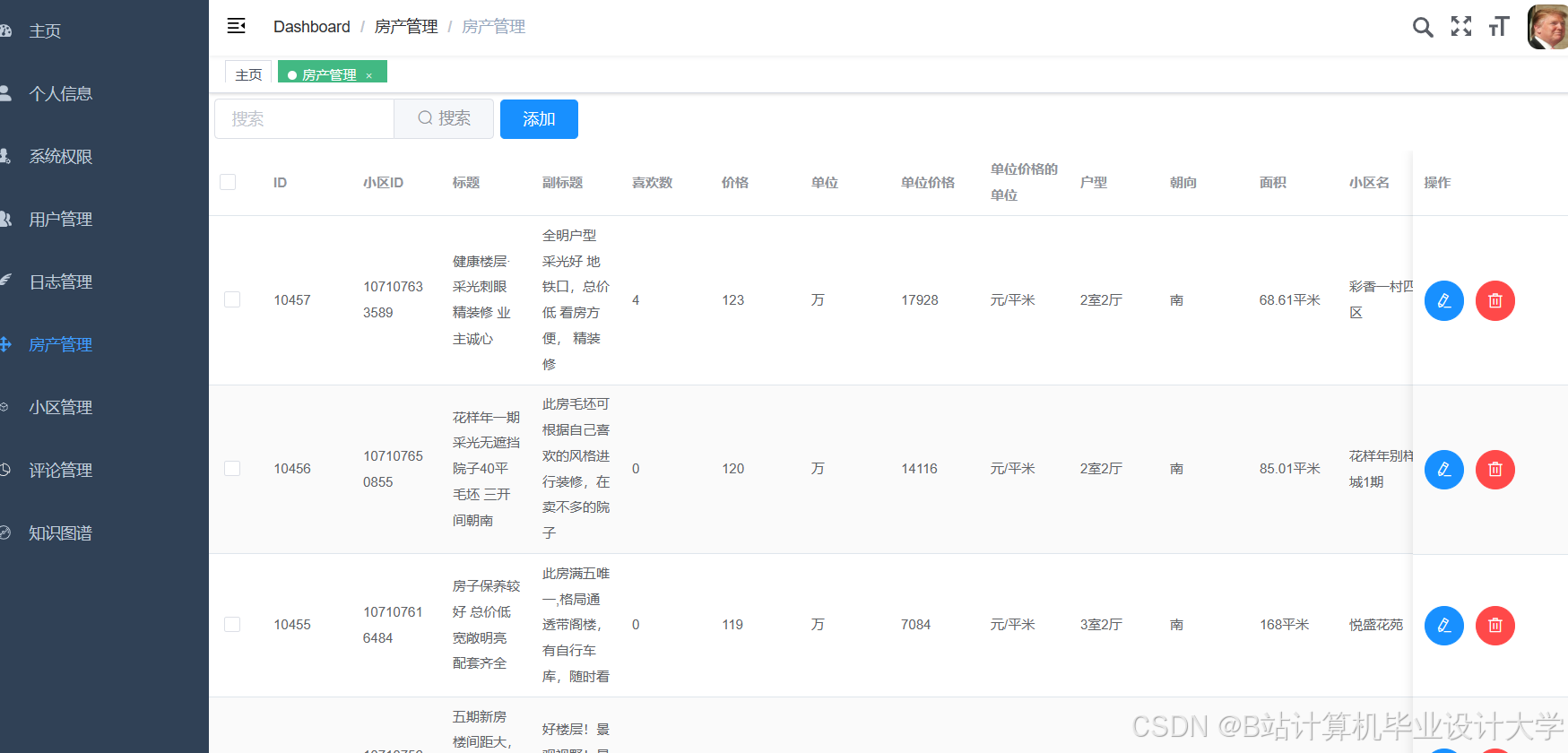
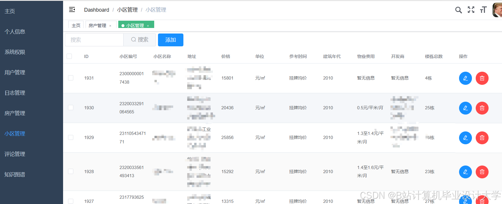
运行截图
推荐项目
上万套Java、Python、大数据、机器学习、深度学习等高级选题(源码+lw+部署文档+讲解等)
项目案例










优势
1-项目均为博主学习开发自研,适合新手入门和学习使用
2-所有源码均一手开发,不是模版!不容易跟班里人重复!

🍅✌感兴趣的可以先收藏起来,点赞关注不迷路,想学习更多项目可以查看主页,大家在毕设选题,项目代码以及论文编写等相关问题都可以给我留言咨询,希望可以帮助同学们顺利毕业!🍅✌
源码获取方式
🍅由于篇幅限制,获取完整文章或源码、代做项目的,拉到文章底部即可看到个人联系方式。🍅
点赞、收藏、关注,不迷路,下方查看👇🏻获取联系方式👇🏻



















416

被折叠的 条评论
为什么被折叠?



