温馨提示:文末有 优快云 平台官方提供的学长联系方式的名片!
温馨提示:文末有 优快云 平台官方提供的学长联系方式的名片!
温馨提示:文末有 优快云 平台官方提供的学长联系方式的名片!
信息安全/网络安全 大模型、大数据、深度学习领域中科院硕士在读,所有源码均一手开发!
感兴趣的可以先收藏起来,还有大家在毕设选题,项目以及论文编写等相关问题都可以给我留言咨询,希望帮助更多的人
介绍资料
《Hadoop+Spark房价预测系统与房源推荐系统》开题报告
一、选题背景与意义
(一)选题背景
随着房地产市场的蓬勃发展,房产信息呈现出爆炸式增长。消费者在面对海量的房源信息时,往往难以快速准确地找到符合自己需求和预算的房源。同时,对于房地产企业和投资者而言,准确预测房价走势,以便制定合理的销售策略和投资决策,也变得至关重要。
Hadoop作为大数据处理领域的开源框架,具有高容错性、高扩展性和低成本等优点,能够高效地存储和处理海量的房产数据。Spark则以其内存计算和快速迭代的能力,在数据处理和分析方面表现出色,特别适合实时性和计算复杂度较高的应用场景。将Hadoop和Spark相结合,应用于房价预测和房源推荐系统,可以充分利用两者的优势,提高系统的性能和准确性。
(二)选题意义
- 理论意义:本研究将Hadoop和Spark技术应用于房价预测和房源推荐领域,丰富了大数据技术在房地产行业的应用研究,为相关领域的理论发展提供了实践案例和参考依据。
- 实践意义
- 为消费者提供个性化服务:房源推荐系统能够根据消费者的偏好、预算等信息,精准推荐符合其需求的房源,节省消费者的时间和精力,提高购房体验。
- 助力房地产企业决策:房价预测系统可以帮助房地产企业准确把握市场动态,合理制定房价策略,优化库存管理,提高企业的市场竞争力。
- 促进房地产市场健康发展:通过提供准确的房价预测和房源推荐信息,有助于引导市场理性消费,减少信息不对称,促进房地产市场的稳定和健康发展。
二、国内外研究现状
(一)国外研究现状
在国外,大数据技术在房地产领域的应用起步较早。一些研究机构和企业利用机器学习、深度学习等算法,结合大量的房产交易数据、宏观经济数据等,构建房价预测模型,取得了较高的预测精度。例如,Zillow公司利用其庞大的房产数据库和先进的算法模型,为消费者提供房价评估和预测服务,在市场上具有较高的影响力。同时,在房源推荐方面,国外的一些房地产平台也通过分析用户的行为数据和偏好,实现了个性化的房源推荐,提高了用户的满意度和平台的交易转化率。
(二)国内研究现状
国内对大数据在房地产领域的应用研究也逐渐增多。许多学者和企业开始关注房价预测和房源推荐问题,并尝试运用不同的技术和方法进行解决。在房价预测方面,一些研究采用了传统的统计方法和机器学习算法,如线性回归、支持向量机等,对房价进行建模和预测。在房源推荐方面,部分平台通过基于内容的推荐和协同过滤推荐等方法,为用户提供房源推荐服务。然而,目前国内的研究在数据处理规模、算法精度和系统实用性等方面还存在一定的不足,尚未形成一套成熟、高效的解决方案。
(三)发展趋势
随着大数据技术的不断发展和完善,未来房价预测和房源推荐系统将朝着更加智能化、个性化和实时化的方向发展。一方面,将融合更多的数据源,如社交媒体数据、地理位置数据等,以提高预测和推荐的准确性;另一方面,将采用更先进的算法和技术,如深度学习、强化学习等,以提升系统的性能和智能化水平。同时,Hadoop和Spark等大数据处理框架的应用也将更加广泛和深入,为系统的稳定运行和高效处理提供有力保障。
三、研究目标与内容
(一)研究目标
本研究旨在构建一个基于Hadoop和Spark的房价预测系统与房源推荐系统,具体目标如下:
- 利用Hadoop平台存储和处理海量的房产数据,包括房源信息、交易记录、宏观经济数据等,为后续的房价预测和房源推荐提供数据支持。
- 基于Spark框架,运用机器学习和深度学习算法,构建准确的房价预测模型,实现对房价的实时预测和分析。
- 设计并实现房源推荐系统,根据用户的偏好、预算等信息,为用户提供个性化的房源推荐服务,提高用户的购房体验和平台的交易转化率。
- 对系统进行性能评估和优化,确保系统在高并发、大数据量的情况下能够稳定运行,并具有较高的处理效率和准确性。
(二)研究内容
- 数据采集与预处理
- 研究房产数据的来源,包括房地产网站、政府数据平台等,设计数据采集方案,利用爬虫技术等手段获取相关数据。
- 对采集到的数据进行清洗、转换和集成,处理缺失值、异常值等问题,将数据转换为适合后续分析和建模的格式。
- Hadoop平台搭建与数据存储
- 搭建Hadoop分布式集群,包括HDFS、YARN等组件的安装和配置,确保集群的稳定性和高可用性。
- 将预处理后的房产数据存储到HDFS中,设计合理的数据存储结构,以便后续的高效查询和处理。
- 房价预测模型构建
- 研究常用的房价预测算法,如线性回归、决策树、神经网络等,分析其优缺点。
- 基于Spark框架,实现所选的房价预测算法,利用历史房产数据进行模型训练和参数优化,构建准确的房价预测模型。
- 对房价预测模型进行评估和验证,采用交叉验证、均方误差等指标评估模型的性能,根据评估结果对模型进行调整和改进。
- 房源推荐系统设计
- 分析用户的需求和偏好,提取影响房源推荐的关键因素,如地理位置、价格、户型等。
- 设计房源推荐算法,结合基于内容的推荐和协同过滤推荐等方法,实现个性化的房源推荐。
- 利用Spark的实时计算能力,实现房源推荐的实时更新,当用户的行为数据或房源信息发生变化时,能够及时调整推荐结果。
- 系统实现与性能优化
- 基于Hadoop和Spark平台,实现房价预测系统与房源推荐系统的整体架构,包括数据采集层、数据处理层、模型训练层和应用服务层等。
- 对系统进行性能测试和优化,采用缓存技术、并行计算等手段,提高系统的响应速度和处理能力,确保系统在高并发情况下能够稳定运行。
四、研究方法与技术路线
(一)研究方法
- 文献研究法:查阅国内外相关的文献资料,了解房价预测和房源推荐系统的研究现状和发展趋势,为课题的研究提供理论支持。
- 实验研究法:通过实际的数据采集和模型训练,对所提出的房价预测算法和房源推荐算法进行实验验证,评估算法的性能和准确性。
- 系统开发法:采用Hadoop和Spark等大数据处理框架,结合Java、Python等编程语言,实现房价预测系统与房源推荐系统的开发,并进行系统的测试和优化。
(二)技术路线
- 数据采集与预处理阶段:使用Python的Scrapy框架编写爬虫程序,从房地产网站和政府数据平台采集房产数据;利用Pandas、NumPy等库对数据进行清洗、转换和集成。
- Hadoop平台搭建与数据存储阶段:在Linux服务器上安装和配置Hadoop集群,包括HDFS、YARN等组件;将预处理后的数据存储到HDFS中,采用Hive或HBase进行数据管理。
- 房价预测模型构建阶段:基于Spark MLlib库,实现线性回归、决策树、神经网络等房价预测算法;使用历史房产数据进行模型训练,通过交叉验证等方法优化模型参数。
- 房源推荐系统设计阶段:分析用户行为数据和房源信息,提取推荐特征;采用基于内容的推荐和协同过滤推荐相结合的方法,设计房源推荐算法;利用Spark Streaming实现实时推荐。
- 系统实现与性能优化阶段:使用Spring Boot框架搭建系统的应用服务层,与Hadoop和Spark集群进行交互;采用Redis缓存技术、多线程并行计算等方法对系统进行性能优化。
五、预期成果与创新点
(一)预期成果
- 完成一个基于Hadoop和Spark的房价预测系统与房源推荐系统的开发,系统具备数据采集、存储、处理、模型训练和推荐服务等功能。
- 形成一套完整的房价预测算法和房源推荐算法,通过实验验证,算法具有较高的准确性和实用性。
- 发表相关学术论文[X]篇,申请软件著作权[X]项。
(二)创新点
- 技术融合创新:将Hadoop和Spark两大大数据处理框架相结合,充分发挥Hadoop在数据存储和处理方面的优势以及Spark在内存计算和快速迭代方面的能力,提高了系统的性能和效率。
- 算法优化创新:在房价预测算法方面,尝试融合多种机器学习和深度学习算法,通过特征工程和模型集成等方法,提高预测的准确性;在房源推荐算法方面,结合基于内容的推荐和协同过滤推荐,引入实时用户行为数据,实现更加个性化的推荐。
- 系统架构创新:设计了一套基于微服务架构的房价预测系统与房源推荐系统,各个模块之间解耦,便于系统的扩展和维护,提高了系统的可扩展性和稳定性。
六、研究计划与进度安排
(一)研究计划
- 第1 - 2个月:查阅相关文献资料,确定研究课题和技术方案,完成开题报告。
- 第3 - 4个月:搭建Hadoop和Spark集群环境,进行数据采集和预处理工作。
- 第5 - 6个月:开展房价预测模型的研究和构建,进行模型训练和评估。
- 第7 - 8个月:设计房源推荐系统算法,实现房源推荐功能,并进行系统集成和测试。
- 第9 - 10个月:对系统进行性能优化和改进,撰写论文和软件著作权申请材料。
- 第11 - 12个月:完成论文的修改和完善,准备答辩材料,进行项目验收和答辩。
(二)进度安排
| 时间阶段 | 主要任务 |
|---|---|
| 第1 - 2周 | 确定选题,查阅文献,撰写开题报告初稿 |
| 第3 - 4周 | 与导师沟通,修改开题报告,完成开题答辩 |
| 第5 - 8周 | 搭建Hadoop和Spark集群环境,配置相关参数 |
| 第9 - 12周 | 设计数据采集方案,编写爬虫程序,采集房产数据 |
| 第13 - 16周 | 对采集到的数据进行清洗、转换和集成,存储到HDFS中 |
| 第17 - 20周 | 研究房价预测算法,基于Spark实现算法,进行模型训练 |
| 第21 - 24周 | 评估房价预测模型性能,优化模型参数 |
| 第25 - 28周 | 分析用户需求和房源信息,设计房源推荐算法 |
| 第29 - 32周 | 利用Spark Streaming实现实时房源推荐,进行系统集成 |
| 第33 - 36周 | 对系统进行性能测试,采用缓存技术、并行计算等手段优化系统 |
| 第37 - 40周 | 撰写论文初稿,整理软件著作权申请材料 |
| 第41 - 44周 | 根据导师意见修改论文,完善软件著作权申请材料 |
| 第45 - 48周 | 准备答辩材料,进行项目验收和答辩 |
七、参考文献
[此处列出在开题报告撰写过程中参考的主要文献,按照学术规范进行排版,例如:]
[1] 李航. 统计学习方法[M]. 北京: 清华大学出版社, 2012.
[2] 周志华. 机器学习[M]. 北京: 清华大学出版社, 2016.
[3] Dean J, Ghemawat S. MapReduce: Simplified data processing on large clusters[J]. Communications of the ACM, 2008, 51(1): 107 - 113.
[4] Zaharia M, Chowdhury M, Franklin M J, et al. Spark: Cluster computing with working sets[C]//HotCloud'10. 2010: 10 - 10.
[5] [作者姓名]. [论文题目][J]. [期刊名称], [发表年份], 卷号: [起止页码].
[6] [作者姓名]. [著作名称][M]. [出版地]: [出版社], [出版年份].
以上开题报告仅供参考,你可以根据实际研究情况进行调整和完善。在研究过程中,还需要不断关注相关领域的最新研究成果和技术发展,以确保课题的研究具有创新性和实用性。
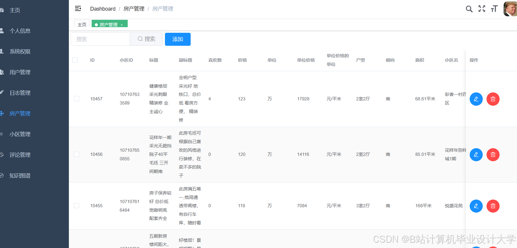
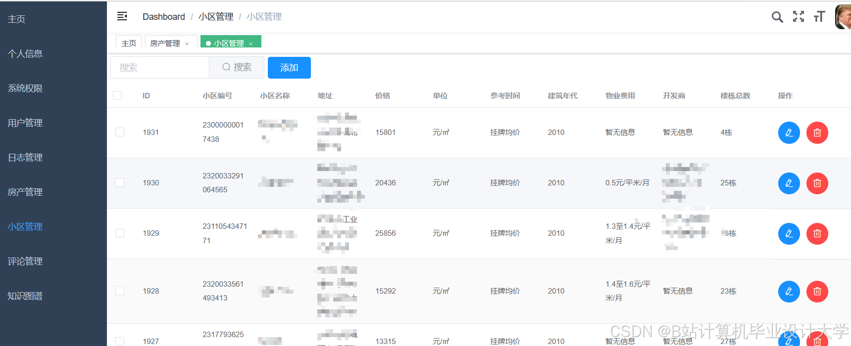
运行截图
推荐项目
上万套Java、Python、大数据、机器学习、深度学习等高级选题(源码+lw+部署文档+讲解等)
项目案例










优势
1-项目均为博主学习开发自研,适合新手入门和学习使用
2-所有源码均一手开发,不是模版!不容易跟班里人重复!

🍅✌感兴趣的可以先收藏起来,点赞关注不迷路,想学习更多项目可以查看主页,大家在毕设选题,项目代码以及论文编写等相关问题都可以给我留言咨询,希望可以帮助同学们顺利毕业!🍅✌
源码获取方式
🍅由于篇幅限制,获取完整文章或源码、代做项目的,拉到文章底部即可看到个人联系方式。🍅
点赞、收藏、关注,不迷路,下方查看👇🏻获取联系方式👇🏻



















414

被折叠的 条评论
为什么被折叠?



