Java版工程项目管理系统 Spring Cloud+Spring Boot+Mybatis+Vue+ElementUI+前后端分离
功能清单如下:
首页
工作台:待办工作、消息通知、预警信息,点击可进入相应的列表
项目进度图表:选择(总体或单个)项目显示1、项目进度图表 2、项目信息
施工地图:1、展示当前角色权限下能看到的施工地图(地图坐标)。2、点击坐标点出现项目基本信息。3、项目施工地图项目展示基本信息、进度项目地址等。
系统管理
数据字典:数据字典的新增、编辑、删除、查询、查看列表。
编码管理:编码的新增、编辑、删除、查询。
用户管理:用户的查询、授予。
菜单管理:菜单按钮的新增、编辑、删除、增加子菜单。
角色管理:查询、新增、编辑、分配用户、分配权限、删除。
系统消息:查询、查看消息状态、查看消息详情
系统设置
项目前期模板设置:新增、删除、编辑、添加行、添加子项等功能。
项目权限管理:查询项目信息、为用户分配项目数据权限。
资源管理:新增、删除、编辑、添加行、添加子项、资源类型配置等功能。
考核指标管理:查询、新增、修改、删除、配置考核指标权重。
预警指标管理:查询、新增、修改、删除、配置预警等级和阈值单位等信息。
模板管理:模板的新增、编辑、删除、计划模板的wbs和任务信息维护
项目管理
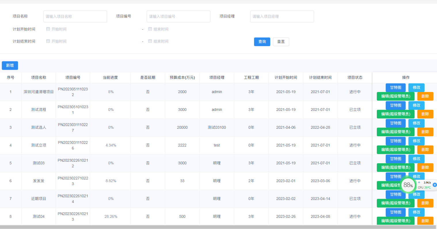
项目列表:项目的新增、编辑、删除、导出、终止、查询、项目指引的编辑删除、文件的存档、提审等功能。
项目计划管理:计划的查询、新增、编辑、删除、甘特图保存为基线、设置为模板、任务时间及顺序调整、全局资源配置、引用系统模板、导入project文件、导出XML文件等功能。
进度上报管理:单任务上报、批量上报、显示列表已更改数据、查看进度上报记录、任务查询等功能
合同管理
项目合同:合同的新增、编辑、删除、导出、查询。标记为问题合同、创建合同的付款节点并关联任务等功能。
问题合同:问题合同的查询、查看问题合同处理详情。
合同收付款:合同收付款记录新增、编辑、删除、查询。
资金计划:资金计划的新增、查询、编辑、删除、导出。
项目考核:考核的新增、进度考核单体权重的计算、考核人的分配(可分配多个考核人)
删除、考核的编辑、查看考核详情、考核分数计算。
奖惩管理:奖惩的新增、查看详情、编辑、删除等功能
预警管理
预警管理:项目查询、为项目设置预警指标、删除预警指标、设置预警指标的阈值、设置预警通知人。
预警记录:查询、列表展示、查看消息通知内容、取消预警、查看预警详情
竣工管理
工程竣工移交:工程竣工移交的新增、查看、查询、修改、删除。
工程竣工验收:工程竣工验收的查询、新增、编辑、查看、删除、附件上传、验收异常填写异常信息、选择整改部门和责任人等功能
质量管理
中间验收:中间验收的新增、查看、查询、修改、删除。
质量检查:质量检查的查询、新增、编辑、查看、删除、附件上传、验收异常填写异常信息、选择整改部门和责任人等功能。
隐患整改:隐患整改的查询、整改单查看、回复单查看、详情、单据打印
统计报表
项目汇总:项目查询、统计项目计划进度、实际进度、计算预计完成时间等信息。
进度报表:统计项目计划进度、实际进度、资源使用、并且已不同的时间范围计算项目的计划进度并与实际进度形成对比。
收支报表:以时间的维度统计所有项目的收支、以项目维度统计项目的收支。
利润报表:统计所有项目的利润信息、并且通过时间维度和项目维度区分利润情况。
差异报表:项目的查询、项目的实际进度和基线的对比、基线与基线的对比。
每周报表:项目查询、周边的新增、查看周报的详情等功能
工作台
我的待办:待办列表、待办的处理、待办的指派、已办的列表、已办详情。
我的消息:未读消息列表、已读消息列表、未读详情展示、已读消息详情展示



3696

被折叠的 条评论
为什么被折叠?



