工程项目管理涉及众多环节和角色,如何实现高效协同和信息共享是关键。本文将介绍一个采用先进技术框架的Java版工程项目管理系统,该系统支持前后端分离,功能全面,可满足不同角色的需求。从项目进度图表到施工地图,再到系统管理和统计报表,该系统为工程项目管理带来了诸多便利。
工程项目各模块及其功能点清单
一、系统管理
1、数据字典:实现对数据字典标签的增删改查操作
2、编码管理:实现对系统编码的增删改查操作
3、用户管理:管理和查看用户角色
4、菜单管理:实现对系统菜单的增删改查操作
5、角色管理:管理和查看用户角色的权限
6、系统消息:查看系统消息
二、系统设置
1、项目前期模板设置:实现对项目前期模板文档的增删改查操作
2、项目权限管理:管理各项目的成员名单
3、资源管理:实现对资源清单的增删改查操作
4、考核指标:实现对考核指标的增删改查操作
5、预警指标:实现对预警指标的增删改查操作
6、模板管理:实现对模板的增删改查操作
7、提醒消息模板:实现对提醒消息模板的增删改查操作
三、项目管理
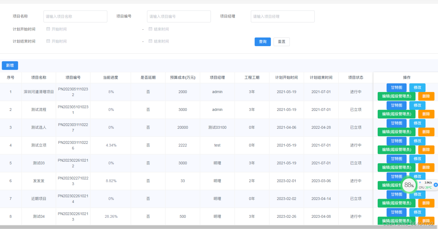
1、项目列表:实现对项目列表的增删改查操作,包括查看各项目的立项人、创建时间、
项目经理、计划开始时间、计划结束时间等信息,可以进行终止和导出操作
2、项目计划管理:项目计划查看和管理模块,可执行增删改查操作,包括查看甘特图
3、进度上报管理:项目进度上报模块,可上报任务或任务步骤进度
4、形象进度:形象进度管理
5、指引:项目指引详情
四、合同管理
1、项目合同:项目合同详情查询和展示页面
2、问题合同:问题合同详情查询和展示页面
3、合同收付款:合同收付款详情查询和展示页面
4、资金计划:实现各项目资金计划的详情查看及其增删改和导出操作
5、项目考核:项目考核详情查看页面
6、奖惩管理:奖惩查看管理页面
五、预警管理
1、预警管理:预警管理和信息查看页面,可以执行设置预警指标操作
2、预警记录:预警记录管理
六、竣工管理
1、工程竣工移交:工程竣工移交管理
2、工程竣工验收:工程竣工验收管理
七、质量管理
1、中间验收:中间验收记录管理
2、质量检查:质量检查记录管理
3、隐患整改:隐患整改记录管理
八、统计报表
1、项目汇总:项目汇总信息查看,包括进度、计划时间等信息
2、进度报表:项目进度报表,包括计划时间和已用资源等信息
3、收支报表:项目收支报表,包含总体收支、项目收支和收支统计模块
4、资金计划报表:资金计划详情展示
5、资金计划统计:资金计划统计模块,提供信息导出功能
6、差异报表:项目差异报表,进入详情界面可执行基线对比
7、每周报表:项目每周报表
九、工作台
1、我的待办:我的待办和已办工作
2、我的消息:我的消息清单,包含未读信息和已读信息
前端架构:VUE、Uniapp、Layui、Bootstrap、H5、CSS3
涉及技术:Eureka、Config、Zuul、OAuth2、Security、OSS、Turbine、Zipkin、Feign、Monitor、Stream、ElasticSearch等
该工程项目管理系统采用先进的技术框架和设计模式,构建了一个功能强大的工程项目管理系统。该系统涵盖了多个方面,包括项目管理、合同管理、预警管理、竣工管理、质量管理等,通过数据字典、编码管理、用户管理、菜单管理等功能实现了系统的全面管理和设置。同时,系统还提供了丰富的统计报表和差异报表,方便用户进行数据分析和决策。该系统的建立将有助于提高工程管理效率、减轻劳动强度、提高信息处理速度和准确性,为企业数字化转型和提升竞争力提供了有力支持。

java 企业工程管理系统软件源码 自主研发 工程行业适用
本文介绍了采用先进技术框架的Java工程项目管理系统,涵盖项目管理、合同管理等多个模块,强调了前后端分离、全面功能和信息共享,旨在提升工程管理效率和企业竞争力。

被折叠的 条评论
为什么被折叠?



