温度传感器-单总线

DS18B20

一、初始化复位脉冲的作用

  • 总线同步:复位脉冲是主机和DS18B20通信的起始信号,用于检测传感器在线并同步时序
  • 强制传感器响应:传感器收到复位脉冲后,会拉低总线60~240us作为应答信号,确认来通信链路正常
    二、温度读取的标准流程
    1.启动温度转换前复位

LM50

检测引脚电平,电压值和温度值成线性关系
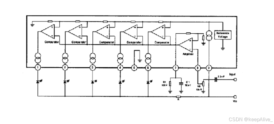
可以用adc检测,也可以用LA2284L-G09-T
LA2284L-G09-T
分段式输出
在这里插入图片描述

NTC

评论
成就一亿技术人!
拼手气红包6.0元
还能输入1000个字符
 
红包 添加红包
表情包 插入表情
 条评论被折叠 查看
添加红包

请填写红包祝福语或标题

红包个数最小为10个

红包金额最低5元

当前余额3.43前往充值 >
需支付:10.00
成就一亿技术人!
领取后你会自动成为博主和红包主的粉丝 规则
hope_wisdom
发出的红包
实付
使用余额支付
点击重新获取
扫码支付
钱包余额 0

抵扣说明:

1.余额是钱包充值的虚拟货币,按照1:1的比例进行支付金额的抵扣。
2.余额无法直接购买下载,可以购买VIP、付费专栏及课程。

余额充值