大数据模块开发----数据仓库设计
1. 维度建模基本概念
维度建模(dimensional modeling)是专门用于分析型数据库、数据仓库、数据集市建模的方法。数据集市可以理解为是一种"小型数据仓库"。
1.1、维度表(dimension)
维度表示你要对数据进行分析时所用的一个量,比如你要分析产品销售情况, 你可以选择按类别来进行分析,或按区域来分析。这样的按..分析就构成一个维度。再比如"昨天下午我在星巴克花费200元喝了一杯卡布奇诺"。那么以消费为主题进行分析,可从这段信息中提取三个维度:时间维度(昨天下午),地点维度(星巴克), 商品维度(卡布奇诺)。通常来说维度表信息比较固定,且数据量小。
1.2、事实表(fact table)
表示对分析主题的度量。事实表包含了与各维度表相关联的外键,并通过JOIN方式与维度表关联。事实表的度量通常是数值类型,且记录数会不断增加,表规模迅速增长。比如上面的消费例子,它的消费事实表结构示例如下:
消费事实表:Prod_id(引用商品维度表), TimeKey(引用时间维度表), Place_id(引用地点维度表), Unit(销售量)。
总的说来,在数据仓库中不需要严格遵守规范化设计原则。因为数据仓库的主导功能就是面向分析,以查询为主,不涉及数据更新操作。事实表的设计是以能够正确记录历史信息为准则,维度表的设计是以能够以合适的角度来聚合主题内容为准则。
2. 维度建模三种模式
2.1. 星型模式
星形模式(Star Schema)是最常用的维度建模方式。星型模式是以事实表为中心,所有的维度表直接连接在事实表上,像星星一样。
星形模式的维度建模由一个事实表和一组维表成,且具有以下特点:
a. 维表只和事实表关联,维表之间没有关联;
b. 每个维表主键为单列,且该主键放置在事实表中,作为两边连接的外键;
c. 以事实表为核心,维表围绕核心呈星形分布;
2.2. 雪花模式
雪花模式(Snowflake Schema)是对星形模式的扩展。雪花模式的维度表可以拥有其他维度表的,虽然这种模型相比星型更规范一些,但是由于这种模型不太容易理解,维护成本比较高,而且性能方面需要关联多层维表,性能也比星型模型要低。所以一般不是很常用。
2.3. 星座模式
星座模式是星型模式延伸而来,星型模式是基于一张事实表的,而星座模式是基于多张事实表的,而且共享维度信息。
前面介绍的两种维度建模方法都是多维表对应单事实表,但在很多时候维度空间内的事实表不止一个,而一个维表也可能被多个事实表用到。在业务发展后期,绝大部分维度建模都采用的是星座模式。
3. 本项目中数据仓库的设计
注:采用星型模型
3.1. 事实表设计
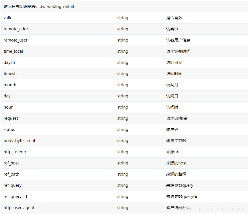
原始数据表: ods_weblog_origin =>对应mr清洗完之后的数据



注意:
维度表的数据一般要结合业务情况自己写脚本按照规则生成,也可以使用工具生成,方便后续的关联分析。
比如一般会事前生成时间维度表中的数据,跨度从业务需要的日期到当前日期即可.具体根据你的分析粒度,可以生成年,季,月,周,天,时等相关信息,用于分析。
原文:https://blog.youkuaiyun.com/qq_40208605/article/details/83145634
本文围绕大数据模块的数据仓库设计展开。介绍了维度建模基本概念,包括维度表和事实表;阐述了维度建模的三种模式,即星型模式、雪花模式和星座模式;最后说明了本项目采用星型模型进行数据仓库设计,包括事实表设计及维度表数据生成方式。
7007

被折叠的 条评论
为什么被折叠?



