目录
1.进程创建
1.1 fork函数初识
在linux中fork函数是非常重要的函数,它从已存在进程中创建一个新进程。新进程为子进程,而原进程为父进程。
1.1.1 pid_t fork(void);
#include <unistd.h>
pid_t fork(void);
//返回值:自进程中返回0,父进程返回子进程id,出错返回-1
- 功能:通过复制父进程创建一个新的进程(子进程)
- 参数:无
- 返回值:对于父进程返回子进程的pid,对于子进程返回0,失败返回-1
- 特点:父子进程之间数据独有
- 写实拷贝技术:先指向同一块物理内存,当物理内存数据发送改变的时候给子进程重新开辟空间(代码段是只读)
进程调用fork,当控制转移到内核中的fork代码后,内核做:
(1)分配新的内存块和内核数据结构给子进程
(2)将父进程部分数据结构内容拷贝至子进程
(3)添加子进程到系统进程列表当中
(4)fork返回,开始调度器调度
当一个进程调用fork之后,就有两个二进制代码相同的进程。而且它们都运行到相同的地方。但每个进程都将可以
开始它们自己的旅程,看如下程序。
int main( void )
{
pid_t pid;
printf("Before: pid is %d\n", getpid());
if ( (pid=fork()) == -1 )perror("fork()"),exit(1);
printf("After:pid is %d, fork return %d\n", getpid(), pid);
sleep(1);
return 0;
}
运行结果:
[root@localhost linux]# ./a.out
Before: pid is 43676
After:pid is 43676, fork return 43677
After:pid is 43677, fork return 0
这里看到了三行输出,一行before,两行after。进程43676先打印before消息,然后它有打印after。另一个after
消息有43677打印的。注意到进程43677没有打印before,为什么呢?如下图所示

所以,fork之前父进程独立执行,fork之后,父子两个执行流分别执行。注意,fork之后,谁先执行完全由调度器
决定。
1.1.2 fork函数返回值
- 子进程返回0
- 父进程返回的是子进程的pid。
- 写时拷贝
通常,父子代码共享,父子再不写入时,数据也是共享的,当任意一方试图写入,便以写时拷贝的方式各自一份副本。具体见下图:

- fork常规用法
一个父进程希望复制自己,使父子进程同时执行不同的代码段。例如,父进程等待客户端请求,生成子进程来处理请求。
一个进程要执行一个不同的程序。例如子进程从fork返回后,调用exec函数。 - fork调用失败的原因
系统中有太多的进程
实际用户的进程数超过了限制
1.2 pid_t vfork(void);
#include <unistd.h>
pid_t vfork(void);
- 功能:通过复制父进程创建一个新的进程(但是父子进程共用一个虚拟地址空间)
- 特性:vfork创建子进程之后,父进程会阻塞,直到进程exit退出,或者程序替换之后才会开始运行。
父进程阻塞直到子进程退出或者程序替换后才会运行
- 特点:父子进程共用一个虚拟地址空间,如果同时运行会造成调用栈混乱。
2. 进程终止
2.1 进程退出场景
- 代码运行完毕,结果正确
- 代码运行完毕,结果不正确
- 代码异常终止
2.2 进程常见退出方法
正常终止(可以通过echo $? 查看进程退出码):
- 从main返回
- 调用exit
- _exit
异常退出:
- ctrl + c,信号终止




#include <stdio.h>
#include<unistd.h>
int main()
{
while(1)
{
printf("hello linux\n");
sleep(1);
}
return 0;
}
mam手册 man 1-命令 2-系统调用接口 3-库函数
- 在main函数中return(return只有在main函数中才是退出程序的运行)
- 库函数:void exit(int status);可以在任意位置调用,退出程序的运行(/stdlib.h)
- 系统调用接口: void _exit(int status):可以在任意位置调用,退出程序的运行(unistd.h)
库函数和exit 和_exit的区别就在于:退出程序前是否会刷新缓存区
exit与return在退出程序前都会刷新缓冲区,将还没有写入文件的数据写入到文件中._exit调用直接退出,不会刷新缓冲区,而是直接释放资源(有可能存在缓冲区中的数据丢失)
return后边的数字和exit的参数status的作用:设置进程的退出码
退出码只保留低8位(我们设置进程退出码尽量保持在0~255之间)
2.2.1 _exit函数
_exit函数
#include <unistd.h>
void _exit(int status);
参数:status 定义了进程的终止状态,父进程通过wait来获取该值
说明:虽然status是int,但是仅有低8位可以被父进程所用。所以_exit(-1)时,在终端执行$?发现返回值是255。
2.2.2exit函数
#include <unistd.h>
void exit(int status);
exit最后也会调用exit, 但在调用exit之前,还做了其他工作:
- 执行用户通过 atexit或on_exit定义的清理函数。
- 关闭所有打开的流,所有的缓存数据均被写入
- 调用_exit

- 实例:
int main()
{
printf("hello");
exit(0);
}
运行结果:
[root@localhost linux]# ./a.out
hello[root@localhost linux]#
int main()
{
printf("hello");
_exit(0);
}
运行结果:
[root@localhost linux]# ./a.out
[root@localhost linux]#
2.2.3 return退出
return是一种更常见的退出进程方法。执行return n等同于执行exit(n),因为调用main的运行时函数会将main的返回值当做 exit的参数。
3.进程等待
- 进程等待是什么?
通过系统调用wait/waitpid,来进行对子进程进行状态检测与回收的功能! - 为什么要进程等待?
(1)僵尸进程无法被杀死,需要通过进程等待来杀掉它,进而解决内存泄漏问题— 必须解决的
(2)我们要通过进程等待,获得子进程的退出情况 – 知道我布置给子进程的任务,它完成的怎么样了 - 要么关心,也可能不关心——可选的 - 怎么办,如何实现进程等待?
代码:
父进程通过调用wait/waitpid进行僵尸进程的回收问题!
进程等待的必要性
之前讲过,子进程退出,父进程如果不管不顾,就可能造成‘僵尸进程’的问题,进而造成内存泄漏。
另外,进程一旦变成僵尸状态,那就刀枪不入,“杀人不眨眼”的kill -9 也无能为力,因为谁也没有办法杀死一个已经死去的进程。
最后,父进程派给子进程的任务完成的如何,我们需要知道。如,子进程运行完成,结果对还是不对,或者是否正常退出。
父进程通过进程等待的方式,回收子进程资源,获取子进程退出信息
3.1 进程等待的方法
3.1.1 wait方法
#include<sys/types.h>
#include<sys/wait.h>
pid_t wait(int*status);
返回值:
成功返回被等待进程pid,失败返回-1。
参数:
输出型参数,获取子进程退出状态,不关心则可以设置成为NULL
- int wait(int* status)
- 功能:阻塞等待任意一个子进程的退出。(意味着如果当前有子进程且都没有退出就会阻塞进程一直等待。)
阻塞等待:为了完成一个功能,我们发起了一个调用,如果功能不能立即完成则一直等待 - 参数: int * status 一个int整形空间的地址,用于存放退出码。
- 返回值:成功则返回退出的子进程的pid,失败返回-1(比如没有子进程)
3.1.2 waitpid方法
pid_ t waitpid(pid_t pid, int *status, int options);
返回值:
当正常返回的时候waitpid返回收集到的子进程的进程ID;
如果设置了选项WNOHANG,而调用中waitpid发现没有已退出的子进程可收集,则返回0;
如果调用中出错,则返回-1,这时errno会被设置成相应的值以指示错误所在;
参数:
pid:
Pid=-1,等待任一个子进程。与wait等效。
Pid>0.等待其进程ID与pid相等的子进程。
status:
WIFEXITED(status): 若为正常终止子进程返回的状态,则为真。(查看进程是否是正常退出)
WEXITSTATUS(status): 若WIFEXITED非零,提取子进程退出码。(查看进程的退出码)
options:
WNOHANG: 若pid指定的子进程没有结束,则waitpid()函数返回0,不予以等待。若正常结束,则返回该子进
程的ID。
-
int waitpid(pid_t pid, int* status, int option);
-
功能:等待一个子进程退出,但是可以等待指定的子进程,以及可以进程非阻塞等待。
非阻塞等待:为了完成一个功能,我们发起了一个调用,如果功能不能立即完成则接口立即报错返回。 -
参数:
pid_t pid ——用于指定等待子进程的pid,如果为-1则表示等待任意一个子进程。
int* status——整形空间地址,用于获取退出码
int option——设置阻塞标志,0-表示阻塞等待;WNOHANG-表示非阻塞等待 -
返回值:大于0表示处理的退出子进程的pid;等于0表示当前没有子进程退出(适用于非阻塞等待);返回值小于0表示出错了,
-
代码演示:


结果:

3.1.3 实现流程
-
如果子进程已经退出,调用wait/waitpid时,wait/waitpid会立即返回,并且释放资源,获得子进程退出信息。
-
如果在任意时刻调用wait/waitpid,子进程存在且正常运行,则进程可能阻塞。
-
如果不存在该子进程,则立即出错返回。

3.1.4 获取子进程status
- wait和waitpid,都有一个status参数,该参数是一个输出型参数,由操作系统填充。
- 如果传递NULL,表示不关心子进程的退出状态信息。
- 否则,操作系统会根据该参数,将子进程的退出信息反馈给父进程。
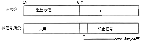
- status不能简单的当作整形来看待,可以当作位图来看待,具体细节如下图(只研究status低16比特位):

4. 程序替换
- 程序替换定义:
一个进程正在调度管理的程序。通常很少替换当前进程调度的程序,而是创建子进程之后。替换子进程所运行的程序。 - 替换原理:
用fork创建子进程后执行的是和父进程相同的程序(但有可能执行不同的代码分支),子进程往往要调用一种exec函数以执行另一个程序。当进程调用一种exec函数时,该进程的用户空间代码和数据完全被新程序替换,从新程序的启动例程开始执行。调用exec并不创建新进程,所以调用exec前后该进程的id并未改变。

- 替换函数1
输入: man execl 得到下图

其中 extern char **environ;(是一个全局变量的声明,是一个二级指针,这个全局变量中保存了所有的环境变量)
4.函数:int execve(const char *path, char *const argv[], char *const envp[]);
path:要替换的新程序的路径名;
argv:传递给新程序的运行参数;
env:传递给新的程序的环境变量,设置为environ则表示传递默认已有的环境变量,如果自定义就是给什么有什么。
返回值:失败返回-1;成功返回0
注意:程序替换函数如果替换成功,则这个函数调用之后的代码都不会被运行,因为程序已经被替换成为新程序,而新程序运行完毕之后,进程就退出了(不会返回之前的程序运行) - 替换函数:
linux下的:
(1)
#include <unistd.h>
int execl(const char *path, const char *arg, ...);
path:程序路径名;
argv…不定参:参数单个赋予,不需要组织成为指针数组,但是以NULL结尾;环境变量使用默认已有的。
(2)
int execlp(const char *filename, const char *arg, ...);
filename:程序不用给路径,只给名字就行,会自动默认到PATH环境变量指定的路径下去找。
(3)
int execle(const char *path, const char *arg, ...,char *const envp[]);
相比较(1)和(2),由自己设置环境变量。不使用默认环境变量。
注意:
有没有p(没有p则需要给程序路径名。有p则需要给名称不需要路径,但是程序必须在环境变量PATH指定的路径下,常用于命令);
有没有e(没有e则需要使用默认的环境变量,有e则需要设定环境变量)
(4)
int execv(const char *path, char *const argv[]);
程序给路径名,不需要设定环境变量使用默认。
5. 编写一个minishell
shell:命令解释器,知道用户干什么,然后执行对应的功能程序,完成用户的要求。shell功能流程:
- 捕捉键盘输入[ ls -l -a ] —— gets(char *buf):获取一行数据
- 字符串解析得到指令名称和运行参数 [ls] [-a] [-l ]
- 创建子进程(执行指令程序(程序替换),但是如果替换了当前shell为新的指令程序,则命令运行完毕,shell就没有了)
- 在子进程中进行程序替换,让子进程运行命令程序—— execvp:用数组进行存储
- 等待子进程退出,避免子进程成为僵尸进程—— wait()
- 循环上去,重新继续捕捉输入
minishell.c:



结果:


本文详细介绍了Linux中的进程创建,包括fork和vfork函数的使用,以及进程退出、等待和程序替换的概念。讲解了wait和waitpid函数在等待子进程退出中的作用,防止僵尸进程的产生。重点阐述了程序替换的原理和exec系列函数的应用,如execve、execl、execlp和execv。最后,以一个简单的minishell示例展示了如何在实际编程中实现进程管理和程序替换功能。

1314

被折叠的 条评论
为什么被折叠?



