《大学生论文管理系统》
内置功能:
1:不停角色提供不同服务(可以自定义)
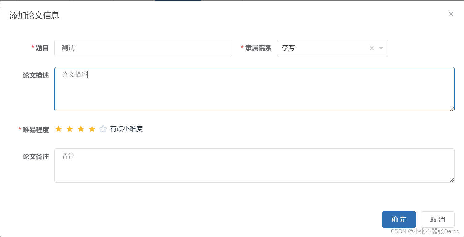
2:发布、审核、管理、导出论文
3:添加、修改、查看通知或公告
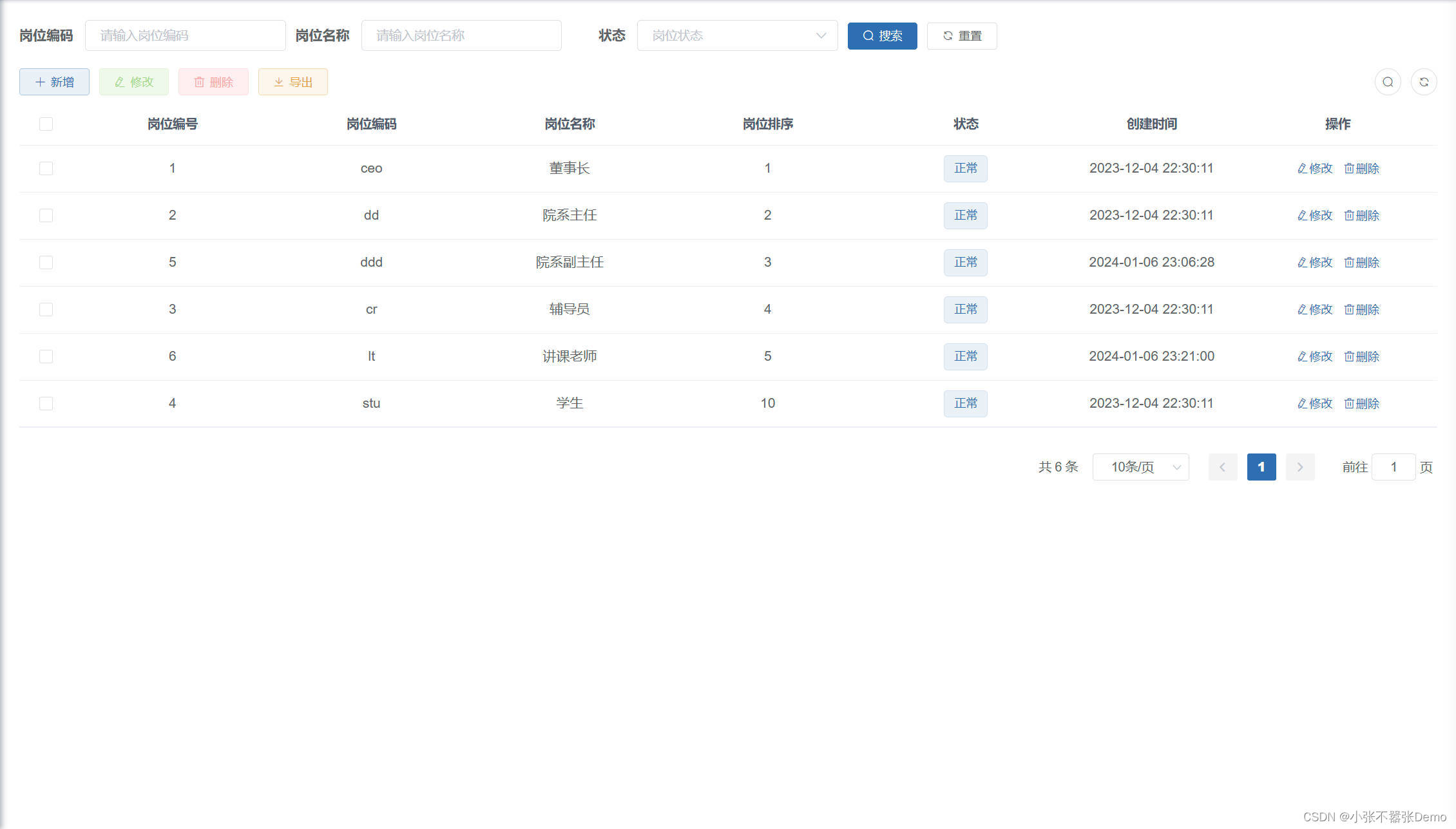
角色功能:
管理员:增删改查(用户、论文、公告、角色、时间管理)
教师:增删改查(论文、公告、时间管理)
学生:查(论文、公告、时间管理)、选论文、提交论文材料
额外功能:
内嵌了短信测试功能,就是填上手机号可以发短信,目前接入10个接口。
本人自己的论文,自己写的,可远程部署、调试、定制
项目已经部署,有需求可以提供ip访问
可以提供任务书开题报告等等一系列资料
















2427

被折叠的 条评论
为什么被折叠?



