信息系统定级
定级备案是信息安全等级保护的首要环节。信息系统定级工作应按照“自主定级、专家评审、主管部门审批、公安机关审核”的原则进行。在等级保护工作中,信息系统运营使用单位和主管部门按照“谁主管谁负责,谁运营谁负责”的原则开展工作,并接受信息安全监管部门对开展等级保护工作的监管。
总体安全规划
总体安全规划阶段的目标是根据信息系统的划分情况、信息系统的定级情况、信息系统承载业务情况,通过分析明确信息系统安全需求,设计合理的、满足等级保护要求的总体安全方案,并制定出安全实施计划,以指导后续的信息系统安全建设工程实施。对于已运营(运行)的信息系统,需求分析应当首先分析判断信息系统的安全保护现状与等级保护要求之间的差距。
安全设计与实施
安全设计与实施阶段的目标是按照信息系统安全总体方案的要求,结合信息系统安全建设项目计划,分期分步落实安全措施。
安全运行维护
安全运行与维护是等级保护实施过程中确保信息系统正常运行的必要环节,涉及的内容较多,包括安全运行与维护机构和安全运行与维护机制的建立,环境、资产、设备、介质的管理,网络、系统的管理,密码、密钥的管理,运行、变更的管理,安全状态监控和安全事件处置,安全审计和安全检查等内容。本标准并不对上述所有的管理过程进行描述,希望全面了解和控制安全运行与维护阶段各类过程的本标准使用者可以参见其它标准或指南。
信息系统终止
信息系统终止阶段是等级保护实施过程中的最后环节。当信息系统被转移、终止或废弃时,正确处理系统内的敏感信息对于确保机构信息资产的安全是至关重要的。在信息系统生命周期中,有些系统并不是真正意义上的废弃,而是改进技术或转变业务到新的信息系统,对于这些信息系统在终止处理过程中应确保信息转移、设备迁移和介质销毁等方面的安全。
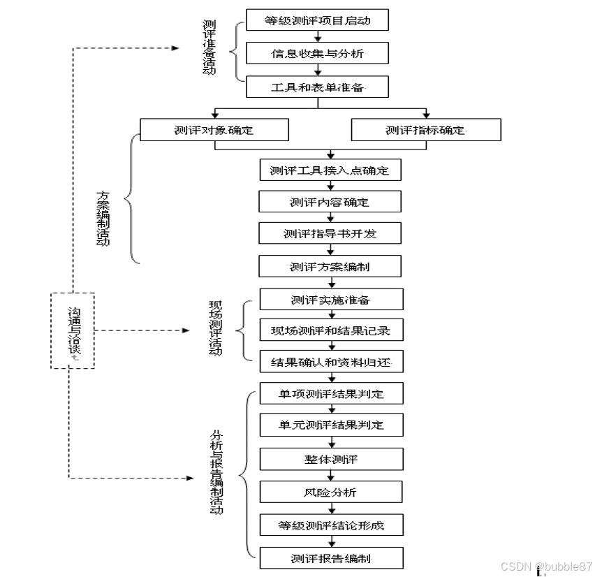
等级测评的工作流程,依据《信息系统安全等级保护测评过程指南》,具体内容参见:等保测评工作流程图

4592

被折叠的 条评论
为什么被折叠?



