1研究背景
随着计算机技术的发展以及计算机网络的逐渐普及,互联网成为人们查找信息的重要场所,二十一世纪是信息的时代,所以信息的管理显得特别重要。因此,使用计算机来管理信息化在线教学平台的相关信息成为必然。开发合适的信息化在线教学平台,可以方便管理人员对信息化在线教学平台的管理,提高信息管理工作效率及查询效率,有利于更好的为人们服务。
2相关技术
2.1 MYSQL数据库
MySQL是一个真正的多用户、多线程SQL数据库服务器。 是基于SQL的客户/服务器模式的关系数据库管理系统,它的有点有有功能强大、使用简单、管理方便、安全可靠性高、运行速度快、多线程、跨平台性、完全网络化、稳定性等,非常适用于Web站点或者其他应用软件的数据库后端的开发工作。此外,用户可利用许多语言编写访问MySQL数据库的程序。作为开放源代码运动的产物之一,MySQL关系数据库管理系统越来越受到人们的青睐,应用范围也越来越广。速度和易用性使MySQL特别适用于Web站点或应用软件的数据库后端的开发工作。
MYSQL数据库具有以下特点:
1、C和C ++中使用和测试,以确保源代码的编译器的便携性和灵活性。
2、支持多种操作系统AIX的,FreeBSD下,HP-UX,Linux和Mac OS中,Novell公司的Netware,OpenBSD系统,OS/2裹时,Solaris,Windows等。
3、提供了用于不同的编程语言的API。编程语言,如C,, C ++,Python和Java的,的Perl,PHP,埃菲尔铁塔,Ruby和Tcl的。
4、以及使用的CPU资源来支持多线程。
5、算法优化查询SQL,切实提高搜索速度。
6、网络上的客户端和服务器可以用来编程任何独立的编程环境,也有中国,GB2312,BIG5,日文写作,一般基金,用于支持多国语言,并且可以嵌入在数据表和其他软件shift_jis访问柱可以用作的名称。
7、TCP / IP,ODBC和JDBC数据库,并提供连接到其他。
8、管理工具的管理,控制和优化数据库的操作。
9、可以数以千万计的记录在一个大的数据库。
2.2 B/S结构
B/S架构是一种基于互联网系统的软件系统开发架构,是现如今在软件系统开发中采用非常大量的一种软件系统结构。现如今B/S架构已经被大量使用,打破了C/S结构的结构,给基于网络结构的软件系统提供了良好的支持。B/S架构伴随着计算机网络技术发展而逐步的发展和更新。伴随着互联网的进一步发展,就要求大多数的管理系统要求不仅仅可以在一台电脑上使用,同时可以在接入互联网的其他电脑也可以使用对系统进行操作和使用。在这样的背景下基于B/S架构的软件系统设计方法得到了越来越大量的使用,基础部分也在不断的更新。
B/S架构是利用操作系统中的浏览器来进行使用的,不是一种窗体软件系统,不需要在使用系统的电脑上进行安装。B/S架构的运行方式是在远程的服务器上把开发的软件系统部署在远程的服务器上,在部署好软件系统之后就可以实现在任何接入互联网的电脑上访问部署好的软件系统。B/S架构给使用管理系统的用户带来极大的便利。
在三层体系结构的B/S(Browser/Server,浏览器/服务器结构)系统中,用户可以通过浏览器向分布在网络上的众多服务器发出请求。B/S系统极大地简化了客户机的工作量,客户机上只需要安装、配置少量的客户端运行软件即可,服务器将担负大量的工作,对数据库的访问以及应用程序的执行都将由服务器来完成。
B/S架构的不断成熟,主要使用WWW浏览器技术,结合多种浏览器脚本语言,用通用浏览器需要实现原本复杂的专有软件来实现的强大功能,并节约了开发成本,是一种新的软件架构。B/S系统包括:表示逻辑层,控制逻辑层,数据展现层,三层是相对独立又相互关联。
2.3 Spring Boot框架简介
Spring Boot是由Pivotal团队提供的全新框架,其设计目的是用来简化新Spring应用的初始搭建以及开发过程。该框架使用了特定的方式来进行配置,从而使开发人员不再需要定义样板化的配置。通过这种方式,Spring Boot致力于在蓬勃发展的快速应用开发领域(rapid application development)成为领导者。
SpringBoot可以与经典的Java开发工具一起使用或者作为命令行工具安装。无论如何,需要JavaSDK1.6或者更高版本,本项目用到的是JDK1.8版本。
3系统分析
3.1可行性分析
通过对本信息化在线教学平台实行的目的初步调查和分析,提出可行性方案并对其一一进行论证。我们在这里主要从技术可行性、经济可行性、操作可行性等方面进行分析。
3.1.1技术可行性
本信息化在线教学平台采用Spring Boot框架,JAVA作为开发语言,是基于WEB平台的B/S架构系统。
(1)Java提供了稳定的性能、优秀的升级性、更快速的开发、更简便的管理、全新的语言以及服务。整个系统帮用户做了大部分不重要的琐碎的工作。
(2)基于B/S模式的系统的开发已发展日趋成熟。
(3)众所周知,Java是面向对象的开发语言。程序开发员可以在Eclipse平台上面方便的使用一些已知的解决方案。
因此,信息化在线教学平台在开发技术上具有很高可行性,且开发人员掌握了一定的开发技术,所以此系统的开发技术具有可行性。
3.1.2经济可行性
本信息化在线教学平台采用的软件都是开源的,这样能够削减很多的精力和资源,降低开发成本。同时对计算机的配置要求也极低,即使是淘汰下来的计算机也能够满足需要,因此,本系统在经济上是完全具有可行性的,所以在经济上是十分可行的。
3.1.3操作可行性
本信息化在线教学平台的界面简单易操作,用户只要平时有在用过电脑,都能进行访问和操作。本系统具有易操作、易管理、交互性好的特点,在操作上是非常简单的,因此在操作上具有很高的可行性。
综上所述,此系统开发目标已明确,在技术、经济和操作方面都具有很高的可行性,并且投入少、功能完善、管理方便,因此系统的开发是完全可行的。
3.2系统性能分析
3.2.1 系统安全性
此信息化在线教学平台要严格控制管理权限,具体要求如下:
(1)要想对信息化在线教学平台进行管理,首先要依靠用户名和密码在系统中登陆,无权限的用户不可以通过任何方式登录系统和对系统的任何信息和数据进行查看,这样可以保证系统的安全可靠性和准确性。
(2)在具体实现中对不同的权限进行设定,不同权限的用户在系统中登陆后,不可以越级操作。
3.2.2 数据完整性
(1)所有记录信息要保持全面,信息记录内容不可以是空。
(2)各种数据间相互联系要保持正确。
(3)相同数据在不同记录中要保持一致。
3.3系统界面分析
目前,界面设计已经成为对软件质量进行评价的一条关键指标,一个好的用户界面可以使用户使用系统的信心和兴趣增加,从而使工作效率提高,JSP技术是将JAVA语言作为脚本语言的,JSP网页给整个服务器端的JAVA库单元提供了一个接口用来服务HTTP的应用程序。创建动态页面比较方便。客户界面是指软件系统与用户交互的接口,往往涵盖输出、输入、人机对话的界面格式等。
1.输出设计
输出是由电脑对输入的基本信息进行解决,生成高质量的有效信息,并使之具有一定的格式,提供给管理者使用,这是输出设计的主要责任和目标。
系统开发的过程与实施过程相反,并不是从输入设计到输出设计,而是从输出设计到输入设计。这是由于输出表格与使用者直接相联系,设计的目的应当是确保使用者可以很方便的使用输出表格,并且可以将各部门的有用信息及时的反映出来。输出设计的准绳是既要整体琢磨不同管理层的所有需要,又要简洁,不要提供给用户不需要的信息。
2.输入设计
输入数据的收集和录入是比较麻烦的,需要非常多的人力和一定设备,而且经常出错。一旦输入系统的数据不正确,那么处理后的输出就会扩大这些错误,因此输入的数据的准确性对整个系统的性能起着决定性意义。
输入设计有以下几点原则:
1)输入量应尽量保持在能够满足处理要求的最低限度。输入量越少,错误率就会越少,数据的准备时间也越少。
2)应尽可能的使输入的准备以及输入的过程进行时比较方便,这样使错误的发生率降低。
3)应尽量早检查输入数据(尽量接近原数据发生点),以便使错误更正比较及时。
4)输入数据尽早地记录成其处理所需的形式,以防止数据由一种介质转移到另一种介质时需要转录而可能发生的错误。
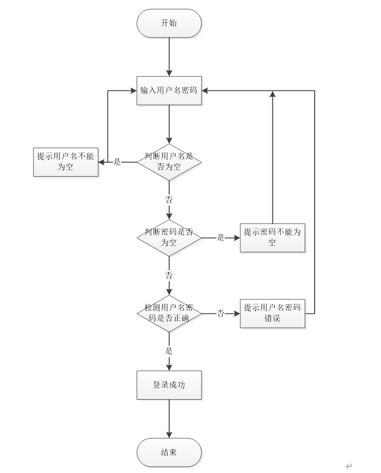
3.4系统流程和逻辑

图3-3登录流程图

图3-4修改密码流程图
4系统概要设计
4.1概述

图4-1系统工作原理图
4.2系统结构
本系统是基于B/S架构的网站系统,设计的功能结构图如下图所示:

图4-2管理员功能结构图
4.3.数据库设计
4.3.1数据库实体
概念设计的目标是设计出反映某个组织部门信息需求的数据库系统概念模式,数据库系统的概念模式独立于数据库系统的逻辑结构、独立于数据库管理系统(DBMS)、独立于计算机系统。
概念模式的设计方法是在需求分析的基础上,用概念数据模型(例如E-R模型)表示数据及数据之间的相互联系,设计出反映用户信息需求和处理需求的数据库系统概念模式。概念设计的目标是准确描述应用领域的信息模式,支持用户的各种应用,这样既容易转换为数据库系统逻辑模式,又容易为用户理解。数据库系统概念模式是面向现实世界的数据模型,不能直接用于数据库系统的实现。在此阶段,用户可以参与和评价数据库系统的设计,从而有利于保证数据库系统的设计与用户的需求相吻合。在概念模式的设计中,E-R模型法是最常见的设计方法。本系统的E-R图如下图所示:

图4.12 管理员信息实体属性图
(2)留言板信息实体属性图如图4.13所示:

图4.13 留言板信息实体属性图
(3)学校公告信息实体属性图如图4.14所示:

图4.14 学校公告信息实体属性图
4.3.2数据库设计表
信息化在线教学平台需要后台数据库,下面介绍数据库中的各个表的详细信息:
表4.1 教师
| 字段 | 类型 | 空 | 默认 | 注释 |
| id (主键) | bigint(20) | 否 | 主键 | |
| addtime | timestamp | 否 | CURRENT_TIMESTAMP | 创建时间 |
| zhanghao | varchar(200) | 否 | 账号 | |
| mima | varchar(200) | 否 | 密码 | |
| xingming | varchar(200) | 否 | 姓名 | |
| bianhao | varchar(200) | 是 | NULL | 编号 |
| xingbie | varchar(200) | 是 | NULL | 性别 |
| nianling | int(11) | 是 | NULL | 年龄 |
| shouji | varchar(200) | 是 | NULL | 手机 |
| shenfenzheng | varchar(200) | 是 | NULL | 身份证 |
| zhaopian | varchar(200) | 是 | NULL | 照片 |
表4.2 教学信息
| 字段 | 类型 | 空 | 默认 | 注释 |
| id (主键) | bigint(20) | 否 | 主键 | |
| addtime | timestamp | 否 | CURRENT_TIMESTAMP | 创建时间 |
| kechenghao | varchar(200) | 是 | NULL | 课程号 |
| kechengming | varchar(200) | 是 | NULL | 课程名 |
| kechengxiangqing | longtext | 是 | NULL | 课程详情 |
| kechengshizhang | int(11) | 是 | NULL | 课程时长 |
| jiaoshixingming | varchar(200) | 是 | NULL | 教师姓名 |
| zhaopian | varchar(200) | 是 | NULL | 照片 |
表4.3 留言板
| 字段 | 类型 | 空 | 默认 | 注释 |
| id (主键) | bigint(20) | 否 | 主键 | |
| addtime | timestamp | 否 | CURRENT_TIMESTAMP | 创建时间 |
| userid | bigint(20) | 否 | 留言人id | |
| username | varchar(200) | 是 | NULL | 用户名 |
| content | longtext | 否 | 留言内容 | |
| reply | longtext | 是 | NULL | 回复内容 |
表4. 4学校公告
| 字段 | 类型 | 空 | 默认 | 注释 |
| id (主键) | bigint(20) | 否 | 主键 | |
| addtime | timestamp | 否 | CURRENT_TIMESTAMP | 创建时间 |
| title | varchar(200) | 否 | 标题 | |
| introduction | longtext | 是 | NULL | 简介 |
| picture | varchar(200) | 否 | 图片 | |
| content | longtext | 否 | 内容 |
表4.5 管理员表
| 字段 | 类型 | 空 | 默认 | 注释 |
| id (主键) | bigint(20) | 否 | 主键 | |
| username | varchar(100) | 否 | 用户名 | |
| password | varchar(100) | 否 | 密码 | |
| role | varchar(100) | 是 | 管理员 | 角色 |
| addtime | timestamp | 否 | CURRENT_TIMESTAMP | 新增时间 |
表4.6 学生
| 字段 | 类型 | 空 | 默认 | 注释 |
| id (主键) | bigint(20) | 否 | 主键 | |
| addtime | timestamp | 否 | CURRENT_TIMESTAMP | 创建时间 |
| xuehao | varchar(200) | 否 | 学号 | |
| mima | varchar(200) | 否 | 密码 | |
| xingming | varchar(200) | 否 | 姓名 | |
| xingbie | varchar(200) | 是 | NULL | 性别 |
| nianling | int(11) | 是 | NULL | 年龄 |
| shouji | varchar(200) | 是 | NULL | 手机 |
| shenfenzheng | varchar(200) | 是 | NULL | 身份证 |
| zhaopian | varchar(200) | 是 | NULL | 照片 |
表4.7 学生成绩
| 字段 | 类型 | 空 | 默认 | 注释 |
| id (主键) | bigint(20) | 否 | 主键 | |
| addtime | timestamp | 否 | CURRENT_TIMESTAMP | 创建时间 |
| xuehao | varchar(200) | 是 | NULL | 学号 |
| xingming | varchar(200) | 是 | NULL | 姓名 |
| kemu1chengji | int(11) | 是 | NULL | 科目1成绩 |
| kemu2chengji | int(11) | 是 | NULL | 科目2成绩 |
| kemu3chengji | int(11) | 是 | NULL | 科目3成绩 |
| kemu4chengji | int(11) | 是 | NULL | 科目4成绩 |
5系统详细实现
5.1 管理员模块的实现
5.1.1 学生信息管理
信息化在线教学平台的系统管理员可以管理学生信息检,可以对学生信息信息添加修改删除以及查询操作。具体界面的展示如图5.1所示。

图5.1 学生信息管理界面
5.1.2 教师信息管理
系统管理员可以查看对教师信息信息进行添加,修改,删除以及查询操作。具体界面如图5.2所示。

图5.2 教师信息信息管理界面
5.2 教师模块的实现
5.2.1 学生成绩管理
教师可以对学生成绩信息进行修改,删除以及查询操作。界面如下图所示:

图5.3 学生成绩信息管理界面
5.2.1 留言板
老师可以对留言板信息进行回复。界面如下图所示:

图5.4 留言板管理界面
5.3 学生模块的实现
5.3.1 学生注册管理
学生注册后才可以登录。界面如下图所示:

图5.5 学生注册界面
5.3.2 留言反馈
学生登录后可以在留言反馈里面提交留言。界面如下图所示:

图5.6 留言反馈信息界面

图5.7 信息化在线教学平台首页界面
最后附下载地址:源码+毕业论文


被折叠的 条评论
为什么被折叠?



