日报君 发自 凹非寺
量子位 | 公众号 QbitAI
今天又到“疯四”,可惜日报君已经憋不出什么段子……
不如去问问聪明的ChatGPT——刚好现在连游戏用上了。

除了它,今天还有不少有意思的科技新闻,一起来看~
腾讯回应XR团队全线解散
据36氪消息,腾讯宣布正式解散XR(混合现实)团队。
多名知情人士表示,腾讯XR业务线不同部门分批收到临时代管的GM(总经理)和HR的通知,公司宣布XR全线岗位取消。
随后又据澎湃获悉,腾讯游戏XR(拓展现实)业务将变更硬件发展路径,相关业务团队进行调整。腾讯将为受影响员工提供2个月过渡期,并优先安排转岗面试和外部推荐机会。
《逆水寒》实装国内首个游戏GPT
ChatGPT技惊四座,连游戏界都赶紧搭上“顺风车”:
2月15日,网易旗下手游《逆水寒》宣布,将装上ChatGPT的同源底层AI技术,让NPC能和玩家自由生成对话——这也是国内首个游戏GPT。
《逆水寒》官方称,这样大家不用再按设定好的流程和NPC交流了,自由度极高。
据官方Demo,玩家能通过“插话”加入NPC之间的聊天。
比如两个女性NPC正在讨论和丈夫相隔万里的话题,玩家突然冒出一句:“异地恋是没有未来的”,可以让NPC瞬间破大防。【狗头】

ChatGPT版Bing翻车,网友为谷歌鸣不平
“Bing胡说八道无人在意,谷歌却因Bard的Demo翻车蒸发千亿市值”,一位独立搜索研究员Dmitri Brereton发帖感慨。

事情是这样的——
2月7日,微软官宣ChatGPT版Bing搜索引擎上线,引起轰动;两天后,谷歌发布了自家聊天机器人Bard,对标ChatGPT,结果Demo中出现多处错误,谷歌市值一夜蒸发1000亿美元。(约合人民币6851亿元)
而现在有人发现,新版Bing在Demo中也错误频出。
Dmitri吐槽称,新版Bing不仅会写错财报数据,还会推荐错误的旅游行程。
至于之前碰壁的谷歌,最近正憋着一股劲:
根据Business Insider消息,谷歌CEO桑达・皮猜(Sundar Pichai)要求所有员工,在工作日内每天花2-4个小时测试Bard。

马斯克称计划今年底找到继任者,并卸任推特CEO
据CNBC消息,当地时间2月15日,马斯克在今年的世界政府峰会上表示,计划到今年年底前找到继任者,并正式卸任推特CEO。

△图源:CNBC
他认为今年年底应该是让别人继任的好时机,并给出理由:
届时公司应该可以处于一个稳定状态。
除了在峰会上发话,马斯克还跑到自家推特发了个“狗头版推特CEO”。

自从马斯克收购Twitter后,推特内部一路经历了重重坎坷,包括大规模裁员、广告商逃离等等。
推特之外,特斯拉的投资者也不爽,他们担心马斯克可能分心。
邓明扬获美国数学竞赛第一
邓明扬又获奖了,这次是在美国数学协会举办的一项竞赛中夺魁。

这是个久负盛誉的年度数学竞赛,简称普特南(Putnam),它始于1938年,参赛者为美国和加拿大的本科生。
至于邓明扬是谁,了解奥赛圈的人应该不陌生,江湖人称他为“乖神”。
他初三NOI、CMO夺金,15岁即获得清华、北大的免试保送资格,16岁获得第60届国际数学奥林匹克(IMO)金牌。
17岁成为MIT中国大陆唯一常规录取者,18岁获得第三十三届国际信息学奥林匹克竞赛(IOI 2021)金牌,成为国内首位在不同学科获得国际金牌的选手。
高通发布新一代5G芯片
2月15日,高通宣布推出新一代调制解调器:骁龙X75 5G,这是骁龙X70(2022年推出)的后续产品。

△The Verge
总的来说,移动设备搭载骁龙X75 5G后,可以在信号不稳定的地方,比如电梯、停车场、地铁上,实现更好的连接。
高通称,部分芯片占用的物理面积减少了 25%。此外,新技术将mmWave和Sub-6放到了一块芯片上,和骁龙X70相比,能效提升20%以上。
据悉,目前骁龙 X75正在出样,商用终端预计将于 2023 年下半年发布。
微信回应“入局外卖”:只是内测接口能力
对于“微信也要入局外卖”的传闻,腾讯内部人士给出回应:
微信不是要下场做外卖,只是内测一种接口能力,让已经具备了外送服务能力的商家接进来,并非自己做。
最近,有网友发现,微信已在深圳和广州两地测试了快送服务小程序,新项目名称为“门店快送”。
据悉,在目前的测试阶段,首批开放类目包括美食、茶饮、生鲜和百货,入驻商家多为连锁品牌和新锐互联网企业,均有线下门店或前置仓。
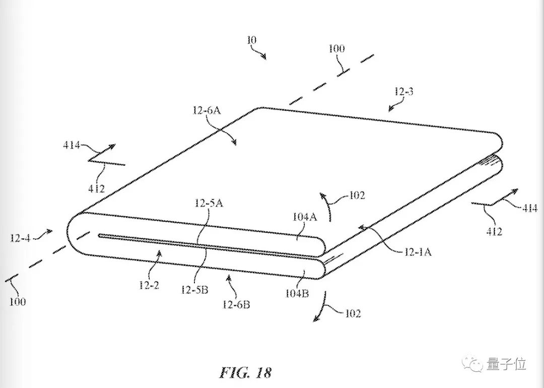
苹果获得折叠技术专利,或率先试水iPad
美国专利及商标局 ( USPTO ) 网站显示,苹果获取了一项新专利。
专利描述中,显示了一张可折叠手机或平板电脑的图纸。

另外,据此专利技术,能让设备多个部分都能触控,不单单是屏幕。比如,用户可以触摸设备侧面来控制摄像头,苹果将其描述为“虚拟快门按钮”。
市场研究公司CCS Insight和一些分析师推测,苹果可能会把此技术率先用于iPad,在2024年推出一款折叠屏平板。
除了新专利的消息外,苹果广受关注的首款MR头显,恐怕又要延期发布了。
据彭博社消息,发布时间将从今年4月推迟至6月。主编Mark Gurman表示,这是因为还有硬件和软件问题尚未解决。
— 完 —
《中国AIGC产业全景报告暨AIGC 50》调研启动
谁会是中国的“ChatGPT”?最有竞争力和潜力的AIGC力量位于何方?
量子位《中国AIGC产业全景报暨AIGC 50》正式启动对外征集,期待有更多优秀的机构、产品、案例与技术能够被大众看到。

点这里👇关注我,记得标星哦~
科技巨头动态:腾讯XR团队解散,游戏引入ChatGPT,苹果折叠屏专利曝光
腾讯宣布解散XR团队,转向硬件发展路径;《逆水寒》采用ChatGPT底层技术增强游戏对话自由度;微软Bing与谷歌Bard竞争激烈,Bing也被曝出错误;马斯克计划年底卸任推特CEO;高通发布新一代5G芯片骁龙X75;微信测试外卖接口,非自身做外卖业务;苹果获得折叠设备专利,或先应用于iPad。
21





