作为支持国标GB28181协议的视频平台,EasyGBS经常被拿来用作下级平台或者上级平台于客户现场的第三方平台进行级联,稳定性高、扩展性强也是EasyGBS级联过程中一个显著的特点。为了能够更好的监测EasyGBS的服务正常运作,以及记录各用户的操作记录。并及时的发现失误操作的入口,定位错误原因,我们决定增加一个展示后台操作日志的功能。
本文分享一下我们的实现方式。我们通过在表中增加一个操作日志表格来获取后台运行的各项信息,该表内将会详细展示系统运行的IP、操作、返回的信息以及运行时间,将每一步精准定位。

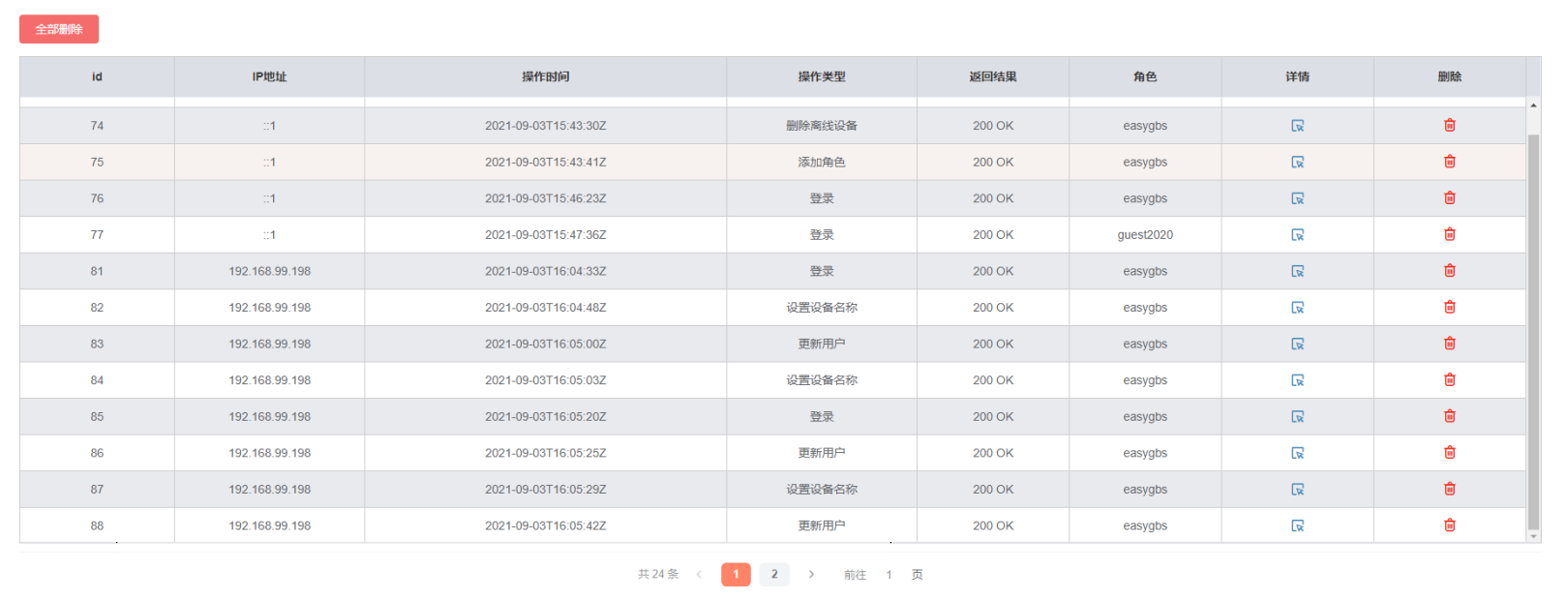
添加该数据表后,前端界面显示如下:

以下是我们部分接口代码,大家可以参考下:
//插入记录
func InsertOperation(operation *models.Operation) error {
return database.Create(operation).Error
}
//获取所有操作记录
func GetAllOperation() ([]models.Operation, error) {
var operations []models.Operation
err := database.Find(&operations).Error
return operations, err
}
func GetOperationCount() int {
var count int
database.Model(models.Operation{}).Count(&count)
return count
}
//根据条件获取记录
func GetOperations(req OperationReq) ([]models.Operation, error) {
var operations []models.Operation
table := database.Table(models.Operation{}.TableName())
if req.Type != "" {
table = table.Where("operation_type = ?", req.Type)
}
if req.Start != 0 {
table = table.Offset(req.Start)
}
if req.StartTime != "" {
start, err := time.ParseInLocation(etime.DateTimeLayout, req.StartTime, time.Local)
if err != nil {
return operations, errors.New("开始时间有误")
}
table = table.Where("operation_time >= ?", start)
}
if req.StartTime != "" {
end, err := time.ParseInLocation(etime.DateTimeLayout, req.EndTime, time.Local)
if err != nil {
return operations, errors.New("结束时间有误")
}
table = table.Where("operation_time <= ?", end)
}
if req.Limit != 0 {
table = table.Limit(req.Limit)
}
err := table.Find(&operations).Error
return operations, err
}
//获取单条操作记录
func GetOneOperation(id int) (models.Operation, error) {
var operation models.Operation
err := database.Where("id = ?", id).Find(&operation).Error
return operation, err
}
//删除单条记录
func DeleteOneOperation(id int) error {
return database.Where("id = ?", id).Delete(models.Operation{}).Error
}
//清空记录表
func TruncateOperation() error {
sec := utils.Conf().Section("database")
dbName := sec.Key("db_name").MustString("sqlite3")
switch dbName {
case "sqlite3":
return database.Delete(models.Operation{}).Error
case "mysql":
return database.Raw("truncate table ?", models.Operation{}.TableName()).Error
}
return errors.New("error database engine")
}
EasyGBS作为国标协议下稳定完善的视频平台,具备国标协议视频通道接入、转码、分发、直播的能力,目前与智能分析功能的结合也在紧密研发和测试当中,欢迎大家下载测试。
为提升视频平台EasyGBS的监控与维护能力,新增后台操作日志功能,记录系统运行状态及用户操作,包括IP地址、操作类型、响应信息及时间等,便于快速定位问题。
234

被折叠的 条评论
为什么被折叠?



