本项目源码已开源,有源码,数据库,项目文档,欢迎自行下载学习!
项目背景
本音乐网站管理员功能有个人中心,用户管理,歌曲分类管理,歌曲信息管理,管理员管理,系统管理等。用户可以注册登录,试听歌曲,可以下载歌曲。因而具有一定的实用性。

本站是一个B/S模式系统,采用Spring Boot框架,MYSQL数据库设计开发,充分保证系统的稳定性。系统具有界面清晰、操作简单,功能齐全的特点,使得音乐网站管理工作系统化、规范化。本系统的使用使管理人员从繁重的工作中解脱出来,实现无纸化办公,能够有效的提高音乐网站管理效率。
源码学习下载:基于SpringBoot+Vue的音乐网站系统【源码+运行文档+数据库】
参考文档下载:基于SpringBoot的音乐网站系统论文
🚀技术栈
后端框架:Springboot 后端编程语言就是Java
前端框架:Vue 前端编程语言就是html,JavaScript
开发工具:IDEA
数据库:MySQL
JDK版本:jdk1.8


运行截图
权限设计:管理员+用户

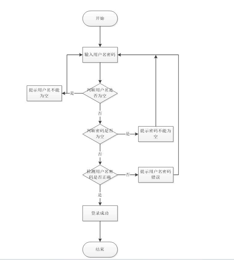
管理员登录






用户前台效果



源码学习下载:基于SpringBoot+Vue的音乐网站系统【源码+运行文档+数据库】
参考文档下载:基于SpringBoot的音乐网站系统论文
项目文档




源码学习下载:基于SpringBoot+Vue的音乐网站系统【源码+运行文档+数据库】
参考文档下载:基于SpringBoot的音乐网站系统论文
项目已经开源欢迎学习!支持定制项目,欢迎沟通交流!
1200

被折叠的 条评论
为什么被折叠?



