目 录
摘 要
随着全球化的发展,英语作为国际通用语言的重要性日益凸显。无论是学术研究、商业交流还是文化交流,良好的英语能力都成为了一个不可或缺的技能。因此,对于非英语母语的学习者来说,如何高效地学习英语成为了一个重要课题。传统的英语学习方法,如课堂学习、自我阅读和练习等,虽然有效,但存在学习效率低、缺乏个性化指导等问题。
该系统基于Python语言开发,采用Django框架构建,并使用MySQL作为数据库管理系统,旨在为用户提供一个全面且个性化的学习体验,同时也为管理员提供了有效的工具来管理和优化整个系统。系统集成了学习计划、提醒学习和用户权限管理等功能模块,通过详细的信息录入、分类和查询功能,方便用户管理学习。
在技术应用方面,Django框架的高效开发特性和ORM功能简化了数据库操作,而MySQL数据库的高性能和可靠性保障了系统在高并发环境下的稳定运行。前端采用JavaScript技术和Django模板引擎,提供良好的用户界面和交互体验。系统具有高效性、扩展性和安全性,通过模块化设计便于功能扩展和升级,满足用户不断变化的需求,并通过多层次的安全保护机制确保数据安全。综上所述,本系统不仅顺应了当前信息技术发展的趋势,也为提升英语学习者的语言能力提供了全新的解决方案,在推动教育技术进步方面具有重要意义。
关键词:智能英语学习系统;Python语言;Django框架;MySQL数据库
Abstract
As globalization advances, the importance of English as an international language is becoming increasingly prominent. Whether in academic research, business communication, or cultural exchange, good English skills have become an indispensable ability. Therefore, for non-native English learners, how to learn English efficiently has become an important issue. Traditional methods of learning English, such as classroom instruction, self-reading, and practice, while effective, suffer from low learning efficiency and lack personalized guidance.
The system is developed using the Python language, built with the Django framework, and uses MySQL as its database management system. It aims to provide users with a comprehensive and personalized learning experience while offering administrators effective tools for managing and optimizing the entire system. The system integrates functional modules such as learning plans, study reminders, and user permission management. Through detailed information entry, categorization, and query functions, it facilitates user management of their studies.
In terms of technology application, the efficient development characteristics of the Django framework and its ORM functions simplify database operations. The high performance and reliability of the MySQL database ensure stable system operation in high-concurrency environments. The front end uses JavaScript technology and the Django template engine to provide a good user interface and interactive experience. The system is characterized by efficiency, scalability, and security. Modular design facilitates functional expansion and upgrades, meeting the evolving needs of enterprises. A multi-layered security protection mechanism ensures data safety. In summary, this system not only aligns with current trends in information technology development but also offers a new solution for enhancing English learners' language skills, playing a significant role in advancing educational technology.
Keywords: Intelligent English learning system; Python language; Django framework; MySQL database
1 绪 论
随着全球化的发展,英语作为国际通用语言的重要性日益凸显。无论是学术研究、商业交流还是文化交流,良好的英语能力都成为了一个不可或缺的技能。因此,对于非英语母语的学习者来说,如何高效地学习英语成为了一个重要课题。传统的英语学习方法,如课堂学习、自我阅读和练习等,虽然有效,但存在学习效率低、缺乏个性化指导等问题[1]。
近年来,随着人工智能技术的迅速发展,尤其是自然语言处理(NLP)技术的进步,为解决上述问题提供了新的途径[2]。基于Python等编程语言开发的智能英语学习系统能够利用机器学习算法分析学习者的英语水平,并根据个人特点提供定制化的学习内容和策略,从而极大地提高了学习效率和效果。
智能英语学习系统可以根据每个学习者的学习进度、兴趣爱好、弱点等多方面因素,提供个性化的学习路径和资源推荐,满足不同用户的需求。通过智能算法分析学习者的学习数据,系统可以快速识别出学习者的薄弱环节,并针对性地加强练习,避免了传统学习方式中重复无效的学习过程。与传统的课堂教学相比,基于Python开发的智能学习系统不受时间和地点的限制,学习者可以根据自己的时间安排灵活学习,极大地方便了忙碌的现代人。智能学习系统降低了对教师资源的依赖,尤其是在一些教育资源匮乏的地区,学习者仍然可以通过这些系统获得高质量的学习体验,有助于缩小教育差距借助于云端技术和大数据分析,智能英语学习系统能够不断收集用户反馈和学习数据,实现系统的持续改进和优化,保证学习内容的有效性和前沿性。
总之,基于Python的智能英语学习系统的研究与开发不仅顺应了当前信息技术发展的趋势,也为提升英语学习者的语言能力提供了全新的解决方案,在推动教育技术进步方面具有重要意义。
1.2 国内外现状研究
在国外,智能英语学习系统的研究与开发起步较早,尤其是在欧美国家和日韩等技术发达地区,已经取得了显著的成果。这些系统通常结合人工智能、自然语言处理(NLP)、机器学习等先进技术,为用户提供个性化的学习体验。
基于AI的语言学习平台:
Duolingo:作为一款全球知名的在线语言学习工具,Duolingo利用机器学习算法分析用户的学习行为,并根据用户的错误率动态调整学习内容。它通过游戏化设计吸引用户坚持学习。
Babbel:专注于提供针对性强的语言课程,结合语音识别技术帮助用户练习发音,同时利用数据分析来推荐适合的学习路径。
学术研究方向:
在学术领域,许多研究团队致力于探索如何利用深度学习模型(如Transformer架构)改进自然语言处理任务,例如语法纠正、单词记忆优化等。例如,Google发布的BERT模型在文本理解任务中表现出色,为语言学习系统的开发提供了技术支持。
英国剑桥大学等机构也开展了关于自适应学习系统的研究,重点在于如何根据用户的认知水平和学习习惯调整教学内容。
开源项目:
国外有许多开源的语言学习项目,例如使用Python开发的Anki卡片记忆工具,它基于艾宾浩斯遗忘曲线设计复习计划,广泛应用于词汇记忆。
2. 国内研究现状
在国内,随着教育信息化的推进以及人工智能技术的发展,智能英语学习系统的研究与应用也逐渐兴起。尽管起步较晚,但近年来发展迅速,涌现出一批优秀的研究成果和商业产品。百词斩:这是一款面向中国用户的背单词APP,采用图像记忆法和趣味性学习模式,深受学生群体欢迎。其背后的技术支持包括大数据分析和个性化推荐算法。扇贝单词:通过科学的记忆曲线算法,帮助用户高效记忆单词,同时结合社交功能增强用户粘性。
国内高校和科研机构对智能英语学习系统的研究主要集中在以下几个方面:个性化学习路径推荐:清华大学、北京大学等高校的研究团队提出了基于用户画像和学习行为分析的推荐算法,用于优化学习内容的呈现方式。语音识别与发音评估:中科院自动化研究所等机构开发了基于深度学习的语音识别技术,用于自动评估用户的发音准确度。情感计算与学习动机激励:一些研究关注如何通过情感计算技术分析用户的学习情绪,并通过正向反馈机制提高学习积极性[3]。
国内开发者社区活跃,基于Python的开源项目层出不穷。例如,基于Flask或Django框架开发的在线学习平台,集成了用户管理、单词学习、翻译服务等功能模块。阿里云、百度等用户也推出了基于NLP技术的开放平台,为开发者提供了强大的API接口,助力智能英语学习系统的开发[4]。
国外的智能英语学习系统在技术上更加成熟,尤其是在AI算法的应用和用户体验设计方面具有明显优势。例如,国外产品普遍采用先进的深度学习模型,而国内产品的技术水平相对滞后。国内产品则更注重本地化需求,例如针对中国学生的考试需求(如四六级、考研英语等),设计了专门的学习内容[5]。
国外系统通常拥有庞大的用户基础和丰富的学习数据,能够更好地训练和优化算法[6]。相比之下,国内系统虽然也在逐步积累数据,但在数据规模和多样性方面仍有差距。
国外系统更多地关注通用语言能力的提升,如日常交流、商务沟通等;而国内系统则倾向于服务于特定场景,如应试教育、职场英语等。
国外的研发模式以用户和高校合作为主,强调技术创新和市场化应用;而国内的研发模式则以用户主导,高校参与较少,导致部分技术成果难以落地。
未来智能英语学习系统将融合文字、语音、视频等多种模态,提供更加沉浸式的学习体验。心理学、认知科学等领域将与AI技术深度融合,进一步优化学习策略。在保持国际化视野的同时,针对不同地区的文化特点和教育需求进行定制化开发。通过低成本甚至免费的智能学习系统,缩小教育资源分配不均的问题。
综上所述,国内外在智能英语学习系统的研究与实现方面各有侧重,但总体趋势是朝着更加智能化、个性化和多样化的方向发展。基于Python的智能英语学习系统凭借其灵活性和强大的技术支持,将在这一领域发挥重要作用。
1.3 主要研究内容
本研究的主要内容是构建智能英语学习系统。具体包括以下内容:
(1)学习计划管理:管理员能够对系统用户进行管理,包括用户的增删改查操作。学习计划管理和提醒学习管理模块让管理员有能力为不同用户制定并调整学习计划,同时配置定时提醒规则来促进学习活动。系统管理下的轮播图管理功能负责首页上展示内容的更新,保证重要信息的有效传达。通知公告管理模块使得管理员能够及时发布、编辑或删除通知公告。资源管理部分包含新闻资讯和资讯分类两个子模块,前者用于添加和更新新闻资讯内容,后者则帮助对这些资讯进行分类管理,方便用户根据兴趣查找相关内容。
(2)性能分析:系统集成性能分析模块,通过对资产运行数据的收集和分析,生成各类统计报表和图表,帮助用户了解资产使用情况和性能状态。用户可以根据分析结果,优化资产配置,提高利用率,减少资源浪费。
(3)用户权限管理:系统提供完善的用户权限管理功能,管理员可以管理系统用户(包括管理员、维护用户和普通用户),根据不同角色和权限分配相应操作权限,确保系统安全性和数据保密性。管理员还可以进行部门信息管理,确保组织结构清晰,权限分配合理。
(4)技术实现:系统基于Django框架开发,利用其高效的开发特性和ORM(对象关系映射)功能,简化了数据库操作,提升开发效率。MySQL作为数据库管理系统,以其高性能和可靠性著称,确保系统在高并发环境下稳定运行。前端采用JavaScript技术,结合Django模板引擎,实现良好用户界面和交互体验。
通过以上研究能够系统地展示在构建智能英语学习系统过程中的关键步骤和重要考虑因素,为系统的设计和开发提供了清晰的指导和方法。
2 相关技术介绍
在智能英语学习系统的开发中,使用到的关键技术是Python语言。Python作为一种高级、通用、解释型编程语言,具有简洁、易读、易学的特点,适合快速开发和易维护。在系统开发过程中,Python语言的灵活性和丰富的库能够快速实现各种功能模块,处理复杂业务逻辑,同时能够保证系统的稳定性和可扩展性。Python语言也具有较高的社区活跃度和开发资源,为系统的持续优化和升级提供了可靠的基础。通过使用Python语言,智能英语学习系统能够快速、高效地实现各项功能需求,满足英语学习的核心要求。
智能英语学习系统的开发中采用了Django框架。Django是一个基于Python的高级Web应用程序框架,提供了许多开箱即用的功能和工具,包括强大的URL路由、模型-视图-模板(MVT)设计模式、自动化管理界面等。通过使用Django框架可以快速搭建稳定、安全、高效的Web应用程序,并且可以遵循最佳实践进行开发,提高开发效率和代码质量。Django框架还提供了丰富的第三方插件和社区支持,为系统的功能拓展和优化提供了便利。通过整合Django框架,智能英语学习系统得以快速搭建,并具备良好的可维护性和扩展性,满足英语学习的复杂需求。
2.3 MVC模型
智能英语学习系统采用MVC模型作为设计架构,将应用程序分为模型、视图和控制器三部分。模型处理数据逻辑,视图展示数据,控制器处理用户输入和业务逻辑,实现数据、展示和控制的分离,提高可维护性和可扩展性。模型与视图解耦使系统易修改,控制器分离业务逻辑和用户交互,降低耦合度,提高灵活性和可靠性。MVC模型使系统更易维护和更新,为智能英语学习系统提供了良好的架构基础。
智能英语学习系统采用B/S体系结构,用户通过浏览器访问前端界面,服务器端负责处理业务逻辑和数据存储,实现跨平台和跨设备的访问。该架构简化了系统部署和更新过程,提高了系统的可访问性和易用性,减少了用户端的资源占用。同时,B/S体系结构具有良好的扩展性和安全性,能够有效管理用户权限和保护数据安全,为智能英语学习系统的稳定运行和用户体验提供了可靠保障。
智能英语学习系统的开发中采用了MySQL数据库作为数据存储平台。MySQL是一种流行的开源关系型数据库管理系统,具有稳定性高、性能优异、易用性强等特点,适合用于存储大量结构化数据。通过使用MySQL数据库,系统可以高效地存储和管理学习计划、出入库记录等关键数据,实现数据的安全性和可靠性。通过整合MySQL数据库,智能英语学习系统能够实现数据的高效管理和快速检索,为英语学习提供可靠的数据支持。
3 系统分析
系统分析是对系统开发的可行性进行研究,分析功能需求以确保系统满足用户期望。系统用例设计将明确定义系统与外部用户的交互场景,系统流程规划则细化系统内部功能流程,确保系统各模块协调工作。通过系统分析,可以建立清晰的系统框架,明确系统目标和功能,为系统开发和实施奠定基础。
3.1.1 非技术可行性
采用Python语言、Django框架和MySQL数据库构建智能英语学习系统具有较高的可行性。Python作为流行的编程语言,具有强大的生态系统和丰富的库支持,适合快速开发和易维护。Django框架提供了快速开发和强大功能,可加快系统搭建速度,而MySQL作为稳定可靠的数据库,能够满足系统的数据存储和管理需求,保证数据安全和稳定性。
在经济可行性方面,采用开源技术栈搭建系统有助于降低开发成本,减少了软件许可费用。同时,智能英语学习系统的建设和应用能够提高管理效率、优化资源配置,为用户带来长期效益和投资回报。
在社会可行性方面,智能英语学习系统的应用可以提升英语学习者的语言能力,同时也推动教育技术进步。
因此,从技术、经济和社会方面来看,构建智能英语学习系统具有较高的可行性,能够为用户带来多方面的益处。
智能英语学习系统通过不同角色的功能模块,实现对英语的学习管理。普通用户和管理员各自的功能模块互相配合,共同构建了一个高效、透明的英语学习体系。通过详细分析这些功能模块,可以帮助用户更好地理解和实施英语学习系统,提高英语学习的能力和准确性。具体功能分析如下:
(1)普通用户功能模块:
注册登录:允许新用户创建账户,并使现有用户通过用户名/邮箱和密码登录系统。
首页:提供系统的入口页面,通常包括快捷方式、最新通知公告、推荐的学习资源等。
通知公告:展示系统的重要通知和更新信息,帮助用户了解最新的活动或变更。
新闻资讯:提供与英语学习相关的新闻、文章等内容,增加用户的语言知识面。
背单词:核心学习功能之一,通过各种方法帮助用户记忆和复习英语单词。
我的账户:让用户可以查看和编辑自己的个人信息,如修改密码、联系方式等。
个人中心:包含了个人首页、学习计划、提醒学习等。个人首页:显示用户的概览信息,包括学习进度、成就等。学习计划:允许用户制定并管理自己的学习计划,设定学习目标。提醒学习:设置定时提醒,帮助用户保持持续的学习习惯。
(2)管理员功能模块:
后台首页:管理员在后台首页可以查看全局的学习计划统计,并对系统进行总体监控和管理。
系统用户管理:管理员负责管理系统中的所有用户,包括管理员和普通用户的账户创建、权限分配和账户管理。
学习计划管理:创建、分配和调整不同用户的学习计划,监督学习进度。
提醒学习管理:配置全局或针对特定群体的提醒规则,以促进学习活动。
系统管理:管理首页上的轮播内容,用于展示重要信息或推广学习资源。
通知公告管理:发布、编辑和删除系统内的通知公告,确保信息的准确性和时效性。
资源管理:包含新闻资讯和资讯分类。新闻资讯:添加、更新或删除新闻资讯内容,保证用户提供最新的学习材料。资讯分类:对新闻资讯进行分类管理,便于用户查找感兴趣的内容。
非功能性分析旨在评估系统的非功能需求和性能要求。通过对性能、可靠性、安全性、可用性和扩展性等方面进行评估,确保平台能够满足用户和系统运行的要求。具体如下:
表2-1智能英语学习系统非功能需求表
| 需求类型 | 描述 |
| 性能 | 系统应具有高性能,能够快速响应用户请求,保持稳定的性能水平,支持高并发访问和大规模数据处理。 |
| 可靠性 | 系统应具有高可靠性,确保系统稳定运行,防止系统故障和数据丢失,提供数据备份和恢复机制。 |
| 安全性 | 系统应具有高安全性,保护用户隐私信息和数据安全,采用加密传输技术、访问控制和身份验证机制。 |
| 可用性 | 系统应具有高可用性,保证系统全天候运行,最大限度减少系统故障和维护时间,提供灾备和故障转移功能。 |
| 易用性 | 系统应具有良好的易用性,用户界面设计友好,操作简单直观,提供清晰的指导和帮助文档。 |
| 可维护性 | 系统应具有良好的可维护性,易于维护和升级,提供模块化和结构化代码,方便开发人员进行维护和修改。 |
| 可扩展性 | 系统应具有良好的可扩展性,支持新增功能和模块的集成,具备良好的架构设计和扩展性能。 |
系统用例分析是对系统中各个功能模块的用户需求和行为进行分析,以识别和描述不同的用户用例。通过系统用例分析,可以深入了解用户在平台上的操作流程和交互方式,为系统设计和开发提供指导,并确保平台能够满足用户的需求和期望。
(1)普通用户角色用例图如下图所示。

图3-1 普通用户角色用例图
(2)管理员角色用例图如下图所示。

图3-2 管理员角色用例图
本章重点在对系统进行了可行性、功能需求、系统用例以及系统流程分析,旨在明确平台的功能要求。这些分析为系统的开发和测试提供了指导和标准,确保系统设计和实施符合用户需求。通过详细的分析,可以有效规划平台功能的实现方式,提供清晰的指引。同时,这些分析也有助于确保代码实现的质量和系统的稳定性,为系统的顺利上线和运行奠定基础。
4 系统总体设计
系统总体设计包括系统架构、数据库设计、用户界面设计等方面。通过三层架构模式,确保系统的可靠性和可扩展性。设计规范化的数据库结构,以存储和管理用户数据等信息。同时,注重用户界面的友好性和易用性,提供便捷的功能操作和良好的用户体验。总体设计的目标是实现一个稳定、安全、高效的系统,满足用户的需求。
在系统架构设计中,我将确定系统的整体结构和组件之间的关系。这包括选择适当的架构风格,划分系统的层次结构,并定义各个模块的职责和交互方式。架构图如下图所示。

图4-1系统架构设计图
表示层(Presentation Layer):负责与用户进行交互,将系统的功能和数据以易于理解和操作的方式展示给用户。通常包括用户界面、页面设计和用户输入验证等。
业务逻辑层(Business Logic Layer):处理系统的核心业务逻辑,包括对用户请求的处理、业务规则的执行以及数据的处理和转换。它独立于表现层和数据层,实现了业务逻辑的封装和复用。
数据层(Data Layer):负责数据的存储、访问和管理,包括数据库和持久化机制。数据层提供了对数据的增删改查操作,并与业务逻辑层进行交互,使系统能够有效地存储和检索数据。
这三个层次相互独立,通过明确的接口和协议进行通信,实现了系统的模块化和可扩展性。表现层负责将用户的请求传递给业务逻辑层,业务逻辑层处理请求并返回结果,最后数据层负责与数据库交互并提供数据支持。这种分层架构有助于实现系统的可维护性、灵活性和可测试性。
通过整体功能模块设计,我将根据需求分析的结果,将系统的功能划分为不同的模块。每个模块负责实现特定的功能,并与其他模块进行协作。我们将详细定义每个模块的输入、输出、处理逻辑和相互依赖关系。具体的功能模块图如图4-2所示。

图4-2 系统功能模块图
数据库设计是系统开发中至关重要的一环,它涉及到数据的组织、存储和管理。在数据库设计中,我将根据系统的需求设计数据库的概念结构和逻辑结构,包括定义实体、属性、关系和约束等。
顶层数据流是指系统与外部实体之间的数据流动,描述了系统的整体数据流。在智能英语学习系统中,顶层数据流包括管理员录入信息、普通用户查看信息、练习单词信息等。
系统的顶层数据流图如下图所示。

图4-3系统数据流图(顶层)
底层数据流程图是对顶层数据流程图的细化,系统的底层数据流图如下图所示。
图4-4系统数据流图(底层)
4.3.2 数据库概念结构设计
数据库概念结构设计主要涉及数据库的实体和实体之间的关系。通过实体-关系模型或者其他适当的模型,我将定义系统中涉及的各个实体以及它们之间的联系。下面我将罗列主要的实体属性图和系统E-R图。
- 普通用户实体属性如下图所示。

图4-5 普通用户实体属性图
- 学习计划实体属性如下图所示。

图4-7 学习计划实体属性图
- 维修信息实体属性如下图所示。

图4-8 维修信息实体属性图
下面是整个智能英语学习系统中主要的数据库表总E-R实体关系图。
图4-9 系统总E-R关系图
数据库逻辑结构设计则是在概念结构的基础上,进行具体的数据库表设计。我们将定义每个表的结构、字段和约束,并建立表与表之间的关系。
表 4-1-access_token(登陆访问时长)
| 编号 | 字段名 | 类型 | 长度 | 是否非空 | 是否主键 | 注释 |
| 1 | token_id | int | 是 | 是 | 临时访问牌ID | |
| 2 | token | varchar | 64 | 否 | 否 | 临时访问牌 |
| 3 | info | text | 65535 | 否 | 否 | 信息 |
| 4 | maxage | int | 是 | 否 | 最大寿命:默认2小时 | |
| 5 | create_time | timestamp | 是 | 否 | 创建时间 | |
| 6 | update_time | timestamp | 是 | 否 | 更新时间 | |
| 7 | user_id | int | 是 | 否 | 用户编号 |
表 4-2-article(文章)
| 编号 | 字段名 | 类型 | 长度 | 是否非空 | 是否主键 | 注释 |
| 1 | article_id | mediumint | 是 | 是 | 文章id | |
| 2 | title | varchar | 125 | 是 | 是 | 标题 |
| 3 | type | varchar | 64 | 是 | 否 | 文章分类 |
| 4 | hits | int | 是 | 否 | 点击数 | |
| 5 | praise_len | int | 是 | 否 | 点赞数 | |
| 6 | create_time | timestamp | 是 | 否 | 创建时间 | |
| 7 | update_time | timestamp | 是 | 否 | 更新时间 | |
| 8 | source | varchar | 255 | 否 | 否 | 来源 |
| 9 | url | varchar | 255 | 否 | 否 | 来源地址 |
| 10 | tag | varchar | 255 | 否 | 否 | 标签 |
| 11 | content | longtext | 4294967295 | 否 | 否 | 正文 |
| 12 | img | varchar | 255 | 否 | 否 | 封面图 |
| 13 | description | text | 65535 | 否 | 否 | 文章描述 |
表 4-3-article_type(文章分类)
| 编号 | 字段名 | 类型 | 长度 | 是否非空 | 是否主键 | 注释 |
| 1 | type_id | smallint | 是 | 是 | 分类ID | |
| 2 | display | smallint | 是 | 否 | 显示顺序 | |
| 3 | name | varchar | 16 | 是 | 否 | 分类名称 |
| 4 | father_id | smallint | 是 | 否 | 上级分类ID | |
| 5 | description | varchar | 255 | 否 | 否 | 描述 |
| 6 | icon | text | 65535 | 否 | 否 | 分类图标 |
| 7 | url | varchar | 255 | 否 | 否 | 外链地址 |
| 8 | create_time | timestamp | 是 | 否 | 创建时间 | |
| 9 | update_time | timestamp | 是 | 否 | 更新时间 |
表 4-4-auth(用户权限管理)
| 编号 | 字段名 | 类型 | 长度 | 是否非空 | 是否主键 | 注释 |
| 1 | auth_id | int | 是 | 是 | 授权ID | |
| 2 | user_group | varchar | 64 | 否 | 否 | 用户组 |
| 3 | mod_name | varchar | 64 | 否 | 否 | 模块名 |
| 4 | table_name | varchar | 64 | 否 | 否 | 表名 |
| 5 | page_title | varchar | 255 | 否 | 否 | 页面标题 |
| 6 | path | varchar | 255 | 否 | 否 | 路由路径 |
| 7 | parent | varchar | 64 | 否 | 否 | 父级菜单 |
| 8 | parent_sort | int | 是 | 否 | 父级菜单排序 | |
| 9 | position | varchar | 32 | 否 | 否 | 位置 |
| 10 | mode | varchar | 32 | 是 | 否 | 跳转方式 |
| 11 | add | tinyint | 是 | 否 | 是否可增加 | |
| 12 | del | tinyint | 是 | 否 | 是否可删除 | |
| 13 | set | tinyint | 是 | 否 | 是否可修改 | |
| 14 | get | tinyint | 是 | 否 | 是否可查看 | |
| 15 | field_add | text | 65535 | 否 | 否 | 添加字段 |
| 16 | field_set | text | 65535 | 否 | 否 | 修改字段 |
| 17 | field_get | text | 65535 | 否 | 否 | 查询字段 |
| 18 | table_nav_name | varchar | 500 | 否 | 否 | 跨表导航名称 |
| 19 | table_nav | varchar | 500 | 否 | 否 | 跨表导航 |
| 20 | option | text | 65535 | 否 | 否 | 配置 |
| 21 | create_time | timestamp | 是 | 否 | 创建时间 | |
| 22 | update_time | timestamp | 是 | 否 | 更新时间 |
表 4-5-code_token(验证码)
| 编号 | 字段名 | 类型 | 长度 | 是否非空 | 是否主键 | 注释 |
| 1 | code_token_id | int | 是 | 是 | 验证码ID | |
| 2 | token | varchar | 255 | 否 | 否 | 令牌 |
| 3 | code | varchar | 255 | 否 | 否 | 验证码 |
| 4 | expire_time | timestamp | 是 | 否 | 失效时间 | |
| 5 | create_time | timestamp | 是 | 否 | 创建时间 | |
| 6 | update_time | timestamp | 是 | 否 | 更新时间 |
表 4-6-comment(评论)
| 编号 | 字段名 | 类型 | 长度 | 是否非空 | 是否主键 | 注释 |
| 1 | comment_id | int | 是 | 是 | 评论ID | |
| 2 | user_id | int | 是 | 是 | 评论人ID | |
| 3 | reply_to_id | int | 是 | 否 | 回复评论ID | |
| 4 | content | longtext | 4294967295 | 否 | 否 | 内容 |
| 5 | nickname | varchar | 255 | 否 | 否 | 昵称 |
| 6 | avatar | varchar | 255 | 否 | 否 | 头像地址 |
| 7 | create_time | timestamp | 是 | 否 | 创建时间 | |
| 8 | update_time | timestamp | 是 | 否 | 更新时间 | |
| 9 | source_table | varchar | 255 | 否 | 否 | 来源表 |
| 10 | source_field | varchar | 255 | 否 | 否 | 来源字段 |
| 11 | source_id | int | 是 | 否 | 来源ID |
表 4-7-hits(用户点击)
| 编号 | 字段名 | 类型 | 长度 | 是否非空 | 是否主键 | 注释 |
| 1 | hits_id | int | 是 | 是 | 点赞ID | |
| 2 | user_id | int | 是 | 否 | 点赞人 | |
| 3 | create_time | timestamp | 是 | 否 | 创建时间 | |
| 4 | update_time | timestamp | 是 | 否 | 更新时间 | |
| 5 | source_table | varchar | 255 | 否 | 否 | 来源表 |
| 6 | source_field | varchar | 255 | 否 | 否 | 来源字段 |
| 7 | source_id | int | 是 | 否 | 来源ID |
表 4-8-learning_plan(学习计划)
| 编号 | 字段名 | 类型 | 长度 | 是否非空 | 是否主键 | 注释 |
| 1 | learning_plan_id | int | 是 | 是 | 学习计划ID | |
| 2 | ordinary_user | int | 否 | 否 | 普通用户 | |
| 3 | user_name | varchar | 64 | 否 | 否 | 用户姓名 |
| 4 | user_phone | varchar | 64 | 否 | 否 | 用户电话 |
| 5 | learning_time | date | 否 | 否 | 学习时间 | |
| 6 | learning_plan | text | 65535 | 否 | 否 | 学习计划 |
| 7 | remind_learning_limit_times | int | 是 | 否 | 提醒限制次数 | |
| 8 | create_time | datetime | 是 | 否 | 创建时间 | |
| 9 | update_time | timestamp | 是 | 否 | 更新时间 |
表 4-9-notice(公告)
| 编号 | 字段名 | 类型 | 长度 | 是否非空 | 是否主键 | 注释 |
| 1 | notice_id | mediumint | 是 | 是 | 公告ID | |
| 2 | title | varchar | 125 | 是 | 否 | 标题 |
| 3 | content | longtext | 4294967295 | 否 | 否 | 正文 |
| 4 | create_time | timestamp | 是 | 否 | 创建时间 | |
| 5 | update_time | timestamp | 是 | 否 | 更新时间 |
表 4-10-ordinary_user(普通用户)
| 编号 | 字段名 | 类型 | 长度 | 是否非空 | 是否主键 | 注释 |
| 1 | ordinary_user_id | int | 是 | 是 | 普通用户ID | |
| 2 | user_name | varchar | 64 | 否 | 否 | 用户姓名 |
| 3 | user_gender | varchar | 64 | 否 | 否 | 用户性别 |
| 4 | user_phone | varchar | 64 | 否 | 否 | 用户电话 |
| 5 | user_points | double | 否 | 否 | 用户积分 | |
| 6 | examine_state | varchar | 16 | 是 | 否 | 审核状态 |
| 7 | user_id | int | 是 | 否 | 用户ID | |
| 8 | create_time | datetime | 是 | 否 | 创建时间 | |
| 9 | update_time | timestamp | 是 | 否 | 更新时间 |
表 4-11-praise(点赞)
| 编号 | 字段名 | 类型 | 长度 | 是否非空 | 是否主键 | 注释 |
| 1 | praise_id | int | 是 | 是 | 点赞ID | |
| 2 | user_id | int | 是 | 是 | 点赞人 | |
| 3 | create_time | timestamp | 是 | 否 | 创建时间 | |
| 4 | update_time | timestamp | 是 | 否 | 更新时间 | |
| 5 | source_table | varchar | 255 | 否 | 否 | 来源表 |
| 6 | source_field | varchar | 255 | 否 | 否 | 来源字段 |
| 7 | source_id | int | 是 | 否 | 来源ID | |
| 8 | status | tinyint | 是 | 否 | 点赞状态:1为点赞,0已取消 |
表 4-12-remind_learning(提醒学习)
| 编号 | 字段名 | 类型 | 长度 | 是否非空 | 是否主键 | 注释 |
| 1 | remind_learning_id | int | 是 | 是 | 提醒学习ID | |
| 2 | ordinary_user | int | 否 | 否 | 普通用户 | |
| 3 | user_name | varchar | 64 | 否 | 否 | 用户姓名 |
| 4 | learning_time | date | 否 | 否 | 学习时间 | |
| 5 | reminder_message | varchar | 64 | 否 | 否 | 提醒信息 |
| 6 | create_time | datetime | 是 | 否 | 创建时间 | |
| 7 | update_time | timestamp | 是 | 否 | 更新时间 | |
| 8 | source_table | varchar | 255 | 否 | 否 | 来源表 |
| 9 | source_id | int | 否 | 否 | 来源ID | |
| 10 | source_user_id | int | 否 | 否 | 来源用户 |
表 4-13-slides(轮播图)
| 编号 | 字段名 | 类型 | 长度 | 是否非空 | 是否主键 | 注释 |
| 1 | slides_id | int | 是 | 是 | 轮播图ID | |
| 2 | title | varchar | 64 | 否 | 否 | 标题 |
| 3 | content | varchar | 255 | 否 | 否 | 内容 |
| 4 | url | varchar | 255 | 否 | 否 | 链接 |
| 5 | img | varchar | 255 | 否 | 否 | 轮播图 |
| 6 | hits | int | 是 | 否 | 点击量 | |
| 7 | create_time | timestamp | 是 | 否 | 创建时间 | |
| 8 | update_time | timestamp | 是 | 否 | 更新时间 |
表 4-14-upload(文件上传)
| 编号 | 字段名 | 类型 | 长度 | 是否非空 | 是否主键 | 注释 |
| 1 | upload_id | int | 是 | 是 | 上传ID | |
| 2 | name | varchar | 64 | 否 | 否 | 文件名 |
| 3 | path | varchar | 255 | 否 | 否 | 访问路径 |
| 4 | file | varchar | 255 | 否 | 否 | 文件路径 |
| 5 | display | varchar | 255 | 否 | 否 | 显示顺序 |
| 6 | father_id | int | 否 | 否 | 父级ID | |
| 7 | dir | varchar | 255 | 否 | 否 | 文件夹 |
| 8 | type | varchar | 32 | 否 | 否 | 文件类型 |
表 4-15-user(用户账户)
| 编号 | 字段名 | 类型 | 长度 | 是否非空 | 是否主键 | 注释 |
| 1 | user_id | int | 是 | 是 | 用户ID | |
| 2 | state | smallint | 是 | 否 | 账户状态:(1可用|2异常|3已冻结|4已注销) | |
| 3 | user_group | varchar | 32 | 否 | 否 | 所在用户组 |
| 4 | login_time | timestamp | 是 | 否 | 上次登录时间 | |
| 5 | phone | varchar | 11 | 否 | 否 | 手机号码 |
| 6 | phone_state | smallint | 是 | 否 | 手机认证:(0未认证|1审核中|2已认证) | |
| 7 | username | varchar | 16 | 是 | 否 | 用户名 |
| 8 | nickname | varchar | 16 | 否 | 否 | 昵称 |
| 9 | password | varchar | 64 | 是 | 否 | 密码 |
| 10 | | varchar | 64 | 否 | 否 | 邮箱 |
| 11 | email_state | smallint | 是 | 否 | 邮箱认证:(0未认证|1审核中|2已认证) | |
| 12 | avatar | varchar | 255 | 否 | 否 | 头像地址 |
| 13 | open_id | varchar | 255 | 否 | 否 | 针对获取用户信息字段 |
| 14 | create_time | timestamp | 是 | 否 | 创建时间 |
表 4-16-user_group(用户组)
| 编号 | 字段名 | 类型 | 长度 | 是否非空 | 是否主键 | 注释 |
| 1 | group_id | mediumint | 是 | 是 | 用户组ID | |
| 2 | display | smallint | 是 | 否 | 显示顺序 | |
| 3 | name | varchar | 16 | 是 | 否 | 名称 |
| 4 | description | varchar | 255 | 否 | 否 | 描述 |
| 5 | source_table | varchar | 255 | 否 | 否 | 来源表 |
| 6 | source_field | varchar | 255 | 否 | 否 | 来源字段 |
| 7 | source_id | int | 是 | 否 | 来源ID | |
| 8 | register | smallint | 否 | 否 | 注册位置 | |
| 9 | create_time | timestamp | 是 | 否 | 创建时间 | |
| 10 | update_time | timestamp | 是 | 否 | 更新时间 |
数据库设计是系统开发中的关键步骤,通过识别实体、建立关系、设计表结构、选择主键和索引等方式,确保数据存储和管理的有效性和一致性。同时,考虑安全性和性能优化,采用合适的规范化和反规范化技术,以提高系统的响应速度和用户体验。综合以上因素,数据库设计为系统的稳定运行和高效管理提供了基础支持。
5 系统详细设计与实现
系统关键模块设计与实现是系统开发中的核心任务。通过分析需求,设计和实现关键模块,确保系统功能的完整性和稳定性。在设计过程中,需要考虑模块之间的交互和数据流动,合理选择技术和框架,并进行测试和优化,以确保关键模块的高效运行和用户满意度。
5.1.1 前台首页
普通用户的后台首页主要提供系统的入口页面,通常包括快捷方式、最新通知公告、推荐的学习资源等。主界面展示如下图所示。
图5-1 前台首页界面图
前台首页关键代码如下:
WSGI_APPLICATION = "app.wsgi.application"
DATABASES = {
"default": {
"ENGINE": "django.db.backends.mysql",
"NAME": "project93355",
"USER": "root",
"PASSWORD": "root",
"HOST": "127.0.0.1",
"PORT": "3306",
}
}
用户注册功能允许新用户创建账户,系统会收集基本信息如用户名、密码、邮箱和角色(普通用户、维护用户或管理员)。注册过程包括填写表单、验证邮箱、设置初始密码和分配角色。管理员可以审核和激活新账户,确保用户信息的准确性和系统安全性。其界面展示如下图所示。
图5-2 用户注册界面图
用户注册的关键代码如下:
def Register(self, ctx):
print("===================注册=====================")
userService = service_select("user")
body = ctx.body
if "username" not in body and body["username"] == '':
return ctx.response(json.dumps({
"error": {
"code": 70000,
"message": "用户名不能为空",
}
}, ensure_ascii=False))
if "user_group" not in body and body["user_group"] == '':
return ctx.response(json.dumps({
"error": {
"code": 70000,
"message": "用户组不能为空",
}
}, ensure_ascii=False))
if "password" not in body and body["password"] == '':
return ctx.response(json.dumps({
"error": {
"code": 70000,
"message": "密码不能为空",
}
}, ensure_ascii=False))
post_param = body
post_param['nickname'] = body["nickname"] or ""
post_param['password'] = md5hash(body["password"])
obj = userService.Get_obj({"username": post_param['username']}, {"like": False})
if obj:
return ctx.response(json.dumps({
"error": {
"code": 70000,
"message": "用户名已存在",
}
}, ensure_ascii=False))
ret = {
"error": {
"code": 70000,
"message": "注册失败",
}
}
bl = userService.Add(post_param)
if bl:
ret = {
"result": {
"bl": True,
"message": "注册成功"
}
}
return ctx.response(json.dumps(ret, ensure_ascii=False))
用户登录功能允许已注册用户访问系统。用户通过输入用户名和密码进行身份验证,系统对凭据进行比对,成功后进入个人后台首页。登录过程包括输入凭据、验证身份、设置会话状态,并提供忘记密码功能,以确保用户账户的安全性和便捷性。其界面如下图所示。
图5-3登录界面图
def Login(self, ctx):
print("===================登录=====================")
ret = {
"error": {
"code": 70000,
"message": "账户不存在",
}
}
body = ctx.body
password = md5hash(body["password"]) or ""
obj = service_select("user").Get_obj(
{"username": body["username"]}, {"like": False}
)
if obj:
user_group = service_select("user_group").Get_obj({'name': obj['user_group']}, {"like": False})
if user_group and user_group['source_table'] != '':
user_obj = service_select(user_group['source_table']).Get_obj({"user_id": obj['user_id']}, {"like": False})
if user_obj['examine_state'] == '未通过':
ret = {
"error": {
"code": 70000,
"message": "账户未通过审核",
}
}
return ret
if user_obj['examine_state'] == '未审核':
ret = {
"error": {
"code": 70000,
"message": "账户未审核",
}
}
return ret
if obj["state"] == 1:
if obj["password"] == password:
timeout = timezone.now()
timestamp = int(time.mktime(timeout.timetuple())) * 1000
token = md5hash(str(obj["user_id"]) + "_" + str(timestamp))
ctx.request.session[token] = obj["user_id"]
service_select("access_token").Add(
{"token": token, "user_id": obj["user_id"]}
5.1.4 新闻资讯
提供与英语学习相关的新闻、文章等内容,增加用户的语言知识面,可进行收藏、点赞操作。其界面如下图所示。
图5-4新闻资讯界面图
关键代码如下:
def Add(self, ctx):
body = ctx.body
unique = self.config.get("unique")
obj = None
if unique:
qy = {}
for i in range(len(unique)):
key = unique[i]
qy[key] = body.get(key)
obj = self.service.Get_obj(qy)
if not obj:
error = self.Add_before(ctx)
if error["code"]:
return {"error": error}
error = self.Events("add_before", ctx, None)
if error["code"]:
return {"error": error}
result = self.service.Add(body, self.config)
if self.service.error:
return {"error": self.service.error}
res = self.Add_after(ctx, result)
if res:
result = res
res = self.Events("add_after", ctx, result)
if res:
result = res
return {"result": result}
else:
return {"error": {"code": 10000, "message": "已存在"}}
核心学习功能之一,通过各种方法(逐词学习、曲线记忆、单词测验、英英问答等)帮助用户记忆和复习英语单词。其界面如下图所示。
图5-5背单词界面图
关键代码如下:
def Get_obj(self, ctx):
query = dict(ctx.query)
config_plus = {}
if "field" in query:
field = query.pop("field")
config_plus["field"] = field
obj = self.service.Get_obj(query, obj_update(self.config, config_plus))
if self.service.error:
return {"error": self.service.error}
if obj:
self.interact_obj(ctx, obj)
return {"result": {"obj": obj}}
个人中心:包含了个人首页、学习计划、提醒学习。个人首页:显示用户的概览信息,包括学习进度、成就等。学习计划:允许用户制定并管理自己的学习计划,设定学习目标。提醒学习:设置定时提醒,帮助用户保持持续的学习习惯。其界面如下图所示。
图5-6个人中心界面图
关键代码如下:
def Get_obj(self, ctx):
query = dict(ctx.query)
config_plus = {}
if "field" in query:
field = query.pop("field")
config_plus["field"] = field
obj = self.service.Get_obj(query, obj_update(self.config, config_plus))
if self.service.error:
return {"error": self.service.error}
if obj:
self.interact_obj(ctx, obj)
return {"result": {"obj": obj}}
提醒学习:设置定时提醒,帮助用户保持持续的学习习惯。其界面如下图所示。
图5-7个人中心提醒学习界面图
管理员管理用户信息、权限和行为。用户管理包括用户注册、登录、身份验证、权限控制、用户信息修改等操作。管理员可以查看和编辑用户信息,重置密码,激活或停用账户等。通过用户管理,系统可以确保数据安全性和用户身份真实性,同时实现个性化服务和定制化推荐。良好的用户管理设计能够简化用户操作流程,提高系统安全性和用户满意度,同时为系统运营提供有效支持。其界面如下图所示。
图5-8系统用户界面图
系统用户的关键代码如下:
def Add(self, ctx):
body = ctx.body
unique = self.config.get("unique")
obj = None
if unique:
qy = {}
for i in range(len(unique)):
key = unique[i]
qy[key] = body.get(key)
obj = self.service.Get_obj(qy)
if not obj:
error = self.Add_before(ctx)
if error["code"]:
return {"error": error}
error = self.Events("add_before", ctx, None)
if error["code"]:
return {"error": error}
result = self.service.Add(body, self.config)
if self.service.error:
return {"error": self.service.error}
res = self.Add_after(ctx, result)
if res:
result = res
res = self.Events("add_after", ctx, result)
if res:
result = res
return {"result": result}
else:
return {"error": {"code": 10000, "message": "已存在"}}
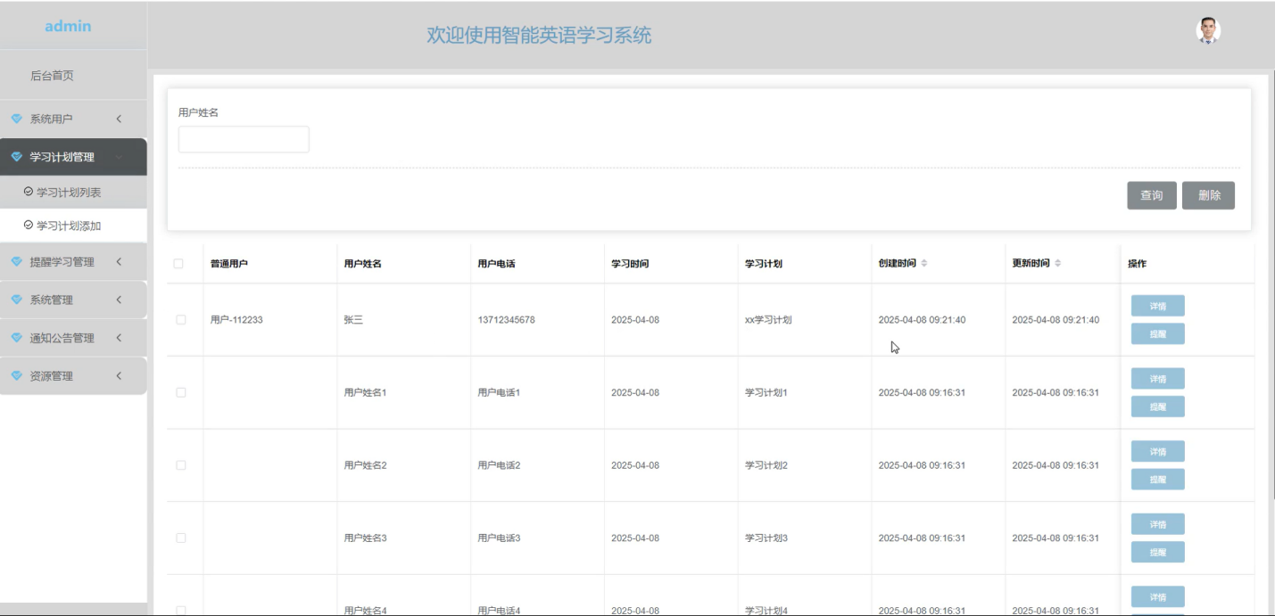
管理员对系统中的学习计划进行全面管理。管理过程包括添加新学习计划、编辑现有学习计划、更新学习计划等管理。管理员可以查看学习计划的详细信息、提醒学者。此功能提升了英语学习的效率和能力。其界面如下图所示。
图5-9学习计划管理界面图
关键代码如下:
def Add(self, ctx):
body = ctx.body
unique = self.config.get("unique")
obj = None
if unique:
qy = {}
for i in range(len(unique)):
key = unique[i]
qy[key] = body.get(key)
obj = self.service.Get_obj(qy)
if not obj:
error = self.Add_before(ctx)
if error["code"]:
return {"error": error}
error = self.Events("add_before", ctx, None)
if error["code"]:
6 系统测试
智能英语学习系统测试的主要目的是确保系统功能正常、性能稳定、安全可靠。测试旨在验证系统各项功能是否按照需求规格书要求正常工作,检查系统的易用性和用户体验,确保用户能够顺利完成各项操作。此外,系统测试还旨在评估系统的性能指标,包括响应时间、并发能力等,以保证系统在高负载情况下仍能正常运行。另外,安全测试也是重要的一部分,确保系统能够有效防范各类安全威胁和攻击。通过全面的系统测试,可以保障智能英语学习系统的稳定性、可靠性和安全性。
系统测试旨在检验系统功能是否正常工作。通过功能测试用例的执行,可以有效评估系统功能的正确性、完整性和稳定性,帮助发现和解决潜在的功能缺陷,确保系统能够按照预期功能正常运行。功能测试用例包括用户注册、用户登录、新闻资讯、背单词等。
| 测试用例编号 | 功能模块 | 测试用例描述 | 预期结果 |
| TC001 | 用户注册 | 输入有效的用户名、密码、邮箱和角色信息 | 注册成功,用户账户创建并收到验证邮件 |
| TC002 | 用户注册 | 输入已有用户名 | 注册失败,提示用户名已存在 |
表6-1 注册功能测试用例
| 测试用例编号 | 功能模块 | 测试用例描述 | 预期结果 |
| TC003 | 用户登录 | 输入正确的用户名和密码 | 登录成功,进入用户后台首页 |
| TC004 | 用户登录 | 输入错误的用户名或密码 | 登录失败,提示用户名或密码错误 |
| TC005 | 用户登录 | 输入注册邮箱,使用忘记密码功能 | 提示发送重置密码链接到邮箱 |
表6-2 登录功能测试用例
| 测试用例编号 | 功能模块 | 测试用例描述 | 预期结果 |
| TC006 | 新闻资讯 | 管理员填写完整的新闻资讯 | 新闻资讯成功,生成唯一资讯ID |
| TC007 | 新闻资讯 | 管理员添加新闻资讯时缺少必要信息 | 新闻资讯失败,提示补充必要信息 |
表6-3 新闻资讯功能测试用例
| 测试用例编号 | 功能模块 | 测试用例描述 | 预期结果 |
| TC008 | 背单词 | 普通用户选择所需背单词并进行学习信息 | 学习成功,生成学习记录 |
| TC009 | 背单词 | 普通用户提交学习操作时缺少必要信息 | 学习失败,提示操作失误信息 |
表6-4 背单词功能测试用例
| 测试用例编号 | 功能模块 | 测试用例描述 | 预期结果 |
| TC010 | 学习计划 | 普通用户录入学习计划信息 | 学习计划成功,生成学习计划 |
| TC011 | 学习计划 | 普通用户录入学习计划时缺少必要信息 | 学习计划失败,提示补充必要信息 |
表6-5 学习计划功能测试用例
6.3 测试结果
在本次测试中,我们对用户注册、用户登录、新闻资讯、背单词和学习计划等功能进行了详细测试。测试结果显示,用户注册功能在输入有效信息时能够成功创建账户并发送验证邮件,而在输入已有用户名时则提示用户名已存在。用户登录功能在输入正确凭据时能成功登录,在输入错误凭据时会提示错误信息。新闻资讯功能在填写完整信息时能够成功录入资讯,而在缺少必要信息时则提示补充信息。背单词功能能够生成背单词记录。学习计划功能够成功添加学习计划,而在缺少必要信息时则提示补充信息。总体而言,所有测试用例均达到预期效果,系统功能表现稳定。
结 论
在本研究中,我成功构建了一个智能英语学习系统,实现了丰富的功能如学习计划、背单词、提醒学习、个人中心等。系统运用了Python语言的灵活性、Django框架的快速开发特性和MySQL数据库的稳定性,为用户英语学习提供了可靠的支持。通过系统的设计和实现,提高了英语学习的效率和用户体验,为学者学习英语提供了便捷、高效的解决方案。
在系统的设计和开发过程中,需要进一步加强对用户体验和界面设计的重视,提升系统的易用性和美观性,以增强用户对系统的吸引力和满意度。此外,对异常情况和错误处理的完善也是需要加强的地方,确保系统的稳定性和安全性。在未来的改进中,可以考虑引入更多的数据分析和报告功能,以帮助管理员更好地了解英语学习情况,提高决策的科学性和准确性。同时,加强系统的扩展性和可维护性,以应对未来资产发展和功能拓展的需求。
总的来说,通过本次研究,我成功搭建了一套智能英语学习系统,实现了丰富的功能并取得了一定的成果。在未来的发展中,将继续优化系统功能和用户体验,不断提升系统的性能和稳定性,为智能英语学习系统的长期发展和用户需求提供更好的服务和支持。
参考文献
- 胡燕,文桥,刘智. 小学英语智能学习系统的设计研究 [J]. 天津市教科院学报, 2024, 36 (04): 36-46.
- 李雪梅. 人工智能赋能开放大学公共英语教学模式创新研究 [J]. 广西开放大学学报, 2024, 35 (04): 16-20.
- 王玉莹,李广欢. 基于学习通平台下高职公共英语教学资源库建设 [J]. 公关世界, 2024, (09): 78-80.
- 谭彦. 基于Python的高校宿舍管理系统研究与实现 [J]. 现代信息科技, 2025, 9 (04): 124-128. DOI:10.19850/j.cnki.2096-4706.2025.04.024.
- Alzubi M T ,Alzubi A J ,Singh A , et al. A Multimodal Human-Computer Interaction for Smart Learning System [J]. International Journal of Human–Computer Interaction, 2025, 41 (3): 1718-1728.
- Shi R . Research on the Path of Enhancing Intercultural Communication Competence of Students in Applied Colleges and Universities Supported by Intelligent Learning System [J]. Applied Mathematics and Nonlinear Sciences, 2025, 10 (1):
- Zhang C . Research on Optimization and Implementation of Education-Theory-Driven Intelligent Learning System Based on Machine Learning [J]. Frontiers in Educational Research, 2024, 7 (12):
- Lan B ,Li N ,Yan X , et al. The application of smart learning systems during global pandemics: Taking Spanish teaching course as an example [J]. International Journal of New Developments in Education, 2024, 6 (12):
- 张潇潇. 基于人工智能的大学英语智能教育学习系统构建策略 [J]. 现代英语, 2024, (24): 45-47.
- Mönke G ,Schäfer T ,Dezfouli P M , et al. Systems Neuroscience Computing in Python (SyNCoPy): a python package for large-scale analysis of electrophysiological data [J]. Frontiers in Neuroinformatics, 2024, 18 1448161-1448161.
- Yang H ,Lu X ,Chang J , et al. Kssdtree: An interactive Python package for phylogenetic analysis based on sketching technique. [J]. Bioinformatics (Oxford, England), 2024,
- 姜辉,周子豪. 智能英语阅读词汇难度测量学习系统设计与实现 [J]. 渤海大学学报(自然科学版), 2023, 44 (03): 270-277. DOI:10.13831/j.cnki.issn.1673-0569.2023.03.003.
- 张誉月,贾积有,黎宇珍. 智能教学系统和手机的常态化课程整合及其效果研究 [J]. 数字教育, 2023, 9 (02): 39-46.
- 陈晋华. 基于改进机器学习的智能英语翻译机器人在线校准系统研究 [J]. 自动化与仪器仪表, 2022, (10): 201-206. DOI:10.14016/j.cnki.1001-9227.2022.10.201.
- 杨冰. 基于深度学习的英语短语译文智能校对系统 [J]. 自动化与仪器仪表, 2022, (08): 185-188+193. DOI:10.14016/j.cnki.1001-9227.2022.08.185.
- 郑奕,张雪蓉. 智能手机与系统依赖:当代大学生英语学习的新媒介使用研究 [J]. 东南传播, 2022, (07): 121-124. DOI:10.13556/j.cnki.dncb.cn35-1274/j.2022.07.014.
- 曹艳琴,姚兆宏. 基于IRT的英语辅助学习系统设计与实现 [J]. 微型电脑应用, 2022, 38 (03): 41-43.
- 张琳,崔秀珍. 智能辅导系统与英语教学:现状与展望——以“论答”人工智能教学辅助系统为例 [J]. 海外英语, 2022, (02): 96-97.
- 胡天姿,王慧,王涛,等. 基于人工智能的多功能英语记忆App设计 [J]. 山西电子技术, 2021, (05): 62-65.
- 余丽. 基于智能手机语音功能的英语单词学习系统 [J]. 自动化技术与应用, 2021, 40 (08): 171-174.
- 邹斌,汪明洁. 人工智能技术与英语教学:现状与展望 [J]. 外国语文, 2021, 37 (03): 124-130.
- 蔡佳. 基于移动智能系统在大学英语阅读学习中的有效研究 [J]. 电子世界, 2020, (19): 88-89. DOI:10.19353/j.cnki.dzsj.2020.19.040.
- Fuzzy Research; Recent Findings in Fuzzy Research Described by Researchers from Huangshan University (Research and Analysis of Intelligent English Learning System Based On Improved Neural Network) [J]. Computers Networks & Communications, 2020, 353-.
- Yin M . Research and analysis of intelligent English learning system based on improved neural network [J]. Journal of Intelligent & Fuzzy Systems, 2020, 39 (2): 1-11.
- 徐天奇,安天圣,毛旭东. 基于Python语言的雷达模拟避碰系统开发 [J]. 航海技术, 2025, (02): 1-4.
- 杨立骁,孙鹏飞,袁博,等. 基于Python的校招网数据分析与可视化系统实现 [J]. 物联网技术, 2025, 15 (06): 129-132. DOI:10.16667/j.issn.2095-1302.2025.06.027.
- 莫立东,王树景,刘剑飞,等. 基于Python的旋转角度识别与定位系统 [J]. 机械工程师, 2025, (03): 127-130.
致 谢
首先,我要感谢我的论文指导老师。在论文完成的整个过程中,指导老师始终给予我无微不至的关爱与指导。在论文写作的过程中,导师那耐心细致的指导,以及提出的具有建设性的意见,都给予了我极大的帮助,让我受益匪浅。导师严谨的治学态度、敬业精神以及高水平的教学能力,都给我树立了追求卓越的典范,这对我以后的人生道路和学业成就都产生了极大的积极影响。
此外,我还要感谢我班的同学们,他们既是我的同窗好友,又是我的良师益友。正是由于你们的支持和关怀,使得我在大学期间的学习和生活都变得异常充实。感谢那些在大学期间给予我帮助的所有老师和同学们,是你们给予了我在学业道路上的前进动力。
当然,我也不能忘记我的父母,是他们用无私的爱抚养我成人。你们的养育之恩我将永生难忘,将来我一定会用我的成绩回报你们。在成长的道路上,我会不断努力,不负众望,用实际行动来回报你们对我的期望。
总之,在这篇论文中,我要感谢所有给予我帮助的人,包括指导老师、同学们、家人和朋友们。是你们的支持与关爱,让我在学术和个人生活中取得了优异的成绩。我会珍惜这份感恩之情,将这份力量用于学习和未来的生活中,不断追求卓越,成为一个更加优秀的人。
请关注点赞+私信博主,免费领取项目源码
2002

被折叠的 条评论
为什么被折叠?



