springboot小型银行客户管理系统
摘 要
小型银行客户管理系统通过利用现代技术手段构建一个高效、智能的客户管理平台,帮助小型银行提升客户服务质量和竞争力。该系统包括客户管理、存款服务、银行卡信息管理、信用卡信息管理、信用卡交易管理、行用卡还款管理、行用卡挂失管理等功能。通过客户信息管理模块,银行可以对客户信息进行集中管理和更新,包括个人的银行卡信息、信用卡信息以及交易还款操作等。满足客户日常金融需求,此小型银行客户管理系统的开发项目采用Springboot技术+MYSQL数据库,就论题的各类需求分析说明做出解释,然后再就网站的总体设计和详细设计做出论述,给出了网站总体结构的搭建方法。
关键词:银行客户管理,Springboot,数据库
Abstract
The small bank customer management system utilizes modern technological means to build an efficient and intelligent customer management platform, helping small banks improve customer service quality and competitiveness. The system includes functions such as customer management, deposit service, bank card information management, credit card information management, credit card transaction management, bank card repayment management, and bank card loss reporting management. Through the customer information management module, banks can centrally manage and update customer information, including personal bank card information, credit card information, and transaction repayment operations. To meet the daily financial needs of customers, the development project of this small bank customer management system adopts Springboot technology and MYSQL database. It provides explanations for various requirements analysis of the topic, and then discusses the overall and detailed design of the website, providing a method for building the overall structure of the website.
Key words:Bank Customer Management, Springboot, database
目 录
第1章 绪 论
1.1课题背景
小型银行客户管理系统的课题背景源于小型银行面临的客户信息管理和服务流程等方面的问题。传统的手工处理方式导致客户信息管理效率低下、易出错,存款和交易流程复杂且耗时,影响了小型银行的客户服务质量和竞争力。为解决这些问题,构建一个高效、智能的客户管理系统成为必要之举。通过开发小型银行客户管理系统,可以实现集中管理客户信息、提供便捷的存款服务、简化银行卡和信用卡管理、实时记录和查询交易信息以及提供个性化的服务等目标。该系统的开发与实施旨在提升小型银行的客户服务质量、运营效率和竞争力,适应当今数字化和信息化的时代需求。
1.2 课题意义
小型银行客户管理系统的开发和实施对于小型银行具有重要的课题意义。传统的手工处理方式导致客户信息管理效率低下、存款和交易流程繁琐,这直接影响了银行的客户服务质量和竞争力。因此,构建一个高效、智能的客户管理系统成为解决这些问题的关键。
该系统的开发和实施将提升小型银行的客户服务质量。通过集中管理客户信息、简化存款和交易流程,实现在线服务和个性化服务,使客户能够享受更加便捷、准确和定制化的金融服务体验。
同时,系统的自动化和智能化特点可以提高小型银行的运营效率。自动化处理客户数据和业务流程,减少手工处理环节,降低出错概率,提高工作效率。简化和自动化的业务流程,如在线办理银行卡和信用卡,加快业务处理速度,优化资源利用。
此外,引入先进技术和数字化手段,如人工智能和大数据分析,也将提升小型银行的竞争力。通过智能化的风险管理和个性化的服务推荐,吸引更多客户并提升市场份额。
最重要的是,该系统的开发和实施将推动金融科技的发展。通过引入现代技术手段,小型银行可以不断创新和应用金融科技,提高自身的竞争力和适应性,为金融行业的数字化转型做出贡献。
综上所述,小型银行客户管理系统的开发和实施对于提升客户服务质量、提高运营效率、增强竞争力以及推动金融科技发展具有重要意义。它将帮助小型银行在数字化时代中保持竞争力,满足客户需求,并实现可持续发展。
1.3研究内容
小型银行客户管理系统的开发及实现需要以下工作内容:首先确定选题,了解系统背景和面临问题;然后根据需求选择合适的技术,如使用Springboot框架和数据库平台进行开发;接着确定用户角色和功能模块设计,划分管理员和用户角色,并定义各自权限和功能;进行程序及界面设计,并通过测试确保完善性;最后进行系统测试,处理漏洞和问题,并上线使用。在整个开发过程中,与用户沟通反馈至关重要,以确保系统满足需求并提供良好用户体验。
2.1 开发技术说明
本论文将使用Springboot技术和MYSQL数据库开发小型银行客户管理系统。Springboot是一种基于Java语言的开源框架,它简化了项目配置、提供内置容器和易于集成的特点,使得系统开发更加高效。同时,我们将采用前端技术来实现用户界面,以提升系统的用户体验。常用的前端技术包括HTML、CSS和JavaScript等。在系统中,Springboot技术将用于后端逻辑和业务处理,包括客户信息管理、存款服务、银行卡信息管理、信用卡信息管理等功能的实现。而MYSQL数据库将用于存储和管理系统数据,如客户信息和交易记录等。通过选择Springboot技术和MYSQL数据库,并结合前端技术,可以确保小型银行客户管理系统的开发效率、系统性能以及用户体验。
2.2 MySQL数据库
MySQL是一种流行的关系型数据库管理系统,具有高性能、可靠性和可扩展性等优势。通过选择MySQL数据库作为系统的数据存储和管理工具,可以满足小型银行客户管理系统对于数据操作的要求。
在系统中,MySQL数据库将用于存储和管理各类数据,包括客户信息、银行卡信息、信用卡信息以及交易记录等。通过合理的数据库设计和优化,可以确保系统数据的完整性、一致性和安全性。
MySQL提供了丰富的功能和工具,如事务处理、索引优化、备份和恢复等,以支持系统的高并发访问和数据的可靠性。此外,MySQL还具备良好的跨平台兼容性,可以在多种操作系统上进行部署和运行。
通过使用Springboot技术和MySQL数据库,我们可以实现系统的后端逻辑和业务处理,并与前端界面相结合,构建一个高效、智能的小型银行客户管理系统。同时,合理地利用MySQL数据库的特性和功能,可以确保系统数据的安全性、稳定性和可扩展性。
总之,选择MySQL数据库作为小型银行客户管理系统的数据存储和管理工具,能够满足系统对于数据操作的要求,并提供高性能、可靠性和可扩展性的支持。
2.3 B/S结构
本论文将采用B/S(Browser/Server)结构来开发小型银行客户管理系统。在B/S结构中,浏览器作为客户端通过HTTP协议向服务器发送请求,并接收服务器返回的HTML、CSS和JavaScript等资源,以呈现用户界面。服务器作为系统的核心部分,负责处理业务逻辑和数据存储。采用B/S结构能够提供良好的用户体验、稳定的业务处理和可靠的数据存储,同时具有灵活性和可扩展性。B/S(Browser/Server)比前身架构更为省事的架构。它借助Web server完成数据的传递交流。只需要下载浏览器作为客户端,那么工作就达到“瘦身”效果, 不需要考虑不停装软件的问题。
2.4 Springboot框架介绍
Springboot是一种基于Java语言的开源框架,旨在简化和加快Spring应用程序的创建和部署过程。它提供了一种快速构建独立、可扩展的企业级应用程序的方式,使开发人员能够专注于业务逻辑的实现而不必过多关注底层配置。
Springboot通过自动配置的方式,大大简化了项目的配置过程。它根据应用程序的依赖和配置文件,自动为应用程序提供默认的配置,减少了开发人员手动配置的工作量。同时,Springboot还提供了一套强大的起步依赖(Starter)机制,通过引入特定功能的起步依赖,可以快速集成各种常用的第三方库和框架,如数据库连接、Web开发、安全认证等。
Springboot内置了常用的Servlet容器(如Tomcat、Jetty),无需额外配置即可进行应用程序的部署和运行。它还提供了一套易于使用的命令行工具,可以快速启动、调试和打包应用程序。
除了简化配置和集成的优点,Springboot还具有良好的健壮性和安全性。它提供了强大的异常处理机制、事务管理、日志记录和安全特性,能够保证应用程序的稳定性和安全性。
总体而言,Springboot框架简化了Spring应用程序的开发和部署过程,提供了快速构建独立、可扩展的企业级应用程序的能力。它的自动配置、起步依赖、内置容器和强大的功能集成机制,使得开发人员能够更加高效地开发出优质的应用程序。
2.5 java语言
Java是一种功能强大、可移植、安全且高性能的面向对象编程语言。它具有平台无关性,可以在不同的操作系统上运行,通过字节码和Java虚拟机实现跨平台性。Java的面向对象特性使代码组织和管理更加方便,提高了代码的可维护性和重用性。它内置了许多安全特性,如内存管理和类型检查,以及安全沙箱机制,保护系统免受恶意代码的攻击。Java通过即时编译和垃圾回收等优化手段实现高性能,同时支持多线程和并发处理。Java拥有庞大的开发者社区和丰富的类库、框架和工具,为开发人员提供了快速构建复杂应用程序的环境。总之,Java是一种广泛应用于企业级应用程序、移动应用程序和互联网开发等领域的首选语言。
第3章 系统分析
3.1 可行性分析
可行性分析的目的是确定系统开发是否有必要,并评估其能否以最小的代价实现。在对小型银行客户管理系统进行可行性分析时,需要从技术、经济和社会三个方面进行详细分析。
3.1.1技术可行性
在技术可行性方面,需要考虑系统在限定时间内能否满足预期功能,是否存在解决不了的问题,以及后期维护的难度。针对该系统的评估表明,已有的技术可以实现项目目标。使用JSP技术实现动态页面,采用低依赖性的设计模式,配合稳定的服务器和高效的数据库,整个系统的运行效率得到了大幅提升。因此,在技术层面上,系统目标的实现是可行的。
3.1.2经济可行性
在经济可行性方面,本系统选择了免费的开源软件作为开发工具和服务器,并且作者独自完成开发,没有团队成本。因此,几乎没有经济成本,具备经济可行性。
3.1.3社会可行性
社会可行性主要包括法律和用户两个方面,下面将从这两方面进行分析。
(1)法律因素
本系统是学习开发所制作的程序,并不用作商业用途,是在根据实际调研的结果结合现有的小型银行客户管理系统后得出的,而且系统制作的全部过程都是在个人的工作电脑中完成的,使用的都是开源和免费的开发环境、分析软件和数据库,不存在侵权问题。
(2)用户可行性
银行需要高效地管理客户信息、办理业务,小型银行客户管理系统能够满足这些需求,集中管理客户信息,简化业务流程,系统提供了便捷的数字化渠道,使银行客户能够随时随地进行交易和查询,大大提高了客户的便利性和灵活性,满足其日常金融服务需求。
3.2系统需求分析
小型银行客户管理系统需要满足以下几个主要需求:
(1)信用卡交易管理:系统应能够监测和记录客户的信用卡交易,并实时检查交易是否超过可用额度。当交易超过可用额度时,系统应自动提醒用户并采取相应的措施,如暂停交易或进行额度调整。
(2)信用卡还款功能:系统应提供在线信用卡还款功能,使用户能够方便地输入还款时间和金额,并进行还款操作。同时,系统应保证安全性和准确性,确保用户的还款信息得到妥善处理和记录。
(3)注册和登录功能:为吸引用户并提高用户留存率,系统应具备注册和登录功能。用户可以通过注册创建账户,并使用账户信息进行登录,以便访问和管理个人信息和服务。
(4)信用卡挂失服务:系统应提供在线信用卡挂失功能,用户可以通过系统报告信用卡丢失或盗用情况,以便及时冻结卡片并防止进一步损失。
(5)管理员功能:系统需要提供管理员功能,管理员可以对系统的各个模块进行管理和监控。管理员可以添加、编辑、删除用户信息,审批信用卡申请,管理系统设置等。
(6)系统安全性和易用性:系统需要具备良好的安全性措施,包括用户身份验证、数据加密等,以保护用户信息的安全。同时,系统应设计简洁、操作便捷,不过于复杂,提供良好的用户体验。
(7)稳定运行:系统应具备稳定的性能和可靠的运行,避免卡顿和故障等问题,确保用户能够流畅地使用系统,提升用户满意度。
综上所述,小型银行客户管理系统需要满足信用卡交易管理、信用卡还款功能、注册登录、信用卡挂失服务、管理员功能、系统安全性和易用性以及稳定运行等需求,以提供优质的客户服务和良好的用户体验。
用户用例图如下所示。

图3-1 用户用例图
管理员用例图如下所示。

图3-2 管理员用例图
3.4 业务流程分析
3.4.1登录流程
登录模块主要满足管理员以及用户的权限登录,用户登录流程图如图3-3所示。

图3-3 登录流程图
3.4.2注册流程
未有账号的用户可进入注册界面进行注册操作,用户注册流程图如图3-4所示。

图3-4 注册流程图
3.4.3添加信息流程
用户在添加信息时,信息编号自动生成,系统会对添加的信息进行验证,验证通过则添加至数据库,添加信息成功,反之添加失败。添加信息流程如图3-5所示。

图3-5添加信息流程图
3.4.4删除信息流程
用户可选择要删除的信息进行信息删除操作,在删除信息时系统提示是否确定删除信息,是则删除信息成功,系统数据库将信息进行删除。删除信息流程图如图3-6所示。

图3-6删除信息流程图
第4章 系统设计
4.1 系统结构设计
目前基于B/S体系的系统主要采用浏览器作为用户访问系统的界面,通过浏览器页面用户可以进入系统。系统会自动处理用户在浏览器页面上发送的请求,这些请求会在系统后台进行处理。用户可以在浏览器页面上进行相应的操作,以获取服务器端传递的处理结果。
小型银行客户管理系统通常采用视图-模型-控制(MVC)三层架构设计。在视图层,系统负责将数据反馈给客户端并显示在浏览器上。视图层主要关注与用户的交互和数据展示。
在模型层,小型银行客户管理系统处理相关的业务逻辑和数据整合。这一层负责对数据进行处理、存储和检索,并执行各种业务规则和计算。
最后,在控制层中,它位于视图和模型之间,主要负责调整两层之间的关系。控制层接收来自视图的请求,将其传递给相应的模型层进行处理,并将处理结果返回给视图层。
通过这样的架构设计,小型银行客户管理系统能够实现数据的传递和处理,并确保数据的准确性和完整性。这种分层的设计使得系统更加模块化和可维护,同时也提高了系统的可扩展性和灵活性。
系统架构图如下图所示:

图4-1系统架构图
4.2系统结构设计
系功能模块的设计就是把系统具体要实现哪些功能,功能如何划分做一个系统的架构,以模块图的方式展示出来,方便我们进行功能得罗列以及涉及。在系统的功能方面,项目分成了管理员+注册用户两个模块,每个模块登录进去对应相应的功能,具体的功能模块图如图3.1所示。
本小型银行客户管理系统结构图如图4-2所示。

图4-2 系统结构图
4.3 数据库设计
数据库可以说是所有软件的根本,如果数据库存在缺陷,那么会导致系统开发的不顺利、维护困难、用户使用不顺畅等一系列问题,严重时将会直接损害企业的利益,同时在开发完成后,数据库缺陷也更加难以解决。所以必须要对数据库设计重点把握,做到认真细致。因此,数据库设计是这个小型银行客户管理系统的重点要素。
系统总体ER图如下图所示:

图4-3系统ER图
4.3.1数据库表设计
将数据库概念设计的E-R图转换为关系数据库。在关系数据库中,数据关系由数据表组成,但是表的结构表现在表的字段上。
表bank_card_information (银行卡信息)
| 编号 | 名称 | 数据类型 | 长度 | 小数位 | 允许空值 | 主键 | 默认值 | 说明 |
| 1 | bank_card_information_id | int | 10 | 0 | N | Y | 银行卡信息ID | |
| 2 | regular_users | int | 10 | 0 | Y | N | 0 | 普通用户 |
| 3 | user_name | varchar | 64 | 0 | Y | N | 用户姓名 | |
| 4 | bank_card_number | varchar | 64 | 0 | Y | N | 银行卡号 | |
| 5 | belonging_bank | varchar | 64 | 0 | Y | N | 归属银行 | |
| 6 | processing_time | date | 10 | 0 | Y | N | 办理时间 | |
| 7 | create_time | datetime | 19 | 0 | N | N | CURRENT_TIMESTAMP | 创建时间 |
| 8 | update_time | timestamp | 19 | 0 | N | N | CURRENT_TIMESTAMP | 更新时间 |
表credit_card_information (信用卡信息)
| 编号 | 名称 | 数据类型 | 长度 | 小数位 | 允许空值 | 主键 | 默认值 | 说明 |
| 1 | credit_card_information_id | int | 10 | 0 | N | Y | 信用卡信息ID | |
| 2 | regular_users | int | 10 | 0 | Y | N | 0 | 普通用户 |
| 3 | user_name | varchar | 64 | 0 | Y | N | 用户姓名 | |
| 4 | card_number | varchar | 64 | 0 | N | N | 信用卡号 | |
| 5 | belonging_bank | varchar | 64 | 0 | Y | N | 归属银行 | |
| 6 | processing_time | date | 10 | 0 | Y | N | 办理时间 | |
| 7 | apply_for_credit_limit | int | 10 | 0 | Y | N | 0 | 办理额度 |
| 8 | available_credit | int | 10 | 0 | Y | N | 0 | 可用额度 |
| 9 | create_time | datetime | 19 | 0 | N | N | CURRENT_TIMESTAMP | 创建时间 |
| 10 | update_time | timestamp | 19 | 0 | N | N | CURRENT_TIMESTAMP | 更新时间 |
表credit_card_loss_reporting (信用卡挂失)
| 编号 | 名称 | 数据类型 | 长度 | 小数位 | 允许空值 | 主键 | 默认值 | 说明 |
| 1 | credit_card_loss_reporting_id | int | 10 | 0 | N | Y | 信用卡挂失ID | |
| 2 | regular_users | int | 10 | 0 | Y | N | 0 | 普通用户 |
| 3 | user_name | varchar | 64 | 0 | Y | N | 用户姓名 | |
| 4 | card_number | varchar | 64 | 0 | Y | N | 信用卡号 | |
| 5 | belonging_bank | varchar | 64 | 0 | Y | N | 归属银行 | |
| 6 | apply_for_credit_limit | int | 10 | 0 | Y | N | 0 | 办理额度 |
| 7 | reporting_lost_time | datetime | 19 | 0 | Y | N | 挂失时间 | |
| 8 | loss_reporting_type | varchar | 64 | 0 | Y | N | 挂失类型 | |
| 9 | lost_notice | text | 65535 | 0 | Y | N | 挂失备注 | |
| 10 | create_time | datetime | 19 | 0 | N | N | CURRENT_TIMESTAMP | 创建时间 |
| 11 | update_time | timestamp | 19 | 0 | N | N | CURRENT_TIMESTAMP | 更新时间 |
| 编号 | 名称 | 数据类型 | 长度 | 小数位 | 允许空值 | 主键 | 默认值 | 说明 |
| 1 | credit_card_payment_id | int | 10 | 0 | N | Y | 信用卡还款ID | |
| 2 | regular_users | int | 10 | 0 | Y | N | 0 | 普通用户 |
| 3 | user_name | varchar | 64 | 0 | Y | N | 用户姓名 | |
| 4 | card_number | varchar | 64 | 0 | Y | N | 信用卡号 | |
| 5 | belonging_bank | varchar | 64 | 0 | Y | N | 归属银行 | |
| 6 | repayment_time | date | 10 | 0 | Y | N | 还款时间 | |
| 7 | repayment_amount | int | 10 | 0 | Y | N | 0 | 还款金额 |
| 8 | create_time | datetime | 19 | 0 | N | N | CURRENT_TIMESTAMP | 创建时间 |
| 9 | update_time | timestamp | 19 | 0 | N | N | CURRENT_TIMESTAMP | 更新时间 |
表credit_card_transactions (信用卡交易)
| 编号 | 名称 | 数据类型 | 长度 | 小数位 | 允许空值 | 主键 | 默认值 | 说明 |
| 1 | credit_card_transactions_id | int | 10 | 0 | N | Y | 信用卡交易ID | |
| 2 | regular_users | int | 10 | 0 | Y | N | 0 | 普通用户 |
| 3 | user_name | varchar | 64 | 0 | Y | N | 用户姓名 | |
| 4 | card_number | varchar | 64 | 0 | Y | N | 信用卡号 | |
| 5 | belonging_bank | varchar | 64 | 0 | Y | N | 归属银行 | |
| 6 | transaction_time | date | 10 | 0 | Y | N | 交易时间 | |
| 7 | transaction_amount | int | 10 | 0 | Y | N | 0 | 交易金额 |
| 8 | transaction_notes | text | 65535 | 0 | Y | N | 交易备注 | |
| 9 | create_time | datetime | 19 | 0 | N | N | CURRENT_TIMESTAMP | 创建时间 |
| 10 | update_time | timestamp | 19 | 0 | N | N | CURRENT_TIMESTAMP | 更新时间 |
| 编号 | 名称 | 数据类型 | 长度 | 小数位 | 允许空值 | 主键 | 默认值 | 说明 |
| 1 | deposit_service_id | int | 10 | 0 | N | Y | 存款服务ID | |
| 2 | service_name | varchar | 64 | 0 | Y | N | 服务名称 | |
| 3 | service_type | varchar | 64 | 0 | Y | N | 服务类型 | |
| 4 | service_tag | varchar | 64 | 0 | Y | N | 服务标签 | |
| 5 | service_time | varchar | 64 | 0 | Y | N | 服务时间 | |
| 6 | service_content | varchar | 64 | 0 | Y | N | 服务内容 | |
| 7 | create_time | datetime | 19 | 0 | N | N | CURRENT_TIMESTAMP | 创建时间 |
| 8 | update_time | timestamp | 19 | 0 | N | N | CURRENT_TIMESTAMP | 更新时间 |
表regular_users (普通用户)
| 编号 | 名称 | 数据类型 | 长度 | 小数位 | 允许空值 | 主键 | 默认值 | 说明 |
| 1 | regular_users_id | int | 10 | 0 | N | Y | 普通用户ID | |
| 2 | user_name | varchar | 64 | 0 | Y | N | 用户姓名 | |
| 3 | user_gender | varchar | 64 | 0 | Y | N | 用户性别 | |
| 4 | user_age | varchar | 64 | 0 | Y | N | 用户年龄 | |
| 5 | examine_state | varchar | 16 | 0 | N | N | 已通过 | 审核状态 |
| 6 | user_id | int | 10 | 0 | N | N | 0 | 用户ID |
| 7 | create_time | datetime | 19 | 0 | N | N | CURRENT_TIMESTAMP | 创建时间 |
| 8 | update_time | timestamp | 19 | 0 | N | N | CURRENT_TIMESTAMP | 更新时间 |
表auth (用户权限管理)
| 编号 | 名称 | 数据类型 | 长度 | 小数位 | 允许空值 | 主键 | 默认值 | 说明 |
| 1 | auth_id | int | 10 | 0 | N | Y | 授权ID: | |
| 2 | user_group | varchar | 64 | 0 | Y | N | 用户组: | |
| 3 | mod_name | varchar | 64 | 0 | Y | N | 模块名: | |
| 4 | table_name | varchar | 64 | 0 | Y | N | 表名: | |
| 5 | page_title | varchar | 255 | 0 | Y | N | 页面标题: | |
| 6 | path | varchar | 255 | 0 | Y | N | 路由路径: | |
| 7 | position | varchar | 32 | 0 | Y | N | 位置: | |
| 8 | mode | varchar | 32 | 0 | N | N | _blank | 跳转方式: |
| 9 | add | tinyint | 3 | 0 | N | N | 1 | 是否可增加: |
| 10 | del | tinyint | 3 | 0 | N | N | 1 | 是否可删除: |
| 11 | set | tinyint | 3 | 0 | N | N | 1 | 是否可修改: |
| 12 | get | tinyint | 3 | 0 | N | N | 1 | 是否可查看: |
| 13 | field_add | text | 65535 | 0 | Y | N | 添加字段: | |
| 14 | field_set | text | 65535 | 0 | Y | N | 修改字段: | |
| 15 | field_get | text | 65535 | 0 | Y | N | 查询字段: | |
| 16 | table_nav_name | varchar | 500 | 0 | Y | N | 跨表导航名称: | |
| 17 | table_nav | varchar | 500 | 0 | Y | N | 跨表导航: | |
| 18 | option | text | 65535 | 0 | Y | N | 配置: | |
| 19 | create_time | timestamp | 19 | 0 | N | N | CURRENT_TIMESTAMP | 创建时间: |
| 20 | update_time | timestamp | 19 | 0 | N | N | CURRENT_TIMESTAMP | 更新时间: |
第5章 系统实现
5.1用户功能模块
小型银行客户管理系统,在用户后台首页界面可以查看存款服务管理、银行卡信息管理、信用卡信息管理、行用卡交易管理、行用卡还款管理等内容,如图5-1所示。

图5-1用户后台首页界面图
用户登录,在用户登录页面通过填写用户账号、密码信息完成用户登录,如图5-2所示。

图5-2用户登录界面图
登录关键代码如下所示:

个人信息,在此页面可以对用户的个人信息进行修改重置等,如图5-3所示。

图5-3个人信息界面图
信用卡交易信息,在此页面中一旦用户的信用卡交易金额超过额度,系统将提醒超额信息,无法完成交易操作,如图5-4所示。

图5-4信用卡交易信息界面图
信用卡交易信息关键代码如下所示:

银行卡信息,在此页面中用户可以查看银行卡信息的具体情况,如图5-5所示。

图5-5银行卡信息界面图
信用卡信息,在此页面中用户可以查看信用卡信息详情等,如图5-6所示

图5-6信用卡信息界面图
信用卡信息关键代码如下所示:

5.2管理员功能模块
管理员登录,通过填写注册时输入的用户名、密码、角色、验证码进行登录,如图5-7所示。

图5-7管理员登录界面图
管理员登录进入小型银行客户管理系统可以查看首页、系统用户、存款服务管理、银行卡信息管理、信用卡信息管理、信用卡交易管理、信用卡还款管理、信用卡挂失管理等,如图5-8所示。

图5-8管理员功能界面图
存款服务管理,在存款服务管理页面中管理员可以对存款服务详情进行增删改查操作,对存款服务信息进行维护管理等操作,如图5-9所示。

图5-9存款服务管理界面图
银行卡信息管理,在银行卡信息页面中可以对用户的银行卡进行增删改查操作,如图5-10所示。

图5-10银行卡信息管理界面图
银行卡信息管理关键代码如下所示:

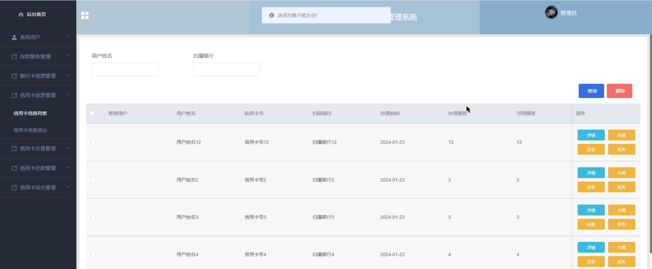
信用卡信息管理,在信用卡信息管理页面中可以对用户的信用卡进行增删改查,如图5-11所示。

图5-11信用卡信息管理界面图
信用卡信息管理关键代码如下所示:

用户管理,对用户信息进行维护管理,如图5-12所示。

图5-12用户管理界面图
用户管理关键代码如下所示:

管理员在信用卡挂失管理界面,可以对用户的信用卡挂失信息进行查看,对挂失进行处理。如图5-13所示。

图5-13信用卡挂失管理界面图
信用卡挂失管理关键代码如下所示:

第6章 软件测试
测试是软件开发过程中的最后一个阶段,它对软件的开发质量进行检测,确保其符合设计者的初衷,并为程序的正式上线提供最后一道质量检测。
软件测试的主要目的是通过控制各种条件,包括软件输出方式、使用模式和运行环境等,来评估一个系统或应用是否符合设计标准。在测试过程中,我们有意地制造错误和极端条件,而不仅仅依照正常模式运行。这样可以更全面地测试系统的稳定性、安全性和可靠性,以及其在不同情况下的表现。
通过测试,我们可以发现潜在的问题和缺陷,修复错误并改进软件的功能和性能。测试还可以验证软件是否满足用户需求和预期,确保软件能够在实际使用中达到预期的效果。
在软件测试过程中,我们使用各种测试方法和技术,如黑盒测试、白盒测试、自动化测试等,以覆盖尽可能多的测试场景和情况。这样可以有效地发现潜在的问题,并提高软件的质量和可靠性。
6.1软件测试的重要性
只有经过大量测试的软件,在运行和维护阶段之前,才能证明其质量经得起检验。近年来,计算机业界普遍认为,测试应该贯穿软件设计的每个阶段,因为越早发现错误,修复就越容易。
实际上,对于任何一个软件应用来说,错误都是不可避免的。无论使用何种技术或手段,都无法完全消除软件漏洞。测试与软件开发是同时发展和进步的。事实上,测试可以极大地降低维护成本。如果在开发的早期发现了一个漏洞,那么修复它的成本远低于在上线后再进行修复。
通过在软件设计的各个阶段进行测试,可以尽早发现潜在的问题和缺陷。这样可以及时进行修复,并提高软件的质量和可靠性。此外,测试还有助于验证软件是否满足用户需求和预期,确保软件能够在实际使用中达到预期的效果。
因此,测试的重要性在软件开发过程中日益凸显。通过早期的测试,可以提前发现和解决问题,从而降低维护成本并提高软件的质量。测试与软件开发相辅相成,共同推动软件行业的进步和发展。
6.2测试实例的研究与选择
本系统主要采用黑盒测试,少量使用白盒测试。通过检查功能模块运行、接口输入输出、数据结构和性能需求等方面的测试,确保系统的正常运行、数据流通稳定可行,并满足预期的性能要求。黑盒测试方法可以全面检查系统功能和用户体验,而白盒测试则用于验证代码逻辑和质量。综合使用这两种测试方式,提高测试覆盖率和准确性,确保软件质量。
本系统的测试用例(部分):
| 登录部分测试用例 | |||||
| 编号 | 对象 | 项目 | 操作 | 预期结果 | 结果 |
| 1 | 登录 | 登录提示 | 使用正确的账号密码登录 | 成功登录 | 预期结果 |
| 2 | 登录提示 | 使用正确的账号但错误的密码登录 | 提示密码错误 | 预期结果 | |
| 3 | 登录提示 | 使用错误的账号登录 | 提示不存在账户 | 预期结果 | |
| 4 | 登录提示 | 不输入账号,点击登录 | 提示输入账号 | 预期结果 | |
| 5 | 登录提示 | 输入账号但不输入密码点击登录 | 提示输入密码 | 预期结果 | |
| 6 | 登录入口 | 已登录账号,查看登录入口 | 不显示登录入口 | 预期结果 | |
6.3测试环境与测试条件
处理器:Inter Core I7-4710MQ四核处理器
内存:4GB
硬盘:1T
操作系统:Windows 10
数据库:MySQL
6.4系统运行情况
全部测试用例都已通过(包括但不限于以上测试用例),且不存在漏洞,实现了论文开始时所作要求。本系统运行稳定,使用流畅,可以满足用户 需求。
6.5系统评价
6.5.1系统功能评价
试运行后进行系统评估,可以认为该系统达到预定的目标要求,可以满足用户的需求,也满足了系统开发前所作目标。
6.5.2系统技术评价
系统在经过大量重复测试后运行十分稳定,安全实用,功能模块已经达到预定目标所需。
6.5.3系统经济评价
在规定的时间内实现系统的大部分功能,且满足要求,节省开发成本,有助于提高科学管理水平,符合本人经济情况。
第7章 总结
随着现代计算机和网络技术的迅速发展,传统的银行客户管理模式在新时代背景下暴露出许多问题。为了解决这些问题,我们开发并建立了一套适合小型银行实际需求的客户信息管理系统。
在本系统的设计和开发过程中,我们进行了大量的准备工作,并阅读和学习了许多文献资料。从中,我们获得了宝贵的方法和设计思路,对系统的开发起到了重要的指导作用。在技术选型方面,我们选择了自己熟悉的Web、Java技术和MYSQL数据库。这些技术都是我们在之前的学习中掌握的,而其中许多设计思路和方法则是通过不断学习和摸索积累的经验。虽然项目的工作量较大,但正是由于之前的积累和准备,才能够顺利地完成这个系统。因此,我们认识到积累经验和做好准备的重要性。
当然,在该系统的设计与实现过程中,离不开老师和同学们的帮助。正是由于他们的指导与帮助,我才能够按时完成这个系统。同时,在这个过程中,我也收获了很多经验和知识。虽然系统仍有改进的空间,但由于专业知识有限,无法达到完美。希望将来有机会能够让该系统真正投入使用,并不断改进和完善。
参考文献
[1]吴伶琳. 基于SpringBoot的客户关系管理系统设计与实现 [J]. 无线互联科技, 2023, 20 (24): 60-62.
[2]Zheng L ,Wang J ,Wang H . Design and Implementation of WEB-based Multi-entry Face Recognition Customer Management System [J]. Advances in Computer, Signals and Systems, 2023, 7 (11):
[3]Ioan A R ,Luminița N . Customer Relationship Management. Websites Analysis of the Top Ten Consumer Goods Companies [J]. Management Dynamics in the Knowledge Economy, 2023, 11 (4): 352-371.
[4]宋一哲. 民生银行济南分行零售客户关系管理优化研究[D]. 山东财经大学, 2023.
[5]严敏芳. A银行客户分层营销管理优化研究[D]. 吉林大学, 2023.
[6]李逻斌. 农村中小银行提升客户管理效能探讨 [J]. 当代县域经济, 2023, (08): 99-101.
[7]薛楠. 商业银行客户关系管理优化策略研究——以B银行为例 [J]. 企业改革与管理, 2023, (11): 46-47.
[8]武依莎. NQ县农村信用合作联社大客户关系管理研究[D]. 河北地质大学, 2023.
[9]王一鸣. SJ银行客户开发与管理问题研究[D]. 沈阳理工大学, 2023.
[10]孔雅楠. 农业银行GS分行机构客户关系管理策略优化研究[D]. 兰州大学, 2023.
[11]俞旭峰. N银行企业客户关系管理系统优化设计研究[D]. 吉林大学, 2022.
[12]张晏铭. G银行私人银行业务客户关系管理改善研究[D]. 吉林大学, 2022.
致 谢
在编写Spring Boot小型银行客户管理系统的过程中,我想要向许多人表达我的衷心感谢。
首先,我要感谢我的指导老师。他们在整个项目期间给予了我宝贵的指导和支持。他们分享了他们丰富的经验和知识,不断鼓励和激励我,帮助我克服困难并取得进展。
其次,我要感谢我的同学们。我们在这个项目中一起协作,共同解决问题,相互支持和帮助。他们的合作精神和积极性为项目的成功做出了重要贡献。
我还要感谢开源社区和各种技术论坛,他们提供了大量有价值的资源和指南,帮助我解决了许多技术难题。
最后,我要感谢我的家人和朋友们。他们一直对我给予支持和理解,鼓励我继续努力并完成这个项目。他们的支持和鼓励是我坚持下去的动力。
在编写这个小型银行客户管理系统的过程中,我学到了很多新的知识和技能,也体会到了团队合作的重要性。这个项目的成功离不开各位的帮助和支持。再次感谢大家!
请关注点赞+私信博主,免费领取项目源码
4871

被折叠的 条评论
为什么被折叠?



