对等网【人类最早的网络】------变大---无限的传输距离 单播 无冲突 -----网桥----交换机 (工作在介质访问控制层)----识别MAC地址--------有记录则单播 无记录则泛洪(泛洪区域)----路由器---CISC思科-----网络层 【这一切的行为都是为了增大网络达到当今互联网的程度】
目录
Ⅰ.OSI七层模型
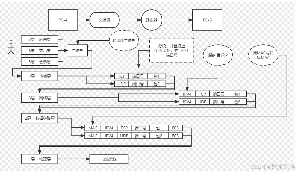
1.1 应用层
提供网络服务和接口--------【人机交互,将人的语言变成编码】
1.2 表示层
处理数据格式转换、加密解密等-------【编码转化为二进制】
1.3 会话层
提供话会号(同软件不同进程)
装/解封装
1.4 传输层
1.分段
收到二层MTU值的限制(MTU:最大传输单元 默认1500字节)
2.提供端口号 TCP/UDP
端口号:0-65535
1-1023为注明端口 1024-65535为高端口/动态端口
2.1 TCP/IP协议簇/模型


2.2 TCP------传输控制协议 面向连接的可靠协议
在完成传输层的基本工作的同时,还需要保证数据的完整性面向连接------3次握手及4次挥手
建立端到端的虚链路



SYN=告知自身状态,并发起一次链接
ACK=确认 RST=重连 TCP=严重错误且重连 FIN=断开链接 PSH=加急接收 URG=紧急指针
可靠性:4中可靠性机制 确认 排序 重传 流控(窗口滑动)

TCP的分段 以及 IP的分片
IP的分片:收到二层MTU值的限制
TCP:mss值 基于双方的MTU进行协商

2.3 UDP-------用户数据报文协议-----非面向连接的不可靠协议
仅完成传输层的基本工作


1.5 网络层
互联网协议
负责数据包的路由和转发---------【IP地址(逻辑地址)】
1.ARP协议
ARP协议:地址解析协议-------通过一种地址找到另一种的地址的协议
ARP的工作原理: ARP先通过广播发送ARP请求包,所有收到广播包的设备均将数据包中的源IP于源MAC地址的映射关系记录在本地的ARP缓存表中,之后查看目标地址,若不是自己则丢弃,若是自己,则以单播的形式回复ARP回复包,在之后的信息传输中,将优先查看本地的ARP缓存表,若存在记录则直接调用即可,若不存在,则使用ARP获取。
广播:强迫交换机进行泛洪的行为
广播----广播域 泛洪-----泛洪区域
注意:广播域等于泛洪域,广播行为不等于泛洪行为
免费ARP/无故ARP:用于验证地址冲突
MAC地址表老化时间:300S
ARP缓存表老化时间:180s
2.TTL值:生存周期
当数据包每通过一台路由器,默认TTL值减1,当TTL值为0时,默认不在转发该数据。
255 128 64
以太网Ⅱ型帧

Preamble 前导符
Destination Address 目标地址
Source Address 源地址
Type 类型字段
Date 数据 Fcs校验核
封装/解封装
1.6 数据链路层:介质访问控制层MAC+逻辑链路层LLC
操控算盘的人 【驱动硬件】:交换器
逻辑链路层LLC
对数据进行校验,保障数据完整性,同时会增加FCS(校验帧序列)。
1.7 物理层
负责数据的物理处理【处理的硬件】
PDU:协议数据单元
应用层:数据报文
传输层:数据段
网络层:数据包
数据链路层:数据帧
物理层:比特流
Ⅱ. tcp中的应用层(应,表,会)有的协议

2.1 HTTP tcp 80 超文本传输协议
2.2 HTTPS (HTTP+SSL) tcp 443. 安全传输协议
2.3 FTP tcp 21/20 文件传输协议
2.4 TFTP udp 69 简单文件传输协议
2.5 Telnet tcp 23 远程登录协议
2.6 Dns ucp/tcp 53 域名解析协议
因特网上作为域名和IP地址相互映射的一个分布式数据库,能够使用户不用记忆IP地址,只需要记忆域名即可达到访问IP地址的目的。通过主机域名解析为IP地址的过程就叫做域名解析。
DNS协议运行于UDP协议之上(TCP也存在),使用端口号为53
典型的C/S架构的协议
DNS服务器; DNS客户端
正向解析:根据主机域名找IP;反向解析:根据IP地址找主机域名

2.7 DHCP udp 67/68 动态主机配置协议
动态主机配置协议-----UDP协议67/68端口
典型的C/S架构
DHCP-服务器----68;DHCP-客户端-----67
第一种:初次获取IP地址的情况
1.DHCP客户端像DHCP服务器去要地址:
DHCP-discover 广播形式去要地址:源IP:0.0.0.0 目标IP:255.255.255.255 源MAC:自己 目标MAC:全F 用于发现谁是DHCP服务器
2.DHCP服务器向DHCP客户端发送: DHCP-offer 会携带一个临时有效的IP地址,供DHCP客户端使用 单播/广播(厂商不同,行为方式不同)
3.DHCP客户端向DHCP服务器发送:DHCP-request 广播 “类似于该IP我使用了”
4.DHCP服务器向DHCP客户端发送:DHCP--ACK包
“确认收到”
第一种:再次获取
1.DHCP客户端向DHCP服务器发送:DHCP-request 单播
“我还想请求之前的IP地址”
①DHCP服务器向DHCP客户端发送:DHCP--ACK包
“ok,你继续拿着用”
②DHCP服务器向DHCP客户端发送:DHCP--NAK包
“表示拒绝”
租期:24h
T1:租期50%---12h DHCP客户端向DHCP服务器发送:DHCP-request包 单播“我要续租”
T2:租期的87.5%---21h DHCP客户端向DHCP服务器发送:
DHCP-request包 广播 “我要续租”
DHCP配置:
开启DHCP 配置DHCP地址池 调用
[R1]dhcp enable 开启DHCP服务
[R1]ip pool AA 创建IP地址池 命名为AA
[R1-ip-pool-AA]network 192.168.1.0 mask 24 在该地址池中 放入 192.168.1.0/24 网段
[R1-ip-pool-AA]gateway-list 192.168.1.1 定义该地址池中的网关为 192.168.1.1
[R1-ip-pool-AA]dns-list 8.8.8.8 114.114.114.114 将dns服务器地址写入该地址池
[R1-GigabitEthernet0/0/0]dhcp select global 在该接口处调用DHCP全局服务
查看本地IP地址
Ⅲ.最早人们怎样计算机网络范围变大
计算机网络的概念:是一种将多个计算机系统和设备连接在一起的技术
3.1 距离延长
中继器:只能单纯的在物理层面施加电压
网线【RJ-45双绞线 】 最长100M
3.2 节点增加
1.解释拓扑,节点及关系
最早的连接方式,拓扑增加连接人数
直线型拓扑/总线型拓扑:是一种简单的网络结构,所有设备通过一条主干线(总线)连接。每个设备都可以直接访问总线上的数据,但只允许一个设备在任一时刻发送数据。总线型拓扑安装成本低,但当总线发生故障时,整个网络会瘫痪。
环形拓扑;树形拓扑:设备形成一个环形结构,每个设备连接到两个邻近的设备。数据在环上以单向或双向传输,每个设备负责传递数据。环型拓扑的数据传输效率高,但如果一个设备或连接点出现问题,可能会影响整个网络的通信。
波环型拓扑/全网装拓扑:是一种高度冗余的结构,每个设备都有多个连接路径。网状拓扑提供了高可靠性和容错能力,因为数据可以通过多条路径传输,即使某个连接失败,网络仍能正常运行。但这种结构安装和维护成本较高。
星型拓扑:星型拓扑是目前最常用的拓扑结构之一。所有设备都连接到一个中央设备(如交换机或集线器)。中央设备负责管理数据传输,并将数据发送到目标设备。星型拓扑易于管理和扩展,但如果中央设备故障,整个网络将无法工作
节点,连接拓扑的【最早】机器----HUB集线器
2.HUB集线器一生需要解决的大麻烦
①地址:必须唯一;格式相同
2.1 IP地址
IPV4地址
32位二进制构成 存在网络位和主机位的区分,网络位用于标定所在范围,主机位用于标定该节点在所在范围内的编号,选用点分十进制显示,为了方便人看,采取8位一分的方式。
二进制 十进制
00000001 1
00000010 2
00000100 4
00001000 8
00010000 16
00100000 32
01000000 64
10000000 128
eg·····192.168.1.1
11000000.10101000.00000001.00000001
IPV4详解
存在ABCDE五类:
ABC单播地址----既可以作为源IP使用 也可以作为目标IP使用,每一个单播地址都代表着网络中的一个唯一节点,只有单播地址可以作为源IP使用。
D类地址-----只能当做目标地址使用
E类地址----保留地址
基于IP地址的第一组8位进行分类:
A类地址:1-126 默认前8位为网络位
B类地址:128-191 默认前16位为网络位
C类地址:192-223 默认前24位为网络位
D类地址:224-239 不分网络位和主机位
E类地址:240-255
2.2 特殊地址:
- 一:127 环回地址 127.0.0.1-----127.255.255.255
- 用于排错的历程分析
- 二:255.255.255.255 受限广播地址
- 三:主机位全0 192.168.1.0/24
- 不是单播地址 代表着一个网段 192.168.1.0/24网段 192.168.1.1
- 四:主机位全1 192.168.1.255/24 不是单播地址 直接广播地址
- 五:0.0.0.0--------即代表没有地址,也代表所有地址
- 六:169.254.0.0/16 本地链路地址,自动私有地址
2.3 子网掩码
由32位二进制构成,点分十进制显示,一定是由连续的1和连续的0构成,且连续的1对应网络位,连续的0对应主机位。
eg·····192.168.1.1 255.255.255.0
11000000.10101000.00000001.00000001
11111111.11111111.11111111.00000000
eg·····192.168.2.1 255.255.255.0 .
11000000.10101000.00000010.00000001
11111111.11111111.11111111.00000000
eg······192.168.1.1 255.255.240.0
11000000.10101000.00000001.00000001
11111111.11111111.11110000.00000000
子网划分【VLSM-----可边长子网掩码】
主旨:借位。【二进制,只有0,1】
一个网段的主机数范围:主机位全0----主机位全1
192.168.1.0/24 有0~255个共266个 分成两个网段
11000000.10101000.00000001.00000000
11111111.11111111.11111111.00000000 【最后的八位全变成1需要266个】
解:
11000000.10101000.00000001.00000000 192.168.1.0/25
11111111.11111111.11111111.10000000 128个【0~127】
11000000.10101000.00000001.11111111 192.168.1.128/25
11111111.11111111.11111111.10000000 128个 【0~127】
【例题】192.168.1.0/24 划分为4个子网
11000000.10101000.00000001.00000000 192.168.1.0/26
11111111.11111111.11111111.11000000
192.168.1.0/26---------192.168.1.63/26 62【0~62】
11000000.10101000.00000001.01000000 192.168.1.64/26
11111111.11111111.11111111.11000000
192.168.1.64/26--------192.168.1.127/26 62
11000000.10101000.00000001.10000000 192.168.1.128/26
11111111.11111111.11111111.11000000 62
192.168.1.128/26-------192.168.1.191/26
11000000.10101000.00000001.11000000 192.168.1.192/26
11111111.11111111.11111111.11000000 62
192.168.1.192/26------192.168.1.255/26
【例题】172.16.0.0/15 划分为4个子网 且 写出可用主机范围
172.00010000.00000000.00000000
255.11111111.10000000.00000000
172.16.0.1/17--------172.16.127.254
172.00010000.10000000.00000000
255.11111111.10000000.00000000
172.16.128.1/17-----------172.16.255.254
172.00010001.00000000.00000000
255.11111111.10000000.00000000
172.17.0.1/17-----------172.17.127.254/17
172.00010001.10000000.00000000
255.11111111.10000000.00000000
172.17.128.1/17------172.17.255.254/17
2.4 子网汇总 【无类域间路由------CIDR】
主旨: 取相同位 去不同位
【例】:192.168.0.0/24 192.168.00000000.00000000
192.168.1.0/24 192.168.00000001.00000000
192.168.2.0/24 192.168.00000010.00000000
192.168.3.1/24 192.168.00000011.00000000
192.168.00000000.00000000
192.168.0.0/22
【例】:172.16.33.0/24 172.16.00100001.0
172.16.44.0/24 172.16.00101100.0
172.16.55.0/24 172.16.00110111.0
172.16.63.0/24 172.16.00111111.0
172.16.00100000.0 172.16.32.0/19
2.5 ip地址的命名,前期工作
<Huawei> 用户视图 仅具有查询权限
<Huawei>display ip interface brief 查询接口IP表
<Huawei>system-view 进入系统视图
[Huawei] 系统视图 系统视图下可进行部分配置
?---------在当前视图下/在当前命令下 后续可接的命令有哪些
[Huawei]sysname R1 更改系统名称为R1
Tab------自动补全命令
[R1]interface GigabitEthernet 0/0/0 进入接口g 0/0/0
[R1-GigabitEthernet0/0/0]ip address 192.168.1.1 255.255.255.0 在该接口处配置IP地址为 192.168.1.1/24
display this 查看当前视图下的所有配置
Quit-----返回上一层视图
<R1>save 保存
[R1]display ip routing-table 查询路由表
Sy
回车
Sy。Tab,,名字
等一堆
In+tab===interface
In….空格g&e 0/0/0
Ip ad+tab====address 192.168.1.1 24
【左面的网端就命名好了】
Qu+tab
Interface g 0/0/0
IP ad+tab 192.168.2.1 24
【右边就好了】
----------------------------------------------------------------------------------
Qu+tab
Save
Y
回车
【保存】
2.6 物理地址/MAC地址
48 位二进制构成 以16进制显示 出厂即烧录(网卡)
MAC地址与IP地址的区别
层次不同:MAC地址用于数据链路层,IP地址用于网络层。
作用不同:MAC地址标识网络接口,IP地址标识网络位置。
范围不同:MAC地址在局域网中唯一,IP地址在整个互联网中唯一。
②冲突
相似电流会互相吸引碰撞随后抵消 。解决方案:CSMA/CD【载波侦听多路访问/冲突检测】=排队
机制解析:
- 首先使用监听功能,当发现有消息在传递时,停止自身消息发送,并进行监听,随时准备进入下一阶段。
- 当前消息发送完成后,立刻发送自身消息
- 当消息相撞时,会给彼此发送一个阈值,因为阈值是随机的,随意一定会有大小之分,当阈值为0时,再次发送自身消息。
结论:延时被大大增加
Ⅳ.现在人们怎么样实现无限的传输,距离没有冲突,形成单播
交换机【网桥】
交换机的工作原理:
当数据帧进入交换机后,交换机会优先记录该数据帧中的源MAC地址与进入接口的映射关系于本地的MAC地址表中,随后查看目标MAC地址,若在本地MAC地址表中存在记录则直接单播即可,若不存在记录,则执行泛洪。
总结:识别MAC地址,有记录单播,无记录泛洪
泛洪:一对多传播。向除了进入接口以外的所有接口进行发送。
单播:一对一传播。

路由器的每一个接口都是一个泛洪范围的终点
速率公式:(宽带/8)85%
Ⅴ.路由器
5.1 路由器是如何工作的:
当数据包来到路由器时,路由器会根据目标IP地址查询本地的路由表,若存在记录则无条件转发,若不存在记录则无条件丢弃。
1.若PC1意图与PC2联系,在已知IP地址的情况下,进行子网掩码的判断,若在同一个广播域,则直接发送ARP请求获取对端MAC地址,随后单播即可。
2.若PC1意图与PC3联系,在已知IP地址的情况下,进行子网掩码的判断,若不在同一个广播域,则保留源IP目标IP源MAC的情况下,封装目标MAC为自己的网关,发送至路由器处,路由器接收到后,会根据目标IP查询本地的路由表,若存在记录则按照记录无条件转发,因为路由器在网络层工作,所以路由器可以识别IP地址,在重新转发的过程中,将会更改源MAC地址为转发网段的网关。若不存在,则直接丢弃。


5.2 路由器的静态路由:
尤管理员手写的路由条目;路由器与路由器之间的链路我们称之为骨干链路(总线链路),一般是不配置任何PC端的。
下一跳判断:1.方向正确 2.必须在直接连接的网段范围内
第一种:[R1]ip route-static 192.168.3.0 24 192.168.2.2
静态路由:目标网段为192.168.3.0/24 下一跳为192.168.2.2
第二种:[R2]ip route-static 192.168.1.0 24 GigabitEthernet 0/0/0 192.168.2.1
同上(增加定义流量出方向的接口)
在静态路由的选路原则中,一律选择最短路径
Pre:优先级 --当两条路由条目均能到达同一目标网段时,仅加载优先级较高的路由条目进入路由表中。
注意:优先级的数值越大,优先级越低。
[R2]display ip routing-table 查询路由表
[R2]display ip routing-table protocol static 查询由静态路由生成的路由表
扩展配置:
1.负载均衡
当路由器访问同一个目标具有多条开销相似的路径时,可以让设备将流量拆分,随后延多条路径同时发送,已达到叠加带宽的目的。
2.环回接口
路由器配置的虚拟接口,一般用于测试,不需要设备支持。
[Huawei]interface LoopBack 0 进入环回接口,该接口编号为0
[Huawei]ping -a 192.168.1.1 192.168.2.1 指定一个IP地址去ping另一个IP地址
3.手工汇总
当路由器可以访问多个连续的子网时,若均通过相同的下一跳,则可以将这些网段进行汇总计算,之后仅编辑汇总后的网段的静态路由即可达到减少路由条目,提高转发效率的目的。
4.路由黑洞
在汇总中若包含实际不存在的网段,可能会使去往该网段的数据包有去无回,造成链路资源的浪费。(黑洞路由器:谁在丢弃数据包吗,谁就是黑洞路由器)
5.缺省路由
一条不限定目标网段的路由条目;在查表时若本地路由均不匹配,则将匹配缺省路由。
[Huawei]ip route-static 0.0.0.0 0 12.1.1.2
特征:一旦黑洞路由器与缺省路由相遇,将会百分之百形成路由环路
6.空接口路由
在黑洞路由器上配置一条到达汇总网段且指向空接口的路由。
1.空接口:null 0 ------垃圾箱
2.路由表的匹配原则:精确匹配原则/最长匹配原则
[Huawei]ip route-static 192.168.0.0 22 NULL 0 将该路由指向null0 接口
7.浮动静态路由
[Huawei]ip route-static 192.168.1.0 24 12.1.1.2 preference 61 定义该理由条目优先级为61
全网通:让全网所有的路由器都拥有全网所有的网段信息。
5.3路由器的动态路由:
所有路由器上均运行同一种动态路由协议,之后通过路由器间自行协商,最终得出路由条目加载于路由表中。
3.1动态路由协议的分类:
基于AS进行的分类---IGP内部网关协议 EGP外部网关协议
AS:自治系统 标准编号:0-65535 (1-64511公有范围 ;64512-65535私有范围)
第一个—AS之内:IGP内部网关协议 RIP OSPF EIGRP ISIS
IGP内部网关协议的分类:
- 基于更新时是否携带掩码
有类别----------更新时不携带掩码
无类别----------更新时携带掩码
- 基于工作特点的分类
①DV--距离矢量型协议 以跳数作为开销 邻居间共享路由表
②LS--链路状态型协议 邻居间共享拓扑信息
第二个—AS之外:EGP外部网关协议 BGP
3.2IGP的内部网关协议
RIP---路由信息协议/距离矢量型协议
1.基于UDP的520端口
2.使用跳数作为开销/度量值
3.周期更新和触发更新
周期更新的意义:
1.保活 (每隔30s发送一次,一共发送6次)
2.没有确认机制
RIP的破环机制:
水平分割---------从此口入不从此口出(只能在直线型拓扑中避免环路出现,其主要作用是控制重复更新)
2.最大跳数:15跳 16跳路由器将不在转发该数据包
3.触发更新:毒性逆转水平分割 (大于等于16)
(4.抑制计时器 )
4.V1/V2/NG 三个版本 NG版本适用于IPV6
V1版本和V2版本的区别
一:V1为有类别路由协议-------更新时不携带掩码
V2为无类别路由协议
二:V1是广播更新:255.255.255.255
V2是组播更新:224.0.0.9
三:V2支持手工认证 (通讯会被加密,增加安全性)
V1版本的配置:
[R1]rip 1 启动时需要定义进程号,默认为1,仅具有本地意义
[R1-rip-1]version 1 定义使用V1版本
宣告:只能进行主类的宣告 基于宣告的主类网段 找到属于该网段的接口
- 激活接口--收发RIP信息 2.该接口的信息可以共享给邻居
身上有那些东西,就宣告那些东西
[R1-rip-1]network 1.0.0.0 只能宣告其所在主类
RIP V2
[R1]rip 1 定义进程号
[R1-rip-1]version 2 选择版本2
[R1-rip-1]undo summary 关闭自动汇总 若不关闭自动汇总,RIPV2将会使用主类长度的掩码来发送路由,关闭自动汇总后,将携带接口精确掩码进行路由发送。
二:RIP 的扩展配置
- RIP V2 的手工汇总
[R6]interface g 0/0/0 从那个接口宣告出去的,从那个接口做汇总
[R6-GigabitEthernet0/0/0]rip summary-address 1.1.0.0 255.255.252.0 在该接口上进行子网汇总
- RIP V2 的手工认证-----在两台运行RIP协议的邻居路由器之间进行配置,让两台邻居设备发出的数据中携带核验身份的密钥,也可同时对传输的路由信息进行加密。
[R6-GigabitEthernet0/0/0]rip authentication-mode md5 usual cipher 123456 在该接口上 进行关于RIP 的认证,其认证模式为md5 密码为123456
- 被动接口----仅接受不发送路由信息,仅限于连接用于PC端的接口使用,不得用于路由器之间的接口,否则将导致无法正常发送路由信息。
[R6-rip-1]silent-interface g 0/0/1 设置该接口为沉默接口/被动接口
- 加快收敛----修改计时器
30s更新 180s失效 180s抑制 300s刷新
- 认为修改计时器可以一定成度的加快收敛过程,但是不易修改的过小。
- 尽量维持原有的倍数关系
- 全网所有设备计时器需要修改一致
(不要去修改计时器)
在华为模拟器中,不可修改抑制计时器
[R6-rip-1]timers rip 30 180 300
更新 失效 刷新
- 缺省路由------在边界路由器上,进行RIP的缺省配置后,该设备将向内部运行RIP协议的路由器发送缺省更新,使得内部所有的RIP设备自动生成缺省路由,下一跳指向边界路由器方向。
[R8-rip-1]default-route originate 下发缺省路由

OSPF:开放式最短路径优先协议
1.距离矢量型协议:运行距离矢量路由协议的路由器周期性的泛洪自己的路由表。通过路由的交互,每台路由器都从相邻的路由器学习到路由,并且加载于自己的路由表中;对于网络中的所有路由器而言,路由器并不清楚网络的结构,只能简单的知道要去往某个地方方向在哪里,距离是多远。这既是距离矢量型协议的本质。
2.链路状态型协议:与距离矢量型协议不同,链路状态路由协议通告的是链路状态而不是路由表。运行链路状态型协议的路由器之间会首先建立一个协议的邻居关系,然后彼此之间开始交互LSA(链路状态通告)。每台路由器都会产生自己的LSA。路由器将自己接收到的LSA信息存储于本地的LSDB(链路状态数据库)中。路由器通过LSDB便掌握了全网的拓扑信息。最后,路由器将计算出的最优路径加载于本地的路由表中。
链路状态型协议流程图总结:




ofps的特征:
- 1.支持等开销负载均衡
- 2.基于组播进行更新 224.0.0.5 224.0.0.6
- 3.支持触发更新 ; 每30min周期更新一次 ;Ospf的保活-----10s更新包(hello包)
- 4.需要结构化的部署---区域划分 地址规划 相同区域传拓扑,不同区域传路由。
区域划分的规则:
- 1.星型结构 骨干区域为0区,大于0为非骨干区域,所有非骨干区域必须接入到骨干区域上
- 2.ABR----域间路由器 两个或多个区域相邻时,必须存在ABR设备。 ABR设备(同时工作在两个或多个区域)
Router-ID(用于在一个OSPF域中唯一的标识一台路由器)
RID(Router-ID)的设定可以已通过手工配置的方式,或者使用系统自动生成的方式。 (配置RID时,建议使用手工配置)
定义RID值,建议使用IP地址;要是不手工配置,将会自动配置环回的最大数值,若没有环回,则选择物理接口的最大数值。
COST值=参考带宽/接口带宽
默认参考带宽为100M 整段路径cost值之和越小越佳;若接口带宽大于参考带宽,则度量值默认为1,可能会导致选路不佳,故在接口带宽大于参考带宽的网络中,可以人为的修改带宽。
ospf的重要五大点
一:OSPF的数据包类型
- hello包 用于邻居间的发现 关系建立 和 周期保活
- DD/DBD包 数据可描述包 用于携带本地数据库目录
- LSR包 链路状态请求包 在查看完对端的DD包后,基于本地的LSDB(链路状态数据库)进行查询,随后通过LSR包去索要自己没有的LSA信息。
- LSU包 链路状态更新包 用于携带各种LSA信息的包
- LSACK包 链路状态确认包 用于确认接收到对端的信息
二:OSPF的状态机
Down状态
表示未被激活的状态,一旦本地发出hello包则进入下一个状态机。
Init状态
表示初始化的状态 一旦本地发出hello包,则进入init状态;一但本地接收到hello包,则进入init状态

TOW-WAY状态
双向通讯 表示建立了邻居关系
条件匹配:在点到点网络类型中直接进入下一个状态机,在MA网络中,将进行DR/BDR的选举;所有非DR/BDR的设备间不能进入下一个状态机。

Ex-satart
预启动 使用不携带数据目录的DD包进行主从选举,RID数值大者为主,优先进入下一个状态机。
Exchange 状态
准交换 携带具体的数据库目录信息的DD包进行发送,需要ack确认。

Loading状态
加载 在查看完对端的DD包后,根据本地的LSDB得出自己需要哪些LSA的完整信息,随后通过LSR包去要,LSU包去给,LSACK包去确认。
FULL 状态
转发 邻接关系的建立
三:OSPF的工作过程
启动配置完成后,本地组播224.0.0.5 发出hello包;
Hello中将携带自己的RID,以及本地已知所有邻居的RID;
若接收到对端的hello包中存在自己的RID,则视为双方认识,邻居关系建立,生成邻居表。
邻居关系建立后,将进行条件匹配,匹配失败则永久停留于邻居关系,仅hello包保活即可。
若条件匹配成功,则表明可以建立邻接关系。
先使用不携带数据库目录的DD包进行主从选举,RID大者为主,优先进入下一个状态机,优先共享自己的数据库目录(为从者也会进入下一个状态机,也会共享自己的数据库目录,但是先后顺序在主的后面进入);
在接收到对端携带具体数据库目录的DD包后,基于本地的LSDB(链路状态数据库)查询自己缺少哪些LSA信息;
之后使用LSR包去索要未知LSA信息;通过LSU包去更新LSA信息,LSACK去确认收到对端的LSA信息-----------同步LSDB------生成数据库表。
之后启动本地SPF算法,基于本地的LSDB生成有向图,在计算出最短路径树,在基于树形结构算出本地到达目的网段的最短路径,加载与本地的路由表中;
收敛完成后,hello包保活即可。
每30min进行一次周期更新-----进行LSDB的对比,若一致,则继续保活即可,若不一致,将重新收敛。
结构突变:
- 新增一个网段:直接增加网段设备,直接使用更新包告知邻接关系,需要ack确认。
- 断开一个网段:断开增加网段设备,直接使用更新包告知邻接关系,需要ack确认。
- 无法沟通:hello time 10s ,dead time 40s ,时间到了就直接删除邻居信息。
四:OSPF的基础配置
[R1]ospf 1 创建ospf进程
进行宣告:1.激活 2.传递路由或拓扑 3.区域划分
[R1]ospf 1 router-id 1.1.1.1 创建ospf进程1 同时定义RID为1.1.1.1
[R1-ospf-1]area 0 进入0区
[R1-ospf-1-area-0.0.0.0]network 1.1.1.1 0.0.0.0
[R1-ospf-1-area-0.0.0.0]network 12.1.1.0 0.0.0.255
反掩码:掩码反过来
[R1]display ospf peer 查看详细邻居关系
[R2]display ospf peer brief 查看邻居关系表
[R2]display ospf lsdb 查看数据库目录
[R2]display ospf lsdb router 2.2.2.2 查看数据库中的详细信息
[R2]display ospf routing 查询由OSPF生成的路由
![]()
修改参考带宽
注意:一旦修改参考带宽,全网所有设备,均需修改

五:OSPF的扩展配置
- 从邻居关系建立成为邻接关系的条件
由TOW-WAY到EXstart 匹配条件:在点到点的网络类型中将直接进入下一个状态机;在MA网络中,将进行DR/BDR的选举,所有非DR/BDR设备间不能进入下一个状态机。
- 点到点的网络类型:在一个网段内仅支持存在两个节点
- MA:多路访问------在一个网段内,存在的节点不限制
①BMA②NBMA
OSPF在点到点的网络类型中,所有邻居关系将直接成为邻接关系;
在MA网络类型中,若所有的设备间均为邻接关系,将可能导致大量的重复更新;故进行DR/BDR的选举;所有非DR/BDR设备间将维持邻居关系。
至少需要多少台设备,才会出现邻居关系?
DR/BDR的选举规则:
①先比较参选接口的优先级,默认为1,范围0-255,大为优
②若参选接口优先级相同,则比较参选设备的RID,大为优
[R1]interface g 0/0/0 进入参选接口
![]()
[R1-GigabitEthernet0/0/0]ospf dr-priority 2 更改该接口在ospf中精选DR设备的优先级为2
切结:DR/BDR设备的选举是非抢占性质;故需要网段内部重新进行选举,需要重启该网段内的所有参选设备的OSPF进程;若参选接口的优先级为0,则默认放弃参选;一个网段中至少应该存在一台DR设备。
<R1>reset ospf process 重启OSPF进程
手工认证:
在邻居间相邻的接口上定义安全密钥
[R2]interface g 0/0/1 进入相邻接口
[R2-GigabitEthernet0/0/1]ospf authentication-mode md5 1 cipher 123456 在该接口上基于OSPF协议进行模式为md5的手工认证 密钥ID为1 密码为123456
手工汇总-----区域汇总
在ABR设备上将A区域的路由共享到B区域时,方可进行手工汇总的配置。 在域间路由器上进行配置
[R2-ospf-1]area 0 要汇总那个区域的网段,就进入哪一个区域
[R2-ospf-1-area-0.0.0.0]abr-summary 192.168.0.0 255.255.252.0
在0区中,使用ABR 的汇总功能 汇总网段为 192.168.0.0/22
被动接口-------沉默接口
仅接受不发送路由信息的接口,只能用于连接用户的接口,不得用于路由器之间的接口。
[R1-ospf-1]silent-interface g 0/0/1 在OSPF进程1中 设置g0/0/1为被动接口
加快收敛-----修改计时器
Hello time 10s dead time 40s
修改一台路由器的某个接口的hello time 时,该接口的dead time将自动关闭,邻居间直连接口的hello time 和 dead time 时间若不一致,将不能建立邻居关系 ;修改计时器不易修改的过小(不建议修改计时器)

![]()
![]()
缺省路由
在连接外网的边界路由器上,配置一条缺省路由后,该设备将向内部所有设备发送缺省路由的更新,下一跳方向指向该边界路由器方向。
[R3-ospf-1]default-route-advertise always 下发缺省路由

.

被折叠的 条评论
为什么被折叠?



