项目运行
环境配置:
Jdk1.8 + Tomcat7.0 + Mysql + HBuilderX(Webstorm也行)+ Eclispe(IntelliJ IDEA,Eclispe,MyEclispe,Sts都支持)。
项目技术:
SSM + mybatis + Maven + Vue 等等组成,B/S模式 + Maven管理等等。
环境需要
1.运行环境:最好是java jdk 1.8,我们在这个平台上运行的。其他版本理论上也可以。
2.IDE环境:IDEA,Eclipse,Myeclipse都可以。推荐IDEA;
3.tomcat环境:Tomcat 7.x,8.x,9.x版本均可
4.硬件环境:windows 7/8/10 1G内存以上;或者 Mac OS;
5.是否Maven项目: 否;查看源码目录中是否包含pom.xml;若包含,则为maven项目,否则为非maven项目
6.数据库:MySql 5.7/8.0等版本均可;
毕设帮助,指导,本源码分享,调试部署(见文末)
3.1功能需求分析
系统功能需求分析是通过软件开发者在参与市场调研,与高校学科竞赛报名者及用户交流后经过详细缜密的思考,再讨论研究后得出的初步系统开发所需实现功能。这是开发系统的开始,也是相当关键的一步,如果不在这个阶段制定系统所需模块,日后会带来不必要的麻烦。因此,必须严肃认真,全身心投入去做好这个步骤。
本系统采用从上往下的步骤开发,基本功能如下:
本课题要求实现一套高校学科竞赛报名系统,系统主要包括管理员,用户和评委三大模块
(a) 管理员;管理员进入系统主要功能包括首页,个人中心,用户管理,评委管理,竞赛项目管理,竞赛类型管理,竞赛资料管理,竞赛报名管理,作品提交管理,作品评分管理,获奖名单管理,赛事总结管理,系统管理等功能并进行操作。
(b) 评委;评委进入系统主要功能包括首页,个人中心,竞赛报名管理,作品提交管理,作品评分管理,获奖名单管理,赛事总结管理等功能并进行操作。
(c) 用户;用户进入系统主要功能包括首页,个人中心,竞赛报名管理,作品提交管理,作品评分管理等功能并进行操作。
3.2性能需求分析
对系统的性能,从(功能、运行、界面、安全)等方面进行,下面我们逐一进行分析;
1. 系统的功能是否完整进行分析:系统的功能,能对应设计出原始代码和算法,以表格同文字的形式进行详细介绍个人信息保证功能完整;
2. 系统的运行是否通畅进行分析:系统的每个功能都有编写数据的关系和应对的代码,通过需求分析和可行性分析进行分析和显示系统的物理数据,保证其进行通畅;
3. 系统的界面设计进行分析:对系统中的软件进行处理与分析的方式是由不同代码来进行的;从而使界面容易操作;
4. 系统的安全性进行分析:这样才可以每个角色的不同对应的信息也就不同,在登录系统务必使用自己的账号,密码登录,账号与密码错误自然就登录失败了。登录成功可以对自己的信息进行操作,不能对别人的账号的信息进行查看等操作,这样自然保证系统的安全性。
3.3系统设计规则与运行环境
软件系统的优劣很大程度上是由系统设计的完善与否决定的。世间万物都必须遵循生老病死的法则,这是大自然的规则不能违反,软件设计也一样需要遵循系统设计规则。因此,在设计过程中必须遵循系统设计规则。
规则如下:
简单性:为了扩大系统使用者的受众面,系统设计应该本着操作越简单约好的原则,这样不仅能提高系统的使用率更能够扩大系统使用面。
针对性:一个系统针对性越强,所能提供的功能必然越完善,用户体验肯定更好,所以应该明确指定系统针对性。
实用性:实用永远是检验一个系统是否成功的唯一标准,使用的语言再高端,使用的结构再新颖但不能满足管理员,用户和评委的要求那就是失败。
运行环境:
本系统是利用B/S结构来开发的,数据库在服务器上进行部署 Mysql即可,其他包括My Eclipse等常规开发程序。
3.4系统流程分析
系统流程,用户需要登录进入系统,未注册过的用户需要在输入必填的信息之后注册成功然后登录系统,管理员在后台登录进入可以对用户进行修改管理。使用一些较为稳定的技术总结成一个系统的开发设计过程,是设计与实现各个功能模块的基本技术,这些是每个功能模块能够顺利进行的重要保证。

图3.1系统流程图
3.5系统非功能需求分析
系统非功能需求通常都包含好多个方面,但对于我们这个高校学科竞赛报名系统来讲最重要的就是系统能够使用户简单方便的运用需要的功能浅显易懂即我们所谓的易用性,其次就是一个可靠性即用户在使用是能够正常运转。因此我们对于高校学科竞赛报名系统在这个非功能需求分析在运行和维护方面需满足以下几点:
(1)性能需求:根据用户需求给出各个阶段的性能需求,在这些需求进行评估后,根据性能再进行优化。
(2)可靠性:当用户使用系统时能够正常使用不出现bug或者当检查是发现异常情况,能够及时识别问题并给出反馈,保证系统之后可用。
(3)可维护性:系统能够自动化的持续集成降低系统的出错,运行出现错误修复功能能够更加强大一些或者让维护人员能够比较轻松的检查出问题。
(4)可扩展性:当系统访问需求逐渐增大,需要在设计的时候对系统进行良好的切割划分,分成较为单一的运行模式。减少服务器爆炸的情况。
(5)可保障性:用户在软件可配置型,可为呼吸等方面的要求。
(6)易用性:各种常见的功能操作不要隐藏的太深,让用户很轻易的找到他们所需要的操作;运行系统所需要的软件可以比较方便的安装;能够真正的做到以用户为中心进行设计。
对于我们这个高校学科竞赛报名系统来说,可靠性,可维护性和易用性显得格外重要,因为对于文明来说最主要的就是能在在自己的模拟机上运行出想要的界面就行了,所以能够方便快速且稳定的运行出界面就差不多了。
4 系统设计
4.1软件功能模块设计
系统整功能如下图所示:

图 4-1 系统总体功能模块图
4.2登录注册模块
用户要通过填写自己的账号和密码进入系统,如果用户没有登录的账号需要先进行注册用户在注册页面输入账号和密码,点击注册,按要求输入注册表所要的信息,登录密码和确认密码,点击注册后,系统先判断用户输入的“密码”和“确认密码”是否一致,如果不一致,用户需重新输入;如果一致则注册成功,然后输入刚才注册的个人账号和密码点击“登录”按钮,显示“登录中请稍后”,如果登录信息正确则系统界面;如果登录信息错误则显示 “登录失败”登录注册算法流程图如图4.2登录注册流程图所示。
图4-2登录注册流程图
Web后台端管理员登入正确可以查看用户修改用户信息等操作;如果输入错误,则无反馈重新登录。如图4-3后台管理流程图所示

图4-3后台管理流程图
5.1系统功能模块
高校学科竞赛报名系统,在系统首页可以查看首页,竞赛项目,竞赛资料,竞赛动态,个人中心,后台管理等内容,并进行详细操作,如图5-1所示。

图5-1系统首页界面图
用户注册,在用户注册页面通过填写账号,密码,确认密码,姓名,年级,班级等内容完成用户注册,如图5-2所示。

图5-2用户注册界面图
竞赛项目,在竞赛项目页面可以查看竞赛类型,竞赛地点,竞赛时间,点击次数等内容,并进行报名和评论操作,如图5-3所示。

图5-3竞赛项目界面图
竞赛资料,在竞赛资料页面可以查看资料类型,上传时间,资料文件等内容,并进行点我收藏操作;如图5-4所示。

图5-4竞赛资料界面图
个人中心,在个人中心页面通过填写账号,密码,姓名,性别,年级,班级,上传图片等内容进行更新信息,根据需要对我的收藏进行详细操作,如图5-5所示。

图5-5个人中心界面图
5.2管理员功能模块
管理员进行登录,进入系统前在登录页面根据要求填写用户名和密码信息,点击登录进行登录操作,如图5-6所示。

图5-6管理员登录界面图
管理员登录系统后,可以对首页,个人中心,用户管理,评委管理,竞赛项目管理,竞赛类型管理,竞赛资料管理,竞赛报名管理,作品提交管理,作品评分管理,获奖名单管理,赛事总结管理,系统管理等进行相应的操作管理,如图5-7所示。

图5-7管理员功能界面图
用户管理,在用户管理页面可以对索引,账号,姓名,性别,年级,班级,头像等内容进行详情,修改和删除等操作,如图5-8所示。

图5-8用户管理界面图
评委管理,在评委管理页面可以对索引,评委编号,评委姓名,性别,联系电话等内容进行详情,修改和删除等操作,如图5-9所示。

图5-9评委管理界面图
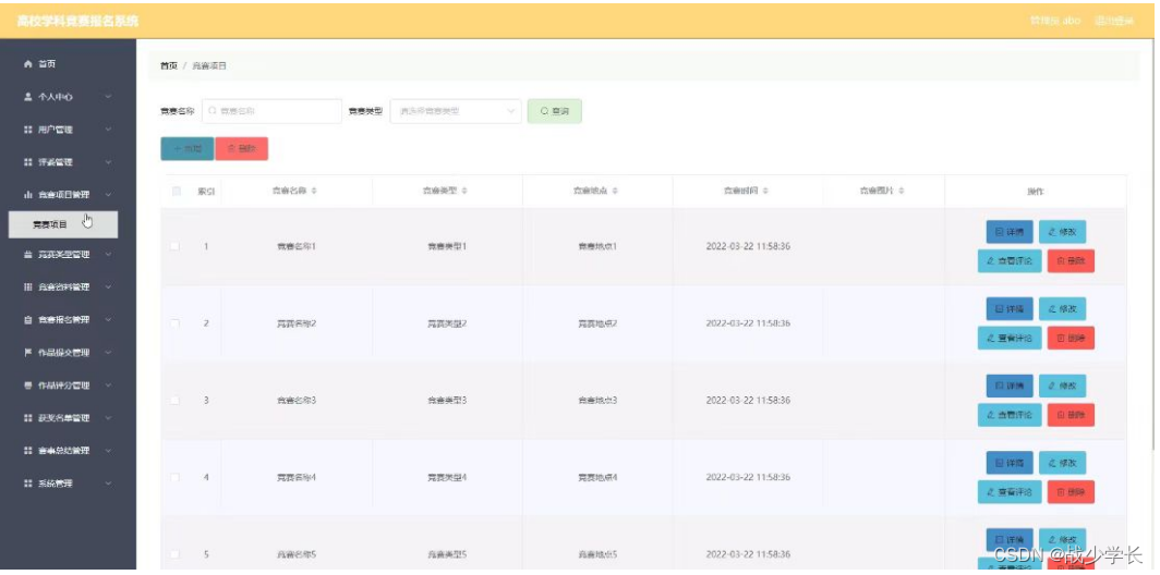
竞赛项目管理,在竞赛项目管理页面可以对索引,竞赛名称,竞赛类型,竞赛地点,竞赛时间,竞赛图片等内容进行详情,修改,查看评论和删除等操作,如图5-10所示。

图5-10竞赛项目管理界面图
竞赛类型管理,在竞赛类型管理页面可以对索引,类型等内容进行详情和删除等操作,如图5-11所示。

图5-11竞赛类型管理界面图
竞赛资料管理,在竞赛资料管理页面可以对索引,资料名称,资料类型,资料文件,上传时间,资料图片等内容进行详情,修改和删除等操作,如图5-12所示。

图5-12竞赛资料管理界面图
本文档介绍了使用JAVA SSM框架开发的高校学科竞赛报名系统,详细阐述了功能需求、性能需求、系统设计规则、运行环境、流程分析以及非功能需求。系统包括管理员、评委和用户三大模块,分别实现了多项管理功能,如用户管理、竞赛项目管理、作品评分管理等。此外,还探讨了系统的性能,如功能完整性、运行通畅性、界面设计和安全性,并提供了系统设计规则和运行环境的详细信息。
1281





