项目运行
环境配置:
Jdk1.8 + Tomcat7.0 + Mysql + HBuilderX(Webstorm也行)+ Eclispe(IntelliJ IDEA,Eclispe,MyEclispe,Sts都支持)。
项目技术:
SSM + mybatis + Maven + Vue 等等组成,B/S模式 + Maven管理等等。
环境需要
1.运行环境:最好是java jdk 1.8,我们在这个平台上运行的。其他版本理论上也可以。
2.IDE环境:IDEA,Eclipse,Myeclipse都可以。推荐IDEA;
3.tomcat环境:Tomcat 7.x,8.x,9.x版本均可
4.硬件环境:windows 7/8/10 1G内存以上;或者 Mac OS;
5.是否Maven项目: 否;查看源码目录中是否包含pom.xml;若包含,则为maven项目,否则为非maven项目
6.数据库:MySql 5.7/8.0等版本均可;
毕设帮助,指导,本源码分享,调试部署(见文末)
3.1系统目标
本系统设计的是一个绩效考核管理系统的网站,此网站使用户实现了不需出门就可以在电脑前进行网上查看绩效考核信息。不需亲临现场就可以在网站上进行操作。
用户在首页上会看到各类模块的推送内容,可以以最直接的方式获取信息,注册登陆后,可以对应相关进行管理,并且在后台可以管理自己的首页、个人中心、公告信息管理、绩效指标管理、打卡信息管理、绩效考核管理、请假申请管理、加班申请管理、出差申请管理、员工奖励管理、员工惩罚管理、考勤统计管理、员工工资管理等。而管理员则可以在后台直接管理和处理员工信息。本网站模块设计的独立性强,用户体验良好、后期维护修改管理十分方便。
3.2系统功能
此系统的功能分为员工和管理员模块:
员工功能模块用户模块包括:首页、个人中心、公告信息管理、绩效指标管理、打卡信息管理、绩效考核管理、请假申请管理、加班申请管理、出差申请管理、员工奖励管理、员工惩罚管理、考勤统计管理、员工工资管理等功能。
管理员功能模块包括:首页、个人中心、公告信息管理、部门管理、岗位管理、绩效指标管理、员工管理、打卡信息管理、绩效考核管理、请假申请管理、加班申请管理、出差申请管理、员工奖励管理、员工惩罚管理、考勤统计管理、员工工资管理等功能。
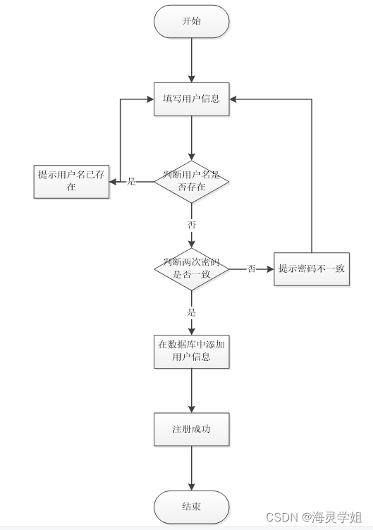
3.3系统流程和逻辑
系统业务流程图,如图所示:

图3-1登录流程图

图3-2添加信息流程图

图3-3注册信息流程图
4系统概要设计
4.1 概述
绩效考核管理系统基于Web服务模式,是一个适用于Internet环境下的模型结构。只要用户能连上Internet,便可以在不受时间、地点的限制来使用这个系统。绩效考核管理系统工作原理图,如图4-1所示:

图4-1 系统工作原理图
4.2 系统结构
本系统架构网站系统,本系统的具体功能如下:

图4-2系统功能结构图
管理员功能结构图,如图4-3所示:

图4-3 管理员功能结构图
员工功能结构图,如图4-4所示:

图4-4 员工功能结构图
4.3. 数据库设计
4.3.1 数据库实体
管理员信息结构图,如图4-5所示:

图4-5 管理员信息实体结构图
绩效指标管理实体属性图,如图4-6所示:

图4-6绩效指标管理实体属性图
打卡信息管理实体属性图,如图4-7所示:

图4-6打卡信息管理实体属性图
5 系统详细设计
5.1管理员功能模块
管理员登录,管理员通过输入账号,密码,选择角色等信息即可进行系统登录,如图5-1所示。

图5-1管理员登录界面图
管理员登录进入绩效考核管理系统设计可以查看首页、个人中心、公告信息管理、部门管理、岗位管理、绩效指标管理、员工管理、打卡信息管理、绩效考核管理、请假申请管理、加班申请管理、出差申请管理、员工奖励管理、员工惩罚管理、考勤统计管理、员工工资管理等内容进行详细操作,如图5-2所示。

图5-2管理员功能界面图
公告信息管理,在公告信息管理页面可以对索引、公告标题、图片、发布日期等信息进行详情,修改或删除等操作,如图5-3所示。

图5-3公告信息管理界面图
绩效指标管理,在绩效指标管理页面可以对索引、部门、岗位、绩效项目、绩效指标1、分值1、分值2、绩效指标3、分值3、总评分等信息进行详情,修改或删除等操作,如图5-4所示。

图5-4绩效指标管理界面图
员工管理,在员工管理页面可以对索引、员工工号、员工姓名、性别、照片、部门、岗位、联系电话、邮箱等信息进行详情、绩效、奖励、惩罚、考勤、工资、修改或删除等操作,如图5-5所示。

图5-5员工管理界面图
打卡信息管理,在打卡信息管理页面可以对索引、员工工号、员工姓名、部门、岗位、打卡类型、打卡时间、备注等信息进行详情,修改或删除等操作,如图5-6所示。

图5-6打卡信息管理界面图
绩效考核管理,在绩效考核管理页面可以对索引、员工工号、员工姓名、部门、岗位、绩效月份、员工考勤、工作态度、业务技能、总得分、绩效等级等信息进行修改或删除等操作,如图5-7所示。

图5-7绩效考核管理界面图
考勤统计管理,在考勤统计管理页面可以对索引、员工工号、员工姓名、部门、岗位、考勤月份、应出勤天数、出勤天数、请假时长、旷工时长、早退次数、迟到次数、审核回复、审核状态等信息进行详情,修改或删除等操作,如图5-8所示。

图5-8考勤统计管理界面图
员工工资管理,在员工工资管理页面可以对索引、员工工资、员工姓名、部门、工资月份、出勤天数、基本工资、绩效工资、加班工资、资金、罚款、迟到早退、请假、个税、社保代缴、实发工资、登记时间、审核回复、审核状态等信息进行详情,修改或删除等操作,如图5-9所示。

图5-9员工工资管理界面图
5.2员工功能模块
员工登录进入绩效考核管理系统可以查看首页、个人中心、公告信息管理、绩效指标管理、打卡信息管理、绩效考核管理、请假申请管理、加班申请管理、出差申请管理、员工奖励管理、员工惩罚管理、考勤统计管理、员工工资管理等内容进行详细操作,如图5-10所示。

图5-10员工功能界面图
个人中心,在个人中心页面通过填写员工工号、员工姓名、性别、照片、部门、岗位、联系电话、邮箱等信息进行修改操作,如图5-11所示。

图5-11个人中心界面图
请假申请,在请假申请页面可以对索引、请假类型、开始时间、结束时间、请假时长、职务代理人、请假事由、材料证明、员工工号、员工姓名、部门、岗位、审核回复、审核状态等信息进行详情,修改或删除等操作,如图5-12所示。

图5-12请假申请界面图
本文档详述了一款基于JAVA+SSM的绩效考核管理系统的设计与实现,涵盖了系统目标、功能、流程、数据库设计及管理员与员工功能模块。系统允许用户在线查看和管理绩效考核信息,包括公告、绩效指标、打卡、请假、加班、出差等各项功能。管理员和员工各自拥有特定的操作权限,便于绩效考核的高效管理。
749

被折叠的 条评论
为什么被折叠?



