springboot大学生综合素质测评系统
摘 要
为全面提高教育管理水平,建立一个大学生综合素质测评管理系统已经成为目前各高校的共识。本文从实践经验出发,阐述目前高校学生工作管理的信息化现状﹔然后提出大学生综合素质测评管理系统的必要性以及系统设计的必要性、目标和意义﹔最后﹔介绍了对大学生综合素质测评管理系统的研究和设计实现,以对提高高校学生管理工作起到一定的促进作用。
本系统使用Java技术开发,SpringBoot框架,采用的数据库是Mysql。在设计过程中,充分保证了系统代码的良好可读性、实用性、易扩展性、通用性、便于后期维护、操作方便以及页面简洁等特点。
关键词:大学生综合素质测评系统,Java,SpringBoot,Mysql
Springboot Comprehensive Quality Evaluation System for College Students
ABSTRACT
To comprehensively improve the level of education management, establishing a comprehensive quality evaluation and management system for college students has become a consensus among various universities. Starting from practical experience, this article elaborates on the current informationization status of student work management in universities. Then, it proposes the necessity of a comprehensive quality evaluation management system for college students, as well as the necessity, goals, and significance of system design. Finally, it introduces the research and design implementation of a comprehensive quality evaluation management system for college students, which plays a certain promoting role in improving student management in universities.
This system is developed using Java technology and the SpringBoot framework, using MySQL as the database. During the design process, the system code was fully guaranteed to have good readability, practicality, scalability, universality, ease of later maintenance, easy operation, and concise pages.
Keywords: Comprehensive Quality Assessment System for College Students, Java, SpringBoot, MySQL
目 录
表deduction_cancellation (扣分撤销)
表quality_assessment_application (素质考评申请)
表student_course_selection (学生选课)
第1章 绪论
1.1课题背景
鉴于目前高校,在校生人数不断增多,每年学生综合业务素质测评的任务越来越越重,很多机械劳动使得老师学生身心都很疲惫。为了更清晰的了解整个工作﹐省去完全人工去做的弊端,现将整个流程进行简单的阐述。
每年到综合素质评定时,班主任能拿到一份本班所有学生的成绩单,班主任根据由班干部统计来的学生本学年参加活动的次数以及活动获奖情况表给学生业务素质打分。而后再有辅导员根据班主任老师对学生业务素质的打分情况,对学生整体成绩进行整理。之后发给班干部,让班干部去统计整理﹒然后学生确认是否有问题。如发现问题学生进行申诉。确认无误之后再有辅导员打印奖学金汇总表等。这些所有的事情﹒其实可以通过数据库操作完成,如果能够将这些工作由计算机替代,给辅导员老师一个友好的交互界面,则可大大降低教师和学生工作压力,提高工作效率,并可以方便学生活动的申报等。
大学生综合素质测评系统的设计与实现,以提高辅导员老师的工作效率,保证教师不需要完成一些机械性的工作来实现学生综合素质的评定等目前的人工操作能够全部自动化管理。
1.2 大学生综合素质测评管理工作的现状
近年来,大多数学校进行了全面的扩招,特别技能型职业教育的提出,使得高职院的学生量猛增。骤增的学生人数既加大了高校学生管理工作的难度,同时也对学生管理工作的模式也提出了新的要求。随着高校制度改革的深入和素质教育的推进,进行大学生综合素质测评工作,从德、智、体等全面考核学生素质是一项重要举措,能有效捉高高校教育管理水平。目前高校学生综合素质测评管理工作存在以下两方面的难点。
一方面部分高校依然从单一方面考核学生,比如只从课业成绩方面考查,没有能够建立一个全面合理科学的综合测评指标体系;另一方面部分高校虽然使用了德智体等全方面的素质测评模式,但工作仍是基于纸质的操作模式,工作繁琐,工作量大,大量的浪赀了人力和物力,更重要的是考核统计过程易发生手工统计错误导致真实性下降情况的发生。
1.3 研究的内容
目前许多人仍将传统的单机设备作为信息管理的主要工具,而网络技术的应用只是起到辅助作用。在对网络工具的认知程度上,较为传统的office软件等仍是人们使用的主要工具,而面向各个专门行业的管理系统的信息管理软件仍然缺乏群众基础。本选题则旨在通过标签分类管理等方式,实现系统后台首页,系统用户(管理员、学生用户、教师用户、辅导员)权限管理、模块管理(年级名称、班级名称、院系名称、教程信息、课程信息、学生选课、课程成绩、学生信息、学生自评、辅导员评分、素质考评申请、扣分记录、扣分撤销、最终评分)个人信息等功能。
第2章 相关技术
2.1开发技术
本系统前端框架采用了比较流行的渐进式JavaScript框架Vue.js。使用Vue-Router和Vuex实现动态路由和全局状态管理,Ajax实现前后端通信,Element UI组件库使页面快速成型。后端部分:采用SpringBoot作为开发框架,同时集成MyBatis、Redis等相关技术。
2.2 Java简介
Java主要采用CORBA技术和安全模型,可以在互联网应用的数据保护。它还提供了对EJB(Enterprise JavaBeans)的全面支持,Java servlet API,JSP(Java server pages),和XML技术。Java语言是一种面向对象的语言,它通过提供最基本的方法来完成指定的任务,开发者只需要知道一些概念就能够编写出一些应用程序。Java程序相对较小,其代码能够在小机器上运行。Java是一种计算机编程语言,具有封装、继承和多态性三个主要特性,广泛应用于企业Web应用程序开发和移动应用程序开发。
Java语言和一般编译器以及直译的区别在于,Java首先将源代码转换为字节码,然后将其转换为JVM的可执行文件,JVM可以在各种不同的JVM上运行。因此,实现了它的跨平台特性。虽然这使得Java在早期非常缓慢,但是随着Java的开发,它已经得到了改进。
2.3 MVVM模式
MVVM是Model-View-ViewModel的简写。它本质上就是MVC 的改进版。MVVM 就是将其中的View 的状态和行为抽象化,让我们将视图 UI 和业务逻辑分开。当然这些事 ViewModel 已经帮我们做了,它可以取出 Model 的数据同时帮忙处理 View 中由于需要展示内容而涉及的业务逻辑。微软的WPF带来了新的技术体验,如Silverlight、音频、视频、3D、动画……,这导致了软件UI层更加细节化、可定制化。同时,在技术层面,WPF也带来了 诸如Binding、Dependency Property、Routed Events、Command、DataTemplate、ControlTemplate等新特性。MVVM(Model-View-ViewModel)框架的由来便是MVP(Model-View-Presenter)模式与WPF结合的应用方式时发展演变过来的一种新型架构框架。它立足于原有MVP框架并且把WPF的新特性糅合进去,以应对客户日益复杂的需求变化。
2.4 B/S结构
B/S(Browser/Server)比前身架构更为省事的架构。它借助Web server完成数据的传递交流。只需要下载浏览器作为客户端,那么工作就达到“瘦身”效果, 不需要考虑不停装软件的问题。
2.5 MySQL数据库
Mysql的语言是非结构化的,用户可以在数据上进行工作。MySQL因为其速度、可靠性和适应性而备受关注。大多数人都认为在不需要事务化处理的情况下,MySQL是管理内容最好的选择。并且因为Mysql的语言和结构比较简单,但是功能和存储信息量很强大,所以得到了普遍的应用。
Mysql数据库在编程过程中的作用是很广泛的,为用户进行数据查询带来了方便。Mysql数据库的应用因其灵活性强,功能强大,所以在实现某功能时只需要一小段代码,而不像其他程序需要编写大段代码。总体来说,Mysql数据库的语言相对要简洁很多。
数据流程分析主要就是数据存储的储藏室,它是在计算机上进行的,而不是现实中的储藏室。数据的存放是按固定格式,而不是无序的,其定义就是:长期有固定格式,可以共享的存储在计算机存储器上。数据库管理主要是数据存储、修改和增加以及数据表的建立。为了保证系统数据的正常运行,一些有能力的处理者可以进行管理而不需要专业的人来处理。数据表的建立,可以对数据表中的数据进行调整,数据的重新组合及重新构造,保证数据的安全性。介于数据库的功能强大等特点,本系统的开发主要应用了Mysql进行对数据的管理。
2.6 SpringBoot框架
Spring框架是Java平台上的一种开源应用框架,提供具有控制反转特性的容器。尽管Spring框架自身对编程模型没有限制,但其在Java应用中的频繁使用让它备受青睐,以至于后来让它作为EJB(EnterpriseJavaBeans)模型的补充,甚至是替补。Spring框架为开发提供了一系列的解决方案,比如利用控制反转的核心特性,并通过依赖注入实现控制反转来实现管理对象生命周期容器化,利用面向切面编程进行声明式的事务管理,整合多种持久化技术管理数据访问,提供大量优秀的Web框架方便开发等等。Spring框架具有控制反转(IOC)特性,IOC旨在方便项目维护和测试,它提供了一种通过Java的反射机制对Java对象进行统一的配置和管理的方法。Spring框架利用容器管理对象的生命周期,容器可以通过扫描XML文件或类上特定Java注解来配置对象,开发者可以通过依赖查找或依赖注入来获得对象。Spring框架具有面向切面编程(AOP)框架,SpringAOP框架基于代理模式,同时运行时可配置;AOP框架主要针对模块之间的交叉关注点进行模块化。Spring框架的AOP框架仅提供基本的AOP特性,虽无法与AspectJ框架相比,但通过与AspectJ的集成,也可以满足基本需求。Spring框架下的事务管理、远程访问等功能均可以通过使用SpringAOP技术实现。Spring的事务管理框架为Java平台带来了一种抽象机制,使本地和全局事务以及嵌套事务能够与保存点一起工作,并且几乎可以在Java平台的任何环境中工作。Spring集成多种事务模板,系统可以通过事务模板、XML或Java注解进行事务配置,并且事务框架集成了消息传递和缓存等功能。Spring的数据访问框架解决了开发人员在应用程序中使用数据库时遇到的常见困难。它不仅对Java:JDBC、iBATS/MyBATIs、Hibernate、Java数据对象(JDO)、ApacheOJB和ApacheCayne等所有流行的数据访问框架中提供支持,同时还可以与Spring的事务管理一起使用,为数据访问提供了灵活的抽象。Spring框架最初是没有打算构建一个自己的WebMVC框架,其开发人员在开发过程中认为现有的StrutsWeb框架的呈现层和请求处理层之间以及请求处理层和模型之间的分离不够,于是创建了SpringMVC。
第3章 系统分析
3.1 需求分析
随着我国教育的普及和当前全球范围的知识经济的突飞猛进,一套高质量高效率的大学生综合素质测评系统必不可少。学校管理学生工作的内容杂,头绪多,管理细,要求高,传统管理办法已不适应新形势的要求。在计算机飞速发展的今天,应用数据库技术实现大学生综合素质测评系统的管理是可行而且必要的,此评分系统可以实现大学生综合素质测评的高效查询,修改,删除等操作,使学生信息管理系统化,规范化和自动化,既能提高工作效率,也能提高工作水平。
3.2 系统可行性分析
3.2.1技术可行性
该系统在Windows操作系统中进行开发,并且目前PC机的性能已经可以胜任普通网站的web服务器。系统开发所使用的技术也都是自身所具有的,也是当下广泛应用的技术之一。
系统的开发环境和配置都是可以自行安装的,系统使用JSP开发工具,使用比较成熟的Mysql数据库进行对系统前台及后台的数据交互,根据技术语言对数据库,结合需求进行修改维护,可以使得网站运行更具有稳定性和安全性,从而完成实现网站的开发。
(1)硬件可行性分析
大学生综合素质测评系统及信息分析的设计对于所使用的计算机没有什么硬性的要求,计算机只要可以正常的使用进行代码的编写及页面设计就可行,主要是对于服务器有些要求,对于平台搭建完成要上传的服务器是有一定的要求的,服务器必须选择安全性比较高的,然后就是在打开网站必须顺畅,不能停顿太长时间;性价比高;安全性高。
(2)软件可行性分析
开发整个系统使用的是云计算,流量的可扩展性和基于流量的智能调整云计算的优点就是流量的可扩展性和基于流量的智能调整,保障系统的安全及数据信息的及时备份。
因此,我们从两个方面进行了可行性研究,可以看出系统的开发没有问题。
3.2.2经济可行性
在大学生综合素质测评系统开发之前所做的市场调研及相关的管理系统,都是没有任何费用的,都是通过开发者自己的努力,所有的工作的都是自己亲力亲为,在碰到自己比较难以解决的问题,大多是通过同学和指导老师的帮助进行相关信息的解决,所以对于大学生综合素质测评系统的开发在经济上是完全可行的,没有任何费用支出的。
使用比较成熟的技术,系统是基于JSP的开发,采用Mysql数据库。所以系统在开发人力、财力要求不高,具有经济可行性。
3.2.3操作可行性
可操作性主要是对大学生综合素质测评系统设计完成后,用户的使用体验度,以及管理员可以通过系统随时管理相关的数据信息,并且对于管理员、学生、教师、辅导员四个用户角色,都可以简单明了的进入到自己的系统界面,通过界面导航菜单可以简单明了地操作功能模块,方便用户信息的操作需求和管理员管理数据信息,对于系统的操作,不需要专业人员都可以直接进行功能模块的操作管理,所以在系统的可操作性是完全可以的。本系统的操作使用的也是界面窗口进行登录,所以操作人员只要会简单的电脑操作就完全可以的。
3.3 项目设计目标与原则
1、关于大学生综合素质测评系统的基本要求
(1)功能要求:后台首页,系统用户(管理员、学生用户、教师用户、辅导员)权限管理、模块管理(年级名称、班级名称、院系名称、教师信息、课程信息、学生选课、课程成绩、学生信息、学生自评、辅导员评分、素质考评申请、扣分记录)个人信息等功能模块。
(2)性能:在不同操作系统上均能无差错实现在不同类型的用户登入相应界面后能不出差错、方便地进行预期操作。
(3)安全与保密要求:用户都必须通过身份验证才能进入系统,并且用户的权限也需要根据用户的类型进行限定。
(4)环境要求:支持多种平台,可在Windows系列、Vista系统等多种操作系统下使用。
2、开发目标
大学生综合素质测评系统的主要开发目标如下:
(1)实现管理系统信息关系的系统化、规范化和自动化;
(2)减少维护人员的工作量以及实现用户对信息的控制和管理。
(3)方便查询信息及管理信息等;
(4)通过网络操作,改善处理问题的效率,提高操作人员利用率;
(5)考虑到用户多样性特点,要求界面简单,操作简便。
3、设计原则
本系统采用Java技术,Mysql数据库开发,充分保证了系统稳定性、完整性。
大学生综合素质测评系统的设计与实现的设计思想如下:
- 操作简单方便、系统界面安全良、简单明了的页面布局、方便查询相关信息。
2、即时可见:对大学生综合素质测评系统信息的处理将可以实时查询到,从而实现“即时发布、即时见效”的系统功能。
3、功能的完善性:拥有后台首页,系统用户(管理员、学生用户、教师用户、辅导员)权限管理、模块管理(年级名称、班级名称、院系名称、教师信息、课程信息、学生选课、课程成绩、学生信息、学生自评、辅导员评分、素质考评申请、扣分记录)个人信息等功能的修改维护操作。
3.4系统流程分析
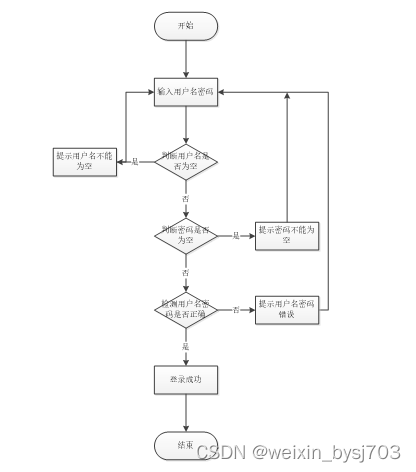
3.4.1操作流程

图3-1登录流程图
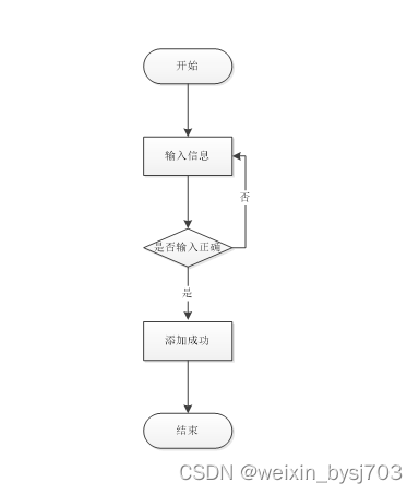
3.4.2添加信息流程
添加信息流程图,如图所示:

图3-2添加信息流程图
3.4.3删除信息流程
删除信息流程图,如图所示:

图3-3删除信息流程图
第4章 系统设计
4.1 系统体系结构
本系统选择B/S结构(Browser/Server,浏览器/服务器结构)和基于Web服务两种模式。适合在互联网上进行操作,只要用户能连网,任何时间、任何地点都可以进行系统的操作使用。系统工作原理图如图4-1所示:

图4-1 系统工作原理图
4.2系统结构设计
整个系统是由多个功能模块组合而成的,要将所有的功能模块都一一列举出来,然后进行逐个的功能设计,使得每一个模块都有相对应的功能设计,然后进行系统整体的设计。
本系统结构图如图4-2所示。

图4-2 系统功能结构图
4.3开发流程设计
系统流程的分析是通过调查系统所涉及问题的识别、可行性、可操作性、系统分析处理能力等具体环节来调节、整理系统的设计方案以确保系统能达到理想的状态。这些操作都要从注册、登录处着眼进行一系列的流程测试保证数据库的完整,从而把控系统所涉及信息管理的安全、保证信息输入、输出正常转换。然后,通过实际操作完成流程图的绘制工作。
大学生综合素质测评系统的开发对管理模块和系统使用的数据库进行分析,编写代码,系统测试,如图4-4所示。

图4-4开发系统流程图
4.4 数据库设计原则
学习编程,我们都知道数据库设计是基于需要设计的系统功能,我们需要建立一个数据库关系模型,用于存储数据信息,这样当我们在程序中时,就没有必要为程序页面添加数据,从而提高系统的效率。数据库存储了很多信息,可以说是信息管理系统的核心和基础,数据库还提供了添加、删除、修改和检查,使系统能够快速找到自己想要的信息,而不是在程序代码中找到。数据库中信息表的每个部分根据一定的关系精确地组合,排列和组合成数据表。
通过大学生综合素质测评系统的功能进行规划分成几个实体信息,实体信息将通过ER图进行说明,本系统的主要实体图如下:
管理员信息属性图如图4-5所示。

图4-5 管理员信息实体属性图
系统的E-R图如下图所示:
图4-6系统E-R图
4.5 数据表
将数据库概念设计的E-R图转换为关系数据库。在关系数据库中,数据关系由数据表组成,但是表的结构表现在表的字段上。
表auth (用户权限管理)
| 编号 | 名称 | 数据类型 | 长度 | 小数位 | 允许空值 | 主键 | 默认值 | 说明 |
| 1 | auth_id | int | 10 | 0 | N | Y | 授权ID: | |
| 2 | user_group | varchar | 64 | 0 | Y | N | 用户组: | |
| 3 | mod_name | varchar | 64 | 0 | Y | N | 模块名: | |
| 4 | table_name | varchar | 64 | 0 | Y | N | 表名: | |
| 5 | page_title | varchar | 255 | 0 | Y | N | 页面标题: | |
| 6 | path | varchar | 255 | 0 | Y | N | 路由路径: | |
| 7 | position | varchar | 32 | 0 | Y | N | 位置: | |
| 8 | mode | varchar | 32 | 0 | N | N | _blank | 跳转方式: |
| 9 | add | tinyint | 3 | 0 | N | N | 1 | 是否可增加: |
| 10 | del | tinyint | 3 | 0 | N | N | 1 | 是否可删除: |
| 11 | set | tinyint | 3 | 0 | N | N | 1 | 是否可修改: |
| 12 | get | tinyint | 3 | 0 | N | N | 1 | 是否可查看: |
| 13 | field_add | text | 65535 | 0 | Y | N | 添加字段: | |
| 14 | field_set | text | 65535 | 0 | Y | N | 修改字段: | |
| 15 | field_get | text | 65535 | 0 | Y | N | 查询字段: | |
| 16 | table_nav_name | varchar | 500 | 0 | Y | N | 跨表导航名称: | |
| 17 | table_nav | varchar | 500 | 0 | Y | N | 跨表导航: | |
| 18 | option | text | 65535 | 0 | Y | N | 配置: | |
| 19 | create_time | timestamp | 19 | 0 | N | N | CURRENT_TIMESTAMP | 创建时间: |
| 20 | update_time | timestamp | 19 | 0 | N | N | CURRENT_TIMESTAMP | 更新时间: |
表class_name (班级名称)
| 编号 | 名称 | 数据类型 | 长度 | 小数位 | 允许空值 | 主键 | 默认值 | 说明 |
| 1 | class_name_id | int | 10 | 0 | N | Y | 班级名称ID | |
| 2 | class_name | varchar | 64 | 0 | Y | N | 班级名称 | |
| 3 | recommend | int | 10 | 0 | N | N | 0 | 智能推荐 |
| 4 | create_time | datetime | 19 | 0 | N | N | CURRENT_TIMESTAMP | 创建时间 |
| 5 | update_time | timestamp | 19 | 0 | N | N | CURRENT_TIMESTAMP | 更新时间 |
表counselor_rating (辅导员评分)
| 编号 | 名称 | 数据类型 | 长度 | 小数位 | 允许空值 | 主键 | 默认值 | 说明 |
| 1 | counselor_rating_id | int | 10 | 0 | N | Y | 辅导员评分ID | |
| 2 | student_account | int | 10 | 0 | Y | N | 0 | 学生账户 |
| 3 | student_no | varchar | 64 | 0 | Y | N | 学生学号 | |
| 4 | student_name | varchar | 64 | 0 | Y | N | 学生姓名 | |
| 5 | counselor_users | int | 10 | 0 | Y | N | 0 | 辅导员用户 |
| 6 | counselor_name | varchar | 64 | 0 | Y | N | 辅导员姓名 | |
| 7 | counselor_rating | varchar | 64 | 0 | Y | N | 辅导员评分 | |
| 8 | rating_remarks | text | 65535 | 0 | Y | N | 评分备注 | |
| 9 | recommend | int | 10 | 0 | N | N | 0 | 智能推荐 |
| 10 | create_time | datetime | 19 | 0 | N | N | CURRENT_TIMESTAMP | 创建时间 |
| 11 | update_time | timestamp | 19 | 0 | N | N | CURRENT_TIMESTAMP | 更新时间 |
表course_grades (课程成绩)
| 编号 | 名称 | 数据类型 | 长度 | 小数位 | 允许空值 | 主键 | 默认值 | 说明 |
| 1 | course_grades_id | int | 10 | 0 | N | Y | 课程成绩ID | |
| 2 | course_name | varchar | 64 | 0 | Y | N | 课程名称 | |
| 3 | course_classification | varchar | 64 | 0 | Y | N | 课程分类 | |
| 4 | course_credit | varchar | 64 | 0 | Y | N | 课程学分 | |
| 5 | lecturer | int | 10 | 0 | Y | N | 0 | 任课老师 |
| 6 | teacher_name | varchar | 64 | 0 | Y | N | 教师姓名 | |
| 7 | student_account | int | 10 | 0 | Y | N | 0 | 学生账户 |
| 8 | student_no | varchar | 64 | 0 | Y | N | 学生学号 | |
| 9 | student_name | varchar | 64 | 0 | Y | N | 学生姓名 | |
| 10 | student_grades | int | 10 | 0 | Y | N | 0 | 学生成绩 |
| 11 | ranking_of_grades | int | 10 | 0 | Y | N | 0 | 成绩排名 |
| 12 | recommend | int | 10 | 0 | N | N | 0 | 智能推荐 |
| 13 | create_time | datetime | 19 | 0 | N | N | CURRENT_TIMESTAMP | 创建时间 |
| 14 | update_time | timestamp | 19 | 0 | N | N | CURRENT_TIMESTAMP | 更新时间 |
表course_information (课程信息)
| 编号 | 名称 | 数据类型 | 长度 | 小数位 | 允许空值 | 主键 | 默认值 | 说明 |
| 1 | course_information_id | int | 10 | 0 | N | Y | 课程信息ID | |
| 2 | course_name | varchar | 64 | 0 | Y | N | 课程名称 | |
| 3 | course_classification | varchar | 64 | 0 | Y | N | 课程分类 | |
| 4 | course_credit | int | 10 | 0 | Y | N | 0 | 课程学分 |
| 5 | total_class_hours | int | 10 | 0 | Y | N | 0 | 总课时 |
| 6 | lecturer | int | 10 | 0 | Y | N | 0 | 任课老师 |
| 7 | teacher_name | varchar | 64 | 0 | Y | N | 教师姓名 | |
| 8 | recommend | int | 10 | 0 | N | N | 0 | 智能推荐 |
| 9 | create_time | datetime | 19 | 0 | N | N | CURRENT_TIMESTAMP | 创建时间 |
| 10 | update_time | timestamp | 19 | 0 | N | N | CURRENT_TIMESTAMP | 更新时间 |
表deduction_cancellation (扣分撤销)
| 编号 | 名称 | 数据类型 | 长度 | 小数位 | 允许空值 | 主键 | 默认值 | 说明 |
| 1 | deduction_cancellation_id | int | 10 | 0 | N | Y | 扣分撤销ID | |
| 2 | student_account | int | 10 | 0 | Y | N | 0 | 学生账户 |
| 3 | student_no | varchar | 64 | 0 | Y | N | 学生学号 | |
| 4 | student_name | varchar | 64 | 0 | Y | N | 学生姓名 | |
| 5 | grade_name | varchar | 64 | 0 | Y | N | 年级名称 | |
| 6 | department_name | varchar | 64 | 0 | Y | N | 院系名称 | |
| 7 | class_name | varchar | 64 | 0 | Y | N | 班级名称 | |
| 8 | counselor_users | int | 10 | 0 | Y | N | 0 | 辅导员用户 |
| 9 | deduction_points | varchar | 64 | 0 | Y | N | 扣除分数 | |
| 10 | reason_for_revocation | text | 65535 | 0 | Y | N | 撤销原因 | |
| 11 | recommend | int | 10 | 0 | N | N | 0 | 智能推荐 |
| 12 | create_time | datetime | 19 | 0 | N | N | CURRENT_TIMESTAMP | 创建时间 |
| 13 | update_time | timestamp | 19 | 0 | N | N | CURRENT_TIMESTAMP | 更新时间 |
表deduction_record (扣分记录)
| 编号 | 名称 | 数据类型 | 长度 | 小数位 | 允许空值 | 主键 | 默认值 | 说明 |
| 1 | deduction_record_id | int | 10 | 0 | N | Y | 扣分记录ID | |
| 2 | student_account | int | 10 | 0 | Y | N | 0 | 学生账户 |
| 3 | student_no | varchar | 64 | 0 | Y | N | 学生学号 | |
| 4 | student_name | varchar | 64 | 0 | Y | N | 学生姓名 | |
| 5 | grade_name | varchar | 64 | 0 | Y | N | 年级名称 | |
| 6 | department_name | varchar | 64 | 0 | Y | N | 院系名称 | |
| 7 | class_name | varchar | 64 | 0 | Y | N | 班级名称 | |
| 8 | counselor_users | int | 10 | 0 | Y | N | 0 | 辅导员用户 |
| 9 | deduction_points | int | 10 | 0 | Y | N | 0 | 扣除分数 |
| 10 | reason_for_deduction | text | 65535 | 0 | Y | N | 扣分原因 | |
| 11 | recommend | int | 10 | 0 | N | N | 0 | 智能推荐 |
| 12 | create_time | datetime | 19 | 0 | N | N | CURRENT_TIMESTAMP | 创建时间 |
| 13 | update_time | timestamp | 19 | 0 | N | N | CURRENT_TIMESTAMP | 更新时间 |
表department_name (院系名称)
| 编号 | 名称 | 数据类型 | 长度 | 小数位 | 允许空值 | 主键 | 默认值 | 说明 |
| 1 | department_name_id | int | 10 | 0 | N | Y | 院系名称ID | |
| 2 | department_name | varchar | 64 | 0 | Y | N | 院系名称 | |
| 3 | recommend | int | 10 | 0 | N | N | 0 | 智能推荐 |
| 4 | create_time | datetime | 19 | 0 | N | N | CURRENT_TIMESTAMP | 创建时间 |
| 5 | update_time | timestamp | 19 | 0 | N | N | CURRENT_TIMESTAMP | 更新时间 |
表final_rating (最终评分)
| 编号 | 名称 | 数据类型 | 长度 | 小数位 | 允许空值 | 主键 | 默认值 | 说明 |
| 1 | final_rating_id | int | 10 | 0 | N | Y | 最终评分ID | |
| 2 | student_account | int | 10 | 0 | Y | N | 0 | 学生账户 |
| 3 | student_no | varchar | 64 | 0 | Y | N | 学生学号 | |
| 4 | student_name | varchar | 64 | 0 | Y | N | 学生姓名 | |
| 5 | counselor_name | int | 10 | 0 | Y | N | 0 | 辅导员姓名 |
| 6 | achievement | int | 10 | 0 | Y | N | 0 | 成绩 |
| 7 | self_evaluation | int | 10 | 0 | Y | N | 0 | 自评 |
| 8 | counselor_rating | int | 10 | 0 | Y | N | 0 | 辅导员评分 |
| 9 | quality_assessment | int | 10 | 0 | Y | N | 0 | 素质考评 |
| 10 | deduction | int | 10 | 0 | Y | N | 0 | 扣除 |
| 11 | academic_evaluation | int | 10 | 0 | Y | N | 0 | 学业考评 |
| 12 | innovative_practice | int | 10 | 0 | Y | N | 0 | 创新实践 |
| 13 | comprehensive_evaluation | int | 10 | 0 | Y | N | 0 | 综合测评 |
| 14 | final_score | varchar | 64 | 0 | Y | N | 最终得分 | |
| 15 | recommend | int | 10 | 0 | N | N | 0 | 智能推荐 |
| 16 | create_time | datetime | 19 | 0 | N | N | CURRENT_TIMESTAMP | 创建时间 |
| 17 | update_time | timestamp | 19 | 0 | N | N | CURRENT_TIMESTAMP | 更新时间 |
表grade_name (年级名称)
| 编号 | 名称 | 数据类型 | 长度 | 小数位 | 允许空值 | 主键 | 默认值 | 说明 |
| 1 | grade_name_id | int | 10 | 0 | N | Y | 年级名称ID | |
| 2 | grade_name | varchar | 64 | 0 | Y | N | 年级名称 | |
| 3 | recommend | int | 10 | 0 | N | N | 0 | 智能推荐 |
| 4 | create_time | datetime | 19 | 0 | N | N | CURRENT_TIMESTAMP | 创建时间 |
| 5 | update_time | timestamp | 19 | 0 | N | N | CURRENT_TIMESTAMP | 更新时间 |
表hits (用户点击)
| 编号 | 名称 | 数据类型 | 长度 | 小数位 | 允许空值 | 主键 | 默认值 | 说明 |
| 1 | hits_id | int | 10 | 0 | N | Y | 点赞ID: | |
| 2 | user_id | int | 10 | 0 | N | N | 0 | 点赞人: |
| 3 | create_time | timestamp | 19 | 0 | N | N | CURRENT_TIMESTAMP | 创建时间: |
| 4 | update_time | timestamp | 19 | 0 | N | N | CURRENT_TIMESTAMP | 更新时间: |
| 5 | source_table | varchar | 255 | 0 | Y | N | 来源表: | |
| 6 | source_field | varchar | 255 | 0 | Y | N | 来源字段: | |
| 7 | source_id | int | 10 | 0 | N | N | 0 | 来源ID: |
表instructor (辅导员)
| 编号 | 名称 | 数据类型 | 长度 | 小数位 | 允许空值 | 主键 | 默认值 | 说明 |
| 1 | instructor_id | int | 10 | 0 | N | Y | 辅导员ID | |
| 2 | counselor_users | varchar | 64 | 0 | N | N | 辅导员用户 | |
| 3 | counselor_name | varchar | 64 | 0 | Y | N | 辅导员姓名 | |
| 4 | examine_state | varchar | 16 | 0 | N | N | 已通过 | 审核状态 |
| 5 | recommend | int | 10 | 0 | N | N | 0 | 智能推荐 |
| 6 | user_id | int | 10 | 0 | N | N | 0 | 用户ID |
| 7 | create_time | datetime | 19 | 0 | N | N | CURRENT_TIMESTAMP | 创建时间 |
| 8 | update_time | timestamp | 19 | 0 | N | N | CURRENT_TIMESTAMP | 更新时间 |
表quality_assessment_application (素质考评申请)
| 编号 | 名称 | 数据类型 | 长度 | 小数位 | 允许空值 | 主键 | 默认值 | 说明 |
| 1 | quality_assessment_application_id | int | 10 | 0 | N | Y | 素质考评申请ID | |
| 2 | student_account | int | 10 | 0 | Y | N | 0 | 学生账户 |
| 3 | student_no | varchar | 64 | 0 | Y | N | 学生学号 | |
| 4 | student_name | varchar | 64 | 0 | Y | N | 学生姓名 | |
| 5 | grade_name | varchar | 64 | 0 | Y | N | 年级名称 | |
| 6 | department_name | varchar | 64 | 0 | Y | N | 院系名称 | |
| 7 | class_name | varchar | 64 | 0 | Y | N | 班级名称 | |
| 8 | application_score | int | 10 | 0 | Y | N | 0 | 申请分值 |
| 9 | counselor_users | int | 10 | 0 | Y | N | 0 | 辅导员用户 |
| 10 | application_materials | varchar | 255 | 0 | Y | N | 申请材料 | |
| 11 | examine_state | varchar | 16 | 0 | N | N | 未审核 | 审核状态 |
| 12 | examine_reply | varchar | 16 | 0 | Y | N | 审核回复 | |
| 13 | recommend | int | 10 | 0 | N | N | 0 | 智能推荐 |
| 14 | create_time | datetime | 19 | 0 | N | N | CURRENT_TIMESTAMP | 创建时间 |
| 15 | update_time | timestamp | 19 | 0 | N | N | CURRENT_TIMESTAMP | 更新时间 |
表student_course_selection (学生选课)
| 编号 | 名称 | 数据类型 | 长度 | 小数位 | 允许空值 | 主键 | 默认值 | 说明 |
| 1 | student_course_selection_id | int | 10 | 0 | N | Y | 学生选课ID | |
| 2 | course_name | varchar | 64 | 0 | Y | N | 课程名称 | |
| 3 | course_classification | varchar | 64 | 0 | Y | N | 课程分类 | |
| 4 | course_credit | varchar | 64 | 0 | Y | N | 课程学分 | |
| 5 | total_class_hours | varchar | 64 | 0 | Y | N | 总课时 | |
| 6 | lecturer | int | 10 | 0 | Y | N | 0 | 任课老师 |
| 7 | teacher_name | varchar | 64 | 0 | Y | N | 教师姓名 | |
| 8 | student_account | int | 10 | 0 | Y | N | 0 | 学生账户 |
| 9 | student_no | varchar | 64 | 0 | Y | N | 学生学号 | |
| 10 | student_name | varchar | 64 | 0 | Y | N | 学生姓名 | |
| 11 | recommend | int | 10 | 0 | N | N | 0 | 智能推荐 |
| 12 | create_time | datetime | 19 | 0 | N | N | CURRENT_TIMESTAMP | 创建时间 |
| 13 | update_time | timestamp | 19 | 0 | N | N | CURRENT_TIMESTAMP | 更新时间 |
表student_information (学生信息)
| 编号 | 名称 | 数据类型 | 长度 | 小数位 | 允许空值 | 主键 | 默认值 | 说明 |
| 1 | student_information_id | int | 10 | 0 | N | Y | 学生信息ID | |
| 2 | student_photos | varchar | 255 | 0 | Y | N | 学生照片 | |
| 3 | student_account | int | 10 | 0 | Y | N | 0 | 学生账户 |
| 4 | student_no | varchar | 64 | 0 | Y | N | 学生学号 | |
| 5 | student_name | varchar | 64 | 0 | Y | N | 学生姓名 | |
| 6 | grade_name | varchar | 64 | 0 | Y | N | 年级名称 | |
| 7 | department_name | varchar | 64 | 0 | Y | N | 院系名称 | |
| 8 | class_name | varchar | 64 | 0 | Y | N | 班级名称 | |
| 9 | counselor_users | int | 10 | 0 | Y | N | 0 | 辅导员用户 |
| 10 | recommend | int | 10 | 0 | N | N | 0 | 智能推荐 |
| 11 | create_time | datetime | 19 | 0 | N | N | CURRENT_TIMESTAMP | 创建时间 |
| 12 | update_time | timestamp | 19 | 0 | N | N | CURRENT_TIMESTAMP | 更新时间 |
表student_self_evaluation (学生自评)
| 编号 | 名称 | 数据类型 | 长度 | 小数位 | 允许空值 | 主键 | 默认值 | 说明 |
| 1 | student_self_evaluation_id | int | 10 | 0 | N | Y | 学生自评ID | |
| 2 | student_account | int | 10 | 0 | Y | N | 0 | 学生账户 |
| 3 | student_no | varchar | 64 | 0 | Y | N | 学生学号 | |
| 4 | student_name | varchar | 64 | 0 | Y | N | 学生姓名 | |
| 5 | self_evaluation_score | int | 10 | 0 | Y | N | 0 | 自评分数 |
| 6 | self_evaluation_remarks | text | 65535 | 0 | Y | N | 自评备注 | |
| 7 | recommend | int | 10 | 0 | N | N | 0 | 智能推荐 |
| 8 | create_time | datetime | 19 | 0 | N | N | CURRENT_TIMESTAMP | 创建时间 |
| 9 | update_time | timestamp | 19 | 0 | N | N | CURRENT_TIMESTAMP | 更新时间 |
表student_users (学生用户)
| 编号 | 名称 | 数据类型 | 长度 | 小数位 | 允许空值 | 主键 | 默认值 | 说明 |
| 1 | student_users_id | int | 10 | 0 | N | Y | 学生用户ID | |
| 2 | student_account | varchar | 64 | 0 | N | N | 学生账户 | |
| 3 | student_no | varchar | 64 | 0 | Y | N | 学生学号 | |
| 4 | student_name | varchar | 64 | 0 | Y | N | 学生姓名 | |
| 5 | examine_state | varchar | 16 | 0 | N | N | 已通过 | 审核状态 |
| 6 | recommend | int | 10 | 0 | N | N | 0 | 智能推荐 |
| 7 | user_id | int | 10 | 0 | N | N | 0 | 用户ID |
| 8 | create_time | datetime | 19 | 0 | N | N | CURRENT_TIMESTAMP | 创建时间 |
| 9 | update_time | timestamp | 19 | 0 | N | N | CURRENT_TIMESTAMP | 更新时间 |
表teacher_information (教师信息)
| 编号 | 名称 | 数据类型 | 长度 | 小数位 | 允许空值 | 主键 | 默认值 | 说明 |
| 1 | teacher_information_id | int | 10 | 0 | N | Y | 教师信息ID | |
| 2 | teacher_account | int | 10 | 0 | Y | N | 0 | 教师账号 |
| 3 | teachers_name | varchar | 64 | 0 | Y | N | 教师姓名 | |
| 4 | teaching_courses | varchar | 64 | 0 | Y | N | 教授课程 | |
| 5 | title | varchar | 64 | 0 | Y | N | 职称 | |
| 6 | length_of_teaching | varchar | 64 | 0 | Y | N | 教龄 | |
| 7 | brief_introduction | longtext | 2147483647 | 0 | Y | N | 简介 | |
| 8 | recommend | int | 10 | 0 | N | N | 0 | 智能推荐 |
| 9 | create_time | datetime | 19 | 0 | N | N | CURRENT_TIMESTAMP | 创建时间 |
| 10 | update_time | timestamp | 19 | 0 | N | N | CURRENT_TIMESTAMP | 更新时间 |
表teacher_users (教师用户)
| 编号 | 名称 | 数据类型 | 长度 | 小数位 | 允许空值 | 主键 | 默认值 | 说明 |
| 1 | teacher_users_id | int | 10 | 0 | N | Y | 教师用户ID | |
| 2 | teacher_account | varchar | 64 | 0 | N | N | 教师账户 | |
| 3 | teachers_name | varchar | 64 | 0 | Y | N | 教师姓名 | |
| 4 | examine_state | varchar | 16 | 0 | N | N | 已通过 | 审核状态 |
| 5 | recommend | int | 10 | 0 | N | N | 0 | 智能推荐 |
| 6 | user_id | int | 10 | 0 | N | N | 0 | 用户ID |
| 7 | create_time | datetime | 19 | 0 | N | N | CURRENT_TIMESTAMP | 创建时间 |
| 8 | update_time | timestamp | 19 | 0 | N | N | CURRENT_TIMESTAMP | 更新时间 |
表upload (文件上传)
| 编号 | 名称 | 数据类型 | 长度 | 小数位 | 允许空值 | 主键 | 默认值 | 说明 |
| 1 | upload_id | int | 10 | 0 | N | Y | 上传ID | |
| 2 | name | varchar | 64 | 0 | Y | N | 文件名 | |
| 3 | path | varchar | 255 | 0 | Y | N | 访问路径 | |
| 4 | file | varchar | 255 | 0 | Y | N | 文件路径 | |
| 5 | display | varchar | 255 | 0 | Y | N | 显示顺序 | |
| 6 | father_id | int | 10 | 0 | Y | N | 0 | 父级ID |
| 7 | dir | varchar | 255 | 0 | Y | N | 文件夹 | |
| 8 | type | varchar | 32 | 0 | Y | N | 文件类型 |
表user (用户账户:用于保存用户登录信息)
| 编号 | 名称 | 数据类型 | 长度 | 小数位 | 允许空值 | 主键 | 默认值 | 说明 |
| 1 | user_id | mediumint | 8 | 0 | N | Y | 用户ID:[0,8388607]用户获取其他与用户相关的数据 | |
| 2 | state | smallint | 5 | 0 | N | N | 1 | 账户状态:[0,10](1可用|2异常|3已冻结|4已注销) |
| 3 | user_group | varchar | 32 | 0 | Y | N | 所在用户组:[0,32767]决定用户身份和权限 | |
| 4 | login_time | timestamp | 19 | 0 | N | N | CURRENT_TIMESTAMP | 上次登录时间: |
| 5 | phone | varchar | 11 | 0 | Y | N | 手机号码:[0,11]用户的手机号码,用于找回密码时或登录时 | |
| 6 | phone_state | smallint | 5 | 0 | N | N | 0 | 手机认证:[0,1](0未认证|1审核中|2已认证) |
| 7 | username | varchar | 16 | 0 | N | N | 用户名:[0,16]用户登录时所用的账户名称 | |
| 8 | nickname | varchar | 16 | 0 | Y | N | 昵称:[0,16] | |
| 9 | password | varchar | 64 | 0 | N | N | 密码:[0,32]用户登录所需的密码,由6-16位数字或英文组成 | |
| 10 | | varchar | 64 | 0 | Y | N | 邮箱:[0,64]用户的邮箱,用于找回密码时或登录时 | |
| 11 | email_state | smallint | 5 | 0 | N | N | 0 | 邮箱认证:[0,1](0未认证|1审核中|2已认证) |
| 12 | avatar | varchar | 255 | 0 | Y | N | 头像地址:[0,255] | |
| 13 | create_time | timestamp | 19 | 0 | N | N | CURRENT_TIMESTAMP | 创建时间: |
表user_group (用户组:用于用户前端身份和鉴权)
| 编号 | 名称 | 数据类型 | 长度 | 小数位 | 允许空值 | 主键 | 默认值 | 说明 |
| 1 | group_id | mediumint | 8 | 0 | N | Y | 用户组ID:[0,8388607] | |
| 2 | display | smallint | 5 | 0 | N | N | 100 | 显示顺序:[0,1000] |
| 3 | name | varchar | 16 | 0 | N | N | 名称:[0,16] | |
| 4 | description | varchar | 255 | 0 | Y | N | 描述:[0,255]描述该用户组的特点或权限范围 | |
| 5 | source_table | varchar | 255 | 0 | Y | N | 来源表: | |
| 6 | source_field | varchar | 255 | 0 | Y | N | 来源字段: | |
| 7 | source_id | int | 10 | 0 | N | N | 0 | 来源ID: |
| 8 | register | smallint | 5 | 0 | Y | N | 0 | 注册位置: |
| 9 | create_time | timestamp | 19 | 0 | N | N | CURRENT_TIMESTAMP | 创建时间: |
| 10 | update_time | timestamp | 19 | 0 | N | N | CURRENT_TIMESTAMP | 更新时间: |
第5章 系统详细设计
5.1管理员功能模块
管理员登录大学生综合素质测评系统,在登录页面输入用户名、密码、图片验证等进行登录,如图5-1所示。
图5-1管理员登录界面图
管理员进入系统后台可以查看:后台首页,系统用户(管理员、学生用户、教师用户、辅导员)权限管理、模块管理(年级名称、班级名称、院系名称、教程信息、课程信息、学生选课、课程成绩、学生信息、学生自评、辅导员评分、素质考评申请、扣分记录、扣分撤销、最终评分)个人信息等功能,还可进行相应的操作,如图5-2所示。
图5-2管理员功能界
系统用户,在此页面可以查看用户信息,还可在该页面对注册的学生用户、教师用户、辅导员以及管理员进行管控,如图5-3所示。

图5-3系统用户管理界面图
权限管理:管理员在此页面可以对用户的权限进行管理,可根据需要进行修改等操作,如图5-4所示。
图5-4权限管理界面
班级名称:管理员在此页面可以添加班级名称进行管理,可根据里进行详情、删除、查询等操作,如图5-5所示。
图5-5班级名称界面图
年级名称:管理员在此页面可以添加年级名称进行管理,可根据里进行详情、删除、查询等操作,如图5-6所示。
图5-6年级管理界面图
院系名称:管理员在此页面可以添加院系名称进行管理,可根据里进行详情、删除、查询等操作,如图5-6所示。

图5-7院系名称管理界面图
5.2学生用户功能模块
学生用户登录大学生综合素质测评系统,在登录页面输入用户名、密码、图片验证等进行登录,如图5-8所示。
图5-8学生登录界面图
进入系统可以查看:后台首页,模块管理(课程信息、学生选课、课程成绩、学生信息、学生自评、辅导员评分、素质考评申请、扣分记录、扣分撤销、最终评分),个人信息等功能,还可进行相应的操作,如图5-9所示。
图5-9学生功能界面图
课程信息,在该页面可以查看课程名称、课程分类、课程学分、总课时、任课老师、教师姓名等详细信息,可进行详情、学生选课等操作,如图5-10 5-11所示。
图5-10课程信息界面图

图5-11学生选课界面图
个人信息,在该页面可以查看用户名、用户组、状态等信息,可对昵称、手机号、邮箱和头像进行更改,如图5-12所示。
图5-12个人信息界面图
素质考评申请:学生在此页面可编辑申请分值、上传申请材料等内容进行提交素质考评申请,由辅导员审核,如图5-13所示。
图5-13素质考评申请界面图
5.3教师功能模块
教师进入系统后台可以查看:后台首页,模块管理(教程信息、课程信息、学生选课、课程成绩、学生信息)个人信息等功能,还可进行相应的操作,如图5-14所示。
图5-14教师功能界面图
个人信息,在该页面可以查看用户名、用户组、状态等信息,可对昵称、手机号、邮箱和头像进行更改,如图5-15所示。
图5-15个人信息界面图
教师信息:教师在此页面查看教师账户、教师姓名、教授课程、职称、教龄、简介等信息,可根据需要进行详情、添加或删除等操作,如图5-16所示。
图5-16教师信息界面图
课程成绩,教师在此页面可对学生的课程成绩进行添加,如图5-17所示。
图5-17添加课程成绩界面图
5.4辅导员功能模块
辅导员进入系统后台可以查看:后台首页,模块管理(教师信息、课程成绩、学生信息、学生自评、辅导员评分、素质考评申请、扣分记录、扣分撤销、最终评分)个人信息等功能,还可进行相应的操作,如图5-18所示。
图5-18辅导员功能界面图
学生信息,辅导员在此页面可查看学生照片、学生用户、学生学号、学生姓名、年级名称、院系名称、班级名称等详细信息,可根据需要进行详情、评分、扣分、最终评分等操作,如图5-19 5-20 5-21 5-22所示。
图5-19学生信息界面图
扣分界面,辅导员在此页面输入扣除分数和扣分原因进行提交,如图5-20所示。

图5-20扣分界面图
扣分撤销,辅导员在此页面输入撤销原因进行提交扣分撤销,如图5-21所示。

图5-21扣分撤销界面图
最终评分:辅导员在此页面可查看学生账号、学号、姓名、辅导员姓名、成绩、自评、辅导员评分、素质考评、扣除、学业考评、创新实践、综合测评、最终得分等详细信息,可根据需要进行详情、添加或删除等操作,如图5-22所示。
图5-22最终得分界面图
第6章 系统测试
6.1系统测试的目的
程序设计不能保证没有错误,这是一个开发过程,在错误或错误的过程中都是难以避免的。虽然这是不可避免的,但我们不能使这些错误始终存在于系统中,错误可能会造成无法估量的后果,如系统崩溃,安全信息泄露,系统无法正常启动等,为了避免这些问题,我们需要测试程序,再测试过程中发现问题,并纠正它们,从而使系统更长时间稳定成熟。本章的作用是发现这些问题,并对其进行修改,虽然耗时费力,但对于长期使用而言是非常重要和必要系统的开发。
软件在设计后必须进行测试,调试过程中使用的方法是软件测试方法。在开发新软件时,系统测试是检查软件是否合格的关键步骤,以及是否符合设计目标的参考。测试主要是查看软件中数据的准确性,正确的操作与否,以及操作的结果,还有哪些方面需要改进。
大学生综合素质测评系统的实现,对于系统中功能模块的实现及操作都必须通过测试进行来评判系统是否可以准确的实现。在大学生综合素质测评系统正式上传使用之前必须做的一步就是系统测试,对于测试发现的错误及时修改处理,保证系统准确无误的供给用户使用。
6.2系统测试方法
在对大学生综合素质测评系统进行测试的时候在找到问题的情况下必须在第一时间找到解决问题的办法,不要存在侥幸的心理,这样才能让大学生综合素质测评系统开发的质量可以过关,并且开发的周期会大大缩短,还有就是在测试时,不要出现重复性的错误,遇到一个错误问题,要将整个大学生综合素质测评系统开发所牵扯的该问题都必须一一解决,提高大学生综合素质测评系统平台的安全性、稳定性。
白盒测试与黑盒测试是测试中比较常用的两种方法。
①结构测试俗称白盒测试:这种测试是在对程序的处理过程与结构都有详尽谅解的前提下,顺从程序内部的逻辑而完成的系统测试,以确定系统中所有的通路都能够遵照设计要求正常工作,不出现任何偏差。
②功能测试又成黑盒测试:主要是针对程序功能能够按照设计正常实现的一种检测,在程序接口处进行,检测程序手法数据是否正常,与外部信息的交换是否完整。
6.3功能测试
用户登录测试:
| 模块名称 | 测试用例 | 预期结果 | 实际结果 | 是否通过 |
| 登录模块 | 用户名:admin 密码:123 | 弹出错误提示,提示密码错误 | 弹出错误提示,提示密码错误 | 通过 |
| 登录模块 | 用户名:123 密码:admin | 弹出错误提示,提示用户名错误 | 弹出错误提示,提示用户名错误 | 通过 |
| 登录模块 | 用户名:admin 密码:admin | 管理员登录成功 | 管理员登录成功 | 通过 |
修改密码测试:
| 模块名称 | 测试用例 | 预期结果 | 实际结果 | 是否通过 |
| 修改密码模块 | 原密码:666 新密码:123 确认密码:123 | 弹出错误提示,提示原密码错误 | 弹出错误提示,提示原密码错误 | 通过 |
| 修改密码模块 | 原密码:admin 新密码:123 确认密码:333 | 弹出错误提示,提示确认密码不一致 | 弹出错误提示,提示确认密码不一致 | 通过 |
| 修改密码模块 | 原密码:admin 新密码:123 确认密码:123 | 密码修改成功 | 密码修改成功 | 通过 |
通过对功能的测试,大学生综合素质测评系统的基本功能都是可行的,不管是系统里面的功能,还是界面的设计都是可值得推广宣传的。
此时项目已经完成,即使实施的时间不是很长,但是这个过程中需要准备很长的一段时间去对系统设计开发所相关技术进行学习。在学习的过程中,我逐渐认识得到了我自身存在的一些不足。对于一些控制是必要的应用技能,能够理解,整个过程中仅仅是一个掌握了常用的性能和控制方法,我觉得挺容易的。从该系统中,系统的分析和设计的调查数据,并且已经经历了几个月,并努力几个月,该系统已经完成。很显然,该系统仍有很多不成熟的地方,在系统设计过程中有许多技术缺陷存在。在设计的过程中也涉及到了很多自己无法解决的问题,主要通过咨询老师解决这些问题,对于毕业设计的圆满完成,需要感谢老师们的指导。系统的开发环境和配置都是可以自行安装的,系统使用Java开发工具,使用比较成熟的Mysql数据库进行对系统前台及后台的数据交互,根据技术语言对数据库,结合需求进行修改维护,可以使得系统运行更具有稳定性和安全性,从而完成实现系统的开发。
回顾毕业设计的整个过程,既付出汗水也收获了很多。虽然经历了各种各样的困难,自己的不断研究探索,系统的实现仍有不足之处。
在以后的学习及工作中,我仍然继续学习计算机方面的技术,让我在后期的平台开发中可以更好更快的实现需求功能。我相信我可以让更多的好工作,做出更大的贡献。
大学生综合素质测评系统的完成,如何实现的更好,其中付出的努力是很大的,这段时光将会终身难忘。
首先要感谢我的指导老师,谢谢您在设计和论文中给我的指导。在您的细心指导下我才能快速的掌握系统的相关功能,在您的大力帮助下我才能将课本上的知识与自己的项目结合,真正的做到学以致用。感谢您经常牺牲自己的休息时间,利用其丰富的教学和项目经验对我进行指导。
感谢所有教过我的老师,为我倾注了大量的心血,正是你们的谆谆教诲、严谨教学才使我能顺利的完成学业,再此向你们表示深深的感谢。
感谢我的同学们,对我的大力支持及帮助,正是你们不断的帮助、鼓励,给我带来了极大的动力,最终系统可以顺利的运行。我们在交流、谈论的这段时间,将是我未来的财富,我要深深地感谢你们!
毕业在即,在今后的工作和生活中,我会铭记师长们的教诲、同学们的帮助,继续不懈努力和追求,来报答所有支持和帮助过我的人!
参考文献
[1]Møller Pål. The Prospective Lynch Syndrome Database: background, design, main results and complete MySQL code[J]. Hereditary Cancer in Clinical Practice,2022,20(1).
[2]Qu Xiaona. Application of Java Technology in Dynamic Web Database Technology[J]. Journal of Physics: Conference Series,2021,1744(4).
[3]Tian Ming Huang. Design and Implementation of App System for Legal Consulting Based on JAVA Technology[J]. Procedia Computer Science,2020,166(C).
[4]张静.大学生综合素质测评理论研究述评与展望[J].佳木斯职业学院学报,2019(02):103-104.
[5]杨敏. 基于.net大学生综合素质测评系统的设计与实现[D].电子科技大学,2019.
[6]康鲜菜.大学生综合素质测评系统的设计与研究[J].信息与电脑(理论版),2018(15):50-52.
[7]柯纯.大学生综合素质测评系统研究[J].文教资料,2015(19):141-143.
[8]肖红光,肖金利.大学生综合素质测评体系理论及应用研究[J].湖南商学院学报,2013,20(06):59-63.
[9]唐燕雯. 高职院校大学生综合素质测评系统的设计与实现[D].湖南大学,2014.
[10]曾显峰,关志锋.大学生综合素质测评系统管理模块设计与实现[J].计算机时代,2013(11):40-42.
[11]李静森,邵红梅.大学生综合素质网上测评系统的设计与应用——以成都航空职业技术学院为例[J].中国西部科技,2013,12(05):43-45.
[12]梁晨. 基于Web的大学生综合素质测评系统的设计与实现[D].电子科技大学,2012.
[13]谭继安. 高职院校大学生动态综合素质测评系统的设计与实现[D].中山大学,2012.
[14]彭苏勉,彭志忠. 大学生综合素质与能力测评系统[P]. 山东:CN102364513A,2012-02-29.
[15]王磊. 高校大学生综合素质测评系统设计[D].电子科技大学,2011.
[16]王晨曦. 基于数据挖掘的大学生综合素质测评系统的设计与实现[D].电子科技大学,2011.
[17]刘洋.大学生综合素质测评体系的构建与实施[J].中国西部科技,2010,9(16):87-88+84.
[18]王付山.基于Web的大学生综合素质测评系统设计与实现[J].计算机与现代化,2008(04):100-101+105.
[19]闫小林, 基于校园网的大学生综合素质实时测评系统. 河北省,河北理工大学,2007-09-09.
[20]连福局,林克明.高校大学生综合素质测评管理系统[J].三明高等专科学校学报,2003(04):124-127.
免费领取项目源码,请关注●点赞收藏并私信博主,谢谢-、
本文介绍了一个使用Java技术和SpringBoot框架开发的大学生综合素质测评系统,系统包括管理员、学生、教师和辅导员等多个用户角色的管理功能,如权限管理、课程信息、成绩管理等。系统设计遵循了良好的可读性、实用性、易扩展性原则,数据库设计包含了多个数据表,如用户信息、课程信息、评分记录等。系统测试确保了功能的正确性,旨在提高高校教育管理水平和工作效率。
1085

被折叠的 条评论
为什么被折叠?



