##FM-CEMS(FM赛事疫情管理系统)
FM-CEMS(Competition Epidmic Management System),一个用于各类赛事疫情防控的管理系统,基于SpringBoot+Vue。
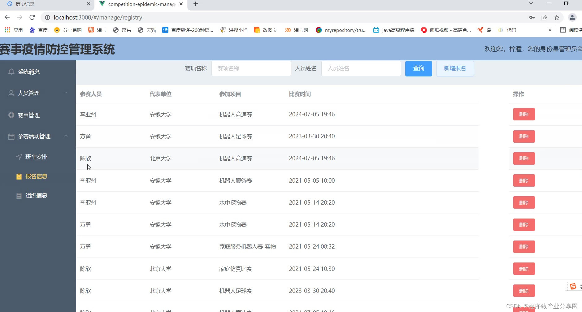
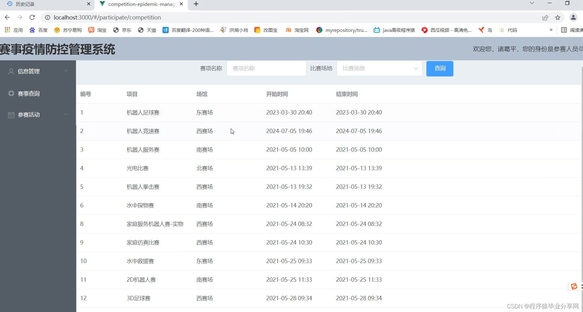
系统实现了人员管理、赛事管理、参赛活动管理三大赛事系统功能模块,同时提供了健康信息管理和疫情异常信息提示等疫情防控功能。
# 使用系统
http://localhost:3000/#/login登陆后使用系统。
【497】基于springboot vue前后端分离的赛事疫情管理系统源码




























package project.zzq.competition_epidemic_management_system.web.controller;
import org.springframework.beans.factory.annotation.Autowired;
import org.springframework.web.bind.annotation.*;
import project.zzq.competition_epidemic_management_system.constant.CompetitionEpidemicManagementSystemConstant;
import project.zzq.competition_epidemic_management_system.data.CompetitionInfoDO;
import project.zzq.competition_epidemic_management_system.data.PlaceInfoDO;
import project.zzq.competition_epidemic_management_system.web.data.CompetitionVO;
import project.zzq.competition_epidemic_management_system.web.data.DeleteCompetitionParam;
import project.zzq.competition_epidemic_management_system.web.data.GetCompetitionParam;
import project.zzq.competition_epidemic_management_system.web.data.SearchCompetitionParam;
import project.zzq.competition_epidemic_management_system.web.logic.CompetitionLogic;
import java.util.List;
@RestController
@RequestMapping(CompetitionEpidemicManagementSystemConstant.API)
public class CompetitionController {
@Autowired
private CompetitionLogic competitionLogic;
@PostMapping("/competition/create")
public void create(@RequestBody CompetitionInfoDO competitionInfoDO) {
competitionLogic.createCompetition(competitionInfoDO);
}
@PostMapping("/competition/create-place")
public void createPlace(@RequestBody PlaceInfoDO placeInfoDO) {
competitionLogic.createPlace(placeInfoDO.getName());
}
@GetMapping("/competition/all-competition")
public List<CompetitionVO> getAllCompetition() {
return competitionLogic.getAllCompetition();
}
@PostMapping("/competition/competition")
public CompetitionVO getCompetitionById(@RequestBody GetCompetitionParam getCompetitionParam) {
return competitionLogic.getCompetitionById(getCompetitionParam.getCompetitionId());
}
@GetMapping("/competition/all-place")
public List<PlaceInfoDO> getAllPlace() {
return competitionLogic.getAllPlace();
}
@PostMapping("/competition/search")
public List<CompetitionVO> searchCompetition(@RequestBody SearchCompetitionParam searchCompetitionParam) {
return competitionLogic.searchCompetition(searchCompetitionParam);
}
@PostMapping("/competition/edit")
public void edit(@RequestBody CompetitionInfoDO competitionInfoDO) {
competitionLogic.edit(competitionInfoDO);
}
@PostMapping("/competition/delete")
public void deleteByCompetitionId(@RequestBody DeleteCompetitionParam deleteCompetitionParam) {
competitionLogic.deleteByCompetitionId(deleteCompetitionParam.getCompetitionId());
}
}
package project.zzq.competition_epidemic_management_system.web.controller;
import org.springframework.beans.factory.annotation.Autowired;
import org.springframework.web.bind.annotation.*;
import project.zzq.competition_epidemic_management_system.constant.CompetitionEpidemicManagementSystemConstant;
import project.zzq.competition_epidemic_management_system.data.ParticipantInfoDO;
import project.zzq.competition_epidemic_management_system.web.data.DeleteUserParam;
import project.zzq.competition_epidemic_management_system.web.data.ParticipantCreateParam;
import project.zzq.competition_epidemic_management_system.web.data.ParticipantInfoVO;
import project.zzq.competition_epidemic_management_system.web.data.SearchParticipantParam;
import project.zzq.competition_epidemic_management_system.web.logic.ParticipantInfoLogic;
import java.util.List;
@RestController
@RequestMapping(CompetitionEpidemicManagementSystemConstant.API)
public class ParticipantInfoController {
@Autowired
private ParticipantInfoLogic participantInfoLogic;
@PostMapping("/participant-info/create")
public void create(@RequestBody ParticipantCreateParam participantCreateParam) {
participantInfoLogic.create(participantCreateParam);
}
@PostMapping("/participant-info/infos")
public List<ParticipantInfoVO> getParticipantInfoByUserIds(@RequestBody List<Long> userIds) {
return participantInfoLogic.getParticipantInfoByUserIds(userIds);
}
@GetMapping("/participant-info/all-infos")
public List<ParticipantInfoVO> getAllParticipantInfo() {
return participantInfoLogic.getAllParticipantInfo();
}
@PostMapping("/participant-info/search")
public List<ParticipantInfoVO> searchParticipantInfo(@RequestBody SearchParticipantParam searchParticipantParam) {
return participantInfoLogic.searchParticipant(searchParticipantParam);
}
@PostMapping("/participant-info/edit")
public void edit(@RequestBody ParticipantInfoDO participantInfoDO) {
participantInfoLogic.edit(participantInfoDO);
}
@PostMapping("/participant-info/delete")
public void deleteByUserId(@RequestBody DeleteUserParam deleteUserParam) {
participantInfoLogic.deleteByUserId(deleteUserParam.getUserId());
}
}
package project.zzq.competition_epidemic_management_system.web.controller;
import lombok.extern.slf4j.Slf4j;
import org.springframework.beans.factory.annotation.Autowired;
import org.springframework.web.bind.annotation.*;
import project.zzq.competition_epidemic_management_system.constant.CompetitionEpidemicManagementSystemConstant;
import project.zzq.competition_epidemic_management_system.data.HealthyInfoDO;
import project.zzq.competition_epidemic_management_system.data.ParticipantInfoDO;
import project.zzq.competition_epidemic_management_system.web.data.DeleteHealthyParam;
import project.zzq.competition_epidemic_management_system.web.data.HealthyInfoVO;
import project.zzq.competition_epidemic_management_system.web.data.ParticipantInfoVO;
import project.zzq.competition_epidemic_management_system.web.data.SearchHealthyInfoParam;
import project.zzq.competition_epidemic_management_system.web.logic.HealthyInfoLogic;
import java.util.List;
@RestController
@RequestMapping(CompetitionEpidemicManagementSystemConstant.API)
@Slf4j
public class HealthyController {
@Autowired
private HealthyInfoLogic healthyInfoLogic;
@PostMapping("/healthy-info/create")
public void create(@RequestBody HealthyInfoDO healthyInfoDO) {
healthyInfoLogic.create(healthyInfoDO);
}
@GetMapping("/healthy-info/all-infos")
public List<HealthyInfoVO> getAllParticipantInfo() {
return healthyInfoLogic.getAllHealthyInfo();
}
@PostMapping("/healthy-info/search")
public List<HealthyInfoVO> searchHealthyByUserIds(@RequestBody SearchHealthyInfoParam searchHealthyInfoParam) {
return healthyInfoLogic.searchHealthyByUserName(searchHealthyInfoParam.getName());
}
@PostMapping("healthy-info/delete")
public void deleteById(@RequestBody DeleteHealthyParam deleteHealthyParam) {
healthyInfoLogic.deleteById(deleteHealthyParam.getId());
}
}
基于SpringBoot+Vue的赛事疫情管理系统源码
文章介绍了FM-CEMS,一个基于SpringBoot和Vue的前后端分离的赛事疫情管理系统,包含人员管理、赛事管理和健康信息管理等功能,可用于各类赛事的疫情防控。
1万+

被折叠的 条评论
为什么被折叠?



