一.用户账号概述
1.账号分类
1.超级用户: root用户是Linux操作系统中默认的超级用户账号,对本主机拥有最高的权限,系统中超级用户是唯一的。
2.普通用户: 由root用户或其他管理员用户创建,拥有的权限会受到限制,一般只在用户自己的宿主目录中拥有完整权限。
3.程序用户: 在安装Linux操作系统及部分应用程序时,会添加一些特定的低权限用户账号,这些用户一般不允许登录到系统,仅用于维持系统或某个程序的正常运行,如bin、daemon、ftp、mail等。
2.用户标识UID (User IDentity ,用户标识号)
root用户账号的UID固定值0
程序用户账号的UID默认为Centos7: 1~ 999
普通用户的UID默认为Centos7: 1000~ 65535
3.用户账号文件/etc/passwd
/etc/passwd :保存用户名称、宿主自录、登录Sell等基本信息
作用:保存用户名称、宿主自录、登录Sell等基本信息,每一行对应一个用户的帐号记录

root:x:0:0:root:/root:/bin/bash
passwd文件中记录的信息用“:”隔开,共7段信息
字段1:用户帐号的名称
字段2:用户密码占位符“x”
字段3:用户帐号的UID号
字段4:所属基本组帐号的GID号
字段5:用户全名
字段6:宿主目录
字段7:登录Shell信息( /bin/bash为可登陆系统,/sbin/nologin和/bin/false为禁止用户登陆系统)
4.密码存贮/etc/shadow
/etc/shadow:保存用户的账号、密码等有效信息 只有root有权限查看

xy:$6$K1prXGgR$8gRhoqkMBbJZwNJMKY8UchxaasFG2apqIcu5MiPOVnnkvq0Huc.0QflCAqV3bLi1117/OGV.KO1VqehMJDN7T.:19078:0:30:6:3:19087:
同passwd文件一样,shadow同样以“:”分割信息,共九段
字段1:用户帐号的名称;
字段2:使用SHA512加密的密码字串信息,当为“*” 或“! !”时表示此用户不能登录到系统;若该字段内容为空,则该用户无须密码即可登录系统;
字段3:上次修改密码的时间,表示从1970年01月01日算起到最近一次修改密码时间隔的天数;
字段4:密码的最短有效天数,自本次修改密码后,必须至少经过该天数才能再次修改密码。默认值为0,表示不进行限制;
字段5:密码的最长有效天数,自本次修改密码后,经过该天数以后必须再次修改密码。默认值为99999, 表示不进行限制;
字段6:提前多少天警告用户密码将过期,默认值为7;
字段7:在密码过期之后多少天禁用此用户;
字段8:帐号失效时间,此字段指定了用户作废的天数(从1970年01月01日起计算),默认值为空,表示账号永久可用;
字段9:保留字段(未使用),没有特定用用途。
二.账号管理
1.添加用户账号–useradd
命令格式:useradd [选项] + 要添加的账户名

例:
[root@320 ~]# useradd xiayan
[root@320 ~]# echo "123456" |passwd --stdin xiayan
更改用户 xiayan 的密码 。
passwd:所有的身份验证令牌已经成功更新。
[root@320 ~]# tail -1 /etc/passwd
xiayan:x:1005:1005::/home/xiayan:/bin/bash
[root@320 ~]# tail -1 /etc/shadow
xiayan:$6$wZAO/f2/$9X5NAEb.rY7YbZR6xQXf7i.fk.Sodt95ttlpDf0.WxDnFoqAfb8s34KFycQAyyJ/RCtkKzEjySJMWGEHjck8l1:19078:0:99999:7:::
[root@320 ~]# ls /home
xiayan
2.账户密码–passwd
root用户可以指定用户名作为参数,对指定账号的密码进行管理;不指定用户名时,修改当前账号的密码。
普通用户却只能执行单独的“passwd"命令修改自己的密码。
命令格式:passwd [选项] +用户名

[root@320 ~]# passwd -d xiayan
清除用户的密码 xiayan。
passwd: 操作成功
[root@320 ~]# passwd xiayan
更改用户 xiayan 的密码 。
新的 密码:
无效的密码: 密码少于 8 个字符
重新输入新的 密码:
passwd:所有的身份验证令牌已经成功更新。
[root@320 ~]# passwd -l xiayan
锁定用户 xiayan 的密码 。
passwd: 操作成功
[root@320 ~]# passwd -S xiayan
xiayan LK 2022-03-27 0 99999 7 -1 (密码已被锁定。)
[root@320 ~]# passwd -u xiayan
解锁用户 xiayan 的密码。
passwd: 操作成功
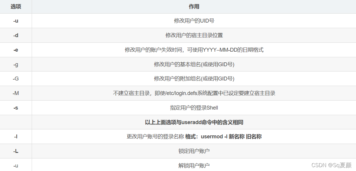
3.账户信息修改–usermod
命令格式:usermod [选项]+用户名
命令使用方法和useradd基本相同,锁定解锁账户与passwd也类似,不同在于passwd锁定的是/etc/passwd而usermod锁定的是/etc/shadow
[root@320 ~]# usermod -L xiayan
[root@320 ~]# tail -1 /etc/shadow
xiayan:!$6$sMCWfZHy$dwWuCC/1/aHkxCfewNVHo2V8vrz/WL4NXG4LpP9Q4JZZE2VtkyRFPQNiRnnNJlE67X.p3/zJ8toECD06cp7ly0:19078:0:99999:7:::
[root@320 ~]# usermod -u xiay
[root@320 ~]# tail -1 /etc/shadow
xiayan:$6$sMCWfZHy$dwWuCC/1/aHkxCfewNVHo2V8vrz/WL4NXG4LpP9Q4JZZE2VtkyRFPQNiRnnNJlE67X.p3/zJ8toECD06cp7ly0:19078:0:99999:7:::
4.账号删除–userdel
命令格式:userdel -r +用户名
root@320 ~]# userdel -r xiayan
[root@320 ~]# ls /home
[root@320 ~]#
4.修改账户密码有效期–chage
在前文中提到,用户密码存储在/etc/shadow中,并且字段中显示密码的有效期等信息,那么如何修改呢
chage [选项] +用户名
例:
创建普通账号并且对账号设置密码的最长有效30天;提前6天警告账号密码将过期 ,设置账户密码过期之后3天内禁用用户,账号失效时间10天

三.组账号概述
1.组账号分类
本组(私有组): 基本组账号只有一个,一般为创建用户时指定的组。在/etc/passwd文件中第4段记录的即为该用户的基本组GID号。
附加组(公共组): 用户除了基本组以外,额外添加指定的组。
2.组标识(GID)
root用户账号的GID固定值0程序用户账号的GID默认为Centos7: 1~ 999普通用户的GID默认为Centos7: 1000~ 65535
3.组账号文件/etc/group
/etc/group:保存组帐号基本信息/etc/gshadow:保存组帐号的密码信息
字段1:组帐号的名称
字段2: 占位符“x”
字段3:组账号的GID号
字段4:组账号包含的用户成员(一般不包括基本组对应的用户帐号),多个成员之间以逗号“,"分隔
[root@320 ~]# tail -1 /etc/group
xg:x:1007:
四.组账户管理
1.组账户添加–groupadd
命令格式:groupadd [-g Gid] +组账户名
[root@320 ~]# groupadd -g 1008 hjd 创建一个Gid为1008名称为hjd的组
[root@320 ~]# tail -1 /etc/group
hjd:x:1008:
2.组账户成员管理–gpasswd
命令格式:gpasswd [选项+用户名] +组名

[root@320 ~]# gpasswd -a xg hjd
正在将用户“xg”加入到“hjd”组中
[root@320 ~]# gpasswd -d xg hjd
正在将用户“xg”从“hjd”组中删除
[root@320 ~]# gpasswd -M xg,dch,sxy hjd
[root@320 ~]# tail -1 /etc/group
hjd:x:1008:xg,dch,sxy
3.组账户删除–groupdel
命令格式:groupdel + 组名
[root@320 ~]# groupdel hjd
[root@320 ~]# tail -1 /etc/group
xg:x:1007:
4.查询用户账号所属组–groups
命令格式:groups +用户名
root@320 ~]# groups xg
xg : xg hjd
root@320 ~]# grep "xg" /etc/group //用grep过滤文本的方式也可以查找用户所属组
xg:x:1007:
hjd:x:1008:xg
[root@320 ~]# id xg //用id+用户名 可以查询用户详细信息
uid=1007(xg) gid=1007(xg) 组=1007(xg),1008(hjd)
五.文件/目录的权限及归属
在Linux文件系统的安全模型中,为系统中的文件赋予了两个属性:访问权限和文件所有者,简称**“权限”和“归属”**。其中访问权限包括读取、写入、可执行三种基本类型,归属包括属主(拥有该文件的用于账号)、属组(拥有该文件的组账号)。Linux系统根据文件和目录的访问权限、归属来对用户访问数据的过程进行控制。
-rw-r--r--. 1 root root 11160291 3月 24 17:38 etc.tar.gz
如上:第一个“-”表示的是文件类型:“-”表示普通文件,d为目录,b为块设备文件,c字符设备文件,l连接文件
“rw-”:代表文件所属的用户权限类型
“r–”:代表文件属组权限类型
“r–”:代理其他用户对文件的权限
第一个root:代表属主
第二个root:代表属组
1.设置文件/目录权限–chmod

读取 r :允许查看文件的内容、显示目录列表 ;r=4
写入 w :允许修改文件内容,允许在目录中新建、移动、删除文件或子目录;w=2
可执行 x :允许运行程序、切换目录。x=1
常用选项:== -R==:递归修改指定目录下所有子项的权限(
“ugoa”表示该权限设置所针对的用户类别。“u”代表文件属主,“g”代表文件组内的用户,“o”代表其他任何用户长度有用户(ugo的总和);“+ - =”表示设置权限的操作动作。“+”号代表增加权限,“-”号代表减少相应权限,“=”号代表仅设置对应的权限;
2.设置文件目录归属–chown
命令格式:
chown 属主 文件或目录
chown :属组 文件或目录
chown 属主:属组 文件或目录
常用选项: -R:递归修改指定目录下所有子项的权限(包括目录中的文件)
3.unmask
设置目录和文件的默认权限;
指定目前用户在新建文件或目录时的权限默认值;
新建的文件或者目录的权限为默认最大权限减去umask(普通文件的最大默认权限为6,目录的最大默认权限为7)
格式:umask查看: umaskumask设置: umask 000
本文详细介绍了Linux操作系统的用户账号管理,包括账号分类、用户标识UID、用户账号文件和密码存储,以及如何添加、修改和删除用户账号。同时,文章也探讨了组账号的分类、标识和管理,以及文件和目录的权限与归属设置。
1794

被折叠的 条评论
为什么被折叠?



