首先我们来了解一下正向代理和反向代理的区别,在网上看到一个有意思的图比较能生动形象的表达出来这个意思,还不懂原理的同学自行百度了解一下.:

一,准备工作
1,一台服务器 (我这里是阿里云的服务器 在自己虚拟机上操作的话估计会有一些问题) 我的服务器(http://101.200.232.185)
2,环境:centos7.3
3,nginx的安装参考:https://blog.youkuaiyun.com/qq_42815754/article/details/82980326,我的nginx是1.12.2版本的.
4,安装java jdk环境(我用的jdk-8u251-linux-x64.tar.gz版本的):https://www.cnblogs.com/sxdcgaq8080/p/7492426.html,下载tomcat服务器:https://tomcat.apache.org/download-70.cgi(我用的apache-tomcat-7.0.104.tar.gz)
当前实例访问过程的分析:

二:
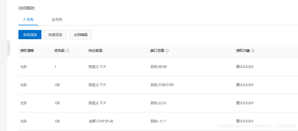
安装完nginx后启动nginx,测试nginx是否能访问成功.这时候如果是新的阿里云服务器的话是访问不成功的,需要去阿里云控制台设置添加80端口安全组规则:

再次进行访问就ok了

将下载好的tomcat上传至/usr/local中进行解压,进入tomcat的bin目录中进行启动tomcat:
启动命令:./startup.sh

访问一下tomcat服务器是否能访问成功,tomcat的默认端口为8080,我们来测试访问一下.(再说一遍哦我这里阿里云的服务器,8080端口需要在阿里云控制台去进行配置安全组规则.)

配置一个本地的虚拟域名C:\Windows\System32\drivers\etc中的host文件

在host文件中添加设置你的ip对应你要定义的域名:如下

我们可以通过域名访问一下8080端口也可以访问成功的,接下来修改nginx的配置文件 nginx.conf :
命令:cd /usr/local/nginx/conf/
vim nginx.conf
如下:

修改如下内容
listen 80;
server_name 101.200.232.185;
#charset koi8-r;
#access_log logs/host.access.log main;
location / {
root html;
proxy_pass http://127.0.0.1:8080
index index.html index.htm;
}

配置完进入到:cd /usr/local/nginx/sbin/重启nginx
停止:./nginx -s stop
启动: ./nginx
接下来我们客户端直接用配置的域名进行访问查看

tomcat服务器响应成功. 反向代理就此已经结束


被折叠的 条评论
为什么被折叠?



