DES加密算法

本文深入探讨了DES算法的工作原理、特点、流程及其在实际应用中的误区与源代码实现,详细解析了DES加密过程,包括置换规则、子密钥生成算法、流程图等关键环节,同时指出DES算法在应用时需避开的误区,确保加密数据的安全性。
 

des算法

求助编辑百科名片
DES算法   
DES算法

DES算法为密码体制中的对称密码体制,又被成为美国数据加密标准,是1972年美国IBM公司研制的对称密码体制加密算法。 明文按64位进行分组, 密钥长64位,密钥事实上是56位参与DES运算(第8、16、24、32、40、48、56、64位是校验位, 使得每个密钥都有奇数个1)分组后的明文组和56位的密钥按位替代或交换的方法形成密文组的加密方法。

目录

DES工作的基本原理
DES加密算法特点
主要流程
DES算法的应用误区
DES算法源程序
展开

编辑本段DES工作的基本原理

  其入口参数有三个:key、data、mode。 key为加密解密使用的 密钥,data为加密
  

des算法结构

解密的数据,mode为其工作模式。当模式为加密模式时,明文按照64位进行分组,形成明文组,key用于对 数据加密,当模式为解密模式时,key用于对数据解密。实际运用中,密钥只用到了64位中的56位,这样才具有高的安全性。

编辑本段DES加密算法特点

  分组比较短、密钥太短、密码生命周期短、运算速度较慢。

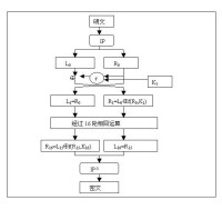
编辑本段主要流程

  DES算法把64位的明文输入块变为64位的密文输出块,它所使用的密钥也是64位,整个算法
  

des算法流程图

的主流程图如下:

置换规则表

  其功能是把输入的64位数据块按位重新组合,并把输出分为L0、R0两部分,每部分各长32位,其置换规则见下表:
  58,50,42,34,26,18,10,2,60,52,44,36,28,20,12,4,
  62,54,46,38,30,22,14,6,64,56,48,40,32,24,16,8,
  57,49,41,33,25,17, 9,1,59,51,43,35,27,19,11,3,
  61,53,45,37,29,21,13,5,63,55,47,39,31,23,15,7,
  即将输入的第58位换到第一位,第50位换到第2位,...,依此类推,最后一位是原来的第7位。L0、R0则是换位输出后的两部分,L0是输出的左32位,R0 是右32位,例:设置换前的输入值为D1D2D3......D64,则经过初始置换后的结果为:L0=D58D50...D8;R0=D57D49...D7。
  经过16次迭代运算后。得到L16、R16,将此作为输入,进行逆置换,即得到密文输出。逆置换正好是初始置换的逆运算。例如,第1位经过初始置换后,处于第40位,而通过逆置换,又将第40位换回到第1位,其逆置换规则如下表所示:
  40,8,48,16,56,24,64,32,39,7,47,15,55,23,63,31,
  38,6,46,14,54,22,62,30,37,5,45,13,53,21,61,29,
  36,4,44,12,52,20,60,28,35,3,43,11,51,19,59,27,
  34,2,42,10,50,18,58 26,33,1,41, 9,49,17,57,25,

放大换位表

  32, 1, 2, 3, 4, 5, 4, 5, 6, 7, 8, 9, 8, 9, 10,11,
  12,13,12,13,14,15,16,17,16,17,18,19,20,21,20,21,
  22,23,24,25,24,25,26,27,28,29,28,29,30,31,32, 1,

单纯换位表

  16,7,20,21,29,12,28,17, 1,15,23,26, 5,18,31,10,
  2,8,24,14,32,27, 3, 9,19,13,30, 6,22,11, 4,25,

功能表

  在f(Ri,Ki)算法描述图中,S1,S2...S8为选择函数,其功能是把48bit数据变为32bit数据。下面给出选择函数Si(i=1,2......8)的功能表:
  选择函数Si
  S1:
  14,4,13,1,2,15,11,8,3,10,6,12,5,9,0,7,
  0,15,7,4,14,2,13,1,10,6,12,11,9,5,3,8,
  4,1,14,8,13,6,2,11,15,12,9,7,3,10,5,0,
  15,12,8,2,4,9,1,7,5,11,3,14,10,0,6,13,
  

des算法

S2:
  15,1,8,14,6,11,3,4,9,7,2,13,12,0,5,10,
  3,13,4,7,15,2,8,14,12,0,1,10,6,9,11,5,
  0,14,7,11,10,4,13,1,5,8,12,6,9,3,2,15,
  13,8,10,1,3,15,4,2,11,6,7,12,0,5,14,9,
  S3:
  10,0,9,14,6,3,15,5,1,13,12,7,11,4,2,8,
  13,7,0,9,3,4,6,10,2,8,5,14,12,11,15,1,
  13,6,4,9,8,15,3,0,11,1,2,12,5,10,14,7,
  1,10,13,0,6,9,8,7,4,15,14,3,11,5,2,12,
  S4:
  7,13,14,3,0,6,9,10,1,2,8,5,11,12,4,15,
  13,8,11,5,6,15,0,3,4,7,2,12,1,10,14,9,
  10,6,9,0,12,11,7,13,15,1,3,14,5,2,8,4,
  3,15,0,6,10,1,13,8,9,4,5,11,12,7,2,14,
  S5:
  2,12,4,1,7,10,11,6,8,5,3,15,13,0,14,9,
  14,11,2,12,4,7,13,1,5,0,15,10,3,9,8,6,
  4,2,1,11,10,13,7,8,15,9,12,5,6,3,0,14,
  11,8,12,7,1,14,2,13,6,15,0,9,10,4,5,3,
  S6:
  12,1,10,15,9,2,6,8,0,13,3,4,14,7,5,11,
  10,15,4,2,7,12,9,5,6,1,13,14,0,11,3,8,
  9,14,15,5,2,8,12,3,7,0,4,10,1,13,11,6,
  4,3,2,12,9,5,15,10,11,14,1,7,6,0,8,13,
  S7:
  4,11,2,14,15,0,8,13,3,12,9,7,5,10,6,1,
  13,0,11,7,4,9,1,10,14,3,5,12,2,15,8,6,
  1,4,11,13,12,3,7,14,10,15,6,8,0,5,9,2,
  6,11,13,8,1,4,10,7,9,5,0,15,14,2,3,12,
  S8:
  13,2,8,4,6,15,11,1,10,9,3,14,5,0,12,7,
  1,15,13,8,10,3,7,4,12,5,6,11,0,14,9,2,
  7,11,4,1,9,12,14,2,0,6,10,13,15,3,5,8,
  2,1,14,7,4,10,8,13,15,12,9,0,3,5,6,11,
  在此以S1为例说明其功能,我们可以看到:在S1中,共有4行数据,命名为0,1、2、3行;每行有16列,命名为0、1、2、3,......,14、15列。
  现设输入为: D=D1D2D3D4D5D6
  令:列=D2D3D4D5
  行=D1D6
  然后在S1表中查得对应的数,以4位二进制表示,此即为选择函数S1的输出。下面给出子密钥Ki(48bit)的生成算法

子密钥Ki(48bit)的生成算法

  从子密钥Ki的生成算法描述图中我们可以看到:初始Key值为64位,但DES算法
  

des算法

规定,其中第8、16、......64位是奇偶校验位,不参与DES运算。故Key 实际可用位数便只有56位。即:经过缩小选择换位表1的变换后,Key 的位数由64 位变成了56位,此56位分为C0、D0两部分,各28位,然后分别进行第1次循环左移,得到C1、D1,将C1(28位)、D1(28位)合并得到56位,再经过缩小选择换位2,从而便得到了密钥K0(48位)。依此类推,便可得到K1、K2、......、K15,不过需要注意的是,16次循环左移对应的左移位数要依据下述规则进行:

循环左移位数

  1,1,2,2,2,2,2,2,1,2,2,2,2,2,2,1
  以上介绍了DES算法的加密过程。DES算法的解密过程是一样的,区别仅仅在于第一次迭代时用子密钥K15,第二次K14、......,最后一次用K0,算法本身并没有任何变化。

编辑本段DES算法的应用误区

特点

  DES算法具有极高安全性,到目前为止,除了用穷举搜索法对DES算法进行攻击外,还没有发现更有效的办法。而56位长的密钥的穷举空间为256,这意味着如果一台计算机的速度是每一秒种检测一百万个密钥,则它搜索完全部密钥就需要将近2285年的时间,可见,这是难以实现的,当然,随着科学技术的发展,当出现超高速计算机后,我们可考虑把DES密钥的长度再增长一些,以此来达到更高的保密程度。

应用误区

  由上述DES算法介绍我们可以看到:DES算法中只用到64位密钥中的
  

des体制加密流程

其中56位,而第8、16、24、......64位8个位并未参与DES运算,这一点,向我们提出了一个应用上的要求,即DES的安全性是基于除了8,16,24,......64位外的其余56位的组合变化256才得以保证的。因此,在实际应用中,我们应避开使用第8,16,24,......64位作为有效数据位,而使用其它的56位作为有效数据位,才能保证DES算法安全可靠地发挥作用。如果不了解这一点,把密钥Key的8,16,24,..... .64位作为有效数据使用,将不能保证DES加密数据的安全性,对运用DES来达到保密作用的系统产生数据被破译的危险,这正是DES算法在应用上的误区,留下了被人攻击、被人破译的极大隐患。

编辑本段DES算法源程序

  /*在我测试的时候发现这个代码的一个问题是
  如果加密后的密文里面有00这个字节的话
  解密出来的就会是乱码,编译环境vc6.0
  vs2008 使用需注意 */
  (名为schedle.h的头文件)
  #include <windows.h>
  DWORDLONG dwlKey_PC_1[64]={
  57,49,41,33,25,17,9,
  1,58,50,42,34,26,18,
  10,2,59,51,43,35,27,
  19,11,3,60,52,44,36,
  63,55,47,39,31,23,1
  

三重des算法

5,
  7,62,54,46,38,30,22,
  14,6,61,53,45,37,29,
  21,13,5,28,20,12,4,0};
  DWORDLONG dwlKey_PC_2[64]={
  14,17,11,24,1,5,
  3,28,15,6,21,10,
  23,19,12,4,26,8,
  16,7,27,20,13,2,
  41,52,31,37,47,55,
  30,40,51,45,33,48,
  44,49,39,56,34,53,
  46,42,50,36,29,32,0};
  DWORDLONG dwlData_IP[65]={
  58,50,42,34,26,18,10,2,
  60,52,44,36,28,20,12,4,
  62,54,46,38,30,22,14,6,
  64,56,48,40,32,24,16,8,
  57,49,41,33,25,17,9,1,
  59,51,43,35,27,19,11,3,
  61,53,45,37,29,21,13,5,
  63,55,47,39,31,23,15,7,0};
  DWORDLONG dwlData_Expansion[64]={
  32,1,2,3,4,5,
  4,5,6,7,8,9,
  8,9,10,11,12,13,
  12,13,14,15,16,17,
  16,17,18,19,20,21,
  20,21,22,23,24,25,
  24,25,26,27,28,29,
  28,29,30,31,32,1,0};
  DWORDLONG dwlData_P[33]={
  16,7,20,21,
  29,12,28,17,
  1,15,23,2
  

子密钥的生成过程

6,
  5,18,31,10,
  2,8,24,14,
  32,27,3,9,
  19,13,30,6,
  22,11,4,25,0};
  DWORDLONG dwlData_FP[65]={
  40,8,48,16,56,24,64,32,
  39,7,47,15,55,23,63,31,
  38,6,46,14,54,22,62,30,
  37,5,45,13,53,21,61,29,
  36,4,44,12,52,20,60,28,
  35,3,43,11,51,19,59,27,
  34,2,42,10,50,18,58,26,
  33,1,41,9,49,17,57,25,0};
  DWORDLONG OS[512]={
  14,4,13,1,2,15,11,8,3,10,6,12,5,9,0,7,
  0,15,7,4,14,2,13,1,10,6,12,11,9,5,3,8,
  4,1,14,8,13,6,2,11,15,12,9,7,3,10,5,0,
  15,12,8,2,4,9,1,7,5,11,3,14,10,0,6,13,
  15,1,8,14,6,11,3,4,9,7,2,13,12,0,5,10,
  3,13,4,7,15,2,8,14,12,0,1,10,6,9,11,5,
  0,14,7,11,10,4,13,1,5,8,12,6,9,3,2,15,
  13,8,10,1,3,15,4,2,11,6,7,12,0,5,14,9,
  10,0,9,14,6,3,15,5,1,13,12,7,11,4,2,8,
  13,7,0,9,3,4,6,10,2,8,5,14,12,11,15,1,
  13,6,4,9,8,15,3,0,11,1,2,12,5,10,14,7,
  1,10,13,0,6,9,8,7,4,15,14,3,11,5,2,12,
  7,13,14,3,0,6,9,10,1,2,8,5,11,12,4,15,
  13,8,11,5,6,15,0,3,4,7,2,12,1,10,14,9,
  10,6,9,0,12,11,7,13,15,1,3,1
  

基于DES算法的RFID安全系统设计

4,5,2,8,4,
  3,15,0,6,10,1,13,8,9,4,5,11,12,7,2,14,
  2,12,4,1,7,10,11,6,8,5,3,15,13,0,14,9,
  14,11,2,12,4,7,13,1,5,0,15,10,3,9,8,6,
  4,2,1,11,10,13,7,8,15,9,12,5,6,3,0,14,
  11,8,12,7,1,14,2,13,6,15,0,9,10,4,5,3,
  12,1,10,15,9,2,6,8,0,13,3,4,14,7,5,11,
  10,15,4,2,7,12,9,5,6,1,13,14,0,11,3,8,
  9,14,15,5,2,8,12,3,7,0,4,10,1,13,11,6,
  4,3,2,12,9,5,15,10,11,14,1,7,6,0,8,13,
  4,11,2,14,15,0,8,13,3,1
  

des算法图解

2,9,7,5,10,6,1,
  13,0,11,7,4,9,1,10,14,3,5,12,2,15,8,6,
  1,4,11,13,12,3,7,14,10,15,6,8,0,5,9,2,
  6,11,13,8,1,4,10,7,9,5,0,15,14,2,3,12,
  13,2,8,4,6,15,11,1,10,9,3,14,5,0,12,7,
  1,15,13,8,10,3,7,4,12,5,6,11,0,14,9,2,
  7,11,4,1,9,12,14,2,0,6,10,13,15,3,5,8,
  2,1,14,7,4,10,8,13,15,12,9,0,3,5,6,11
  };
  ------------------------
  (以下为主程序)
  #include <stdio.h>
  #include <string.h>
  #include <windows.h>
  #include <conio.h>
  #include "Schedle.h"
  class CShift{
  public:
  DWORDLONG mask[16];
  int step[16];
  CShift(){
  for(int i=0;i<16;i++){
  step[i]=2;
  mask[i]=0xc000000;
  }
  step[0]=step[1]=step[8]=step[15]=1;
  mask[0]=mask[1]=mask[8]=mask[15]=0x8000000;
  }
  };
  class CDES{
  public:
  CDES(){
  m_dwlKey=0;
  m_dwlData=0;
  ConvertTableToMask(dwlKey_PC_1,64);
  //PrintTable(dwlKey_PC_1,7,8);
  ConvertTableToMask(dwlKey_PC_2,56);
  ConvertTableToMask(dwlData_IP,64);
  ConvertTableToMask(dwlData_Expansion,32);
  ConvertTableToMask(dwlData_FP,64);
  ConvertTableToMask(dwlData_P,32);
  Generate_S();
  }
  void PrintBit(DWORDLONG);
  void EncryptKey(char *);
  unsigned char* EncryptData(unsigned char *);
  unsigned char* DescryptData(unsigned char*);
  private:
  void ConvertTableToMask(DWORDLONG *,int);
  void Generate_S(void);
  void PrintTable(DWORDLONG*,int,int);
  DWORDLONG ProcessByte(unsigned char*,BOOL);
  DWORDLONG PermuteTable(DWORDLONG,DWORDLONG*,int);
  void Generate_K(void);
  void EncryptKernel(void);
  DWORDLONG Generate_B(DWORDLONG,DWORDLONG*);
  /*For verify schedule permutation only*/
  DWORDLONG UnPermuteTable(DWORDLONG,DWORDLONG*,int);
  /**************************************/
  DWORDLONG dwlData_S[9][4][16];
  CShift m_shift;
  DWORDLONG m_dwlKey;
  DWORDLONG m_dwlData;
  DWORDLONG m_dwl_K[17];
  };
  void CDES::EncryptKey(char *key){
  printf("\nOriginal Key: %s",key);
  m_dwlKey=ProcessByte((unsigned char*)key,TRUE);
  // PrintBit(m_dwlKey);
  m_dwlKey=PermuteTable(m_dwlKey,dwlKey_PC_1,56);
  // PrintBit(m_dwlKey);
  Generate_K();
  // printf("\n******************************************\n");
  }
  void CDES::Generate_K(void){
  DWORDLONG C[17],D[17],tmp;
  C[0]=m_dwlKey>>28;
  D[0]=m_dwlKey&0xfffffff;
  for(int i=1;i<=16;i++){
  tmp=(C[i-1]&m_shift.mask[i-1])>>(28-m_shift.step[i-1]);
  C[i]=((C[i-1]<<m_shift.step[i-1])|tmp)&0x0fffffff;
  tmp=(D[i-1]&m_shift.mask[i-1])>>(28-m_shift.step[i-1]);
  D[i]=((D[i-1]<<m_shift.step[i-1])|tmp)&0x0fffffff;
  m_dwl_K[i]=(C[i]<<28)|D[i];
  m_dwl_K[i]=PermuteTable(m_dwl_K[i],dwlKey_PC_2,48);
  }
  }
  DWORDLONG CDES::ProcessByte(unsigned char *key,BOOL shift){
  unsigned char tmp;
  DWORDLONG byte=0;
  int i=0;
  while(i<8){
  while(*key){
  if(byte!=0)
  byte<<=8;
  tmp=*key;
  if(shift)
  tmp<<=1;
  byte|=tmp;
  i++;
  key++;
  }
  if(i<8)
  byte<<=8;
  i++;
  }
  return byte;
  }
  DWORDLONG CDES::PermuteTable(DWORDLONG dwlPara,DWOR
  

基于des算法的rfid安全系统

DLONG* dwlTable,int nDestLen){
  int i=0;
  DWORDLONG tmp=0,moveBit;
  while(i<nDestLen){
  moveBit=1;
  if(dwlTable[i]&dwlPara){
  moveBit<<=nDestLen-i-1;
  tmp|=moveBit;
  }
  i++;
  }
  return tmp;
  }
  DWORDLONG CDES::UnPermuteTable(DWORDLONG dwlPara,DWORDLONG* dwlTable,int nDestLen){
  DWORDLONG tmp=0;
  int i=nDestLen-1;
  while(dwlPara!=0){
  if(dwlPara&0x01)
  tmp|=dwlTable[i];
  dwlPara>>=1;
  i--;
  }
  return tmp;
  }
  void CDES::PrintTable(DWORDLONG *dwlPara,int col,int row){
  int i,j;
  for(i=0;i<row;i++){
  printf("\n");
  getch();
  for(j=0;j<col;j++)
  PrintBit(dwlPara[i*col+j]);
  }
  }
  void CDES::PrintBit(DWORDLONG bitstream){
  char out[76];
  int i=0,j=0,space=0;
  while(bitstream!=0){
  if(bitstream&0x01)
  out[i++]='1';
  else
  out[i++]='0';
  j++;
  if(j%8==0){
  out[i++]=' ';
  space++;
  }
  bitstream=bitstream>>1;
  }
  out[i]='\0';
  strcpy(out,strrev(out));
  printf("%s **:%d\n",out,i-space);
  }
  void CDES::ConvertTableToMask(DWORDLONG *mask,int max){
  int i=0;
  DWORDLONG nBit=1;
  while(mask[i]!=0){
  nBit=1;
  nBit<<=max-mask[i];
  mask[i++]=nBit;
  }
  }
  void CDES::Generate_S(void){
  int i;
  int j,m,n;
  m=n=0;
  j=1;
  for(i=0;i<512;i++){
  dwlData_S[j][m][n]=OS[i];
  n=(n+1)%16;
  if(!n){
  m=(m+1)%4;
  if(!m)
  j++;
  }
  }
  }
  unsigned char * CDES::EncryptData(unsigned char *block){
  unsigned char *EncrytedData=new unsigned char(15);
  printf("\nOriginal Data: %s\n",block);
  m_dwlData=ProcessByte(block,0);
  // PrintBit(m_dwlData);
  m_dwlData=PermuteTable(m_dwlData,dwlData_IP,64);
  EncryptKernel();
  // PrintBit(m_dwlData);
  DWORDLONG bit6=m_dwlData;
  for(int i=0;i<11;i++){
  EncrytedData[7-i]=(unsigned char)(bit6&0x3f)+46;
  bit6>>=6;
  }
  EncrytedData[11]='\0';
  printf("\nAfter Encrypted: %s",EncrytedData);
  for(i=0;i<8;i++){
  EncrytedData[7-i]=(unsigned char)(m_dwlData&0xff);
  m_dwlData>>=8;
  }
  EncrytedData[8]='\0';
  return EncrytedData;
  }
  void CDES::EncryptKernel(void){
  int i=1;
  DWORDLONG L[17],R[17],B[9],EK,PSB;
  L[0]=m_dwlData>>32;
  R[0]=m_dwlData&0xffffffff;
  for(i=1;i<=16;i++){
  L[i]=R[i-1];
  R[i-1]=PermuteTable(R[i-1],dwlData_Expansion,48); //Expansion R
  EK=R[i-1]^m_dwl_K[i]; //E Permutation
  PSB=Generate_B(EK,B); //P Permutation
  R[i]=L[i-1]^PSB;
  }
  R[16]<<=32;
  m_dwlData=R[16]|L[16];
  m_dwlData=PermuteTable(m_dwlData,dwlData_FP,64);
  }
  unsigned char* CDES::DescryptData(unsigned char *desData){
  int i=1;
  unsigned char *DescryptedData=new unsigned char(15);
  DWORDLONG L[17],R[17],B[9],EK,PSB;
  DWORDLONG dataPara;
  dataPara=ProcessByte(desData,0);
  dataPara=PermuteTable(dataPara,dwlData_IP,64);
  R[16]=dataPara>>32;
  L[16]=dataPara&0xffffffff;
  for(i=16;i>=1;i--){
  R[i-1]=L[i];
  L[i]=PermuteTable(L[i],dwlData_Expansion,48); //Expansion L
  EK=L[i]^m_dwl_K[i]; //E Permutation
  PSB=Generate_B(EK,B); //P Permutation
  L[i-1]=R[i]^PSB;
  }
  L[0]<<=32;
  dataPara=L[0]|R[0];
  dataPara=PermuteTable(dataPara,dwlData_FP,64);
  // PrintBit(dataPara);
  for(i=0;i<8;i++){
  DescryptedData[7-i]=(unsigned char)(dataPara&0xff);
  dataPara>>=8;
  }
  DescryptedData[8]='\0';
  printf("\nAfter Decrypted: %s\n",DescryptedData);
  return DescryptedData;
  }
  DWORDLONG CDES::Generate_B(DWORDLONG EKPara,DWORDLONG *block){
  int i,m,n;
  DWORDLONG tmp=0;
  for(i=8;i>0;i--){
  block[i]=EKPara&0x3f;
  m=(int)(block[i]&0x20)>>4;
  m|=block[i]&0x01;
  n=(int)(block[i]<<1)>>2;
  block[i]=dwlData_S[i][m][n];
  EKPara>>=6;
  }
  for(i=1;i<=8;i++){
  tmp|=block[i];
  tmp<<=4;
  }
  tmp>>=4;
  tmp=PermuteTable(tmp,dwlData_P,32);
  return tmp;
  }
  void main(void){
  CDES des;
  des.EncryptKey("12345678");
  unsigned char *result=des.EncryptData((unsigned char*)"DemoData");
  des.DescryptData(result);
  } [1]
评论
成就一亿技术人!
拼手气红包6.0元
还能输入1000个字符
 
红包 添加红包
表情包 插入表情
 条评论被折叠 查看
添加红包

请填写红包祝福语或标题

红包个数最小为10个

红包金额最低5元

当前余额3.43前往充值 >
需支付:10.00
成就一亿技术人!
领取后你会自动成为博主和红包主的粉丝 规则
hope_wisdom
发出的红包
实付
使用余额支付
点击重新获取
扫码支付
钱包余额 0

抵扣说明:

1.余额是钱包充值的虚拟货币,按照1:1的比例进行支付金额的抵扣。
2.余额无法直接购买下载,可以购买VIP、付费专栏及课程。

余额充值