node.js 个性化生活服务
摘 要
随着科学技术的飞速发展,社会的方方面面、各行各业都在努力与现代的先进技术接轨,通过科技手段来提高自身的优势,个性化生活服务当然也不能排除在外。个性化生活服务是以实际运用为开发背景,运用软件工程原理和开发方法,采用node.js的koa技术技术构建的一个管理系统。整个开发过程首先对软件系统进行需求分析,得出系统的主要功能。接着对系统进行总体设计和详细设计。总体设计主要包括系统功能设计、系统总体结构设计、系统数据结构设计和系统安全设计等;详细设计主要包括系统数据库访问的实现,主要功能模块的具体实现,模块实现关键代码等。最后对系统进行功能测试,并对测试结果进行分析总结,得出系统中存在的不足及需要改进的地方,为以后的系统维护提供了方便,同时也为今后开发类似系统提供了借鉴和帮助。这种个性化的网上系统管理特别注重交互协调与管理的相互配合,激发了管理人员的创造性与主动性,对网上个性化生活服务而言非常有利。
本个性化生活服务采用的数据库是Mysql,使用node.js的koa技术技术开发。在设计过程中,充分保证了系统代码的良好可读性、实用性、易扩展性、通用性、便于后期维护、操作方便以及页面简洁等特点。
关键词:个性化生活服务,node.js的koa技术,Mysql数据库
Node.js Personalized Life Service
ABSTRACT
With the rapid development of science and technology, all aspects of society and various industries are striving to integrate with modern advanced technology, improving their own advantages through technological means, and personalized life services cannot be excluded. Personalized life service is a management system built on the background of practical application, using software engineering principles and development methods, and using the koa technology of node.js. The entire development process starts with a requirement analysis of the software system to determine its main functions. Then proceed with the overall and detailed design of the system. The overall design mainly includes system functional design, system overall structure design, system data structure design, and system security design; The detailed design mainly includes the implementation of system database access, the specific implementation of main functional modules, and the key code for module implementation. Finally, functional testing was conducted on the system, and the test results were analyzed and summarized to identify the shortcomings and areas for improvement in the system. This provided convenience for future system maintenance and also provided reference and assistance for the development of similar systems in the future. This personalized online system management pays special attention to the interaction and coordination of management, which stimulates the creativity and initiative of management personnel and is very beneficial for personalized online life services.
The database used for this personalized life service is MySQL, developed using koa technology from node.js. During the design process, the system code was fully guaranteed to have good readability, practicality, scalability, universality, ease of later maintenance, easy operation, and concise pages.
Keywords: Personalized life services, koa technology from node.js, MySQL database
目录
第1章 绪论
1.1背景及意义
随着社会的快速发展,计算机的影响是全面且深入的。人们生活水平的不断提高,日常生活中人们对个性化生活服务方面的要求也在不断提高,个性化生活服务的数量更是不断增加,使得个性化生活服务的开发成为必需而且紧迫的事情。个性化生活服务主要是借助计算机,通过对个性化生活服务所需的信息管理,增加用户的选择,同时也方便对广大用户信息的及时查询、修改以及对用户信息的及时了解。个性化生活服务对用户带来了更多的便利,该系统通过和数据库管理系统软件协作来满足用户的需求。计算机技术在现代管理中的应用,使计算机成为人们应用现代技术的重要工具。能够有效的解决获取信息便捷化、全面化的问题,提高效率。
本个性化生活服务主要牵扯到程序,数据库与计算机技术等。覆盖知识面大,可以大大的提高系统人员工作效率。
1.2 国内外研究概况
随着国内经济形势的不断发展,中国互联网进入了一个难得的高峰发展时期,这使得中外资本家纷纷转向互联网市场。然而,许多管理领域的不合理结构,人员不足以及管理需求的增加使得更多的人具备了互联网管理的意识。
在当今高度发达的信息中,信息管理改革已成为一种更加广泛和全面的趋势。“个性化生活服务”是基于Mysql数据库,在node.js的koa技术程序设计的基础上实现的。为确保中国经济的持续发展,信息时代日益更新,网上商城更是蓬勃发展。同时,随着信息社会的快速发展,个性化生活服务面临着越来越多的信息,因此很难获得他们对高效信息的需求,如何使用方便快捷的方式使查询者在广阔的个性化生活服务信息中查询,存储,管理和共享信息方面有效,对我们的学习,工作和生活具有重要的现实意义。因此,国内外学术界对此进行了深入而广泛的研究,一个新的研究领域——个性化生活服务诞生了。
1.3 研究的内容
目前许多人仍将传统的纸质工具作为信息管理的主要工具,而网络技术的应用只是起到辅助作用。在对网络工具的认知程度上,较为传统的office软件等仍是人们使用的主要工具,而相对全面且专业的个性化生活服务的信息管理软件仍没有得到大多数人的了解或认可。本选题则旨在通过标签分类管理等方式,实现首页、轮播图(轮播图管理)、公告栏管理(公告栏)、资源管理(服务资讯、资讯分类)、系统用户(管理员、注册用户)、模块管理(服务分类、生活服务、服务订单)、个人中心等信息管理功能,从而达到对个性化生活服务信息的高效管理。
第2章 相关技术
2.1 koa框架
Node.js是一个异步的世界,官方API支持的都是callback形式的异步编程模型,这会带来许多问题,例如:1、callback嵌套问题;2、异步函数中可能同步调用callback返回数据,带来不一致性。为了解决以上问题Koa出现了。
koa是由Express原班人马打造的,致力于成为一个更小、更富有表现力、更健壮的Web框架。使用koa编写web应用,可以免除重复繁琐的回调函数嵌套,并极大地提升错误处理的效率。koa不在内核方法中绑定任何中间件,它仅仅提供了一个轻量优雅的函数库,使得编写Web应用变得得心应手。开发思路和express差不多,最大的特点就是可以避免异步嵌套。
阿里内部就在使用Koa框架,并在Koa基础上面做了一些扩展和封装。并且基于koa开发了一个开源框架egg。
2.2 Vue.js 主要功能:
Vue.js是一套构建用户界面的渐进式框架。与其他重量级框架不同的是,Vue采用自底向上增量开发的设计。Vue 的核心库只关注视图层,并且非常容易学习,非常容易与其它库或已有项目整合。另一方面,Vue 完全有能力驱动采用单文件组件和Vue生态系统支持的库开发的复杂单页应用。
Vue.js 的目标是通过尽可能简单的 API 实现响应的数据绑定和组合的视图组件。
Vue.js 自身不是一个全能框架——它只聚焦于视图层。因此它非常容易学习,非常容易与其它库或已有项目整合。另一方面,在与相关工具和支持库一起使用时,Vue.js 也能驱动复杂的单页应用。
2.3 MVVM模式介绍:
MVVM是Model-View-ViewModel的简写。它本质上就是MVC 的改进版。MVVM 就是将其中的View 的状态和行为抽象化,让我们将视图 UI 和业务逻辑分开。当然这些事 ViewModel 已经帮我们做了,它可以取出 Model 的数据同时帮忙处理 View 中由于需要展示内容而涉及的业务逻辑。微软的WPF带来了新的技术体验,如Silverlight、音频、视频、3D、动画……,这导致了软件UI层更加细节化、可定制化。同时,在技术层面,WPF也带来了 诸如Binding、Dependency Property、Routed Events、Command、DataTemplate、ControlTemplate等新特性。MVVM(Model-View-ViewModel)框架的由来便是MVP(Model-View-Presenter)模式与WPF结合的应用方式时发展演变过来的一种新型架构框架。它立足于原有MVP框架并且把WPF的新特性糅合进去,以应对客户日益复杂的需求变化。
2.4 B/S体系工作原理:
B/S架构采取浏览器请求,服务器响应的工作模式。
用户可以通过浏览器去访问Internet上由Web服务器产生的文本、数据、图片、动画、视频点播和声音等信息;
而每一个Web服务器又可以通过各种方式与数据库服务器连接,大量的数据实际存放在数据库服务器中;
从Web服务器上下载程序到本地来执行,在下载过程中若遇到与数据库有关的指令,由Web服务器交给数据库服务器来解释执行,并返回给Web服务器,Web服务器又返回给用户。在这种结构中,将许许多多的网连接到一块,形成一个巨大的网,即全球网。而各个企业可以在此结构的基础上建立自己的Internet。
在 B/S 模式中,用户是通过浏览器针对许多分布于网络上的服务器进行请求访问的,浏览器的请求通过服务器进行处理,并将处理结果以及相应的信息返回给浏览器,其他的数据加工、请求全部都是由Web Server完成的。通过该框架结构以及植入于操作系统内部的浏览器,该结构已经成为了当今软件应用的主流结构模式。
第3章 系统分析
3.1 需求分析
个性化生活服务主要是为了提高工作人员的工作效率和更方便快捷的满足用户,更好存储所有数据信息及快速方便的检索功能,对系统的各个模块是通过许多今天的发达系统做出合理的分析来确定考虑用户的可操作性,遵循开发的系统优化的原则,经过全面的调查和研究。
系统所要实现的功能分析,对于现在网络方便的管理,系统要实现用户可以直接在平台上进行查看所有数据信息,根据需求可以进行在线添加,删除或修改个性化生活服务信息,这样既能节省时间,不用再像传统的方式耽误时间,真的很难去满足用户的各种需求。所以个性化生活服务的开发不仅仅是能满足用户的需求,还能提高管理员的工作效率,减少原有不必要的工作量。
3.2 系统可行性分析
3.2.1技术可行性:技术背景
本企业网站在Windows操作系统中进行开发,并且目前PC机的性能已经可以胜任普通网站的web服务器。系统开发所使用的技术也都是自身所具有的,也是当下广泛应用的技术之一。
系统的开发环境和配置都是可以自行安装的,系统使用node.js的koa技术开发工具,使用比较成熟的Mysql数据库进行对系统前台及后台的数据交互,根据技术语言对数据库,结合需求进行修改维护,可以使得网站运行更具有稳定性和安全性,从而完成实现网站的开发。
(1)硬件可行性分析
个性化生活服务及信息分析的设计对于所使用的计算机没有什么硬性的要求,计算机只要可以正常的使用进行代码的编写及页面设计就可行,主要是对于服务器有些要求,对于平台搭建完成要上传的服务器是有一定的要求的,服务器必须选择安全性比较高的,然后就是在打开网站必须顺畅,不能停顿太长时间;性价比高;安全性高。
(2)软件可行性分析
开发整个系统使用的是云计算,流量的可扩展性和基于流量的智能调整云计算的优点就是流量的可扩展性和基于流量的智能调整,保障系统的安全及数据信息的及时备份。
因此,我们从两个方面进行了可行性研究,可以看出系统的开发没有问题。
3.2.2经济可行性
在个性化生活服务开发之前所做的市场调研及其他的物流公司相关的管理系统,都是没有任何费用的,都是通过开发者自己的努力,所有的工作的都是自己亲力亲为,在碰到自己比较难以解决的问题,大多是通过同学和指导老师的帮助进行相关信息的解决,所以对于个性化生活服务的开发在经济上是完全可行的,没有任何费用支出的。
使用比较成熟的技术,系统是基于node.js的koa技术的开发,采用Mysql数据库。所以系统在开发人力、财力要求不高,具有经济可行性。
3.2.3操作可行性:
可操作性主要是对个性化生活服务设计完成后,用户的使用体验度,以及管理员可以通过系统随时管理相关的数据信息,并且对于管理员、用户两个用户角色,都可以简单明了的进入到自己的系统界面,通过界面导航菜单可以简单明了地操作功能模块,方便用户信息的操作需求和管理员管理数据信息,对于系统的操作,不需要专业人员都可以直接进行功能模块的操作管理,所以在系统的可操作性是完全可以的。本系统的操作使用的也是界面窗口进行登录,所以操作人员只要会简单的电脑操作就完全可以的。
3.3 项目设计目标与原则
(1)功能要求:可以管理后台首页、轮播图(轮播图管理)、公告栏管理(公告栏)、资源管理(服务资讯、资讯分类)、系统用户(管理员、注册用户)、模块管理(服务分类、生活服务、服务订单)、个人中心等功能模块。
(2)性能:在不同操作系统上均能无差错实现在不同类型的用户登入相应界面后能不出差错、方便地进行预期操作。
(3)安全与保密要求:用户都必须通过身份验证才能进入系统,并且用户的权限也需要根据用户的类型进行限定。
(4)环境要求:支持多种平台,可在Windows系列、Vista系统等多种操作系统下使用。
个性化生活服务的主要开发目标如下:
(1)实现管理系统信息关系的系统化、规范化和自动化;
(2)减少维护人员的工作量以及实现用户对信息的控制和管理。
(3)方便查询信息及管理信息等;
(4)通过网络操作,改善处理问题的效率,提高操作人员利用率;
(5)考虑到用户多样性特点,要求界面简单,操作简便。
本个性化生活服务采用node.js的koa技术技术,Mysql数据库开发,充分保证了系统稳定性、完整性。
个性化生活服务的设计与实现的设计思想如下:
- 操作简单方便、系统界面安全良、简单明了的页面布局、方便查询个性化生活服务相关信息。
2、即时可见:对个性化生活服务信息的处理将立马在对应地点可以查询到,从而实现“即时发布、即时见效”的系统功能。
3、功能的完善性:可以管理后台首页、轮播图(轮播图管理)、公告栏管理(公告栏)、资源管理(服务资讯、资讯分类)、系统用户(管理员、注册用户)、模块管理(服务分类、生活服务、服务订单)、个人中心模块的修改维护操作。
3.4系统流程分析
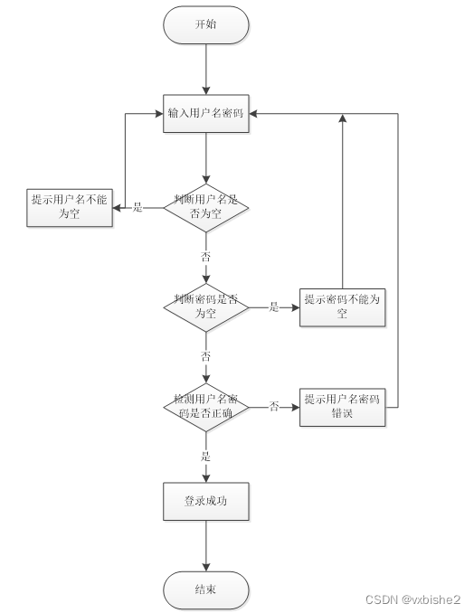
3.4.1操作流程
图3-1登录流程图
3.4.2添加信息流程
添加信息流程图,如图所示:
图3-2添加信息流程图
3.4.3删除信息流程
删除信息流程图,如图所示:
图3-3删除信息流程图
第4章 系统设计
4.1 系统体系结构
个性化生活服务的结构图4-1所示:
图4-1 系统结构
登录系统结构图,如图4-2所示:
图4-2 登录结构图
系统结构图,如图4-3所示。
图4-3 系统结构图
4.2开发流程设计
系统流程的分析是通过调查系统所涉及问题的识别、可行性、可操作性、系统分析处理能力等具体环节来调节、整理系统的设计方案以确保系统能达到理想的状态。这些操作都要从注册、登录处着眼进行一系列的流程测试保证数据库的完整,从而把控系统所涉及信息管理的安全、保证信息输入、输出正常转换。然后,通过实际操作完成流程图的绘制工作。
个性化生活服务的开发对管理模块和系统使用的数据库进行分析,编写代码,系统测试,如图4-4所示。
图4-4开发系统流程图
4.3 数据库设计原则
学习编程,我们都知道数据库设计是基于需要设计的系统功能,我们需要建立一个数据库关系模型,用于存储数据信息,这样当我们在程序中时,就没有必要为程序页面添加数据,从而提高系统的效率。数据库存储了很多信息,可以说是信息管理系统的核心和基础,数据库还提供了添加、删除、修改和检查,使系统能够快速找到自己想要的信息,而不是在程序代码中找到。数据库中信息表的每个部分根据一定的关系精确地组合,排列和组合成数据表。
通过个性化生活服务的功能进行规划分成几个实体信息,实体信息将通过ER图进行说明,本系统的主要实体图如下:
管理员信息属性图如图4-5所示。
图4-5 管理员信息实体属性图
用户管理实体属性图如图4-6所示。
图4-6用户管理属性图
生活服务管理实体属性图如图4-8所示。
图4-8生活服务管理实体属性图
4.4 数据表
将数据库概念设计的E-R图转换为关系数据库。在关系数据库中,数据关系由数据表组成,但是表的结构表现在表的字段上。
| 编号 | 名称 | 数据类型 | 长度 | 小数位 | 允许空值 | 主键 | 默认值 | 说明 |
| 1 | token_id | int | 10 | 0 | N | Y | 临时访问牌ID | |
| 2 | token | varchar | 64 | 0 | Y | N | 临时访问牌 | |
| 3 | info | text | 65535 | 0 | Y | N | ||
| 4 | maxage | int | 10 | 0 | N | N | 2 | 最大寿命:默认2小时 |
| 5 | create_time | timestamp | 19 | 0 | N | N | CURRENT_TIMESTAMP | 创建时间: |
| 6 | update_time | timestamp | 19 | 0 | N | N | CURRENT_TIMESTAMP | 更新时间: |
| 7 | user_id | int | 10 | 0 | N | N | 0 | 用户编号: |
| 编号 | 名称 | 数据类型 | 长度 | 小数位 | 允许空值 | 主键 | 默认值 | 说明 |
| 1 | article_id | mediumint | 8 | 0 | N | Y | 文章id:[0,8388607] | |
| 2 | title | varchar | 125 | 0 | N | Y | 标题:[0,125]用于文章和html的title标签中 | |
| 3 | type | varchar | 64 | 0 | N | N | 0 | 文章分类:[0,1000]用来搜索指定类型的文章 |
| 4 | hits | int | 10 | 0 | N | N | 0 | 点击数:[0,1000000000]访问这篇文章的人次 |
| 5 | praise_len | int | 10 | 0 | N | N | 0 | 点赞数 |
| 6 | create_time | timestamp | 19 | 0 | N | N | CURRENT_TIMESTAMP | 创建时间: |
| 7 | update_time | timestamp | 19 | 0 | N | N | CURRENT_TIMESTAMP | 更新时间: |
| 8 | source | varchar | 255 | 0 | Y | N | 来源:[0,255]文章的出处 | |
| 9 | url | varchar | 255 | 0 | Y | N | 来源地址:[0,255]用于跳转到发布该文章的网站 | |
| 10 | tag | varchar | 255 | 0 | Y | N | 标签:[0,255]用于标注文章所属相关内容,多个标签用空格隔开 | |
| 11 | content | longtext | 2147483647 | 0 | Y | N | 正文:文章的主体内容 | |
| 12 | img | varchar | 255 | 0 | Y | N | 封面图 | |
| 13 | description | text | 65535 | 0 | Y | N | 文章描述 |
| 编号 | 名称 | 数据类型 | 长度 | 小数位 | 允许空值 | 主键 | 默认值 | 说明 |
| 1 | type_id | smallint | 5 | 0 | N | Y | 分类ID:[0,10000] | |
| 2 | display | smallint | 5 | 0 | N | N | 100 | 显示顺序:[0,1000]决定分类显示的先后顺序 |
| 3 | name | varchar | 16 | 0 | N | N | 分类名称:[2,16] | |
| 4 | father_id | smallint | 5 | 0 | N | N | 0 | 上级分类ID:[0,32767] |
| 5 | description | varchar | 255 | 0 | Y | N | 描述:[0,255]描述该分类的作用 | |
| 6 | icon | text | 65535 | 0 | Y | N | 分类图标: | |
| 7 | url | varchar | 255 | 0 | Y | N | 外链地址:[0,255]如果该分类是跳转到其他网站的情况下,就在该URL上设置 | |
| 8 | create_time | timestamp | 19 | 0 | N | N | CURRENT_TIMESTAMP | 创建时间: |
| 9 | update_time | timestamp | 19 | 0 | N | N | CURRENT_TIMESTAMP | 更新时间: |
| 编号 | 名称 | 数据类型 | 长度 | 小数位 | 允许空值 | 主键 | 默认值 | 说明 |
| 1 | auth_id | int | 10 | 0 | N | Y | 授权ID: | |
| 2 | user_group | varchar | 64 | 0 | Y | N | 用户组: | |
| 3 | mod_name | varchar | 64 | 0 | Y | N | 模块名: | |
| 4 | table_name | varchar | 64 | 0 | Y | N | 表名: | |
| 5 | page_title | varchar | 255 | 0 | Y | N | 页面标题: | |
| 6 | path | varchar | 255 | 0 | Y | N | 路由路径: | |
| 7 | position | varchar | 32 | 0 | Y | N | 位置: | |
| 8 | mode | varchar | 32 | 0 | N | N | _blank | 跳转方式: |
| 9 | add | tinyint | 3 | 0 | N | N | 1 | 是否可增加: |
| 10 | del | tinyint | 3 | 0 | N | N | 1 | 是否可删除: |
| 11 | set | tinyint | 3 | 0 | N | N | 1 | 是否可修改: |
| 12 | get | tinyint | 3 | 0 | N | N | 1 | 是否可查看: |
| 13 | field_add | text | 65535 | 0 | Y | N | 添加字段: | |
| 14 | field_set | text | 65535 | 0 | Y | N | 修改字段: | |
| 15 | field_get | text | 65535 | 0 | Y | N | 查询字段: | |
| 16 | table_nav_name | varchar | 500 | 0 | Y | N | 跨表导航名称: | |
| 17 | table_nav | varchar | 500 | 0 | Y | N | 跨表导航: | |
| 18 | option | text | 65535 | 0 | Y | N | 配置: | |
| 19 | create_time | timestamp | 19 | 0 | N | N | CURRENT_TIMESTAMP | 创建时间: |
| 20 | update_time | timestamp | 19 | 0 | N | N | CURRENT_TIMESTAMP | 更新时间: |
| 编号 | 名称 | 数据类型 | 长度 | 小数位 | 允许空值 | 主键 | 默认值 | 说明 |
| 1 | collect_id | int | 10 | 0 | N | Y | 收藏ID: | |
| 2 | user_id | int | 10 | 0 | N | N | 0 | 收藏人ID: |
| 3 | source_table | varchar | 255 | 0 | Y | N | 来源表: | |
| 4 | source_field | varchar | 255 | 0 | Y | N | 来源字段: | |
| 5 | source_id | int | 10 | 0 | N | N | 0 | 来源ID: |
| 6 | title | varchar | 255 | 0 | Y | N | 标题: | |
| 7 | img | varchar | 255 | 0 | Y | N | 封面: | |
| 8 | create_time | timestamp | 19 | 0 | N | N | CURRENT_TIMESTAMP | 创建时间: |
| 9 | update_time | timestamp | 19 | 0 | N | N | CURRENT_TIMESTAMP | 更新时间: |
| 编号 | 名称 | 数据类型 | 长度 | 小数位 | 允许空值 | 主键 | 默认值 | 说明 |
| 1 | comment_id | int | 10 | 0 | N | Y | 评论ID: | |
| 2 | user_id | int | 10 | 0 | N | N | 0 | 评论人ID: |
| 3 | reply_to_id | int | 10 | 0 | N | N | 0 | 回复评论ID:空为0 |
| 4 | content | longtext | 2147483647 | 0 | Y | N | 内容: | |
| 5 | nickname | varchar | 255 | 0 | Y | N | 昵称: | |
| 6 | avatar | varchar | 255 | 0 | Y | N | 头像地址:[0,255] | |
| 7 | create_time | timestamp | 19 | 0 | N | N | CURRENT_TIMESTAMP | 创建时间: |
| 8 | update_time | timestamp | 19 | 0 | N | N | CURRENT_TIMESTAMP | 更新时间: |
| 9 | source_table | varchar | 255 | 0 | Y | N | 来源表: | |
| 10 | source_field | varchar | 255 | 0 | Y | N | 来源字段: | |
| 11 | source_id | int | 10 | 0 | N | N | 0 | 来源ID: |
| 编号 | 名称 | 数据类型 | 长度 | 小数位 | 允许空值 | 主键 | 默认值 | 说明 |
| 1 | hits_id | int | 10 | 0 | N | Y | 点赞ID: | |
| 2 | user_id | int | 10 | 0 | N | N | 0 | 点赞人: |
| 3 | create_time | timestamp | 19 | 0 | N | N | CURRENT_TIMESTAMP | 创建时间: |
| 4 | update_time | timestamp | 19 | 0 | N | N | CURRENT_TIMESTAMP | 更新时间: |
| 5 | source_table | varchar | 255 | 0 | Y | N | 来源表: | |
| 6 | source_field | varchar | 255 | 0 | Y | N | 来源字段: | |
| 7 | source_id | int | 10 | 0 | N | N | 0 | 来源ID: |
| 编号 | 名称 | 数据类型 | 长度 | 小数位 | 允许空值 | 主键 | 默认值 | 说明 |
| 1 | life_services_id | int | 10 | 0 | N | Y | 生活服务ID | |
| 2 | service_name | varchar | 64 | 0 | Y | N | 服务名称 | |
| 3 | service_type | varchar | 64 | 0 | Y | N | 服务类型 | |
| 4 | service_price | int | 10 | 0 | Y | N | 0 | 服务价格 |
| 5 | project_image | varchar | 255 | 0 | Y | N | 项目图片 | |
| 6 | service_scope | text | 65535 | 0 | Y | N | 服务范围 | |
| 7 | service_details | longtext | 2147483647 | 0 | Y | N | 服务详情 | |
| 8 | hits | int | 10 | 0 | N | N | 0 | 点击数 |
| 9 | praise_len | int | 10 | 0 | N | N | 0 | 点赞数 |
| 10 | recommend | int | 10 | 0 | N | N | 0 | 智能推荐 |
| 11 | create_time | datetime | 19 | 0 | N | N | CURRENT_TIMESTAMP | 创建时间 |
| 12 | update_time | timestamp | 19 | 0 | N | N | CURRENT_TIMESTAMP | 更新时间 |
| 编号 | 名称 | 数据类型 | 长度 | 小数位 | 允许空值 | 主键 | 默认值 | 说明 |
| 1 | notice_id | mediumint | 8 | 0 | N | Y | 公告id: | |
| 2 | title | varchar | 125 | 0 | N | N | 标题: | |
| 3 | content | longtext | 2147483647 | 0 | Y | N | 正文: | |
| 4 | create_time | timestamp | 19 | 0 | N | N | CURRENT_TIMESTAMP | 创建时间: |
| 5 | update_time | timestamp | 19 | 0 | N | N | CURRENT_TIMESTAMP | 更新时间: |
| 编号 | 名称 | 数据类型 | 长度 | 小数位 | 允许空值 | 主键 | 默认值 | 说明 |
| 1 | praise_id | int | 10 | 0 | N | Y | 点赞ID: | |
| 2 | user_id | int | 10 | 0 | N | N | 0 | 点赞人: |
| 3 | create_time | timestamp | 19 | 0 | N | N | CURRENT_TIMESTAMP | 创建时间: |
| 4 | update_time | timestamp | 19 | 0 | N | N | CURRENT_TIMESTAMP | 更新时间: |
| 5 | source_table | varchar | 255 | 0 | Y | N | 来源表: | |
| 6 | source_field | varchar | 255 | 0 | Y | N | 来源字段: | |
| 7 | source_id | int | 10 | 0 | N | N | 0 | 来源ID: |
| 8 | status | bit | 1 | 0 | N | N | 1 | 点赞状态:1为点赞,0已取消 |
| 编号 | 名称 | 数据类型 | 长度 | 小数位 | 允许空值 | 主键 | 默认值 | 说明 |
| 1 | registered_users_id | int | 10 | 0 | N | Y | 注册用户ID | |
| 2 | full_name | varchar | 64 | 0 | Y | N | 姓名 | |
| 3 | gender | varchar | 64 | 0 | Y | N | 性别 | |
| 4 | id | varchar | 64 | 0 | Y | N | 身份证 | |
| 5 | examine_state | varchar | 16 | 0 | N | N | 已通过 | 审核状态 |
| 6 | recommend | int | 10 | 0 | N | N | 0 | 智能推荐 |
| 7 | user_id | int | 10 | 0 | N | N | 0 | 用户ID |
| 8 | create_time | datetime | 19 | 0 | N | N | CURRENT_TIMESTAMP | 创建时间 |
| 9 | update_time | timestamp | 19 | 0 | N | N | CURRENT_TIMESTAMP | 更新时间 |
表service_classification (服务分类)
| 编号 | 名称 | 数据类型 | 长度 | 小数位 | 允许空值 | 主键 | 默认值 | 说明 |
| 1 | service_classification_id | int | 10 | 0 | N | Y | 服务分类ID | |
| 2 | service_type | varchar | 64 | 0 | Y | N | 服务类型 | |
| 3 | recommend | int | 10 | 0 | N | N | 0 | 智能推荐 |
| 4 | create_time | datetime | 19 | 0 | N | N | CURRENT_TIMESTAMP | 创建时间 |
| 5 | update_time | timestamp | 19 | 0 | N | N | CURRENT_TIMESTAMP | 更新时间 |
| 编号 | 名称 | 数据类型 | 长度 | 小数位 | 允许空值 | 主键 | 默认值 | 说明 |
| 1 | service_orders_id | int | 10 | 0 | N | Y | 服务订单ID | |
| 2 | service_name | varchar | 64 | 0 | Y | N | 服务名称 | |
| 3 | service_type | varchar | 64 | 0 | Y | N | 服务类型 | |
| 4 | service_price | int | 10 | 0 | Y | N | 0 | 服务价格 |
| 5 | service_users | int | 10 | 0 | Y | N | 0 | 服务用户 |
| 6 | service_date | date | 10 | 0 | Y | N | 服务日期 | |
| 7 | contact_information | varchar | 64 | 0 | Y | N | 联系方式 | |
| 8 | contact_address | varchar | 64 | 0 | Y | N | 联系地址 | |
| 9 | remarks | varchar | 64 | 0 | Y | N | 备注信息 | |
| 10 | pay_state | varchar | 16 | 0 | N | N | 未支付 | 支付状态 |
| 11 | pay_type | varchar | 16 | 0 | Y | N | 支付类型: 微信、支付宝、网银 | |
| 12 | recommend | int | 10 | 0 | N | N | 0 | 智能推荐 |
| 13 | create_time | datetime | 19 | 0 | N | N | CURRENT_TIMESTAMP | 创建时间 |
| 14 | update_time | timestamp | 19 | 0 | N | N | CURRENT_TIMESTAMP | 更新时间 |
| 编号 | 名称 | 数据类型 | 长度 | 小数位 | 允许空值 | 主键 | 默认值 | 说明 |
| 1 | slides_id | int | 10 | 0 | N | Y | 轮播图ID: | |
| 2 | title | varchar | 64 | 0 | Y | N | 标题: | |
| 3 | content | varchar | 255 | 0 | Y | N | 内容: | |
| 4 | url | varchar | 255 | 0 | Y | N | 链接: | |
| 5 | img | varchar | 255 | 0 | Y | N | 轮播图: | |
| 6 | hits | int | 10 | 0 | N | N | 0 | 点击量: |
| 7 | create_time | timestamp | 19 | 0 | N | N | CURRENT_TIMESTAMP | 创建时间: |
| 8 | update_time | timestamp | 19 | 0 | N | N | CURRENT_TIMESTAMP | 更新时间: |
| 编号 | 名称 | 数据类型 | 长度 | 小数位 | 允许空值 | 主键 | 默认值 | 说明 |
| 1 | upload_id | int | 10 | 0 | N | Y | 上传ID | |
| 2 | name | varchar | 64 | 0 | Y | N | 文件名 | |
| 3 | path | varchar | 255 | 0 | Y | N | 访问路径 | |
| 4 | file | varchar | 255 | 0 | Y | N | 文件路径 | |
| 5 | display | varchar | 255 | 0 | Y | N | 显示顺序 | |
| 6 | father_id | int | 10 | 0 | Y | N | 0 | 父级ID |
| 7 | dir | varchar | 255 | 0 | Y | N | 文件夹 | |
| 8 | type | varchar | 32 | 0 | Y | N | 文件类型 |
| 编号 | 名称 | 数据类型 | 长度 | 小数位 | 允许空值 | 主键 | 默认值 | 说明 |
| 1 | user_id | mediumint | 8 | 0 | N | Y | 用户ID:[0,8388607]用户获取其他与用户相关的数据 | |
| 2 | state | smallint | 5 | 0 | N | N | 1 | 账户状态:[0,10](1可用|2异常|3已冻结|4已注销) |
| 3 | user_group | varchar | 32 | 0 | Y | N | 所在用户组:[0,32767]决定用户身份和权限 | |
| 4 | login_time | timestamp | 19 | 0 | N | N | CURRENT_TIMESTAMP | 上次登录时间: |
| 5 | phone | varchar | 11 | 0 | Y | N | 手机号码:[0,11]用户的手机号码,用于找回密码时或登录时 | |
| 6 | phone_state | smallint | 5 | 0 | N | N | 0 | 手机认证:[0,1](0未认证|1审核中|2已认证) |
| 7 | username | varchar | 16 | 0 | N | N | 用户名:[0,16]用户登录时所用的账户名称 | |
| 8 | nickname | varchar | 16 | 0 | Y | N | 昵称:[0,16] | |
| 9 | password | varchar | 64 | 0 | N | N | 密码:[0,32]用户登录所需的密码,由6-16位数字或英文组成 | |
| 10 | | varchar | 64 | 0 | Y | N | 邮箱:[0,64]用户的邮箱,用于找回密码时或登录时 | |
| 11 | email_state | smallint | 5 | 0 | N | N | 0 | 邮箱认证:[0,1](0未认证|1审核中|2已认证) |
| 12 | avatar | varchar | 255 | 0 | Y | N | 头像地址:[0,255] | |
| 13 | create_time | timestamp | 19 | 0 | N | N | CURRENT_TIMESTAMP | 创建时间: |
| 编号 | 名称 | 数据类型 | 长度 | 小数位 | 允许空值 | 主键 | 默认值 | 说明 |
| 1 | group_id | mediumint | 8 | 0 | N | Y | 用户组ID:[0,8388607] | |
| 2 | display | smallint | 5 | 0 | N | N | 100 | 显示顺序:[0,1000] |
| 3 | name | varchar | 16 | 0 | N | N | 名称:[0,16] | |
| 4 | description | varchar | 255 | 0 | Y | N | 描述:[0,255]描述该用户组的特点或权限范围 | |
| 5 | source_table | varchar | 255 | 0 | Y | N | 来源表: | |
| 6 | source_field | varchar | 255 | 0 | Y | N | 来源字段: | |
| 7 | source_id | int | 10 | 0 | N | N | 0 | 来源ID: |
| 8 | register | smallint | 5 | 0 | Y | N | 0 | 注册位置: |
| 9 | create_time | timestamp | 19 | 0 | N | N | CURRENT_TIMESTAMP | 创建时间: |
| 10 | update_time | timestamp | 19 | 0 | N | N | CURRENT_TIMESTAMP | 更新时间: |
第5章 系统详细设计
5.1用户功能模块
个性化生活服务,在系统首页可以查看首页、公告栏、服务资讯、个人账户、个人收藏、生活服务、个人中心等内容进行操作,如图5-1所示。
图5-1系统首页界面图
生活服务,在生活服务页面可以查看关键字搜索、排序、月嫂保姆、清扫保洁、服务名称、服务类型、服务价格等详细进行提交,如图5-2所示。
图5-2生活服务系统界面图
下单,在下单页面可以查看服务名称、服务价格、服务日期、联系地址、服务类型、服务用户、联系方式、备注信息等内容等详细进行提交,如图5-3所示。
图5-3下单界面图
用户注册,在用户注册页面通过填写账户、设置密码、确认密码、昵称、邮箱、手机号、身份、用户姓名、用户性别等信息完成用户注册,如图5-4所示。
图5-4用户注册界面图
用户登录进入系统后台可以查看后台首页、模块管理(服务订单)等内容进行相应操作,如图5-5所示。
图5-5用户后台功能界面图
服务订单,在服务订单页面中通过填写服务名称、服务类型、服务价格、服务用户、服务日期、联系方式、联系地址、备注信息等信息,根据详情进行添加、查询、支付等操作,如图5-6所示。
图5-6服务订单界面图
5.2管理员功能模块
管理员登录,通过填写注册时输入的用户名、密码、完成拼图验证进行登录,如图5-7所示。
图5-7管理员登录界面图
管理员登录进入个性化生活服务可以查看首页、轮播图(轮播图管理)、公告栏管理(公告栏)、资源管理(服务资讯、资讯分类)、系统用户(管理员、注册用户)、模块管理(服务分类、生活服务、服务订单)、个人中心等信息进行相应操作,如图5-8所示。
图5-8管理员功能界面图
服务资讯管理,在服务资讯管理页面中可以对索引、标题、封面图、文章分类、标签等信息,根据详情查看评论进行添加或删除等操作,如图5-9所示。
图5-9服务资讯管理界面图
公告栏管理,在公告栏管理页面中可以对索引、标题等信息进行详情、查询、删除等详细操作,如图5-10所示。
图5-10公告栏管理界面图
用户管理,在用户管理页面中可以对索引、昵称、用户名、用户姓名、用户性别等信息进行详情、添加或删除等详细操作,如图5-13所示。
图5-13用户管理界面图
服务分类管理,在服务分类管理页面中可以对索引、服务类型等信息进行详情添加或删除等详细操作,如图5-14所示。
图5-14服务分类管理界面图
服务订单管理,在服务订单管理页面中可以对索引、服务日期、联系方式、联系地址、备注信息、支付状态、支付类型等信息进行详情支付、添加或删除等详细操作,如图5-15所示。
图5-15服务订单管理界面图
第6章 系统测试
6.1系统测试的目的
程序设计不能保证没有错误,这是一个开发过程,在错误或错误的过程中都是难以避免的。虽然这是不可避免的,但我们不能使这些错误始终存在于系统中,错误可能会造成无法估量的后果,如系统崩溃,安全信息泄露,系统无法正常启动等,为了避免这些问题,我们需要测试程序,再测试过程中发现问题,并纠正它们,从而使系统更长时间稳定成熟。本章的作用是发现这些问题,并对其进行修改,虽然耗时费力,但对于长期使用而言是非常重要和必要系统的开发。
软件在设计后必须进行测试,调试过程中使用的方法是软件测试方法。在开发新软件时,系统测试是检查软件是否合格的关键步骤,以及是否符合设计目标的参考。测试主要是查看软件中数据的准确性,正确的操作与否,以及操作的结果,还有哪些方面需要改进。
个性化生活服务的实现,对于系统中功能模块的实现及操作都必须通过测试进行来评判系统是否可以准确的实现。在个性化生活服务正式上传使用之前必须做的一步就是系统测试,对于测试发现的错误及时修改处理,保证系统准确无误的供给用户使用。
6.2系统测试方法
在对个性化生活服务进行测试的时候在找到问题的情况下必须在第一时间找到解决问题的办法,不要存在侥幸的心理,这样才能让个性化生活服务开发的质量可以过关,并且开发的周期会大大缩短,还有就是在测试时,不要出现重复性的错误,遇到一个错误问题,要将整个个性化生活服务开发所牵扯的该问题都必须一一解决,提高个性化生活服务平台的安全性、稳定性。
白盒测试与黑盒测试是测试中比较常用的两种方法。
①结构测试俗称白盒测试:这种测试是在对程序的处理过程与结构都有详尽谅解的前提下,顺从程序内部的逻辑而完成的系统测试,以确定系统中所有的通路都能够遵照设计要求正常工作,不出现任何偏差。
②功能测试又成黑盒测试:主要是针对程序功能能够按照设计正常实现的一种检测,在程序接口处进行,检测程序手法数据是否正常,与外部信息的交换是否完整。
6.3功能测试
用户登录测试:
| 模块名称 | 测试用例 | 预期结果 | 实际结果 | 是否通过 |
| 登录模块 | 用户名:admin 密码:123 | 弹出错误提示,提示密码错误 | 弹出错误提示,提示密码错误 | 通过 |
| 登录模块 | 用户名:123 密码:admin | 弹出错误提示,提示用户名错误 | 弹出错误提示,提示用户名错误 | 通过 |
| 登录模块 | 用户名:admin 密码:admin | 管理员登录成功 | 管理员登录成功 | 通过 |
删除分类测试:
| 模块名称 | 测试用例 | 预期结果 | 实际结果 | 是否通过 |
| 删除分类模块 | 分类名:最新通知 | 删除成功、页面自动跳转 | 删除成功、页面自动跳转 | 通过 |
修改密码测试:
| 模块名称 | 测试用例 | 预期结果 | 实际结果 | 是否通过 |
| 修改密码模块 | 原密码:666 新密码:123 确认密码:123 | 弹出错误提示,提示原密码错误 | 弹出错误提示,提示原密码错误 | 通过 |
| 修改密码模块 | 原密码:admin 新密码:123 确认密码:333 | 弹出错误提示,提示确认密码不一致 | 弹出错误提示,提示确认密码不一致 | 通过 |
| 修改密码模块 | 原密码:admin 新密码:123 确认密码:123 | 密码修改成功 | 密码修改成功 | 通过 |
通过对功能的测试,个性化生活服务的基本功能都是可行的,不管是系统里面的功能,还是界面的设计都是可值得推广宣传的。
此时项目已经完成,即使实施的时间不是很长,但是这个过程中需要准备很长的一段时间去对系统设计开发所实际到的技术进行学习。在学习的过程中,我逐渐认识得到了我自身存在的一些不足。对于一些控制是必要的应用技能,能够理解,整个过程中仅仅是一个掌握了常用的性能和控制方法,我觉得挺容易的。从该系统中,系统的分析和设计的调查数据,并且已经经历了几个月,并努力几个月,该系统已经完成。很显然,该系统仍有很多不成熟,在系统设计过程中有许多技术缺陷存在。在设计的过程中也涉及到了很多自己无法解决的问题,主要通过找专业的网站和论坛来解决这些问题,对于圆满完成我的毕业设计,他们也贡献了很大一部分力量。系统的开发环境和配置都是可以自行安装的,系统使用koa开发工具,使用比较成熟的Mysql数据库进行对系统前台及后台的数据交互,根据技术语言对数据库,结合需求进行修改维护,可以使得系统运行更具有稳定性和安全性,从而完成实现系统的开发。
回顾毕业设计的整个过程,既付出汗水也收获了很多。虽然经历了各种各样的困难,自己的不断研究探索,系统的实现仍有不足之处。
在以后的学习及工作中,我仍然继续学习计算机方面的技术,让我在后期的平台开发中可以更好更快的实现需求功能。我相信我可以让更多的好工作,做出更大的贡献。
个性化生活服务的完成,如何实现的更好,其中付出的努力是很大的,这段时光将会终身难忘。
首先要感谢我的指导老师,谢谢您在设计和论文中给我的指导。在您的细心指导下我才能快速的掌握系统的相关功能,在您的大力帮助下我才能将课本上的知识与自己的项目结合,真正的做到学以致用。感谢您经常牺牲自己的休息时间,利用其丰富的教学和项目经验对我进行指导。
感谢所有教过我的老师,为我倾注了大量的心血,正是你们的谆谆教诲、严谨教学才使我能顺利的完成学业,再此向你们表示深深的感谢。
感谢我的同学们,对我的大力支持及帮助,正是你们不断的帮助、鼓励,给我带来了极大的动力,最终系统可以顺利的运行。我们在交流、谈论的这段时间,将是我未来的财富,我要深深地感谢你们!
毕业在即,在今后的工作和生活中,我会铭记师长们的教诲、同学们的帮助,继续不懈努力和追求,来报答所有支持和帮助过我的人!。
参考文献
[1]银莉,杜啸楠.基于node.js的koa技术和Vue的社区服务平台设计与实现[J].电子技术,2022,51(12):182-183.
[2]赵胤章.基于node.js的koa技术的立案登记系统研究[J].无线互联科技,2022,19(23):62-64.
[3]Yu Yang. Design and Implementation of Student Information Management System Based on node.js的koa技术[J]. Advances in Computer, Signals and Systems,2022,6(6).
[4]鄢靖丰,王佳乐.基于node.js的koa技术的微电子平台设计与实现[J].许昌学院学报,2022,41(05):94-98.
[5]阳博,温志萍.基于node.js的koa技术的在线协同办公系统设计与实现[J].电脑知识与技术,2022,18(22):49-51.DOI:10.14004/j.cnki.ckt.2022.1515.
[6]陶铭,谢仁平.基于node.js的koa技术的在线教育系统研发及应用实践[J].软件导刊,2022,21(07):170-174.
[7]何俊峰,朱凌晨.基于node.js的koa技术+Vue实现智慧化工地之动火证审批系统[J].电脑编程技巧与维护,2022(06):127-129.DOI:10.16184/j.cnki.comprg.2022.06.016.
[8]胡猛,李维善,张文胜,孙井顺.基于Tkinter+node.js的koa技术的云票务平台检测系统研究[J].信息技术与信息化,2022(03):40-44.
[9]熊柏祥.基于node.js的koa技术和Vue框架的考试资源服务平台的设计与实现[J].信息与电脑(理论版),2022,34(01):97-99+103.
[10]周常志,甘恒.基于node.js的koa技术的智慧就业服务平台的设计与实现[J].电脑知识与技术,2021,17(28):182-184+187.DOI:10.14004/j.cnki.ckt.2021.3040.
[11]喻佳,吴丹新.基于node.js的koa技术的Web快速开发框架[J].电脑编程技巧与维护,2021(09):31-33.DOI:10.16184/j.cnki.comprg.2021.09.013.
[12]黄莹. 基于强化学习的教育资讯个性化推荐系统研究与实现[D].北京邮电大学,2021.DOI:10.26969/d.cnki.gbydu.2021.001006.
[13]Fuyuan Cheng. Talent Recruitment Management System for Small and Micro Enterprises Based on node.js的koa技术 Framework[J]. Advances in Educational Technology and Psychology,2021,5(2).
[14]王子岩,司亮,刘滨,刘宇,孙中贤,刘增杰,张红斌,刘青.基于系统动力学的资讯个性化推荐研究[J].河北科技大学学报,2021,42(02):171-179.
[15]Guanhong Chen,Jiangming Xu. Design and implementation of efficient Learning platform based on node.js的koa技术 Framework[J]. Journal of Electronics and Information Science,2020,6(1).
[16]司亮. 智慧教育资讯平台中的个性化推荐系统设计研究[D].河北科技大学,2020.DOI:10.27107/d.cnki.ghbku.2020.000422.
[17]Minmin He,Shengli Lv. Research on Civil Aircraft Structural Strength Material Performance Database Based on node.js的koa技术[A]. Advanced Science and Industry Research Center.Proceedings of 2020 4th International Conference on Electrical,Automation and Mechanical Engineering(EAME2020)[C].Advanced Science and Industry Research Center:Science and Engineering Research Center,2020:6.DOI:10.26914/c.cnkihy.2020.057541.
[18]蒋瑜歆. 医疗资讯系统的设计与实现[D].北京邮电大学,2020.DOI:10.26969/d.cnki.gbydu.2020.001013.
[19]杨莉明.个性化推荐在移动新闻资讯传播中的应用、影响与反思[J].新闻与传播评论,2020,73(02):47-58.DOI:10.14086/j.cnki.xwycbpl.2020.02.004.
[20]Kan Ji,Xiaojun Chen,Aoming Qin,Jia Liu,Jinmei Wu. Design and Implementation of Teaching Quality Evaluation System Based on node.js的koa技术[A]. 西南石油大学(Southwest Petroleum University).第七届计算与信息科学国际学术会议论文集[C].西南石油大学(Southwest Petroleum University):西南石油大学计算机科学学院,2019:9.
请关注点赞+私信博主,免费领取项目源码
1114

被折叠的 条评论
为什么被折叠?



