springboot 疫情管理系统
摘 要
随着社会的发展,社会的各行各业都在利用信息化时代的优势。计算机的优势和普及使得各种信息系统的开发成为必需。
疫情管理系统,主要的模块包括查看后台首页、系统用户(管理员、学生用户、教师用户)、模块管理(疫情信息(学生)、疫情信息(教师)、离校申请、疫情实况、预测风险)、个人中心等功能。系统中管理员主要是为了安全有效地存储和管理各类信息,还可以对系统进行管理与更新维护等操作,并且对后台有相应的操作权限。
要想实现疫情管理系统的各项功能,需要后台数据库的大力支持。管理员验证注册信息,收集的用户信息,并由此分析得出的关联信息等大量的数据都由数据库管理系统管理。本文中数据库服务器端采用了Mysql作为后台数据库,使Web与数据库紧密联系起来。在设计过程中,充分保证了系统代码的良好可读性、实用性、易扩展性、通用性、便于后期维护、操作方便以及页面简洁等特点。
本系统的开发使获取疫情管理系统信息能够更加方便快捷,同时也使疫情管理系统管理信息变的更加系统化、有序化。系统界面较友好,易于操作。
关键词:疫情管理系统;springboot框架;Mysql数据库;
With the development of society, vrious industries are taking advantage of the advantages of the information age. The advantages and popularity of computers make the development of various information systems necessary.
The epidemic management system mainly includes functions such as viewing the backend homepage, system users (administrators, student users, teacher users), module management (epidemic information (students), epidemic information (teachers), departure application, epidemic situation, and risk prediction), and personal center. The main purpose of administrators in the system is to store and manage various types of information safely and effectively. They can also manage, update, and maintain the system, and have corresponding operation permissions for the backend.
To achieve the various functions of the epidemic management system, strong support from the backend database is required. The administrator verifies the registration information, collects user information, and analyzes a large amount of data such as associated information, which is managed by the database management system. In this article, MySQL is used as the backend database on the database server side, closely linking the Web with the database. During the design process, the system code was fully guaranteed to have good readability, practicality, scalability, universality, ease of later maintenance, easy operation, and concise pages.
The development of this system makes it more convenient and efficient to obtain information from the epidemic management system, while also making the management information of the epidemic management system more systematic and orderly. The system interface is relatively friendly and easy to operate.
Key words: Epidemic management system; Springboot framework; MySQL database;
目录
1 系统概述
1.1 概述
随着社会的快速发展,计算机的影响是全面且深入的。人们生活水平的不断提高,日常生活中人们对疫情管理系统方面的要求也在不断提高,需要疫情管理系统信息的人数更是不断增加,使得疫情管理系统的开发成为必需而且紧迫的事情。疫情管理系统主要是借助计算机,通过对疫情管理系统所需的信息管理,增加用户选择,同时也方便对广大用户信息的及时查询、修改以及对用户信息的及时了解。疫情管理系统对用户带来了更多的便利, 该系统通过和数据库管理系统软件协作来满足用户的需求。
1.2课题意义
随着全球信息化的发展,人们的生活节奏越来越快,对信息的时效性越来越重视。以传统的宣传方式为载体的传统媒介早已不能满足人们对获取信息的方式、便捷性的需求。所以疫情管理系统渐渐成为人们关注的焦点。首先,疫情管理系统,网上获取信息的实时性、便捷性要远远高于传统媒介。系统一经上线,无论用户在世界的哪个角落,只要能够连接互联网,就能在第一时间获得想要的信息。
计算机技术在现代管理中的应用,使计算机成为人们应用现代技术的重要工具。能够有效的解决获取信息便捷化、全面化的问题,提高效率。
1.3 主要内容
疫情管理系统从功能、数据流程、可行性、运行环境等方面进行需求分析。对疫情管理系统的数据库、功能进行了详细设计。分析了主要界面设计和相关组件设计,对疫情管理系统的具体实现进行了介绍。
采用Java技术,从数据库中获取数据、向数据库中写入数据,实现系统直接对数据库进行各种操作,在网页中加入动态内容,从而实现疫情管理系统所需要的各种基本功能。
2 系统开发环境
2.1开发技术说明
本系统前端部分基于MVVM模式进行开发,采用B/S模式,后端部分基于Java的springboot框架进行开发。
前端部分:前端框架采用了比较流行的渐进式JavaScript框架Vue.js。使用Vue-Router和Vuex实现动态路由和全局状态管理,Ajax实现前后端通信,Element UI组件库和Lay UI组件库使页面快速成型,项目前端通过栅格布局实现响应式,可适应PC端、平板端、手机端等不同屏幕大小尺寸的完美布局展示。
后端部分:采用springboot作为开发框架,同时集成MyBatis、Redis等相关技术。
2.2 Spring Boot框架
Spring框架是Java平台上的一种开源应用框架,提供具有控制反转特性的容器。尽管Spring框架自身对编程模型没有限制,但其在Java应用中的频繁使用让它备受青睐,以至于后来让它作为EJB(EnterpriseJavaBeans)模型的补充,甚至是替补。Spring框架为开发提供了一系列的解决方案,比如利用控制反转的核心特性,并通过依赖注入实现控制反转来实现管理对象生命周期容器化,利用面向切面编程进行声明式的事务管理,整合多种持久化技术管理数据访问,提供大量优秀的Web框架方便开发等等。Spring框架具有控制反转(IOC)特性,IOC旨在方便项目维护和测试,它提供了一种通过Java的反射机制对Java对象进行统一的配置和管理的方法。Spring框架利用容器管理对象的生命周期,容器可以通过扫描XML文件或类上特定Java注解来配置对象,开发者可以通过依赖查找或依赖注入来获得对象。Spring框架具有面向切面编程(AOP)框架,SpringAOP框架基于代理模式,同时运行时可配置;AOP框架主要针对模块之间的交叉关注点进行模块化。Spring框架的AOP框架仅提供基本的AOP特性,虽无法与AspectJ框架相比,但通过与AspectJ的集成,也可以满足基本需求。Spring框架下的事务管理、远程访问等功能均可以通过使用SpringAOP技术实现。Spring的事务管理框架为Java平台带来了一种抽象机制,使本地和全局事务以及嵌套事务能够与保存点一起工作,并且几乎可以在Java平台的任何环境中工作。
2.3 JAVA简介
Java主要采用CORBA技术和安全模型,可以在互联网应用的数据保护。它还提供了对EJB(Enterprise JavaBeans)的全面支持,java servlet API,SPRINGBOOT(java server pages),和XML技术。Java是一种计算机编程语言,具有封装、继承和多态性三个主要特性,广泛应用于企业Web应用程序开发和移动应用程序开发。Java语言和一般编译器以及直译的区别在于,Java首先将源代码转换为字节码,然后将其转换为JVM的可执行文件,JVM可以在各种不同的JVM上运行。因此,实现了它的跨平台特性。虽然这使得Java在早期非常缓慢,但是随着Java的开发,它已经得到了改进。
2.4 Vue.js 主要功能:
Vue.js是一套构建用户界面的渐进式框架。与其他重量级框架不同的是,Vue采用自底向上增量开发的设计。Vue 的核心库只关注视图层,并且非常容易学习,非常容易与其它库或已有项目整合。另一方面,Vue 完全有能力驱动采用单文件组件和Vue生态系统支持的库开发的复杂单页应用。
Vue.js 的目标是通过尽可能简单的 API 实现响应的数据绑定和组合的视图组件。
Vue.js 自身不是一个全能框架——它只聚焦于视图层。因此它非常容易学习,非常容易与其它库或已有项目整合。另一方面,在与相关工具和支持库一起使用时,Vue.js 也能驱动复杂的单页应用。
2.5 B/S体系结构介绍:
B/S结构(Browser/Server,浏览器/服务器模式),是WEB兴起后的一种网络结构模式,WEB浏览器是客户端最主要的应用软件。这种模式统一了客户端,将系统功能实现的核心部分集中到服务器上,简化了系统的开发、维护和使用。客户机上只要安装一个浏览器,如Chrome、Safari、Microsoft Edge、Netscape Navigator或Internet Explorer,服务器安装SQL Server、Oracle、MYSQL等数据库。浏览器通过Web Server同数据库进行数据交互。
2.6 MySql数据库
Mysql的语言是非结构化的,用户可以在数据上进行工作。因为Mysql的语言和结构比较简单,但是功能和存储信息量很强大,其速度、可靠性和适应性而备受关注并得到了普遍的应用。Mysql数据库在编程过程中的作用是很广泛的,为用户进行数据查询带来了方便。Mysql数据库的应用特点:灵活性强,功能强大,语言相对要简洁很多。
数据流程分析主要就是数据存储的储藏室,它是在计算机上进行的,而不是现实中的储藏室。数据库管理主要是数据存储、修改和增加以及数据表的建立。数据表的建立,可以对数据表中的数据进行调整,数据的重新组合及重新构造,保证数据的安全性。介于数据库的功能强大等特点,本系统的开发主要应用了Mysql进行对数据的管理。
3 需求分析
3.1技术可行性:技术背景
疫情管理系统是在Windows操作系统中进行开发运用的,而且目前PC机的各项性能已经可以胜任普通网站的web服务器。系统开发所使用的技术也都是自身所具有的,也是当下广泛应用的技术之一。
系统的开发环境和配置都是可以自行安装的,系统使用Java开发工具,使用比较成熟的Mysql数据库进行对系统前台及后台的数据交互,根据技术语言对数据库,结合需求进行修改维护,可以使得网站运行更具有稳定性和安全性,从而完成实现网站的开发。
(1)硬件可行性分析
系统管理及信息分析的设计对于所使用的计算机没有什么硬性的要求,计算机只要可以正常的使用进行代码的编写及页面设计就可行,主要是对于服务器有些要求,对于平台搭建完成要上传的服务器是有一定的要求的,服务器必须选择安全性比较高的,然后就是在打开网站必须顺畅,不能停顿太长时间;性价比高;安全性高。
(2)软件可行性分析
开发整个系统使用的是云计算,流量的可扩展性和基于流量的智能调整云计算的优点就是流量的可扩展性和基于流量的智能调整,保障了数据信息能够得到及时的备份,整个系统可以安全有效的运行。
因此,我们从两个方面进行了可行性研究,可以看出系统的开发没有问题。
3.2经济可行性
在疫情管理系统开发之前所做的市场调研及与其相关的其他管理系统,都是没有任何费用的。所有的调查研究都是通过开发者自己的努力,所有的工作也都是自己亲力亲为的。在碰到自己比较难以解决的问题时,大多数是通过指导老师和同学的帮助进行相关问题的解决。所以对于疫情管理系统的开发在经济上是完全可行的,没有任何费用支出的。
使用比较成熟的技术,系统是基于Java的开发,采用Mysql数据库。所以系统在开发人力、财力方面的要求不高,具有经济可行性。
3.3操作可行性:
可操作性主要是对在疫情管理系统设计完成后,用户的使用体验度,以及管理员可以通过系统随时管理相关的数据信息,并且对于管理员、用户两个角色,都可以简单明了的进入到自己的系统界面,通过界面导航菜单可以简单明了地操作功能模块,方便用户信息的操作需求和管理员管理数据信息。对于系统的操作,不需要专业人员都可以直接进行功能模块的操作管理,所以疫情管理系统的可操作性是完全可以的。本系统的操作使用的也是界面窗口进行登录,所以操作人员只要会简单的电脑操作就完全可以的。
3.4系统设计规则
本疫情管理系统采用Java技术,Mysql数据库开发,充分保证了系统稳定性、完整性。
疫情管理系统的设计与实现的设计思想如下:
操作简单方便、系统界面安全良好:简单明了的页面布局,方便查询疫情管理系统管理的相关信息。
2、即时可见:对疫情管理系统信息的处理将立马在对应地点可以查询到,从而实现“即时发布、即时见效”的系统功能。
3、功能的完善性:可以管理首页、个人中心、疫情信息(学生)、疫情信息(教师)、离校申请、疫情实况、预测风险的修改和维护操作。
3.5系统流程和逻辑
系统业务流程图,如图所示:

图3-1登录流程图

图3-2添加信息流程图

图3-3注册信息流程图
4系统概要设计
4.1 概述
疫情管理系统基于Web服务模式,是一个适用于Internet环境下的模型结构。只要用户能连上Internet,便可以在不受时间、地点的限制来使用这个系统。疫情管理系统工作原理图,如图4-1所示:

图4-1 系统工作原理图
4.2 系统结构
本系统架构网站系统,本系统的具体功能如下:

图4-2系统功能结构图
系统结构图,如图4-3所示:

图4-3 系统结构图
4.3. 数据库设计
4.3.1 数据库实体
管理员信息结构图,如图4-5所示:

图4-5 管理员信息实体结构图
用户信息实体属性图,如图4-6所示:

图4-6用户信息实体属性图
疫情实况管理实体属性图如图4-7所示。

图4-7疫情实况管理实体属性图
疫情信息(教师)管理实体属性图如图4-8所示。

图4-8疫情信息(教师)管理实体属性图
4.3.2 数据库设计表
4.4 数据表
将数据库概念设计的E-R图转换为关系数据库。在关系数据库中,数据关系由数据表组成,但是表的结构表现在表的字段上。
| 编号 | 名称 | 数据类型 | 长度 | 小数位 | 允许空值 | 主键 | 默认值 | 说明 |
| 1 | token_id | int | 10 | 0 | N | Y | 临时访问牌ID | |
| 2 | token | varchar | 64 | 0 | Y | N | 临时访问牌 | |
| 3 | info | text | 65535 | 0 | Y | N | ||
| 4 | maxage | int | 10 | 0 | N | N | 2 | 最大寿命:默认2小时 |
| 5 | create_time | timestamp | 19 | 0 | N | N | CURRENT_TIMESTAMP | 创建时间: |
| 6 | update_time | timestamp | 19 | 0 | N | N | CURRENT_TIMESTAMP | 更新时间: |
| 7 | user_id | int | 10 | 0 | N | N | 0 | 用户编号: |
| 编号 | 名称 | 数据类型 | 长度 | 小数位 | 允许空值 | 主键 | 默认值 | 说明 |
| 1 | auth_id | int | 10 | 0 | N | Y | 授权ID: | |
| 2 | user_group | varchar | 64 | 0 | Y | N | 用户组: | |
| 3 | mod_name | varchar | 64 | 0 | Y | N | 模块名: | |
| 4 | table_name | varchar | 64 | 0 | Y | N | 表名: | |
| 5 | page_title | varchar | 255 | 0 | Y | N | 页面标题: | |
| 6 | path | varchar | 255 | 0 | Y | N | 路由路径: | |
| 7 | position | varchar | 32 | 0 | Y | N | 位置: | |
| 8 | mode | varchar | 32 | 0 | N | N | _blank | 跳转方式: |
| 9 | add | tinyint | 3 | 0 | N | N | 1 | 是否可增加: |
| 10 | del | tinyint | 3 | 0 | N | N | 1 | 是否可删除: |
| 11 | set | tinyint | 3 | 0 | N | N | 1 | 是否可修改: |
| 12 | get | tinyint | 3 | 0 | N | N | 1 | 是否可查看: |
| 13 | field_add | text | 65535 | 0 | Y | N | 添加字段: | |
| 14 | field_set | text | 65535 | 0 | Y | N | 修改字段: | |
| 15 | field_get | text | 65535 | 0 | Y | N | 查询字段: | |
| 16 | table_nav_name | varchar | 500 | 0 | Y | N | 跨表导航名称: | |
| 17 | table_nav | varchar | 500 | 0 | Y | N | 跨表导航: | |
| 18 | option | text | 65535 | 0 | Y | N | 配置: | |
| 19 | create_time | timestamp | 19 | 0 | N | N | CURRENT_TIMESTAMP | 创建时间: |
| 20 | update_time | timestamp | 19 | 0 | N | N | CURRENT_TIMESTAMP | 更新时间: |
| 编号 | 名称 | 数据类型 | 长度 | 小数位 | 允许空值 | 主键 | 默认值 | 说明 |
| 1 | departure_application_id | int | 10 | 0 | N | Y | 离校申请ID | |
| 2 | student_account | int | 10 | 0 | Y | N | 0 | 学生账号 |
| 3 | student_name | varchar | 64 | 0 | Y | N | 学生姓名 | |
| 4 | teacher_account | int | 10 | 0 | Y | N | 0 | 教师账号 |
| 5 | teachers_name | varchar | 64 | 0 | Y | N | 教师姓名 | |
| 6 | submission_date | date | 10 | 0 | Y | N | 提交日期 | |
| 7 | departure_time | datetime | 19 | 0 | Y | N | 离校时间 | |
| 8 | back_to_school_time | datetime | 19 | 0 | Y | N | 返校时间 | |
| 9 | reason_for_leaving_school | text | 65535 | 0 | Y | N | 离校原因 | |
| 10 | examine_state | varchar | 16 | 0 | N | N | 未审核 | 审核状态 |
| 11 | examine_reply | varchar | 16 | 0 | Y | N | 审核回复 | |
| 12 | recommend | int | 10 | 0 | N | N | 0 | 智能推荐 |
| 13 | create_time | datetime | 19 | 0 | N | N | CURRENT_TIMESTAMP | 创建时间 |
| 14 | update_time | timestamp | 19 | 0 | N | N | CURRENT_TIMESTAMP | 更新时间 |
表epidemic_information_students (疫情信息(学生))
| 编号 | 名称 | 数据类型 | 长度 | 小数位 | 允许空值 | 主键 | 默认值 | 说明 |
| 1 | epidemic_information_students_id | int | 10 | 0 | N | Y | 疫情信息(学生)ID | |
| 2 | student_account | int | 10 | 0 | Y | N | 0 | 学生账号 |
| 3 | student_name | varchar | 64 | 0 | Y | N | 学生姓名 | |
| 4 | teacher_account | int | 10 | 0 | Y | N | 0 | 教师账号 |
| 5 | teachers_name | varchar | 64 | 0 | Y | N | 教师姓名 | |
| 6 | filling_date | date | 10 | 0 | Y | N | 填报日期 | |
| 7 | location_name | varchar | 64 | 0 | Y | N | 地点名称 | |
| 8 | health_status | varchar | 64 | 0 | Y | N | 健康状态 | |
| 9 | other_information | text | 65535 | 0 | Y | N | 其他信息 | |
| 10 | recommend | int | 10 | 0 | N | N | 0 | 智能推荐 |
| 11 | create_time | datetime | 19 | 0 | N | N | CURRENT_TIMESTAMP | 创建时间 |
| 12 | update_time | timestamp | 19 | 0 | N | N | CURRENT_TIMESTAMP | 更新时间 |
表epidemic_information_teacher (疫情信息(教师))
| 编号 | 名称 | 数据类型 | 长度 | 小数位 | 允许空值 | 主键 | 默认值 | 说明 |
| 1 | epidemic_information_teacher_id | int | 10 | 0 | N | Y | 疫情信息(教师)ID | |
| 2 | teacher_account | int | 10 | 0 | Y | N | 0 | 教师账号 |
| 3 | teachers_name | varchar | 64 | 0 | Y | N | 教师姓名 | |
| 4 | filling_date | date | 10 | 0 | Y | N | 填报日期 | |
| 5 | location_name | varchar | 64 | 0 | Y | N | 地点名称 | |
| 6 | health_status | varchar | 64 | 0 | Y | N | 健康状态 | |
| 7 | other_information | text | 65535 | 0 | Y | N | 其他信息 | |
| 8 | recommend | int | 10 | 0 | N | N | 0 | 智能推荐 |
| 9 | create_time | datetime | 19 | 0 | N | N | CURRENT_TIMESTAMP | 创建时间 |
| 10 | update_time | timestamp | 19 | 0 | N | N | CURRENT_TIMESTAMP | 更新时间 |
| 编号 | 名称 | 数据类型 | 长度 | 小数位 | 允许空值 | 主键 | 默认值 | 说明 |
| 1 | epidemic_situation_id | int | 10 | 0 | N | Y | 疫情实况ID | |
| 2 | release_date | varchar | 64 | 0 | Y | N | 发布日期 | |
| 3 | region_name | varchar | 64 | 0 | Y | N | 地区名称 | |
| 4 | new_infections | int | 10 | 0 | Y | N | 0 | 新增感染 |
| 5 | number_of_infected_individuals | int | 10 | 0 | Y | N | 0 | 感染人数 |
| 6 | hazard_level | varchar | 64 | 0 | Y | N | 危险程度 | |
| 7 | information_remarks | text | 65535 | 0 | Y | N | 信息备注 | |
| 8 | recommend | int | 10 | 0 | N | N | 0 | 智能推荐 |
| 9 | create_time | datetime | 19 | 0 | N | N | CURRENT_TIMESTAMP | 创建时间 |
| 10 | update_time | timestamp | 19 | 0 | N | N | CURRENT_TIMESTAMP | 更新时间 |
| 编号 | 名称 | 数据类型 | 长度 | 小数位 | 允许空值 | 主键 | 默认值 | 说明 |
| 1 | hits_id | int | 10 | 0 | N | Y | 点赞ID: | |
| 2 | user_id | int | 10 | 0 | N | N | 0 | 点赞人: |
| 3 | create_time | timestamp | 19 | 0 | N | N | CURRENT_TIMESTAMP | 创建时间: |
| 4 | update_time | timestamp | 19 | 0 | N | N | CURRENT_TIMESTAMP | 更新时间: |
| 5 | source_table | varchar | 255 | 0 | Y | N | 来源表: | |
| 6 | source_field | varchar | 255 | 0 | Y | N | 来源字段: | |
| 7 | source_id | int | 10 | 0 | N | N | 0 | 来源ID: |
| 编号 | 名称 | 数据类型 | 长度 | 小数位 | 允许空值 | 主键 | 默认值 | 说明 |
| 1 | predicting_risks_id | int | 10 | 0 | N | Y | 预测风险ID | |
| 2 | release_date | varchar | 64 | 0 | Y | N | 发布日期 | |
| 3 | region_name | varchar | 64 | 0 | Y | N | 地区名称 | |
| 4 | hazard_level | varchar | 64 | 0 | Y | N | 危险程度 | |
| 5 | route_risk | varchar | 64 | 0 | Y | N | 途经风险 | |
| 6 | information_remarks | text | 65535 | 0 | Y | N | 信息备注 | |
| 7 | recommend | int | 10 | 0 | N | N | 0 | 智能推荐 |
| 8 | create_time | datetime | 19 | 0 | N | N | CURRENT_TIMESTAMP | 创建时间 |
| 9 | update_time | timestamp | 19 | 0 | N | N | CURRENT_TIMESTAMP | 更新时间 |
| 编号 | 名称 | 数据类型 | 长度 | 小数位 | 允许空值 | 主键 | 默认值 | 说明 |
| 1 | student_users_id | int | 10 | 0 | N | Y | 学生用户ID | |
| 2 | student_name | varchar | 64 | 0 | Y | N | 学生姓名 | |
| 3 | student_gender | varchar | 64 | 0 | Y | N | 学生性别 | |
| 4 | examine_state | varchar | 16 | 0 | N | N | 已通过 | 审核状态 |
| 5 | recommend | int | 10 | 0 | N | N | 0 | 智能推荐 |
| 6 | user_id | int | 10 | 0 | N | N | 0 | 用户ID |
| 7 | create_time | datetime | 19 | 0 | N | N | CURRENT_TIMESTAMP | 创建时间 |
| 8 | update_time | timestamp | 19 | 0 | N | N | CURRENT_TIMESTAMP | 更新时间 |
| 编号 | 名称 | 数据类型 | 长度 | 小数位 | 允许空值 | 主键 | 默认值 | 说明 |
| 1 | teacher_users_id | int | 10 | 0 | N | Y | 教师用户ID | |
| 2 | teachers_name | varchar | 64 | 0 | Y | N | 教师姓名 | |
| 3 | teacher_gender | varchar | 64 | 0 | Y | N | 教师性别 | |
| 4 | examine_state | varchar | 16 | 0 | N | N | 已通过 | 审核状态 |
| 5 | recommend | int | 10 | 0 | N | N | 0 | 智能推荐 |
| 6 | user_id | int | 10 | 0 | N | N | 0 | 用户ID |
| 7 | create_time | datetime | 19 | 0 | N | N | CURRENT_TIMESTAMP | 创建时间 |
| 8 | update_time | timestamp | 19 | 0 | N | N | CURRENT_TIMESTAMP | 更新时间 |
| 编号 | 名称 | 数据类型 | 长度 | 小数位 | 允许空值 | 主键 | 默认值 | 说明 |
| 1 | upload_id | int | 10 | 0 | N | Y | 上传ID | |
| 2 | name | varchar | 64 | 0 | Y | N | 文件名 | |
| 3 | path | varchar | 255 | 0 | Y | N | 访问路径 | |
| 4 | file | varchar | 255 | 0 | Y | N | 文件路径 | |
| 5 | display | varchar | 255 | 0 | Y | N | 显示顺序 | |
| 6 | father_id | int | 10 | 0 | Y | N | 0 | 父级ID |
| 7 | dir | varchar | 255 | 0 | Y | N | 文件夹 | |
| 8 | type | varchar | 32 | 0 | Y | N | 文件类型 |
| 编号 | 名称 | 数据类型 | 长度 | 小数位 | 允许空值 | 主键 | 默认值 | 说明 |
| 1 | user_id | mediumint | 8 | 0 | N | Y | 用户ID:[0,8388607]用户获取其他与用户相关的数据 | |
| 2 | state | smallint | 5 | 0 | N | N | 1 | 账户状态:[0,10](1可用|2异常|3已冻结|4已注销) |
| 3 | user_group | varchar | 32 | 0 | Y | N | 所在用户组:[0,32767]决定用户身份和权限 | |
| 4 | login_time | timestamp | 19 | 0 | N | N | CURRENT_TIMESTAMP | 上次登录时间: |
| 5 | phone | varchar | 11 | 0 | Y | N | 手机号码:[0,11]用户的手机号码,用于找回密码时或登录时 | |
| 6 | phone_state | smallint | 5 | 0 | N | N | 0 | 手机认证:[0,1](0未认证|1审核中|2已认证) |
| 7 | username | varchar | 16 | 0 | N | N | 用户名:[0,16]用户登录时所用的账户名称 | |
| 8 | nickname | varchar | 16 | 0 | Y | N | 昵称:[0,16] | |
| 9 | password | varchar | 64 | 0 | N | N | 密码:[0,32]用户登录所需的密码,由6-16位数字或英文组成 | |
| 10 | | varchar | 64 | 0 | Y | N | 邮箱:[0,64]用户的邮箱,用于找回密码时或登录时 | |
| 11 | email_state | smallint | 5 | 0 | N | N | 0 | 邮箱认证:[0,1](0未认证|1审核中|2已认证) |
| 12 | avatar | varchar | 255 | 0 | Y | N | 头像地址:[0,255] | |
| 13 | create_time | timestamp | 19 | 0 | N | N | CURRENT_TIMESTAMP | 创建时间: |
| 编号 | 名称 | 数据类型 | 长度 | 小数位 | 允许空值 | 主键 | 默认值 | 说明 |
| 1 | group_id | mediumint | 8 | 0 | N | Y | 用户组ID:[0,8388607] | |
| 2 | display | smallint | 5 | 0 | N | N | 100 | 显示顺序:[0,1000] |
| 3 | name | varchar | 16 | 0 | N | N | 名称:[0,16] | |
| 4 | description | varchar | 255 | 0 | Y | N | 描述:[0,255]描述该用户组的特点或权限范围 | |
| 5 | source_table | varchar | 255 | 0 | Y | N | 来源表: | |
| 6 | source_field | varchar | 255 | 0 | Y | N | 来源字段: | |
| 7 | source_id | int | 10 | 0 | N | N | 0 | 来源ID: |
| 8 | register | smallint | 5 | 0 | Y | N | 0 | 注册位置: |
| 9 | create_time | timestamp | 19 | 0 | N | N | CURRENT_TIMESTAMP | 创建时间: |
| 10 | update_time | timestamp | 19 | 0 | N | N | CURRENT_TIMESTAMP | 更新时间: |
=
5 系统详细设计
5.1管理员功能模块
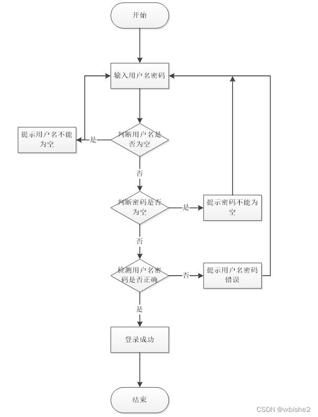
管理员登录,管理员通过输入用户,密码,滑动滑块进行验证进行登录,如图5-1所示。

图5-1管理员登录界面图
登录代码如下:
/**
* 登录
* @param data
* @param httpServletRequest
* @return
*/
@PostMapping("login")
public Map<String, Object> login(@RequestBody Map<String, String> data, HttpServletRequest httpServletRequest) {
log.info("[执行登录接口]");
String username = data.get("username");
String email = data.get("email");
String phone = data.get("phone");
String password = data.get("password");
List resultList = null;
Map<String, String> map = new HashMap<>();
if(username != null && "".equals(username) == false){
map.put("username", username);
resultList = service.select(map, new HashMap<>()).getResultList();
}
else if(email != null && "".equals(email) == false){
map.put("email", email);
resultList = service.select(map, new HashMap<>()).getResultList();
}
else if(phone != null && "".equals(phone) == false){
map.put("phone", phone);
resultList = service.select(map, new HashMap<>()).getResultList();
}else{
return error(30000, "账号或密码不能为空");
}
if (resultList == null || password == null) {
return error(30000, "账号或密码不能为空");
}
//判断是否有这个用户
if (resultList.size()<=0){
return error(30000,"用户不存在");
}
User byUsername = (User) resultList.get(0);
Map<String, String> groupMap = new HashMap<>();
groupMap.put("name",byUsername.getUserGroup());
List groupList = userGroupService.select(groupMap, new HashMap<>()).getResultList();
if (groupList.size()<1){
return error(30000,"用户组不存在");
}
UserGroup userGroup = (UserGroup) groupList.get(0);
//查询用户审核状态
if (!StringUtils.isEmpty(userGroup.getSourceTable())){
String sql = "select examine_state from "+ userGroup.getSourceTable() +" WHERE user_id = " + byUsername.getUserId();
String res = String.valueOf(service.runCountSql(sql).getSingleResult());
if (res==null){
return error(30000,"用户不存在");
}
if (!res.equals("已通过")){
return error(30000,"该用户审核未通过");
}
}
//查询用户状态
if (byUsername.getState()!=1){
return error(30000,"用户非可用状态,不能登录");
}
String md5password = service.encryption(password);
if (byUsername.getPassword().equals(md5password)) {
// 存储Token到数据库
AccessToken accessToken = new AccessToken();
accessToken.setToken(UUID.randomUUID().toString().replaceAll("-", ""));
accessToken.setUser_id(byUsername.getUserId());
tokenService.save(accessToken);
// 返回用户信息
JSONObject user = JSONObject.parseObject(JSONObject.toJSONString(byUsername));
user.put("token", accessToken.getToken());
JSONObject ret = new JSONObject();
ret.put("obj",user);
return success(ret);
} else {
return error(30000, "账号或密码不正确");
}
}
管理员登录进入疫情管理系统可以查首页、系统用户(管理员、学生用户、教师用户)、模块管理(疫情信息(学生)、疫情信息(教师)、离校申请、疫情实况、预测风险)、个人中心等内容,如图5-2所示。

图5-2管理员功能界面图
系统用户管理,在系统用户管理页面可以查看等索引、昵称、用户名、用户姓名、用户性别等信息,并可根据需要进行添加、修改或删除等操作,如图5-3所示。

图5-3系统用户管理界面图
疫情实况管理,在疫情实况管理页面可以查看发布日期、地区名称、新增感染、感染人数、危险程度、信息备注等信息,并可根据需要进行下载导入文档、导入修改或删除等操作,如图5-4所示。

图5-4疫情实况管理界面图
预测风险管理,在预测风险管理页面可以查看发布日期、地区名称、危险程度、途径风险、信息备注等信息,并可根据需要进行下载导入文档、导入、添加、修改或删除等操作,如图5-5所示。

图5-5预测风险管理界面图
5.2学生用户功能模块
学生用户登录进入后台可以查看个首页、模块管理(疫情信息(学生)、离校申请、疫情实况、预测风险)、个人中心等内容,如图5-6所示。
图5-6学生用户功能界面图
用户功能代码如下:
server:
port: 5000
servlet:
context-path: /api
spring:
datasource:
url: jdbc:mysql://127.0.0.1:3306/CS725260_20211101091736?serverTimezone=GMT%2B8&useSSL=false&characterEncoding=utf-8
username: root
password: root
driver-class-name: com.mysql.cj.jdbc.Driver
jackson:
property-naming-strategy: CAMEL_CASE_TO_LOWER_CASE_WITH_UNDERSCORES
default-property-inclusion: ALWAYS
time-zone: GMT+8
date-format: yyyy-MM-dd HH:mm:ss
servlet:
multipart:
max-file-size: 100MB
max-request-size: 100MB
疫情信息(学生)管理,在疫情信息(学生)管理页面可以查看学生账号、学生姓名、教师账号、教师姓名、填报日期、地点名称、健康状态、其他信息等信息,并可根据需要进行添加、修改等操作,如图5-7所示。

图5-7疫情信息(学生)界面图
离校申请管理,在离校申请管理页面可以查看学生账号、学生姓名、教师账号、教师姓名、提交日期、离校时间、返校时间、离校原因等信息,并可根据需要进行添加、修改或删除等操作,如图5-8所示。

图5-8离校申请管理界面图
5.4教师用户功能模块
教师用户注册,在用户注册页面通过填写账户、设置密码、确认密码、昵称、邮箱、手机号、身份、教师姓名、教师性别等信息完成用户注册,如图5-9所示。

图5-9教师用户注册界面图
注册代码如下:
/**
* 注册
* @param user
* @return
*/
@PostMapping("register")
public Map<String, Object> signUp(@RequestBody User user) {
// 查询用户
Map<String, String> query = new HashMap<>();
query.put("username",user.getUsername());
List list = service.select(query, new HashMap<>()).getResultList();
if (list.size()>0){
return error(30000, "用户已存在");
}
user.setUserId(null);
user.setPassword(service.encryption(user.getPassword()));
service.save(user);
return success(1);
}
/**
* 用户ID:[0,8388607]用户获取其他与用户相关的数据
*/
@Id
@GeneratedValue(strategy = GenerationType.IDENTITY)
@Column(name = "user_id")
private Integer userId;
/**
* 账户状态:[0,10](1可用|2异常|3已冻结|4已注销)
*/
@Basic
@Column(name = "state")
private Integer state;
/**
* 所在用户组:[0,32767]决定用户身份和权限
*/
@Basic
@Column(name = "user_group")
private String userGroup;
/**
* 上次登录时间:
*/
@Basic
@Column(name = "login_time")
private Timestamp loginTime;
/**
* 手机号码:[0,11]用户的手机号码,用于找回密码时或登录时
*/
@Basic
@Column(name = "phone")
private String phone;
/**
* 手机认证:[0,1](0未认证|1审核中|2已认证)
*/
@Basic
@Column(name = "phone_state")
private Integer phoneState;
/**
* 用户名:[0,16]用户登录时所用的账户名称
*/
@Basic
@Column(name = "username")
private String username;
/**
* 昵称:[0,16]
*/
@Basic
@Column(name = "nickname")
private String nickname;
/**
* 密码:[0,32]用户登录所需的密码,由6-16位数字或英文组成
*/
@Basic
@Column(name = "password")
private String password;
/**
* 邮箱:[0,64]用户的邮箱,用于找回密码时或登录时
*/
@Basic
@Column(name = "email")
private String email;
/**
* 邮箱认证:[0,1](0未认证|1审核中|2已认证)
*/
@Basic
@Column(name = "email_state")
private Integer emailState;
/**
* 头像地址:[0,255]
*/
@Basic
@Column(name = "avatar")
private String avatar;
/**
* 创建时间:
*/
@Basic
@Column(name = "create_time")
@JsonFormat(pattern = "yyyy-MM-dd HH:mm:ss")
private Timestamp createTime;
@Basic
@Transient
private String code;
}
教师登录进入后台可以查看个首页、模块管理(疫情信息(学生)、疫情信息(教师)、离校申请、疫情实况、预测风险)、个人中心等内容,如图5-10所示。
图5-10教师用户功能界面图
疫情信息管理,在疫情信息管理页面可以查看索引、教师账号、教师姓名、填报日期、地点名称、健康状态、其他信息等信息,并可根据需要进行添加、修改或删除等操作,如图5-11所示。

图5-11疫情信息管理界面图
6 系统测试
6.1系统测试的目的
程序设计不能保证没有错误,这是一个开发过程,在错误或错误的过程中都是难以避免的。虽然这是不可避免的,但我们不能使这些错误始终存在于系统中,错误可能会造成无法估量的后果,如系统崩溃,安全信息泄露,系统无法正常启动等,为了避免这些问题我们需要测试程序,在测试过程中发现问题并纠正它们,从而使系统更长时间稳定成熟。
本章的作用是发现这些问题,并对其进行修改,虽然耗时费力,但对于长期使用而言是非常重要和必要系统的开发。
软件在设计后必须进行测试,调试过程中使用的方法是软件测试方法。在开发新软件时,系统测试是检查软件是否合格的关键步骤,以及是否符合设计目标的参考。测试主要是查看软件中数据的准确性,正确的操作与否,以及操作的结果,还有哪些方面需要改进。
疫情管理系统的实现,对于系统中功能模块的实现及操作都必须通过测试进行来评判系统是否可以准确的实现。在疫情管理系统正式上传使用之前必须做的一步就是系统测试,对于测试发现的错误及时修改处理,保证系统准确无误的供给用户使用。
6.2系统测试方法
在对疫情管理系统进行测试的时候在找到问题的情况下必须在第一时间找到解决问题的办法,不要存在侥幸的心理,这样才能让疫情管理系统开发的质量可以过关,并且开发的周期会大大缩短,还有就是在测试时,不要出现重复性的错误,遇到一个错误问题,要将整个疫情管理系统开发所牵扯的该问题都必须一一解决,提高疫情管理系统平台的安全性、稳定性。
白盒测试与黑盒测试是测试中比较常用的两种方法。
①结构测试俗称白盒测试:这种测试是在对程序的处理过程与结构都有详尽谅解的前提下,顺从程序内部的逻辑而完成的系统测试,以确定系统中所有的通路都能够遵照设计要求正常工作,不出现任何偏差。
②功能测试又成黑盒测试:主要是针对程序功能能够按照设计正常实现的一种检测,在程序接口处进行,检测程序手法数据是否正常,与外部信息的交换是否完整。
6.3 测试结果
经过对一系列测试结果的有效分析,本平台开发系统符合用户的要求和需求。所有的基本功能相对齐全,操作起来简单方便,测试系统性能良好,作为大众化系统使用是比较值得推广宣传的。
结论
本系统通过对java和Mysql数据库的简介,从硬件和软件两反面说明了疫情管理系统的可行性,本文结论及研究成果如下:实现了java与Mysql相结合构建的疫情管理系统,网站可以响应式展示。通过本次疫情管理系统的研究与实现,我感到学海无涯,学习是没有终点的,而且实践出真知,只有多动手才能尽快掌握它,经验对系统的开发非常重要,经验不足,就难免会有许多考虑不周之处。比如要有美观的界面,更完善的功能,才能吸引更多的用户。
由于在此之前对于java知识没有深入了解,所以从一开始就碰到许多困难,例如一开始的页面显示不规范、数据库连接有问题已经无法实现参数的传递等等,不过通过在网上寻找有关资料以及同学的帮助下最后都得到了解决,在此过程中,我不仅学到了很多知识,也提高了自己解决问题的能力,尤其是学会如何从大量的信息中筛选出所需有用的信息,同时我更加深刻的体会到了,虽然书本上的大部分知识都是有价值,正确的,但实际上每个人编程的思路和对数据处理的方法、思想都是不同的,这就要求我们一定要通过实践才能找到解决问题的方案。在此次毕业设计活动中,我不断的提高了自己,也得到了宝贵的经验,我相信这些对我以后的发展都会有很大帮助。
通过这次疫情管理系统的开发,我参考了很多相关系统的例子,取长补短,吸取了其他系统的长处,逐步对该系统进行了完善,但是该系统还是有很多的不足之处,有待以后进一步学习。
实践证明,疫情管理系统有着非常好的发展前景,经过测试运行,系统各项功能都十分完善,界面漂亮,使用方便,操作容易,在技术理论上已经成熟。
致 谢
毕业设计结束的同时也意味着四年的大学生活就要结束了。疫情管理系统的完成以及如何在系统运行过程中实现的更好,这其中付出了很大的努力,这段时光将会终身难忘。
在毕业设计的这一段时间里,离不开导师的细心指导,还有同学们的热情帮助,有时候几个同学在一起讨论系统中的某个功能模块如何实现,如何实现的更好,或是问题没得到有效的解决,就会没有心思做其他的事情,让我们对学习充满了动力。
在毕业设计即将结束之时,首先要感谢我的指导老师,谢谢您在毕业设计和毕业论文中对我的指导。在您的细心指导下我才能快速的掌握系统的相关功能,在您的大力帮助下我才能将课本上的知识与自己的项目结合,真正的做到学以致用。感谢您经常牺牲自己的休息时间,利用其丰富的教学和项目经验对我进行指导。课堂上,您教会我们如何学习、教会我们新的知识,在课下,您又像朋友一样亲切,教会了我很多道理,让我意识到先做人、后做事。感谢所有教过我的老师,为我倾注了大量的心血,正是你们的谆谆教诲、严谨教学才使我能顺利的完成学业,再此向你们表示深深的感谢。感谢大学里教过我的每一位老师,真心祝福您们。
在这里还得感谢我的战友们,也就是同学们对我的大力支持及帮助。正是因为有你们的不断帮助、鼓励,熬夜通宵,不停的调试、测试程序,给我带来了极大的动力,才能最终完成网站的运行。我们在一起交流、谈论的时光,都将是我们在通往未来道路上的宝贵财富。我要深深地感谢你们!
毕业在即,在今后的工作和生活中,我会铭记师长们的教诲、同学们的帮助,继续不懈努力和追求,来报答所有支持和帮助过我的人!
最后,我要向牺牲了休息时间来对本文进行审阅,评议和参与论文答辩的各位老师表示深深的感谢。在此,衷心的谢谢您们!
参考文献
[1]Pommereau Antje,Licher Thomas,Bärenz Felix. Solid-Supported Membrane (SSM)-Based Electrophysiology Assays Using Surface Electrogenic Event Reader Technology (SURFE²R) in Early Drug Discovery.[J]. Current protocols,2023,3(3).
[2]周雨卉,王璐瑶,陈绘.基于SSM的社区健身中心适老化设计策略研究[J].包装工程,2023,44(04):141-149.DOI:10.19554/j.cnki.1001-3563.2023.04.017.
[3]皇甫若桐.基于SSM的环境监测管理系统设计[J].集成电路应用,2023,40(02):340-341.DOI:10.19339/j.issn.1674-2583.2023.02.148.
[4]郑李明.基于SSM中国幼儿体育教学内容的分析[J].四川体育科学,2023,42(01):139-142.DOI:10.13932/j.cnki.sctykx.2023.01.27.
[5]伍德鹏,李佩学.基于SSM框架的高职院校教学办公用品管理信息系统设计研究[J].轻工科技,2023,39(01):99-101.
[6]López-Fogliani D.E.,Muñoz C.. Right-handed neutrinos, domain walls and tadpoles in the superstring inspired μνSSM[J]. Nuclear Physics, Section B,2023,986.
[7]李飞.针对疫情防控的动迁管理系统及应用[J].物探装备,2022,32(06):400-402.
[8]梁会成,王黎光.基于JSP+SSM在线领养猫咪系统的设计与实现[J].电子制作,2022,30(24):59-62+45.DOI:10.16589/j.cnki.cn11-3571/tn.2022.24.018.
[9]常婉纶,谈姝辰,屈小娥,田召.基于SSM框架的二级学院教科研信息共享系统的设计与实现[J].电脑知识与技术,2022,18(34):39-41.DOI:10.14004/j.cnki.ckt.2022.2208.
[10]陶爱兰. 基于SSM的数字化审计平台的设计与实现[D].南京邮电大学,2021.DOI:10.27251/d.cnki.gnjdc.2021.001665.
[11]Basahel Sulafah,Córdoba Pachón José Rodrigo. An enhanced use of Soft Systems Methodology (SSM) in Mode 2 to explore online distance education in Saudi Arabia[J]. Journal of the Operational Research Society,2022,73(9).
[12]Hermanto Ruby,Putro Utomo Sarjono,Novani Santi,Kijima Kyoichi. Overcoming the challenge of those new with SSM in surfacing relevant worldviews for action to improve[J]. Journal of the Operational Research Society,2022,73(9).
[13]张国明,汤奋扬,王俊淑,陆家发,杨雪蓉,郝艳.江苏省成人预防接种管理系统设计[J].医疗卫生装备,2022,43(10):45-50.DOI:10.19745/j.1003-8868.2022207.
[14]Zhao ShuMin,Wang Xi,Dong XingXing,Zhang HaiBin,Feng TaiFu. A Study of the Higgs Mass with the Effective Potential and Higgs Decays in the U(1)<sub>X</sub>SSM[J]. Symmetry,2022,14(10).
[15]Nevzorov Roman. On the Suppression of the Dark Matter-Nucleon Scattering Cross Section in the SE<sub>6</sub>SSM[J]. Symmetry,2022,14(10).
[16]何亚伦. 基于Excel-VBA的病区疫情防控管理系统设计与实现[C]//上海市护理学会.第五届上海国际护理大会论文摘要汇编(上).第五届上海国际护理大会论文摘要汇编(上),2022:411.DOI:10.26914/c.cnkihy.2022.030573.
[17]许守英. 公共卫生危机信息演化及管理对策研究[D].南昌大学,2022.DOI:10.27232/d.cnki.gnchu.2022.001752.
[18]李节.基于区块链技术的疫情管理系统[J].软件导刊,2022,21(04):57-61.
[19]孟菡. 新冠疫情常态化下医疗废弃物管理研究[D].西南民族大学,2022.DOI:10.27417/d.cnki.gxnmc.2022.000282.
[20]肖永平.疫情监测与上报管理系统的设计与实现[J].中国医疗设备,2019,34(02):103-106+115.
请关注点赞+私信博主,免费领取项目源码
本文介绍了使用SpringBoot框架和Mysql数据库开发的疫情管理系统,系统包括管理员、学生用户和教师用户的不同功能模块,如疫情信息管理、离校申请、疫情实况和预测风险等。系统采用B/S架构,确保了良好的可读性、实用性和可扩展性,方便用户获取和管理疫情相关信息。此外,文章讨论了系统的可行性、设计规则和测试结果,证明了系统的有效性和实用性。
915

被折叠的 条评论
为什么被折叠?



